148235 (580350), страница 2
Текст из файла (страница 2)
В установке предусмотрена возможность работы перекрестным путем. В этом случае работает газовая турбина с ТУК одного борта, пар подается на паровую турбину другого борта. При этом газовая турбина этого борта не работает (снимают рессору от ТВ к редуктору), при такой работе подача топлива уменьшается почти в 2 раза (при скорости судна примерно 20 уз).
Ресурс всего агрегата составляет 100 000 ч (примерно 25 лет). В то же время ресурс ГТД до заводского ремонта составляет 25 000 ч. После заводского ремонта ресурс ГТД восстанавливается. Технический ресурс ГТД (до замены) равен 50 000 ч (приблизительно 12,5 года). При наличии запасного ГТД на судне (или обменного фонда ГТД| его замена может быть проведена силами судового экипажа в течение двух суток, т. е. во время погрузочно-разгрузочных работ в порту. Лю-бой из навешенных на ГТД агрегатов может быть заменен в течение 1-2 ч.
Газотурбинный двигатель (рис. 4) изготавливается в морском (корабельном) исполнении. Он состоит из осевых расположенных последовательно компрессоров — семиступенчатого КНД 1 и девятиступенчатого КВД 2 трубчато-кольцевой камеры сгорания 3, в корпусе: которой находятся десять жаровых труб 4 с форсунками и из распо-ложенных последовательно двухступенчатых ТВД 5 и ТНД 6 и четырех-ступенчатой ТВ 7. Корпуса компрессоров, камеры сгорания и трубки соединяются между собой последовательно вертикальными фланцами и образуют единый корпус.
Рис. 4. ГТУ М-25 со схематическим разрезом ГТД
Вопрос 3. Как производится подготовка к работе и пуск двигателя (ДВС)
Ответ
Пуск, равно как и маневрирование, сопряженное с остановками, реверсированием и сменой нагрузок, относится к числу неустановившихся режимов. Эти режимы являются наиболее напряженными, на них приходится наибольшее число аварийных повреждений двигателей.
Напряженность переходных режимов определяемся тем, что в процессе смены режима (нагрузки и частоты вращения) происходят резкие изменения рабочего процесса, меняются условия нагрева и охлаждения цилиндров и поршней.
Величины напряжений, возникающих в деталях цилиндро-поршневой группы и кривошйпно-шатунного механизма, растут с увеличением скорости смены режима и становятся наибольшими при пуске холодного двигателя, резком выведении его на полную нагрузку и при внезапной остановке с полного хода.
В этих условиях элементы конструкции двигателей подвергаются деформации и интенсивным износам, меняются зазоры и натяги в сопряжениях. В деталях, испытывающих действие высоких температур, благодаря смене режимов развиваются термоусталостные явления, с течением времени приводящие к образованию трещин.
При пуске холодного двигателя в цилиндрах создаются неблагоприятные условия для самовоспламенения топлива. Сгорание его сопровождается возникновением чрезмерно высоких давлений и большой скоростью нарастания давления во времени.
Детали цилиндропоршневой группы двигателей — поршень, крышка и втулка цилиндра — в период переходных режимов испытывают высокие тепловые нагрузки, под влиянием которых в них возникают термические напряжения, деформация, а в отдельных случаях, при значительных перегрузках и частых сменах режимов, происходят термоусталостные разрушения.
Температурные условия переходных процессов,, определяющие величину термических напряжений, характеризуются максимальным и минимальным уровнями изменения температуры детали, величиной и характером перепада температур по толщине (температурного градиента), зависящего, в свою очередь, от темпа изменения температур на внутренней и наружной поверхностях.
При пуске и в следующий за ним период разгона и прогрева двигателя происходит интенсивное повышение температуры его деталей, и в первую очередь деталей цилиндров поршневой группы, повышение температуры и снижение вязкости смазочного масла, возрастание температуры охлаждающей воды и изменение зазоров между сопрягаемыми поверхностями. Неравномерность прогрева деталей цилиндропоршневой группы, вызванная наличием на пути потоков тепла термических сопротивлений, обусловливает появление в них высоких температурных градиентов. В поршне в первую очередь прогревается головка, тронк же разогревается вяло, накапливая тепло главным образом в процессе теплопроводности. Поэтому колебания температуры тронка, как и нижней части втулки рабочего цилиндра, с изменением режима работы двигателя, как правило, мало заметны. Независимо от размеров и быстроходности двигателя наиболее интенсивный рост температуры деталей цилиндропоршневой группы отмечается в начальный период их прогрева, особенно в течение 40—60 с после первой вспышки в цилиндре.
Вопрос 4. Перечислите системы, которые обслуживают главный двигатель, объясните их работу и требования к маслянным системам.
Ответ
К системам обслуживающим ГД судна относятся: Система подачи воздуха, система выпускных газов, топливная система, масляная система, система охлаждения, система пуска, реверса и управления.
СИСТЕМА ПОДАЧИ ВОЗДУХА В ЦИЛИНДРЫ
Впускной трубопровод, или ресивер, служит для подвода воздуха в цилиндры двигателя. В четырехтактных двигателях без наддува воздух засасывается в ресивер из машинного отделения или может приниматься с палубы по специальному трубопроводу. В двигателях с наддувом и в двухтактных двигателях воздух нагнетается в цилиндры воздухонагнетателями. Для уменьшения колебаний давления объем ресивера делают достаточно большим, проходное сечение должно обеспечить скорость воздуха не более 20 м/с. Внутри ресивера в двигателях с наддувом устанавливают воздухоохладители.
Для измерения давления воздуха, поступающего в цилиндр, на ресивере устанавливают манометры, а для измерения температуры — термометры. Из системы смазки нагнетателей в ресивер вместе с воздухом могут попадать пары масла. Чтобы снизить давление газов при взрыве паров масла, ресивер снабжают предохранительными автоматическими клапанами. Горловины, закрытые крышками, служат для очистки ресивера. Ресивер изготовляют из листовой стали. Для уменьшения шума в машинном отделении ресивер снаружи обшивают асбестом и покрывают стальным кожухом.
В двигателях с двухступенчатым наддувом ресивер может разделяться продольной перегородкой (на две ступени давления) и поперечными перегородками (отделяющими подпоршневые пространства отдельных цилиндров или группы цилиндров). На перегородках вырезаны окна, которые служат для установки пластинчатых клапанов, автоматически открывающихся при расчетном давлении.
Конструкция выпускного трубопровода зависит от системы наддува. В двигателях без наддува выпускные газы отводятся через короткие патрубки в общий выпускной коллектор, охлаждаемый водой. Отдельные участки коллектора для возможности свободного расширения соединяют между собой с помощью гофрированной трубы или телескопического уплотнения с чугунными разрезными уплотнительными кольцами.
В двигателях с газотурбинным наддувом с турбинами постоянного давления выпускные газы от всех цилиндров поступают в общий коллектор. При таком объеме давление газов перед турбиной остается постоянным. При использовании турбин с переменным давлением газа перед соплами общий выпускной коллектор отсутствует, а выпускные газы подводятся к турбине от одного или нескольких цилиндров по коротким патрубкам малого объема. Используя импульс газа, выходящего из цилиндра в момент открытия выпускных органов с высоким давлением и температурой, можно повысить мощность турбины. Выпускной тракт двигателей с газотурбинным наддувом покрыт слоем изоляции, поверх которой одет кожух из листового железа или рубашки с водяным охлаждением.
Для уменьшения шума на выпускном трубопроводе за турбинами устанавливают глушитель. В качестве глушителя может использоваться утилизационный котел. По правилам Регистра судовая дизельная установка должна быть оборудована устройством для улавливания и гашения искр в выпускных газах.
СИСТЕМА ВЫПУСКА ОТРАБОТАВШИХ ГАЗОВ.
В нашем двигателе на процессы выпуска отработавших газов и наполнения цилиндра воздухом отводится всего 130—150° ПКВ. Это обстоятельство создает трудности для хорошей очистки цилиндров от отработавших газов и наполнения его свежим зарядом воздуха. Кроме того, в двухтактных ДВС отработавшие газы из цилиндра: выталкиваются не поршнем, а продувочным воздухом, при этом неизбежно частичное перемешивание воздуха с газами.
Процессы выпуска отработавших газов и наполнения цилиндра свежим зарядом в двухтактных двигателях протекают в такой последовательности: после открытия выпускных окон (клапанов) начинается «свободный выпуск» — истечение газов из цилиндра в выпускной коллектор за счет разности давлений в цилиндре и выпускном коллекторе. Скорость истечения газов в период свободного выпуска 800—600 м/с при температуре газов около 1000 СС в начале выпуска. В конце свободного выпуска давление в цилиндре падает. В это время Поршень открывает продувочные окна и начинается продувка цилиндра воздухом. Воздух к окнам подается продувочным насосом под давлением 0,11—6,13 МПа, вытесняет отработавшие газы и занимает освободившийся объем; происходит «принужденный выпуск» и продувка, т. е. наполнение цилиндра воздухом.
В зависимости от системы продувки при ходе поршня вверх продувочные окна могут закрываться раньше выпускных, и тогда через открытые выпускные окна (клапаны) будет теряться часть заряда воздуха. Если продувочные окна закрываются позже выпускных, то происходит дозарядка цилиндра воздухом. Качество очистки цилиндра двухтактного двигателя и наполнения его свежим зарядом зависит от совершенства системы продувки, которая должна обеспечивать наибольшую мощность и экономичность двигателя. В зависимости от характера движения потоков воздуха все существующие схемы продувки подразделяют на контурные и прямоточные. В контурных схемах поток продувочного воздуха, поступая через окна в средней части рабочей втулки, описывает внутренний контур цилиндра и движется вниз к выпускным окнам. В прямоточных схемах воздух движется только, в одном направлении — вдоль оси цилиндра. Путь воздуха и отработавших газов в прямоточных продувках примерно в два раза короче, чем в контурных.
ТОПЛИВНАЯ СИСТЕМА
Топливоподающая система обеспечивает регулярный впрыск в требуемой последовательности строго дозированных порций топлива под высоким давлением в камеры сгорания цилиндров дизеля.
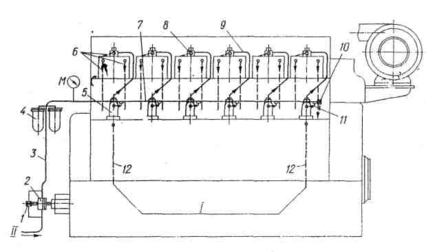
Топливо из расходной емкости шестеренным насосом 2 (рис. 5) по трубе 3 через двухсекционный унифицированный фильтр 4 подается под давлением, регулируемым редукционным клапаном /, в главную магистраль 7 и по трубам 11 в топливные насосы 5.
Топливные насосы под высоким давлением подают по трубам 9 через форсунки 8 в определенные моменты времени топливо в камеры сгорания цилиндров дизеля.
Подтекающее топливо от форсунок и топливных насосов по сливным трубам 6 и 12 отводится.в сливные емкости.
Для заполнения системы дизеля топливом в редукционном клапане 1 имеется устройство, позволяющее перепускать топливо из расходной емкости, минуя топливоподкачивающий насос. Воздух при заполнении системы топливом удаляется через пробки, имеющиеся на крышке унифицированного фильтра и топливных насосов, а также через клапан 10.
На трубопроводе между фильтром и топливными насосами установлен датчик давления для подсоединения манометра М, расположенного на щите приборов.
Рис. 5. Схема топливоподающей системы:
1 — редукционный клапан;
2—топливоподкачивающий насос;
3 —труба;
4 — фильтр топлива;
5 — топливный насос;
6, 12— сливные трубы;
7 — главная магистраль;
8 — форсунка;
9, 11 — трубы;
10 — клапан;
М — манометр;
/ — на слив,
II - из расходной емкости.
Форсунка предназначена для распыливания топлива, подаваемого в камеру сгорания дизеля.
Форсунка закрытого типа с гидравлическим управлением подъема иглы.
Наиболее ответственные детали форсунки — корпус распылителя и игла — являются прецизионной парой.
МАСЛЯННАЯ СИСТЕМА
Система смазки дизелей циркуляционная с мокрым картером и дополнительной масляной цистерной (баком). В систему смазки входят: приемный масляный фильтр, двухсекционный масляный насос, фильтры грубой очистки масла, фильтр тонкой очистки масла, холодильники воды и масла, ручной маслопрокачной насос, расходный масляный бак и система трубопроводов.
Во время работы система обеспечивает беспрерывное поступление масла ко всем трущимся деталям дизеля.















