148235 (580350), страница 3
Текст из файла (страница 3)
СИСТЕМА ОХЛАЖДЕНИЯ.
Система охлаждения дизеля двухконтурная. Дизель охлаждается пресной водой, циркулирующей по замкнутому контуру. Циркуляционная вода и масло охлаждаются проточной водой в холодильниках.
Система обеспечивает установленный температурный режим дизеля во всем диапазоне нагрузок.
В систему охлаждения входят: насосы циркуляционной и проточной воды, регулятор температуры воды, холодильники воды и масла, водяной расширительный бачок и трубопроводы.
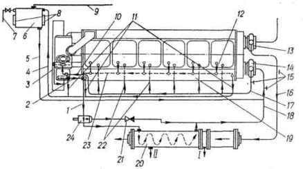
Схема системы охлаждения
Насос 14 (рис. 6) циркуляционной воды подает воду в нагнетательную трубу 17, оттуда по патрубкам 22 вода поступает в полость охлаждения блока цилиндров и по трубе 10 в полость охлаждения турбокомпрессора. Охладив втулки цилиндров, вода из блока перетекает в полости крышек цилиндров, охлаждает их и по переливным раковинам 12 поступает в полость охлаждения выпускного коллектора 19. Охладив коллектор, вода поступает в трубу 1 и затем в регулятор 24 температуры воды.
На дизеле 6ЧН25/34 из полостей охлаждения крышек цилиндров по переливным раковинам вода перетекает в трубу 23, расположенную в кожухе закрытия выпускного коллектора, а из турбокомпрессора по трубе 2 поступает в трубу 1 и затем через регулятор 24 — в холодильник 20, или минуя его,
Регулятор в зависимости от установленной температуры распределяет поток воды на две части:
одна часть воды направляется в холодильник воды 20, где охлаждается проточной водой. Из холодильника вода возвращается по трубе 18 в приемный патрубок водяного насоса 14;
другая часть воды поступает в трубу 18 и, смешиваясь с охлажденной в холодильнике водой, входит в водяной насос. Таким образом, регулятор 24 путем перераспределения количества воды, направляемой в холодильник и мимо него, поддерживает температуру выходящей из дизеля воды в пределах 65—80°С.
На трубе 18 установлен обратный фланцевый клапан 21.
Воздух и пар, скапливающийся в системе, отводится в водяной расширительный бачок 6 по трубкам 11 и 4. Трубки 11 в двух точках соединяются с водяной полостью выпускного коллектора (или трубы 23) с трубой 2.
Рис. 6. Схема системы охлаждения: 1, 2,5, 7, 10, 16, 18, 23 — трубы; 3 — турбокомпрессор; 4, 9, 11 — трубки; 6 — расширительный бачок; 8 — водомерное стекло; 12 — переливная раковина; 13, 14 — водяные насосы; 15 — фланцевый отвод; 17 — нагнетательная труба; 19 — выпускной коллектор; 20 — холодильник воды; 21 — обратный фланцевый клапан; 22 — патрубок; 24 — регулятор температуры воды; / — слив проточной воды; II — слив циркуляционной воды
Подпитка водой контура циркуляционной воды происходит из расширительного бачка по трубе 5.
Циркуляционный контур и расширительный бачок заполняются пресной водой через трубу 7. На бачке 6 для контроля за уровнем воды поставлены водомерные стекла 5 с нанесенными на них метками. Через трубку 9 на расширительном бачке циркуляционный контур водяной системы сообщается с атмосферой.
Расширительный бачок должен быть установлен так, чтобы днище его было выше верхней части выпускного коллектора не менее чем на 400мм.
Проточная вода всасывается насосом 13 и попадает в холодильники воды и масла. Сначала она проходит через масляную секцию холодильника, затем поступает в водяную, охлаждает масло и циркуляционную воду и сливается из холодильника.
Фланцевые отводы 15 в системе предназначены для подключения резервных средств.
При объединенной системе охлаждения нескольких дизелей могут быть использованы общие для всей установки водяные насосы, холодильники и расширительные емкости.
Устройство и работа регулятора температуры воды изложены в инструкции завода-изготовителя.
К системам смазки двигателя предъявляются следующие общие требования: своевременная подача необходимого количества масла к узлам трения для защиты их поверхностей от износа и коррозии (смазывающее и защитное действие);
-
отвод тепла от трущихся поверхностей и деталей (терморегулирующее действие);
-
удаление продуктов износа и нагара с поверхностей трения (моющее действие);
-
очистка масел.
От того, насколько удовлетворяет отмеченным требованиям система смазки, в значительной степени зависят надежность и долговечность работы двигателя.
Вопрос 5. Системы управления комплексом двигатель-ВРШ: показать и кратко объяснить структурно-функциональные схемы: раздельного управления, системы твердой обработка связью, регулировка мощности, программное регулирование мощности двигателя и программно-экстримальное регулирование.
Ответ
На современных судах управление комплексами ГД — ВФШ и ГД — ВРШ осуществляется из рулевой рубки с помощью систем ДАУ.
Основной целью ДАУ является уменьшение трудозатрат судовой команды по управлению судном и повышение безопасности мореплавания путем повышения безопасной эксплуатации ГД при маневрировании, выполнения операций по управлению ГД в оптимальной последовательности, дающей возможность увеличить точность и скорость выполнения маневров, минимальной загрузки операторов (штурмана) на мостике и освобождения вахтенного механика от постоянного пребывания у поста управления ГД.
Системы ДАУ комплексов ГД — ВРШ имеют ряд специфических особенностей. Существуют системы ДАУ ГД — ВРШ, в которых каждому положению органа управления соответствует определенное сочетание частоты вращения и шага гребного винта. Однако эти установки неэкономичны и их можно считать морально устаревшими. В современных системах положение органа управления определяется сочетанием частоты вращения и нагрузки (крутящего момента) при изменении шага гребного винта. При этом обеспечивается с достаточной точностью требуемая скорость хода судна с наименьшим возможным удельным расходом топлива при различных нагрузках и условиях плавания судна и одновременное снижение возможной перегрузки ГД.
Так как в установках с ВРШ обычно применяются нереверсив-'ные дизельные двигатели, то упрощается схема его системы ДАУ (отсутствует канал управления реверсом). Однако появляется схема управления ВРШ, работающая совместно со схемой управления частотой вращения и нагрузкой ГД.
Принцип работы системы ДАУ пропульсивной установкой с ВРШ будет рассмотрен ниже на примере паротурбинной установки.
Новой ступенью автоматизации управления отечественных турбоходов является ДАУ комплекса двигатель — ВРШ судов типа «Кубань». Упрощенная структурная схема управления представлена на рис. 7. Значение упора ВРШ и его направление зависят от угла и направления разворота лопастей, а также от частоты вращения гребного вала. Разворот лопастей ВРШ осуществляется гидромеханическим механизмом изменения шага МИШ, а управление-воздействием на задатчик шага ЗШ. Заданный скоростной режим I I3A и греО-ного вала поддерживается регулятором частоты вращения нчь, включенным по всережимной схеме и воздействующим через маневровый клапан на подачу пара к ТВД. Воздействие на задатчики МИШ и РЧВ может производиться вручную с местных постов управления либо дистанционно.
Рис. 7. Схема ДАУ комплекса двигатель —ВРШ турбохода «Кубань»
В схеме предусмотрено ДАУ ВРШ и ГТЗА с главного поста управления (ГПУ) рулевой рубки судна или из ЦПУ машинного отделения, а в случае отказа ДАУ или при пуске ГТЗА из холодного состояния — раздельное дистанционное управление ВРШ и ГТЗА с пульта резервного управления ПРУ из ЦПУ.
При работе ДВС на ВРШ установка регулятора, включенного по всережимной схеме, обязательна, так как скоростной режим судна меняется не только изменением частоты вращения ВРШ, но и изменением угла разворота его лопастей. С уменьшением шага винтовые характеристики становятся пологими, нагрузка уменьшается и становится минимальной при нулевом развороте лопастей ВРШ, а регулятор поддерживает заданную частоту вращения в пределах неравномерности АСР.
В АСР дизель-генераторов устанавливают однорежимные регуляторы, обеспечивающие поддержание заданной частоты вращения вала и частоты тока в электрической сети в пределах допускаемой статической неравномерности, а включают их в работу по всережимной схеме.
Видом потребителя механической энергии и требованиями, предъявляемыми к качеству его работы, определяются требования к точности поддержания частоты вращения вала ДВС. Согласно. ГОСТ 10511—72 АСР с регуляторами прямого и непрямого действия делятся по точности на четыре класса.
Первый класс точности АСР обеспечивается однорежимпыми. регуляторами двухимпульсными (ОРД), устанавливаемыми на ДГ переменного тока с повышенными требованиями к качеству регулирования. На транспортных судах ОРД распространения пока не получили.
На ДГ судовых электростанций устанавливаются одноимпульс-ные однорежимные регуляторы непрямого действия (ОРН), обеспечивающие 2-й и 3-й классы точности АСР, либо однорежимные регуляторы прямого действия (ОРП), обеспечивающие 3-й и 4-й класс, точности АСР. Для каждого класса точности АСР установлены предельные значения динамического заброса частоты вращения от начальных значений по на установившемся режиме и длительности переходного процесса Тпп при полном мгновенном сбросе или увеличении нагрузки, а также нестабильности частоты вращения v.
Регуляторы ОРП и ОРН должны обеспечивать возможность установки степени неравномерности АСР в пределах не уже 2—4%.
АСР ГД с всережимными регуляторами непрямого (ВРН) и прямого (ВРП) действия должны обеспечивать динамический заброс частоты вращения не более 18% и длительность переходного процесса не более 10 с при мгновенном сбросе нагрузки. Нестабильность АСР при номинальной уставке задания ВРН или ВРП (т. е. при работе АСР по номинальной регуляторной характеристике) должна отвечать требованиям 3-го и 4-го классов точности, а степень неравномерности АСР не должна превышать 12%. Эти же требования предъявляются к АСР Регистром.
Вопрос 6. Судовые холодильные установки, их классификация по принципу работы и холодильному агенту. Определить холопроизводительность установки.
Ответ
Рассмотрим назначение, холодильных установок на судах различного типа.
Сохранение и обработка пищевых продуктов.
Холодильные машины наиболее широко применяются для сохранения пищевых продуктов при их перевозке на транспортных рефрижераторных судах, грузовые трюмы которых снабжены тепловой изоляцией и охлаждающими устройствами. Имеется также значительное количество судов, на которых только часть грузовых помещений оборудована под рефрижераторные перевозки. Для сохранения пищевых продуктов, предназначенных для питания команды и пассажиров, на всех судах, совершающих продолжительные рейсы, оборудуются специальные провизионные камеры с искусственным охлаждением. На многих судах рыбопромыслового флота холодильные машины используются не только для сохранения продуктов промысла, но и для их охлаждения или замораживания (траулерах, плавбазах, китобазах и т. д.).
Остановимся кратко на консервирующем действии холода и оптимальных условиях перевозки скоропортящихся грузов. Наиболее совершенный вид консервации, пригодный для любого скоропортящегося продукта,— его охлаждение или замораживание. При понижении температуры значительно замедляется развитие микроорганизмов и распад составных частей продуктов: белков, жиров и углеводов. Кроме того, охлажденные или замороженные пищевые продукты наилучшим образом сохраняют свои питательные и вкусовые качества, а также витамины.
При охлаждении пищевые продукты не доводятся до крио-скопической температуры, т. е. температуры замерзания соков, находящихся в их тканях.
При замораживании температура продукта понижается настолько, что все соки или часть их превращаются в кристаллы льда. Замораживание — более эффективный способ консервации, чем охлаждение;- позволяет хранить и перевозить груз в течение продолжительного времени. Это объясняется не только тем, что продукт приобретает более низкую температуру, но и тем, что благодаря превращению соков в кристаллы льда продукт как бы обезвоживается. Эти два обстоятельства в значительной мере препятствуют развитию бактерий.
Однако процесс замораживания продуктов не всегда обратим с процессом оттаивания (дефростацией). Некоторые продукты после дефростации не восстанавливают своих первоначальных качеств. Например, яйца не подвергаются замораживанию и перевозятся только в охлажденном состоянии.
Кроме температуры, на сохранность грузов большое влияние оказывает относительная влажность воздуха в охлаждаемых помещениях. При пониженной влажности воздуха замедляется развитие бактерий, но вместе с тем происходит значительная усушка большинства скоропортящихся грузов. Усушка не только связана с потерей веса, но зачастую приводит к снижению питательных свойств и ухудшению внешнего вида продукта.
Повышенная влажность способствует, даже при весьма низких температурах, развитию бактерий, а также интенсивному образованию плесени на поверхности продуктов и деревянной внутренней зашивке трюмов. Поэтому выбор величины влажности воздуха для охлаждаемых трюмов — весьма существенный вопрос. С плесенью и грибками борются обычно дезинфекцией и вентиляцией охлаждаемых помещений. Вообще искусственная вентиляция грузовых трюмов рефрижераторных судов желательна при перевозке почти всех грузов как один из эффективных методов борьбы с посторонними запахами.
Некоторые грузы подлежат обязательной вентиляции: к ним в первую очередь следует отнести фрукты и овощи, которые при хранении выделяют значительное количество углекислоты.
На сохранность груза влияет также циркуляция воздуха, обеспечивающая более равномерное распределение температуры и влажности воздуха в трюмах и препятствующая образованию зон, в которых может скапливаться затхлый воздух Интенсивность естественной циркуляции воздуха в трюме зависит от многих факторов, например, от высоты трюма, системы охлаждения, размещения охлаждающих батарей и т. д. На интенсивности циркуляции воздуха сказываются также способы укладки груза и погрузочные нормы. При очень высоких погрузочных нормах, или погрузочной плотности, трудно обеспечить нормальную циркуляцию воздуха.
В связи с необходимостью вентиляции охлаждаемых помещении и интенсивной циркуляции воздуха в них применяют воздушные системы охлаждения, обеспечивающие принудительную циркуляцию воздуха.
Выбор температуры и относительной влажности воздуха в грузовых охлаждаемых помещениях, а также кратности вентиляции и циркуляции воздуха в них зависит от рода перевозимого груза и сроков его перевозки.
Изготовление искусственного льда. На некоторых пассажирских судах устанавливают льдогенераторы для приготовления искусственного льда из пресной воды, который используется для бытовых и медицинских целей. Производительность таких льдогенераторов сравнительно невелика и, как правило, не превышает 200кг в сутки. Некоторые типы промысловых судов снабжают льдогенераторами для изготовления из забортной воды снежного и чешуйчатого льда, предназначенного для интенсивного охлаждения и кратковременного хранения улова ряд судов оборудован весьма мощными льдогенераторными устройствами (на некоторых краболовных судах общая суточная производительность льдогенераторов составляет 25г). Имеются также плавучие льдозаводы производительностью до 100г в сутки, снабжающие в море рыболовецкие суда льдом.















