148222 (580346), страница 3
Текст из файла (страница 3)
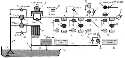
Рис. 3. Принципова схема системи мащення двигуна типу СМД-60
1 – піддон блок-картера; 2 – маслозабірник з сітчастим фільтром; 3 – основна секція масляного насоса; 4 – редукційний клапан; 5 – повнопоточна центрифуга; 6 – перепускний клапан; 7 – головна масляна магістраль; 8, 10, 12, 13 – корінні підшипники колінчастого вала; 9, 11; 14 – шатунні підшипники колінчастого вала; 15, 16, 17, 18 – опорні підшипники колінчастого вала; 19 – ліва головка циліндрів; 20 – права головка циліндрів; 21 – повітряний компресор; 22 – масляний фільтр турбокомпресора; 23 – перепускний клапан; 24 – турбокомпресор; 25 – маслопровід; 26 – рідинний насос; 27 – радіаторна секція масляного насоса; 28 – редукційний клапан; 29 – радіатор; ЗО – манометр; 31 – датчик аварійного тиску; 32 – лампочка; 33 – акумуляторна батарея; 34 – насос передпускового прокачування масла; 35 – похилий отвір; 36 – перепускнвй клапан; 37 – зворотний клапан; 38 – зливний клапан
У системі мащення двигуна передбачена аварійна сигналізація про недопустиме падіння тиску масла. Датчик аварійного тиску 31 встановлений у похилому отворі четвертої поперечної перегородки блок-картера. При падінні тиску масла в головній магістралі нижче 0,1 МПа на щитку приладів спалахує лампочка 32, яка живиться від акумуляторної батареї 33.
Для запобігання витоку масла через ущільнення на двигуні встановлений сапун, який сполучає внутрішні порожнини двигуна з атмосферою. Сапун попереджає підвищення тиску в картері внаслідок прориву газів через поршневі кільця і забезпечує видалення з внутрішніх порожнин продуктів згоряння, які викликають старіння масла і корозію деталей двигуна.
Сапун встановлений на кришці лівої головки циліндрів і являє собою пристрій, у якому уловлюються і повертаються у двигун крапельки масла з вихідних картерних газів.
4. Будова і робота елементів системи мащення
Масляний насос забезпечує в системі безперервну циркуляцію масла і подачу його під тиском до деталей.
На сучасних автотракторних двигунах застосовують шестеренчасті масляні насоси, які мають просту будову й забезпечують надійну роботу.
Односекційний масляний насос складається з корпуса 1 (рис. 4, а) і кришки 2. Корпус насоса кріпиться всередині картера до перетинок нижньої площини циліндрів двома болтами і фіксується на перетинці двома штифтами, запресованими в корпус. До нижньої частини корпуса болтами фіксується маслоприймач 7. В отворах корпуса 1 і кришки 2 встановлений на підшипниках ведучий вал 3. На одному кінці вала є шліци, призначені для встановлення шестерні приводу насоса. На валу за допомогою шпонки або шліців жорстко закріплюється ведуча шестерня 4. її зубці входять в зачеплення із зубцями веденої шестерні 6, яка виготовляється окремо або разом з валиком 9. Якщо шестерня 6 виготовляється окремо, вона вільно обертається на запресованому у корпус валику 9. Між зубцями шестерень 4 і 6 та стінками корпуса 1 є невеликий зазор – 0,05…0,1 мм.
Насос працює так:
-
При обертанні колінчастого вала шестерні масляного насоса обертаються в різні сторони (рис. 6.4, б);
-
Під дією створеного при обертанні шестерень розрідження, масло із піддона картера через сітку 8 маслоприймача 7 і вхідний канал 10 надходить до шестерень 4 і 6;
-
Потрапляючи між зубцями шестерень 4, 6 і корпусом 1 насоса, воно переноситься зубцями у вихідний канал 5;
4. Оскільки шестерні обертаються з великою швидкістю, то в канал 5 масло подається під тиском. Величина тиску, створеного насосом, як і його подача, залежать від розмірів насоса, частоти обертання шестерень, опору в трубопроводах і каналах та від спрацювання деталей насоса.
У холодну пору року масляний насос, особливо нового двигуна, подає велику кількість масла, тиск якого в системі (від насоса до головного масляного канала) зростає через опір трубопроводів проходженню масла надмірної в'язкості. Щоб запобігти пошкодженню фільтра й інших деталей системи, в корпусі насоса є редукційний запобіжний клапан, який автоматично обмежує величину максимального тиску в системі. При значному підвищенні тиску стаканчик 12 (або кулька) стискає пружину 13 і частина масла по перепускному каналу 11 надходить в піддон картера. Змінюючи попереднє стискання пружини 13 регулювальним гвинтом 14, який фіксується відносно корпуса насоса контргайкою, регулюють максимальний тиск масла в системі (0,65…0,70 МПа).
Без редукційного клапана після пуску охолодженого двигуна з холодним та густим маслом тиск у магістралі перевищував би 100 МПа.
На дизелях модифікації СМД-60 встановлюється двосекційний масляний насос. Він має основну секцію, яка подає масло в головний масляний канал, і додаткову, яка подає масло до масляного радіатора.
Для забезпечення мащення тертьових поверхонь перед пуском дизеля, що полегшує пуск і зменшує спрацювання деталей, на дизелях модифікації СМД-60 і ЯМЗ-240 встановлений насос передпускового прокачування масла.
Рис. 4. Загальний вигляд (а) і схема роботи односекційного
масляного насоса (б)
1 – корпус; 2 – кришка; 3 – ведучий вал; 4 – ведуча шестерня;
5 – вихідний канал; 6 – ведена шестерня; 7 – маслоприймач; 8 – сітка маслоприймача; 9 – валик; 10 – вхідний канал; 11 – перепускний канал; 12 – замковий пристрій (стаканчик); 13 – пружина;
14 – регулювальний гвинт редукційного клапана
Фільтри забезпечують очищення масла від сторонніх предметів, які потрапили при перевезенні і зберіганні, а також від металевих і мінеральних частинок, що утворилися в процесі спрацювання деталей, згоряння палива й окислення масла.
На сучасних дизелях застосовується багатоступеневе очищення масла із використанням фільтрів грубої і тонкої очистки.
Фільтрами грубої очистки масла на всіх дизелях є металева сітка маслозаливної горловини і металева сітка, встановлена в корпусі маслоприймача.
Фільтри тонкої, очистки очищують масло від механічних частинок невеликого розміру (до 2…З мкм) і смолистих речовин. Фільтруючі елементи таких фільтрів змінні (картонні, паперові, з тканини та деревного борошна).
На сучасних тракторних двигунах такими фільтрами є центрифуги з частотою обертання ротора 5000…9000 хв1 (об/хв). У дизеля ЯМЗ-240Б основну частину масла, яка надходить у головну масляну магістраль, очищає фільтр зі змінними фільтрувальними елементами з деревного борошна, а меншу частину, яка знову повертається в піддон картера, – центрифуга.
Залежно від характеру сил, які обертають ротор, центрифуги бувають реактивними або активно-реактивними. Центрифуга, яка встановлена в системі так, що через неї проходить весь потік масла після масляного насоса, називається повнопоточною.
Центрифуга, через яку проходить частина масла, називається неповнопоточною.
Повнопоточна реактивна масляна центрифуга (рис. 5) дизеля СМД-60 складається з нерухомої і рухомої (ротора) частин і змонтована в корпусі 1 (рис. 5, б). В корпус 1 вкручено пустотілу вісь 6 з нижньою 31 і верхньою ЗО опорними шийками. На осі нерухомо (за допомогою гайки 10) закріплюється захисний ковпак 12, а ротор – з можливістю обертання відносно осі і вісьовим переміщенням 0,2–0,6 мм за допомогою гайки 8, упорної шайби 9 і гайки 11. Між ковпаком 12 і корпусом 1 встановлюється ущільнювальна паронітова прокладка 15.
В корпусі 1 є вхідні і вихідні канали, які з'єднуються з відповідними каналами осі 6. Вихідний канал осі – це відвідна трубка 2, запресована у вісь, а вхідний канал – місткість між внутрішньою поверхнею осі і зовнішньою поверхнею трубки 2. Для сполучення об'єму ротора з відповідними каналами на осі виконують отвори 28 і 26. Між вхідними 16 і вихідними 21 каналами корпуса встановлений запобіжний клапан, який підтримує необхідний тиск у центрифузі.
Запобіжний клапан 19 виготовлений у вигляді циліндричного плунжера з виточкою в середній частині для проходження масла по каналу 16 до центрифуги. До плунжера на різьбі приєднаний шток 23, який проходить крізь отвір упора 20. Шток 23 відносно клапана 19 зафіксований шплінтом. Між торцем штока і гніздом отвору порожнини запобіжного клапана 19 встановлений перепускний кульковий клапан, який складається з кульки 17 і пружини 18. На штоці 23, між упором 20 і шайбою, встановленою в канавку штока, діє пружина 22. Отвір під запобіжний клапан в корпусі 1 закривається заглушкою 24.
Ротор центрифуги із алюмінієвого сплаву складається з остова 4 і кришки 7, з'єднаних між собою за допомогою упорної шайби і гайок. Зверху упорної шайби 9 встановлюється мідна прокладка, в канавках остова, між остовом 4 і кришкою 7, ущільнювальне гумове кільце 14. Виступ (колонка) у верхній частині остова 4 тримає ротор на опорних шийках осі 6. Верхня ЗО і нижня 31 шийки осі – це опори остова 4, а середня 32 розмежовує місткості очищеного і неочищеного масла. В нижній частині остова 4 виконують литі приливки. В різьбових отворах приливків встановляються дві форсунки 3 з каліброваними отворами діаметром 2,3 мм. Форсунки розташовані по дотичній до кола обертання (в протилежні сторони) радіусом 40 мм. У верхній частині остова двома гвинтами закріплений масловідбивач 5 і насадка 13.
Масло від насоса під тиском надходить по отворах у блок-кар-тері і корпусі 1 до вхідного каналу 16 і отворів 28 в осі 6. Із отворів 28 масло через отвори масловідбивача 5 потрапляє до внутрішньої стінки насадки 13, звідки направляється до осі 6 і вверх. Це забезпечує рівномірніший розподіл осаду сторонніх домішок на внутрішніх стінках кришки 7, обмежує їх змивання зі стінок кришки 7 масла, яке надходить в ротор. Через різницю діаметрів опорних шийок ЗО і 31 осі 6 утворюється осьова сила, що піднімає ротор уверх. При роботі центрифуги ротор не тисне на опорні шийки ЗО і 31.
Рис. 5. Будова (а, б) і робота (в) реактивної масляної центрифуги:
а – дизеля СМД-18Н; б – дизеля СМД-60; 1 – корпус; 2 – масловідвідна трубка; 3 – форсунка; 4 – остов ротора; 5 – масловідбивач; 6 – вісь ротора; 7 – кришка ротора; 8 – гайка ротора; 9 – упорна шайба; 10 – гайка ковпака; 11 – гайка; 12 – ковпак; 13 – насадка; 14 – ущільнююче кільце; 15 – прокладка; 16, 21 – канали в корпусі центрифуги для неочищеного і очищеного масла; 17 – кульковий канал; 18, 22 – пружини; 19 – запобіжний клапан; 20 – упор; 23 – шток; 24 – заглушка клапана; 25 – стакан що відокремлює порожнини очищеного і неочищеного масла; 26, 28 – отвори; 27 – запобіжна сітка; 29 – картер для зливання масла з форсунок; 30,31,32 – опорні шийки осі; 33 – прокладка; 34,35 – зливний і перепускний клапан
Частина масла з верхньої частини ротора подається до форсунок. Витікаючи з великою швидкістю через соплові отвори форсунок, масло утворює реактивний крутний момент (рис. 5, в) який обертає ротор центрифуги. При обертанні ротора з великою швидкістю механічні частинки і продукти спрацювання масла під дією відцентрових сил відкидаються до стінок кришки і осідають у вигляді спресованої маси. Очищене масло по отворах 26 осі 6 подається в масловідвідну трубку 2, канал 21 центрифуги і в головну масляну магістраль дизеля.
При підвищенні тиску у вихідному каналі 21 центрифуги підвищується тиск і в каналі 16 для підведення масла до центрифуги. Масло діє на плунжер 19 запобіжного клапана і він, стискуючи пружину 22, переміщується вправо (рис. 5, б) разом зі штоком 23. Правий кінець плунжера виходить із розточки корпуса 1 і частина масла із впускного каналу 16 центрифуги надходить в картер 29 для зливання масла з форсунок і звідти–в піддон картера. Тиск на вході в центрифугу знижується. Запобіжний клапан відрегульований на відкривання при тиску у вихідному каналі 0,45…0,57 МПа. При зростанні різниці тисків у каналах 16 і 21 до 0,6…0,7 МПа, що може бути при пуску холодного двигуна, масло надходить по отворах
плунжера до кульки 17 перепускного клапана, стискає пружину 18 і переміщає кульку вліво. Із вхідного каналу 16 неочищене масло подається до вихідного каналу 21.
При зменшенні різниці тисків пружинами 18 і 22 перепускний і запобіжний клапани повертаються у початкове положення.
Осад зі стінок кришки ротора знімається дерев'яним скребком під час технічного обслуговування, потім стінки кришки промиваються дизельним паливом.
Центрифуга з активно-реактивним приводом дизеля Д-240 відрізняється від центрифуги з реактивним приводом відсутністю форсунки і все масло, яке дається в ротор центрифуги, спрямовується в головну масляну магістраль. Це дозволяє подовжити строк роботи масла, оскільки воно не збагачується киснем, менше окисляється і вигоряє. Крім того, при цьому зменшується загальний потік масла і відповідно витрати енергії на привод масляного насоса.
Рис. 7. Масляний радіатор:
1,4 – верхній і нижній бачки; 2 – овальні трубки; 3 – ребра; 5,7 – вхідний і вихідний патрубки; 6 – перетинки канал центрифуги з каналами насадки, та чотири радіальних отвори в колонці 8 остова ротора, що з'єднують канали насадки з робочим об'ємом ротора центрифуги.















