147783 (580234), страница 3
Текст из файла (страница 3)
Уменьшение длины буксирного троса в море на транспортном судне — опасная, сложная и трудоемкая работа, так как на корме нет мощных буксирных механизмов. Поэтому во время подготовки к буксирным операциям следует продумать варианты безопасной выборки, укорачивания, удлинения буксирного троса. Если суда вынуждены остановиться на большой глубине, то следует иметь в виду, что при длинном и
тяжелом буксирном тросе возможно сближение судов под действием тяжести буксирной линии. Судоводителям буксируемого судна, надо помнить, что в такой момент может возникнуть необходимость для буксирующего судна остановиться, дать задний ход или отдать буксирный трос.
На подходе к месту отдачи буксира скорость движения каравана сбавляется до минимальной или движение останавливается. Буксирный трос отдают там, где глубина позволяет ему лечь на грунт. Затем производят его выборку. При отдаче буксирного троса на большой глубине возникают трудности по его выборке, поэтому, рассчитывая буксирную линию, следует учитывать возможность имеющихся судовых средств.
Отдачу буксирной линии на буксирующем судне надо производить тогда, когда оставшуюся часть буксирного троса смогут выбрать из воды подъемные устройства буксируемого судна. Если буксирный трос был закреплен за якорную цепь, то вначале выбирают ее. В случае отдачи буксира на ходу судна его отдают с буксирующего судна, чтобы он не оказался намотанным на гребные винты.
Вопрос 5. Как определить величину давления на грунт, которая
необходима для снятия судна с мели?
Ответ
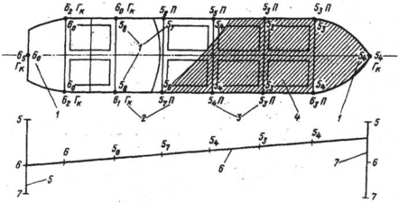
Глубины и характер грунта наносят на схематический план судна, на котором показаны водонепроницаемые переборки, трюмы (танки) и машинное отделение (рис. 4). Заштрихованная часть судна на рисунке - район соприкосновения корпуса судна с грунтом. Для его определения иногда используют подкильные концы, заводя их с носа и кормы под корпусом судна. В месте соприкосновения с грунтом их обтягивают и получают линию соприкосновения корпуса с грунтом.
При первой возможности на воду спускают шлюпку и с нее, как можно точнее, снимают осадку судна. Она необходима для расчетов по снятию судна с мели. На схематическом плане судна вычерчивают линию осадок. Сравнивая осадку и глубину, измеренную в определенных точках по обоим бортам. судна, можно точнее определить границы касания грунта.
Затем от борта под определенным углом производят промер окружающих глубин до нужного расстояния от судна. Полученный таким образом планшет глубин
укажет безопасные глубины и стороны снятия судна с мели. На планшете указывают: дату, время и состояние прилива в момент промера, направление и скорость течения. Устанавливают радиосвязь с находящимися поблизости судами (в первую очередь советскими) и наносят их позиции на генеральную карту. При посадке на мель в штормовую погоду или при ее ухудшении, чтобы не получить дальнейшее продвижение в сторону отмели или повреждение от ударов о грунт, судно закрепляют на мели затоплением водой свободных отсеков, а также грузовых (если судно порожнее или груз не боится подмочки - металл, трубы, железобетонные конструкции и т. д.).
Необходимо запросить прогноз погоды, определить стадию прилива в момент посадки, время ближайшей полной и малой воды, их величину, направление и скорость течения.
О всех проводимых на судне мероприятиях с момента посадки на мель ведут подробные записи в судовом журнале.
Успех снятия судна с мели зависит от: характера грунта, глубин, возможного увеличения уровня воды, величины потери плавучести и повреждения корпуса, от размера и расположения участков касания днищем грунта, гидрометеорологических условий, знания и опыта экипажа.
Рис. 4. Схематический план судна при посадке на мель:
1- значения осадок судна; 2- род грунта; 3- измерение глубины; 4- район соприкосновения корпуса судна с грунтом; 5- шкала осадки кормой; 6- линия осадок; 7- шкала осадки носом
Работы, проводимые АЭСПТР по снятию судна с мели, включают:
осмотр судна и грунта с помощью водолазов, уточненный промер глубин, определение опорной реакции грунта (давление судна на грунт) от потери осадки, расчет тяговых нагрузок для снятия судна с мели, расчет тяги на гаке буксирующего судна, определение диаметра и длины буксирного троса.
Опорная реакция грунта (Rо - в тоннах) при посадке судна на мель без затопления отсеков
а при посадке на мель с затоплением отсеков
Ro = - S (T + xfL),
где - плотность забортной воды, т/м3;
S - площадь действующей ватерлинии судна до посадки на мель, м2,
Tk + Tk
T = - изменение средней осадки судна, м;
2
Tн - изменение осадки носом, м;
Tk - изменение осадки кормой, м;
xf - абсцисса ЦТ площади действующей ватерлинии, м;
L - длина судна между перпендикулярами, м;
Pi - масса воды, влившейся в отсеки, т.
Тяговая нагрузка для снятия судна с мели
F = fRoNt
где Ro - опорная реакция грунта, т;
f - коэффициент трения судна о грунт;
N - сила присоса к грунту,
N = (0,054 -:- 0,25) R.
В зависимости от характера грунта без учета скорости движения судна при снятии с мели может быть принята следующая величина коэффициента f: ил0,18- 0,22; мягкая глина 0,23-0,3; глина с песком 0,30-0,32; песок мелкий 0,35-0,38; галька 0,38-0,42, каменная плита 0,30-0,42, камень-булыжник 0,42- 0,55.
Вопрос 6. От чего зависит способ снятия судна с мели при помощи
якорей и линей?
Ответ
Если повреждений корпуса нет или они незначительны, грунт мягкий, потеря плавучести небольшая и гидрометеорологическая обстановка хорошая, судно может сойти с мели без посторонней помощи, используя для этого работу СЭУ, прилив, откачку балласта, дифферентовку и кренование, завоз якорей и другие способы, приемлемые в данном случае.
Работать винтами можно только тогда, когда под кормой чисто и имеется запас воды.
Задний ход рекомендуется давать реверсами со «Стопа». Не исключены передний ход и перекладка руля с борта на борт.
Время работы СЭУ и реверсы зависят от данной ситуации на месте и их полезности.
Однако следует учитывать, что продолжительная работа на задний ход размывает грунт и гонит его под днище.
Становые якоря по возможности отклепывают, крепят к тросам и завозят как можно дальше в направлении, намеченном для снятия судна с мели. Крепят их в грунте. Обтягивают тросы лебедками.и шпилями (брашпилями). После этого одновременно начинают работать главным двигателем, лебедками и шпилями. Иногда эту трудоемкую работу приходится выполнять не один раз.
Для увеличения стягивающих усилий к тросам (цепям) крепят тали или гини. Для определения тяговых усилий применяют формулу
Pm
ТГ =
1 + n/10
где Р - тяговое усилие в ходовом лопаре, создаваемом палубным механизмом;
m - число лопарей, выходящих из подвижного блока;
п - число шкивов в обоих блоках.
При снятии судна с мели резким натяжением буксирного троса буксирующего судна тяговая сила увеличивается в несколько раз. Однако следует иметь в виду, что при резких рывках возможен разрыв буксирного троса.
При привлечении к работам нескольких судов расстановка их производится с таким расчетом, чтобы равнодействующая всех сил напряжения буксирующих судов совпадала с направлением, выбранным для снятия судна с мели.
Работа судов-спасателей тем эффективнее, чем длиннее буксирный трос и больше водоизмещение судна.
Для снятия судна с мели практикуют промывку канала гребными винтами другого судна. Для этого на безопасной глубине судно становится на два якоря и подает букcирный трос на аварийное судно.
Работая винтами на передний ход, подбирая лебедкой (шпилем или брашпилем) буксирный трос и потравливая якорные цепи, судно струей от винтов размывает грунт и промывает канал необходимой ширины к аварийному судну. При необходимости таким же способом аварийное судно может быть промыто и вдоль бортов.
Когда аварийному судну необходимо уменьшить осадку, чтобы сойти с мели самостоятельно или с помощью других судов, оно может, если позволит остойчивость, откачать весь или часть балласта и бункера, а в крайнем случае произвести частичную выгрузку груза на другие суда.
При работах по снятию судна с мели необходимо строго соблюдать требования техники безопасности.
Вопрос 7. Закономерность относительного движения.
Ответ
Движение судна относительно грунта представляется:
• перемещением по меридиану Y - расстоянием, на которое ЦМ судна смещается в направлении оси оу;
• перемещением по параллели X - расстоянием, на которое ЦМ судна смещается в направлении оси ох;
• вектором VИ истинной линейной скорости ЦМ (скорости относительно грунта);
• угловой скоростью со вращения относительно ЦМ.
Кинематическими параметрами, отражающими перемещение судна относительно грунта, также являются:
- модуль VИ вектора истинной скорости;
- путевой угол ПУС - угол между плоскостью меридиана и направлением вектора истинной скорости судна относительно грунта.
В системе координат х о у вектор истинной скорости может быть представлен:
- Составляющей скорости по меридиану Vиу - компонентой вектора истинной скорости ЦМ судна в направлении меридиана;
- Составляющей скорости по параллели Vих - компонентой вектора истинной скорости ЦМ судна в направлении оси Ох;
Рис. 5. Координатные системы и кинематические параметры судна
Движение судна относительно воды.
Перемещение судна относительно грунта состоит из движения относительно воды и переноса вместе с водной массой течением. На этом основании вектор VИ может быть представлено как геометрическая сумма вектора скорости судна относительно воды V и вектора скорости течения VT :
VИ=V+VT.
Управление судном предполагает прогноз его перемещения на определенное время вперед. Для прогнозирования необходимо иметь представление о силах, действующих на корпус судна. Главные из этих сил, гидродинамические, зависят от скорости судна относительно воды. Поэтому вектор скорости судна относительно воды является одним из основных кинематических параметров судна.
Движение судна относительно воды характеризуют следующие параметры. В жестко связанной с судном системе координат 1Gb:
• Продольная скорость VL - компонента вектора V скорости ЦМ судна относительно воды в направлении ДП;
• Поперечная (боковая) скорость VB - составляющая вектора
V скорости ЦМ судна относительно воды в направлении боковой оси Gb.
Относительно направления меридиана и оси GI вектор V может быть охарактеризован:
• Модулем V;
• Путевым углом судна ПУа - углом между плоскостью меридиана и направлением вектора скорости судна относительно воды;
• Углом дрейфа а - углом при ЦМ судна между ДП и направлением вектора скорости судна относительно воды.
В системе координат х о у движение судна относительно воды характеризуют следующие кинематические параметры:
• Составляющая скорости по меридиану Vr - компонента вектора
V скорости ЦМ судна относительно воды в направлении меридиана;
• Составляющая скорости по параллели Vx - компонента вектора
V скорости ЦМ судна относительно воды в направлении оси Ох; Перемещение судна отражают и следующие элементы:
- Курс судна К - это угол между плоскостью меридиана и ДП судна;
- Угол сноса - разность между ПУС и курсом судна.
При отсутствии течения вектор скорости судна относительно воды равняется вектору истинной скорости судна. Для этого случая на рис. 5 представлены основные координатные системы и основные кинематические параметры судна.
Вопрос 8. Решить задачу методом графической прокладки. Определить: Dкр, V0, Vв, ИК0, ИКв, Ткр. Выбрать манёвр для безопасного расхождения с судном, определить скорость вашего судна и время расхождения на выбранном курсе.
| Курс и скорость нашего судна | Судна – цели, которые наблюдаются на РЛС, пеленги и расстояния через 3 минуты | |||||
| Судно А | Судно В | Судно С | ||||
| ИК = 320o , V = 14 уз | ИП = 90o D = 2,0 ИП = 100o D = 1,7 | ИП = 320o D = 4,0 ИП = 320o D = 3,5 | ИП = 318o D = 9,0 ИП = 317o D = 7,6 | |||
Oтвет
Судно А Судно В Судно С
Дкр = 1,5 миль Дкр = 0 Дкр = 1 миля
















