146991 (580129), страница 2
Текст из файла (страница 2)
Система питания служит для хранения, подачи и очистки топлива, очистки воздуха, приготовления горючей смеси нужного состава на разных режимах работы двигателя, отвода наружу продуктов сгорания. В нее входят: топливный бак, топливный насос, карбюратор, воздухоочиститель, впускной и выпускной трубопроводы, глушитель, топливопроводы, указатель количества топлива в баке с датчиком и сигнальная лампа красного цвета, загорающаяся при остатке в баке 4,0...6,5 л бензина (на автомобиле ВАЗ).
Топливо. Топливом для двигателей ВАЗ является бензин марки АИ-93. В маркировке бензина буква А означает, что бензин автомобильный буква И указывает метод определения октанового числа (исследовательский). После букв стоит октановое число, которое характеризует стойкость бензина против детонации. Чем больше октановое число бензина, тем меньше его склонность к детонации и тем выше допускаемая степень сжатия, с увеличением которой повышается мощность и улучшается топливная экономичность двигателя.
Детонационная стойкость топлива выявляется в процессе сгорания рабочей смеси в цилиндре двигателя. Сжатая в цилиндре рабочая смесь при нормальных условиях сгорает со скоростью 30...40 м/с. При определенных условиях (использование бензина с низким октановым числом, перегрев двигателя, увеличение угла опережения зажигания и др.) сгорание части смеси в наиболее удаленных от свечи объемах камеры сгорания протекает о огромной скоростью, достигающей 2500 м/с, в результате чего возникает ударная волна и значительно повышается давление. Такое сгорание рабочей смеси называется детонацией. Детонационное сгорание топлива очень вредно отражается на работе двигателя. Признаками детонации являются звонкие стуки в двигателе, потеря им мощности, появление черного дыма из глушителя, что сопровождается резкими хлопками и перегревом двигателя. При детонации значительно увеличивается износ деталей двигателя, возможно их разрушение.
Иногда детонационное сгорание ошибочно смешивают с самовоспламенением рабочей смеси (воспламенением без электрической искры). Самовоспламенение может наступать в перегретом двигателе в конце такта сжатия, когда температура рабочей смеси повышается настолько, что воспламенение может наступать до появления электрической искры. Смесь может также самовоспламениться от соприкосновения с раскаленными электродами свечи зажигания или частицами нагара. При самовоспламенении двигатель продолжает некоторое время работать даже после выключения зажигания, чего нет при детонационном сгорании.
Увеличения стойкости бензина против детонации можно достигнуть, добавляя к нему антидетонатор. Одним из наиболее распространенных антидетонаторов является этиловая жидкость. Количество добавляемой в топливо этиловой жидкости невелико на 1 кг бензина АИ-93 добавляют согласно ГОСТ 2084—77 не более 0,5 г жидкости.
Так как этиловая жидкость является ядом, то и этилированный бензин также ядовит. Поэтому при обращении с ним необходимо соблюдать осторожность: не допускать попадания на тело или одежду, не вдыхать его паров, не засасывать ртом при переливании.
Состав горючей смеси имеет большое значение для: протекания рабочего процесса в цилиндрах двигателя. В зависимости от соотношения бензина и воздуха различают следующие горючие смеси.
Нормальная горючая смесь состоит из 1 кг бензина и 15 кг воздуха. Такое соотношение соответствует теоретически необходимому количеству воздуха для полного сгорания 1 кг бензина.
Обедненная горючая смесь содержит на 1 кг бензина от 15 до 17 кг воздуха.
Бедная горючая смесь имеет в своем составе свыше 17 кг воздуха на 1 кг бензина.
Обогащенная горючая смесь содержит от 13 до 15 кг воздуха на -1 кг бензина.
Богатая горючая смесь на 1 кг бензина содержит менее 13 кг воздуха.
Для нормальной работы двигателя на разных режимах необходимо иметь различный состав горючей смеси.
При пуске и прогреве холодного двигателя в связи с конденсацией части паров бензина на холодных стенках впускных трубопроводов и цилиндров смесь должна быть настолько богатой, чтобы в ней оставалось достаточное количество парообразного топлива для надежного воспламенения.
При низкой частоте вращения коленчатого вала на холостом ходу количество смеси, поступающей в цилиндр, невелико. Частицы топлива будут значительно удалены друг от друга и перемешаны с остаточными газами, вследствие чего смесь горит медленно, а двигатель работает неустойчиво. Для устойчивой работы двигателя на этом режиме горючая смесь должна быть обогащенной.
На средних нагрузках применяют обедненную смесь, при которой получается наименьший расход топлива. При полных нагрузках для достижения наибольшей мощности двигателя необходимо применять смесь обогащенного состава, обладающую наибольшей скоростью сгорания.
При резком увеличении нагрузок от малых до больших горючая смесь должна кратковременно обогащаться.
Приготовление горючей смеси различного состава осуществляется соответствующими системами карбюратора.
Карбюратор, его системы и работа
Процесс приготовления горючей смеси называется карбюрацией, а прибор, в котором этот процесс осуществляется, карбюратором.
Простейший карбюратор состоит из поплавковой камеры (рис. 4) с поплавком 5, игольчатым клапаном 4, главным топливным жиклером 2, а также смесительной камеры, в которой расположены диффузор 9, распылитель 8 и дроссельная заслонка 10.
Примерно постоянным уровень поступающего из бака топлива поддерживается в поплавковой камере с помощью игольчатого клапана и поплавка. Воздух в поплавковую камеру поступает через специальное отверстие.
Рис.4. Схема простейшего карбюратора: 1 — поплавковая камера; 2 — главный топливный жиклер; 3 — эмульсионный колодец; 4 — игольчатый клапан; 5 — поплавок; 6 — эмульсионная трубка; 7 — воздушный жиклер; 8 — распылитель; 9 — диффузор; 10 — дроссельная заслонка; 11— впускной трубопровод
Жиклер представляет собой пробку с калиброванным отверстием, пропускающим определенное количество бензина. При неработающем двигателе бензин в канале распылителя устанавливается на том же уровне, что и в поплавковой камере.
При такте впуска во впускном трубопроводе создается разрежение, за счет чего воздух поступает в смесительную камеру карбюратора. Диффузор увеличивает скорость воздушного потока и разрежение около распылителя. Под разностью давлений бензин вытекает из распылителя, подхватывается потоком воздуха, смешивается с ним, образуя горючую смесь.
Однако простейший карбюратор не обеспечивает требуемого состава горючей смеси на разных режимах работы двигателя. Поэтому в реальном карбюраторе имеются дополнительные системы и устройства. К ним относятся: главная дозирующая система, система холостого хода, экономайзер, ускорительный насос и пусковое устройство.
Главная дозирующая система обеспечивает постепенное обеднение горючей смеси при переходе от малых нагрузок к средним и поддержание ее примерно постоянного состава. В карбюраторах изучаемых автомобилей это достигается использованием пневматического торможения топлива с помощью воздушного жиклера 7, расположенного в верхней части эмульсионной трубки 6, помещенной в колодце 3.
При открытии дроссельной заслонки карбюратора воздух поступает не только в диффузор, но и через воздушный жиклер в эмульсионную трубку, тем самым снижая разрежение у топливного жиклера. Чем выше разрежение в диффузоре, тем больше воздуха поступает через воздушный жиклер и тем больше тормозится истечение топлива. Причем из распылителя уже будет поступать не чистое топливо, а его смесь с воздухом (эмульсия), что приведет к образованию горючей смеси необходимого обедненного состава.
5. Назначение систем смазки и охлаждения, устройство и работа их агрегатов
Средняя температура газов в цилиндре работающего двигателя составляет 800...900°С. При такой температуре необходимо принудительное. охлаждение деталей двигателя. Без охлаждения произойдет сильный перегрев деталей, что может вызвать их раз рушение, выгорание смазки, привести к чрезмерному расширению и заклиниванию поршней, выплавлению вкладышей подшипников и другим неисправностям.
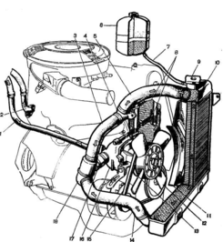
Рис. 5. Система охлаждения двигателя автомобиля ВАЗ-2106:
1— патрубок отвода жидкости из отопителя; 2—патрубок подвода горячей жидко, из головки блока цилиндров в отопитель; 3 — шланг перепускного патрубка термостата; 4 — выпускной патрубок рубашки охлаждения: 5 — подводящий шланг к радиатору: 6 -расширительный бачок; 7 — шланг; 8— рубашка охлаждения; 9 — пробка радиатора; 10 - радиатор; 11 — кожух вентилятора; 12 — вентилятор; 13 — шкив привода вентилятора насоса системы охлаждения; 14 — отводящий шланг радиатора; 15 — ремень; 16 — нас системы охлаждения; 17 — отводящий патрубок от термостата к насосу; 18— термостат.
Система охлаждения служит для отвода излишнего тепла от нагретых деталей двигателя. Нормальная температура охлаждающей жидкости у работающего двигателя должна находиться в пределах 80…100 °С. Вместе с тем двигатель не должен переохлаждаться, так как при этом теряется полезное тепло и уменьшается давление газов на поршень, а слишком охлажденное или остывшее масло увеличивает потери мощности на трение, часть горючей смеси конденсируется, смывая смазку со стенок цилиндра, износ деталей увеличивается.
Жидкостная система охлаждения двигателя автомобиля ВАЗ-2106 включает в себя рубашку 8 (рис. 5) охлаждения блока и головки цилиндров, радиатор 10,расширительный бачок 6, центробежный насос 16, вентилятор 12, термостат 18, соединительные патрубки и шланги, сливные пробки, датчик и указатель температуры охлаждающей жидкости.
Принцип работы системы охлаждения заключается в следующем. Центробежный насос 16, вал которого приводится во вращение с помощью ремня 15 от шкива коленчатого вала, забирает охлаждающую жидкость из нижней части радиатора и нагнетает ее в рубашку охлаждения 8 головки и блока цилиндров. Жидкость омывает наиболее нагретые части, отнимает от них часть тема' и нагревается, а затем через шланг 5 поступает в верхний бачок радиатора. Одновременно часть нагретой жидкости проходит через рубашку впускного трубопровода двигателя, подогревая горючую смесь; при необходимости жидкость может отводиться с помощью крана в отопитель салона кузова. Проходя через сердцевину радиатора в его нижний бачок, нагретая жидкость охлаждается и снова поступает к центробежному насосу.
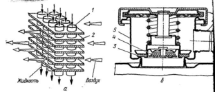
Рис. 6. Сердцевина (а) и пробка (б) радиатора: 1 — трубки; 2 — стальные пластины; 3 — выпускной клапан; 4 — впускной клапан; 5 - горловина радиатора; 6 —корпус пробки; 7—патрубок к расширительному бачку.
Радиатор состоит из нижнего и верхнего латунных бачка припаянных к сердцевине. Бачки имеют патрубки, а верхний, кроме того,— заливную горловину с пробкой 9. Сердцевина радиатора изготовлена из латунных трубок 1 (рис. 6, а), соединяющих верхний и нижний бачки, и стальных пластин 2, увеличивающих поверхность охлаждения.
Радиатор автомобиля ВАЗ-2106 изготовлен из алюминия и имеет вертикальное расположение бачков. Патрубки бачков через резиновые шланги соединяют радиатор с рубашкой охлаждения, головки блока цилиндров и центробежным насосом. Заливная горловина 5 (рис. 6, б) радиатора автомобилей ВАЗ-2106 закрывается пробкой 6, в которой имеются выпускной (паров) 3 и впускной (вентиляционный) 4 клапаны. Выпускной клапан открывается при избыточном давлении в системе охлаждения 0,5 кгс/см2. Увеличение давления в системе позволяет в случае применения в качестве охлаждающей жидкости воды повысить температуру ее кипения до 109 °С. При открытом клапане жидкость или пар отводятся в расширительный бачок. Это предохраняет от разрушения радиатор и патрубки. Впускной клапан не имеет пружины и допускает впуск и выпуск в расширительный бачок жидкости при ее нагревании и охлаждении. Открытие его происходит при разрежении 0,01 кгс/см2. При этом в радиатор поступает жидкость из расширительного бачка, что предотвращает сдавливание трубок сердцевины радиатора под воздействием атмосферного давления.
Расширительный бачок пластмассовый, в нем содержится определенное количество охлаждающей жидкости. Он служит для компенсации изменяющегося объема жидкости в системе охлаждения при работе двигателя.
Центробежный насос служит для обеспечения принудительной циркуляции жидкости в системе охлаждения.
















