145007 (580042)
Текст из файла
Размещено на http://www.allbest.ru/
ОГЛАВЛЕНИЕ
ВВЕДЕНИЕ
1. Исходные данные
2. Расчет балок настила
3. Расчет центрально сжатой колонны
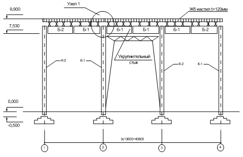
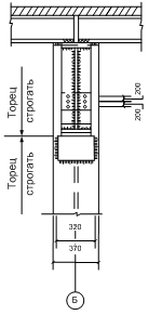
4. Монтажная схема
ВВЕДЕНИЕ
В данном проекте произведены два расчета и приведена монтажная схема балочной площадки:
1. Расчет балок настила, со схемами балочной клетки нормального типа и расчетной схемой
2. Расчет центрально сжатой колонны.
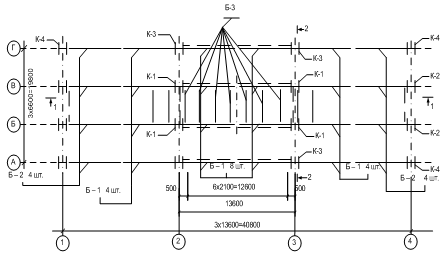
1. Исходные данные
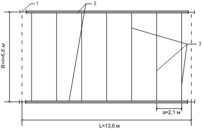
- Пролет L=13,6 м
- Шаг колонB=6,6 м
- Шаг балок настилаa=2,1 м
- Отметка верха настилаH=9,9 м
- Нормативная временная нагрузкаpH=2500 кг/м2
- Толщина железобетонного настилаt=12 см
- Сталь С245Ry=2400 кг/см2
- плотность железобетона В=2500 кг/м3
- относительный прогиб балок настила
=
2. Расчет балок настила
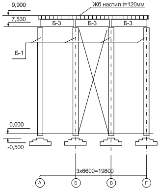
Рис. Схема балочной клетки нормального типа: 1 – колонна; 2 – главные балки; 3 – балки настила
Расчетная схема
Сбор нагрузок на 1 м2 настила
Таблица 1
| № п/п | Наименование нагрузки | Нормативная нагрузка, кг/м2 | Коэффициент перегрузки, r | Расчетная нагрузка, кг/м2 |
| 1 | Временная полезная нагрузка, pH | 2500 | 1,2 | 3000 |
| 2 | Вес железобетонного настила (B х t=2500 х 0,12=300) | 300 | 1,1 | 330 |
| 3 | Вес металлических балок | 30 | 1,05 | 32 |
| Итого: | gН=2830 | g=3362 | ||
Нормативная нагрузка на балку настила:
qH= gН+a=2830 x 2,1=5943 кг/м=59,43 кг/см
Расчетная погонная нагрузка на балку настила:
q=g x a = 3362 х 2,1 = 7060,2 кг/м
Максимальный изгибающий момент:
Mmax=
=
=38442,8 кг/м
Проверка прочности изгиба элементов:
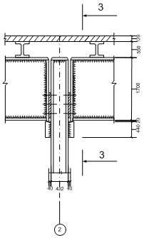
= Откуда выражаем требуемый момент сопротивления балки Wтр: Wтр= h — высота двутавра; b — ширина полки; s — толщина стенки; t — средняя толщина полки; R — радиус внутреннего закругления; r — радиус закругления полки Балки двутавровые (ГОСТ 8239-89) Таблица 2 Номер двутавра Размеры Площадь поперечного сечения, см2 Масса 1 м, кг Справочные значения для осей h b s t R r X – X Y – Y не более мм Ix, Wx, ix, Sx, Iy, Wy, iy, см4 см3 см см3 см4 см3 см 10 100 55 4,5 7,2 7,0 2,5 12,0 9,46 198 39,7 4,06 23,0 17,9 6,49 1,22 12 120 64 4,8 7,3 7,5 3,0 14,7 11,50 350 58,4 4,88 33,7 27,9 8,72 1,38 14 140 73 4,9 7,5 8,0 3,0 17,4 13,70 572 81,7 5,73 46,8 41,9 11,50 1,55 16 160 81 5,0 7,8 8,5 3,5 20,2 15,90 873 109,0 6,57 62,3 58,6 14,50 1,70 18 180 90 5,1 8,1 9,0 3,5 23,4 18,40 1290 143,0 7,42 81,4 82,6 18,40 1,88 20 200 100 5,2 8,4 9,5 4,0 26,8 21,00 1840 184,0 8,28 104,0 115,0 23,10 2,07 22 220 110 5,4 8,7 10,0 4,0 30,6 24,00 2550 232,0 9,13 131,0 157,0 28,60 2,27 24 240 115 5,6 9,5 10,5 4,0 34,8 27,30 3460 289,0 9,97 163,0 198,0 34,50 2,37 27 270 125 6,0 9,8 11,0 4,5 40,2 31,50 5010 371,0 11,20 210,0 260,0 41,50 2,54 30 300 135 6,5 10,2 12,0 5,0 46,5 36,50 7080 472,0 12,30 268,0 337,0 49,90 2,69 33 330 140 7,0 11,2 13,0 5,0 53,8 42,20 9840 597,0 13,50 339,0 419,0 59,90 2,79 36 360 145 7,5 12,3 14,0 6,0 61,9 48,60 13380 743,0 14,70 423,0 516,0 71,10 2,89 40 400 155 8,3 13,0 15,0 6,0 72,6 57,00 19062 953,0 16,20 545,0 667,0 86,10 3,03 45 450 160 9,0 14,2 16,0 7,0 84,7 66,50 27696 1231,0 18,10 708,0 808,0 101,00 3,09 50 500 170 10,0 15,2 17,0 7,0 100,0 78,50 39727 1589,0 19,90 919,0 1043,0 123,00 3,23 55 550 180 11,0 16,5 18,0 7,0 118,0 92,60 55962 2035,0 21,80 1181,0 1356,0 151,00 3,39 60 600 190 12,0 17,8 20,0 8,0 138,0 108,00 76806 2560,0 23,60 1491,0 1725,0 182,00 3,54 Принимаем двутавр № 55: Wx=2035,0 см3 (Wx=2035,0 см3>Wтр=1601,8 см3), Jх=55962 см4. Проверяем прогиб балки: жесткость обеспечена. 3. Расчет центрально сжатой колонны Геометрическая длина колонны l: l=H-tн-hб.н.-hг.б.+c=990-12-55-170+50= 803 см. tн = 12 см – толщина настила; hб.н = 55 см – высота балки настила; hг.б = 170 см – высота главной балки; l0 – расчетная длина: l0= х l = l, так как = 1для данной расчетной схемы. Продольная сила в колонне: N=g x L x B x 1,02 = 3362х13,6х6,6х1,02=307809 кг Проверка устойчивости центрально сжатых стержней: = Требуемая площадь сечения колонны: Аmp= адаем = 0,7: Аmp = Принимаем двутавр с параллельными гранями полок I40K2 A = 218,69 cм2, iy=10,12 cм. Гибкость относительно оси Y: y = Проверка устойчивости: = Устойчивость обеспечена. Коэффициенты продольного изгиба центрально-сжатых элементов (СНиП II-23-81*) Гиб-кость Коэффициенты для элементов из стали с расчетным сопротивлением Ry, МПа (кгс/см2) 200 (2050) 240 (2450) 280 (2850) 320 (3250) 360 (3650) 400 (4100) 440 (4500) 480 (4900) 520 (5300) 560 (5700) 600 (6100) 640 (6550) 10 20 30 40 50 60 70 80 90 100 110 120 130 140 150 160 170 180 190 200 210 220 988 967 939 906 869 827 782 734 665 599 537 479 425 376 328 290 259 233 210 191 174 160 987 962 931 894 852 805 754 686 612 542 478 419 364 315 276 244 218 196 177 161 147 135 985 959 924 883 836 785 724 641 565 493 427 366 313 272 239 212 189 170 154 140 128 118 984 955 917 873 822 766 687 602 522 448 381 321 276 240 211 187 167 150 136 124 113 104 983 952 911 863 809 749 654 566 483 408 338 287 247 215 189 167 150 135 122 111 102 094 982 949 905 854 796 721 623 532 447 369 306 260 223 195 171 152 136 123 111 101 093 086 981 946 900 846 785 696 595 501 413 335 280 237 204 178 157 139 125 112 102 093 085 077 980 943 895 839 775 672 568 471 380 309 258 219 189 164 145 129 115 104 094 086 079 073 979 941 891 832 764 650 542 442 349 286 239 203 175 153 134 120 107 097 088 080 074 068 978 938 887 825 746 628 518 414 326 267 223 190 163 143 126 112 100 091 082 075 069 064 977 936 883 820 729 608 494 386 305 250 209 178 153 134 118 105 094 085 077 071 065 060 977 934 879 814 712 588 470 359 287 235 197 167 145 126 111 099 089 081 073 067 062 057 Примечание. Значение коэффициентов в таблице увеличены в 1000 раз. Технические характеристики двутавров стальных горячекатаных с параллельными гранями полок СТО АСЧМ 20-93 представлены в таблице. Профиль Размеры профиля мм Площадь Масса 1 м Справочные величины для осей h b S t R сечения см2 длины кг Ix, см4 Wx см3 Sx см3 ix см Iy, см4 Wy см3 iy см 20 К1 196 199 6,5 10 13 52,69 41,4 3846 392,5 216,4 8,54 1314,4 132,1 4,99 20 К2 200 200 8 12 13 63,53 49,9 4716 471,6 262,8 8,62 1601,4 160,1 5,02 25 К1 246 249 8 12 16 79,72 62,6 9171 745,6 410,7 10,73 3089,9 248,2 6,23 25 К2 250 250 9 14 16 92,18 72,4 10833 866,6 480,3 10,84 3648,6 291,9 6,29 25 К3 253 251 10 15,5 16 102,21 80,2 12154 960,8 535,4 10,9 4088,6 325,8 6,32 30 К1 298 299 9 14 18 110,80 87 18849 1265,1 694,7 13,04 6240,9 417,5 7,51 30 К2 300 300 10 15 18 119,78 94 20411 1360,7 750,6 13,05 6754,5 450,3 7,51 30 К3 300 305 15 15 18 134,78 105,8 21536 1433,7 806,9 12,64 7104,4 465,9 7,26 30 К4 304 301 11 17 18 134,82 105,8 23381 1538,2 852,8 13,17 7732,3 513,8 7,57 35 К1 342 348 10 15 20 139,03 109,1 31249 1827,4 1001,2 14,99 10541,7 605,8 8,71 35 К2 350 350 12 19 20 173,87 136,5 40296 2302,6 1272,7 15,22 13585,3 776,3 8,84 40 К1 394 398 11 18 22 186,81 146,6 56147 2850,1 1559,3 17,34 18921,9 950,8 10,06 40 К2 400 400 13 21 22 218,69 171,7 66623 3331,2 1936,3 17,45 22412 1120,6 10,12 40 К3 406 403 16 24 22 254,87 200,1 78041 3844,4 2139,9 17,5 26199,5 1300,2 10,14 40 К4 414 405 18 28 22 295,39 231,9 92773 4481,8 2513,2 17,72 31026,2 1532,2 10,25 40 К5 429 400 23 35,5 22 370,49 290,8 120292 5608 3198,6 18,02 37914,2 1895,7 10,12 Примечание. Sx – статический момент полусечения; Ix,Iy – моменты инерции; Wx,Wy – моменты сопротивления; ix ,iy – радиусы инерции. 4. МОНТАЖНАЯ СХЕМА 1-1 2-2 монтажный балочный настил колонна Узел 1 3-3 Размещено на Allbest.ru 5
=
=1601,8 см3
=
=
=0,00193<0,004
=
=183,2 см2
=
=80, при этом = 0,686.
=
= 2052<2400 кг/см2
Характеристики
Тип файла документ
Документы такого типа открываются такими программами, как Microsoft Office Word на компьютерах Windows, Apple Pages на компьютерах Mac, Open Office - бесплатная альтернатива на различных платформах, в том числе Linux. Наиболее простым и современным решением будут Google документы, так как открываются онлайн без скачивания прямо в браузере на любой платформе. Существуют российские качественные аналоги, например от Яндекса.
Будьте внимательны на мобильных устройствах, так как там используются упрощённый функционал даже в официальном приложении от Microsoft, поэтому для просмотра скачивайте PDF-версию. А если нужно редактировать файл, то используйте оригинальный файл.
Файлы такого типа обычно разбиты на страницы, а текст может быть форматированным (жирный, курсив, выбор шрифта, таблицы и т.п.), а также в него можно добавлять изображения. Формат идеально подходит для рефератов, докладов и РПЗ курсовых проектов, которые необходимо распечатать. Кстати перед печатью также сохраняйте файл в PDF, так как принтер может начудить со шрифтами.
















