144972 (580035)
Текст из файла
Монтаж стенки
Установка рулонов в вертикальное положение.
Установку рулонов в вертикальное положение рекомендуется производить с опиранием на шарнир краном, перемещающимся в процессе подъема по специально подготовленной площадке.
Перед установкой рулонов стенки производят следующие подготовительные работы:
устанавливают шарнир таким образом, чтобы поднятый рулон занял исходное положение для начала развертывания;
приподняв нижний конец рулона краном, подводят под него шарнир и прикрепляют рулон к ложу шарнира с помощью крепежного устройства;
закрепляют шарнир на днище приваркой планок;
верхний конец рулона опирают на клеть из шпал высотой 300 - 500 мм, располагаемую под вторым кольцом каркаса, считая от торца рулона;
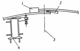
Подъем рулона стенки краном, перемещающимся в процессе подъема
1 - рулон стенки; 2 - кран; 3 - захват для подъема рулона; 4 - шарнир; 5 - грузовой канат; 6 - тормозной канат; 7 - тормозной трактор; 8 - реперы, определяющие этапы перемещения крана; 9 - угловой сектор
На первый рулон стенки рядом с вертикальной кромкой закрепляют трубу жесткости с тремя расчалками, придающую поперечную жесткость начального участка полотнища при развертывании;
На нижнем торце рулона к каркасу крепят поддон из листовой стали толщиной 6 - 8 мм, диаметром 3400 мм. Поддон со стороны днища обильно смазывают солидолом;
Производят строповку грузового каната через захват, устанавливаемый на верхнем торце рулона (кроме этого, к захвату крепят тормозной канат) или штуцера, привариваемые к рулону на подкладных листах на расстоянии 500 - 1000 мм от верхнего торца;
Проверяют перпендикулярность продольных осей рулона и трубы шарнира. Ось рулона, грузовой и тормозной канаты должны находиться в одной вертикальной плоскости;
Производят обтяжку и проверку такелажной оснастки пробным подъемом рулона на 100 - 200 мм с выдержкой в течение 10 мин.
Подъем рулона с одновременным контролем допустимого отклонения полиспаста крана от вертикали (по соответствующей риске на условном секторе) чередуют с перемещением крана по площадке на определенное расстояние между заранее установленными реперами без изменения вылета стрелы.
В процессе подъема необходимо обеспечивать провисание тормозного каната до достижения рулоном угла наклона на 10 - 18° меньше угла положения неустойчивого равновесия.
При дальнейшем подъеме выбирают слабину тормозного каната. Движение рулона при переходе его центра тяжести через ось поворота обеспечивают за счет своевременного включения в работу тормозного трактора, что достигается контролем угла наклона по угловому сектору. С помощью тормозного трактора рулон плавно устанавливают на днище резервуара.
Рулон может быть поднят в вертикальное положение другими способами, предусмотренными ППР, в том числе с использованием кранов меньшей грузоподъемности (с опиранием на стойку или расположением грузового полиспаста параллельно стреле), а также двух кранов без опорного шарнира и т.п.
Установка монтажной стойки
Монтажную стойку, используемую для укладки щитов покрытия, устанавливают в центре днища резервуара в следующей последовательности:
1) уточняют высоту монтажной стойки в соответствии с фактической высотой центра днища резервуара. У стоек резервуаров объемом 10000 м3 и более, кроме того, учитывается строительный подъем сферического покрытия, а оголовки монтажных стоек снабжаются устройством, позволяющим плавно опускать смонтированное и полностью сваренное покрытие в проектное положение;
2) устанавливают стойку в вертикальное положение краном с подтаскиванием нижнего конца трактором, обеспечивая вертикальность полиспаста крана;
3) фиксируют монтажную стойку в центре днища с помощью специальных упоров;
4) крепят стойку в вертикальном положении пятью расчалками с талрепами. На резервуарах объемами 10000 м3 и более расчалки крепят к периферийной части днища на расстоянии не менее 4,5 м от стенки таким образом, чтобы при развертывании рулона расчалки не мешали его перемещению. На резервуарах объемами 5000 м3 и менее расчалки крепят к наземным якорям, расположенным за основанием (фундаментом).
По мере развертывания рулона мешающие расчалки поочередно укорачивают и крепят к днищу резервуара через приварные скобы с подкладными пластинами;
5) стойку выставляют в вертикальном положении с помощью талрепов расчалок. Контроль производят по отвесам.
Развертывание рулонов стенки
До начала развертывания рулона стенки к днищу резервуара по кольцевой риске приваривают ограничительные уголки с интервалом 250 - 300 мм (черт. 8). В зоне вертикального монтажного стыка на расстоянии 3 м в обе стороны от стыка ограничительные уголки приваривают по окончании формообразования концов полотнищ.
Приварка ограничительных уголков: а - для резервуаров объемом до 20000 м3; б - усиленная для резервуаров объемом свыше 20000 м3
1 - ограничительный уголок; 2 - стенка резервуара; 3 - приварка
Развертывание рулона (черт. 9, 10) производят трактором с помощью каната и тяговой скобы, привариваемой к рулону на высоте 500 мм. При этом соблюдают следующую последовательность:
приваривают тяговую скобу в первое положение;
срезают удерживающие планки (см. п. 10.9);
развернув часть полотнища и не ослабляя натяжение каната, устанавливают клиновой упор между рулоном и развернутой частью полотнища;
ослабляют натяжение каната тяговой скобы до прижатия рулона к клиновому упору и погашения упругих деформаций полотнища;
приваривают вторую тяговую скобу с канатом, снимают первую скобу и продолжают развертывание рулона.
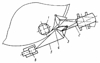
По мере развертывания рулонов полотнище стенки прижимают к ограничительным уголкам, прихватывают и приваривают к днищу резервуара. На всех этапах развертывания рулона необходимо следить за тем, чтобы сварной шов крепления тяговой скобы к рулону не работал на излом. Развертывание очередного участка полотнища необходимо прекратить, когда опорная пластина тяговой скобы расположится по направлению тягового каната. Концы полотнища на длине 3 м от вертикальных кромок к днищу не прихватывают. Развертывание рулона стенки резервуара со стационарным покрытием
1 - кран; 2 стойка для монтажа опорного кольца; 3 - щит покрытия, 4 - монтажная стойка; 5 - опорное кольцо; 6 - переносные расчалки; 7 - развернутая часть полотнища стенки; 8 - расчалки монтажной стойки; 9 - рулон стенки; 10 - клиновой упор; 11 - трактор
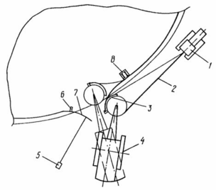
Развертывание рулона ставки резервуара с плавающей крышей
1 - стойка для монтажа кольца жесткости (промежуточных колец); 2 - кольцо жесткости; 3 - переносные расчалки; 4 - развернутая часть полотнища стенки; 5 - рулон стенки; 6 - клиновой упор; 7 - трактор
При развертывании рулонов стенки высотой 18 м из стали марки 16Г2АФ для удержания витков полотнища в зоне развертывания рекомендуется применять удерживающий канат, один конец которого закрепляют к окрайкам днища резервуара, а другой - к трактору. По мере развертывания рулона этот канат постепенно ослабляют (черт. 11).
Развертывание рулонов высотой 18 м с последующей их прихваткой к днищу следует производить участками не более 1,5 - 2 м.
Удержание рулона стенки из высокопрочной стали в зоне развертывания
1 - труба жесткости; 2 - начальный участок полотнища стенки; 3 - упор; 4 - прихватка стенки к днищу; 5 - ограничительные уголки; 6 - скоба; 7 - удерживающий канат; 8 - трактор; 9 - риски для приварки ограничительных уголков; 10 - рулон стенки
На верхних поясах стенки резервуара, не закрепленных элементами опорных колец, кольцевых площадок или щитами покрытия, устанавливают расчалки, предохраняющие стенку от потери устойчивости под действием ветровой нагрузки.
Замыкание монтажных стыков стенок
Перед замыканием монтажных стыков развернутых полотнищ стенки производят формообразование концов полотнищ, имеющих значительные остаточные деформации от рулонирования. Как правило, формообразуют полотнища стенки толщиной 8 мм и более. Формообразование производят трактором с помощью специальных приспособлений.
В том случае, когда требуется формообразовать один или два пояса полотнища стенки в качестве приспособления рекомендуется применять гибочный сектор (черт. 12).
Формообразование нижних поясов стенки
1 - рулон стенки; 2 - кран; 3 - гибочный сектор; 4 - формообразуемый участок полотнища; 5 - тяговый канат; 6 - трактор
При формообразовании полотнища по всей высоте применяют специальное приспособление, изготовленное из каркаса рулона с установленными на нем гибочными шаблонами (черт. 13).
При формообразовании концевых участков полотнищ стенки может быть применен механизированный способ правки гидравлическим устройством конструкции Гипронефтеспецмонтажа и Таллиннского политехнического института (черт. 14).
При формообразовании концы полотнищ на длине 3 м не должны иметь элементов опорного кольца или кольцевой площадки.
Формообразование считают законченным в том случае, если по его окончании концевой участок полотнища занимает положение, близкое к проектному.
Формообразование полотнища стенки по всей высоте
1 - трактор; 2 - тяговый канат, 3 - приспособление для формообразования; 4 - кран, 5 - наземный якорь; 6 - упор; 7 - формообразованный участок полотнища; 8 - стойка-упор
После формообразования срезают нахлест с разделкой кромки и окончательно собирают стык с проектным зазором на прихватках с некоторым выводом собранного стыка наружу за проектную кривизну резервуара на величину, предусмотренную ППР, с тем, чтобы после сварки монтажного стыка угловые деформации не превышали допусков, приведенных в проекте и настоящих ВСН. Для этой цели применяют приспособление, обеспечивающее вывод стыкуемых участков полотнищ в требуемое положение (черт. 15).
После сварки, проверки качества выполнения сварных соединений, исправления дефектов и повторного контроля снимают все монтажные приспособления с полотнища стенки в зоне монтажного стыка.
Монтаж опорных колец и колец жесткости
Элементы опорного кольца и колец жесткости устанавливают по мере развертывания полотнища стенки. Предварительно верх стенки в местах установки колец с помощью расчалок и переносной скобы выводят в проектное положение (см. черт. 9, 10).
Формообразование полотнища стенки гидравлическим устройством
1 - гидравлическое устройство; 2 - кран; 3 - строп; 4 - пульт управления устройством; 5 - начальный участок полотнища стенки; 6 - упор; 7 - рулон стенки
Замыкание вертикального монтажного стыка
1 - ограничительная пластина; 2 - клин; 3 - ось вертикального монтажного стыка; 4 - приспособление для замыкания
Характеристики
Тип файла документ
Документы такого типа открываются такими программами, как Microsoft Office Word на компьютерах Windows, Apple Pages на компьютерах Mac, Open Office - бесплатная альтернатива на различных платформах, в том числе Linux. Наиболее простым и современным решением будут Google документы, так как открываются онлайн без скачивания прямо в браузере на любой платформе. Существуют российские качественные аналоги, например от Яндекса.
Будьте внимательны на мобильных устройствах, так как там используются упрощённый функционал даже в официальном приложении от Microsoft, поэтому для просмотра скачивайте PDF-версию. А если нужно редактировать файл, то используйте оригинальный файл.
Файлы такого типа обычно разбиты на страницы, а текст может быть форматированным (жирный, курсив, выбор шрифта, таблицы и т.п.), а также в него можно добавлять изображения. Формат идеально подходит для рефератов, докладов и РПЗ курсовых проектов, которые необходимо распечатать. Кстати перед печатью также сохраняйте файл в PDF, так как принтер может начудить со шрифтами.
















