144937 (580028)
Текст из файла
Государственное образовательное учреждение
Высшего профессионального образования
"Кузбасский государственный технический университет"
КАФЕДРА "СТРОИТЕЛЬНОГО ПРОИЗВОДСТВА И ЭКСПЕРТИЗА НЕДВИЖИМОСТИ"
КОНТРОЛЬНАЯ РАБОТА
Машины для производства бетонных работ
Выполнила:
студентка ІІ курса
КузГТУ Эсв-08
Проверил:
Кемерово 2010
Оглавление
1. Машины для приготовления бетонных и растворных смесей
2 .Машины и оборудование для транспортирования бетонных и растворных
3. Машины для укладки и уплотнения бетонных смесей
Список литературы
1. Машины для приготовления бетонных и растворных смесей
Приготовление бетонных смесей осуществляется на механизированных и автоматизированных районных и центральных заводах и на строительных площадках.
Бетонные установки (стационарные и мобильные)
| 1. Модульные бетонные заводы → | |
|
| Модульные стационарные бетонные заводы выполненные на фундаменте. Ленточным и скиповыми подъемниками. Зимнее и летнее исполнение. Бетоносмесители SICOMA, JS и по немецким технологиям. С силосами и без них. Лаборатории для исследования качества бетона и цемента. |
| 2. Мобильные бетонные заводы → | |
|
| Мобильные заводы: Буксируемые (на колесном шасси). Перевозимые (перевозятся с помощью автомобильной платформы). |
| 3. Приобъектное БРУ → | |
|
| БРУ - применяется непосредственно на строительной площадке не требует фундамента. Используется для заливки фундаментов и других монолитных элементов. А так же на мини строительствах например - строительство гаражей, катеджных домов и др. |
Для предотвращения потерь и сохранения качества смесей в пути следования используются специальные машины, авторастворовозы, автобетоновозы, автобетоносмесители, оснащённые технологическим оборудованием.
Районные бетонные заводы рассчитываются на срок службы примерно 20 лет и размещаются так, чтобы иметь возможность поставлять товарные смеси на объекты в радиусе 25-30 км. Такие заводы могут также выпускать "сухие" смеси (дозированные компоненты бетона без воды). Они обычно состоят из одной или нескольких типовых секций, каждая из которых рассчитана на самостоятельную работу.
Центральные бетонорастворные заводы размещаются непосредственно на крупных строительных площадках и рассчитываются на срок службы 5-6 лет. Такие заводы имеют сборно-разборную конструкцию, что облегчает их периодическое перебазирование на другие строительные площадки.
Рис.1. Бетоносмесительная установка: 1 - ковш загрузочного устройства; 2 - секторный склад; 3 - скрепер для подачи заполнителей; 4 - распределительное устройство; 5 ~ рама; 6 - расходный бункер для цемента; 7 - дозировочно-смесительный блок; 8 - питатель песка
Бетонные смеси приготавливают путем механического перемешивания их компонентов в смесительных машинах - бетоно и растворосмесителях, качество смеси - определяется точностью дозировки компонента и равномерностью их распределения между собой по всему объему смеси.
Технологический процесс приготовления смесей включает последовательно выполняемые операции: загрузку отдозированных компонентов (вяжущих, заполнителей и воды) в смесительную машину, смешивание компонентов и выгрузку готовой смеси. Смесители классифицируют по трем основным признакам:
характеру ра6оты;
по принципу смешивания;
по способу ycтановки.
По характеру работы различают смесительные машины периодического (циклического) и непрерывного действия. В смесителях цикличного действия перемешивание компонентов и выдача готовой смеси осуществляются отдельными порциями.
Рис.2 Схема перемешивания материалов в смесительных машинах
Каждая новая порция компонентов бетона или раствора может быть загружена в смеситель лишь после того, как из него будет выгружен готовый замес. Смесители цикличного действия обычно применяют при частой смене марок бетонных смесей или растворов. В них можно регулировать продолжительность смешивания.
В смесителях непрерывного действия загрузка компонентов, их перемешивание и выдача готовой смеси осуществляются одновременно и непрерывно. Отдозированные компоненты непрерывным потоком поступают в смеситель и смешиваются лопастями при продвижении от загрузочного отверстия к разгрузочному.
Готовая смесь непрерывно поступает в транспортные средства или расходный бункер.
Главным параметром смесительных машин цикличного действия является объем готового замеса (л), выданный за один цикл работы, смесителей непрерывного действия - объем готовой продукции (м'), выдаваемой машиной за 1 ч работы.
По принципу смешивания компонентов различают машины со смешиванием при свободном падении материалов (гравитационные) и с принудительным смешиванием (принудительного действия). В смесителях принудительного действия орбиты составляющих имеют вынужденный характер, в гравитационных свободный. Гравитационный смеситель вращается относительно горизонтальной или наклонной (под углом до 15°) оси барабана с лопастями на внутренней поверхности.
Лопасти непрерывно подхватывают и поднимают компоненты смеси на определенную высоту, при достижении которой они свободно падают потоком с лопастей под действием силы тяжести: смешивание происходит в результате столкновения падающих потоков компонентов. Смесители с горизонтальными смесительными валами называют лотковыми, с вертикальными валами - тарельчатами.
По способу установки смесители подразделяют на передвижные и стационарные. Передвижные смесители используют при небольших объемах строительных и ремонтно-строительных работ на рассредоточенных объектах, а стационарные входят в состав технологических линий 6етонорастворосмесительных установок средней и 6ольшой производительности бетонных и растворных заводов.
Цикличные смесители делят на следующие типы:
БП - бетоносмесители принудительного действия роторные для приготовления жестких и подвижных бетонных смесей и растворов; а также смесей из сухих составляющих;
БГ - бетоносмесители гравитационные для приготовления подвижных бетонных смесей с осадкой конуса более 3 см;
БП-2Г - бетоносмесители принудительного действия с двумя горизонтальными валами;
РН - растворосмесители низкоо6оротные для приготовления всех видов раствором, за исключением специальных;
РВ - растворосмесители высокооборотные для приготовления строительных растворов (кроме быстросхватывающихся и специальных, в том числе активизированных и расслаивающихся), а также конструктивно-теплоизоляционных керамзитобетонных смесей.
Гравитационные смесители предназначены для приготовления подвижных смесей и выпускаются передвижными и стационарными, цикличного и непрерывного действия.
Передвижные гравитационные цикличные смесители имеют объем готового замеса 65.165 и 330 л и применяются в качестве самостоятельных машин для приготовления подвижных 6сгонных смесей с крупностью заполнителя до 70 мм и строительных растворов на объектах с небольшими и средними объемами работ.
Смесители с объемом готового замеса 65 л выпускают на колесном ходовом устройстве, с объемом 165 и 330 на полозьях.
Рис.3. Передвижной гравитационный смеситель с объемом готового замеса 65л.
Смеситель (рис.3а) с объемом готового замеса 65 Л состоит из грушевидного смесительного барабана 1, на внутренней поверхности которого закреплены три сменные перемешивающие лопасти привода 3, приводящего смесительный барабан во вращение, рамы 4 с колесным ходом и механизм поворота (наклона) барабана с фиксирующим устройством. Вращение барабану сообщается от электродвигателя 7 (рис.3б") через клиноременную передачу б и двухступенчатый цилиндроконический редуктор 5. Барабан 4 жестко закреплен на тихоходном вату редуктора и вращается с частотой 27 мин-I. При загрузке компонентов и их смешивании барабан наклонен к горизонту под углом 12°, а при выгрузке готовой смеси - под углом 40°, исходные материалы загружают в смеситель вручную, а выгружают готовую смесь, опрокидывая вращающийся барабан отверстием вниз. Смеситель может выдавать до 2 мз/ч при 30 циклах в 1 ч. Перевод барабана из положения загрузки и смешивания в положение выгрузки осуществляют вручную с помощью рукоятки управления, установленной на корпусе редуктора.
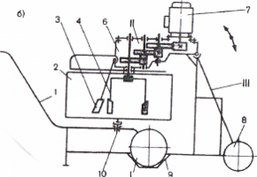
Рис.4 Передвижной гравитационный смеситель с объёмом готового замеса 165л.
Передвижные гравитационные бетоносмесители с объемом готового замеса 165 и 330 л оборудованы ковшовым подъемником с индивидуальным приводом для загрузки предварительно отдозированных сухих компонентов смеси в барабан и вододозировочным устройством для отмеривания дозы воды на замес.
Смесительный барабан 5 (рис.4) с размещенными внутри лопастями жестко закреплен на выходном валу трехступенчатого цилиндроконческого редуктора 7 с фланцевым электродвигателем 12. Привод барабана встроен в траверсу 11, которую поворачивают вместе с барабаном вокруг горизонтальной оси вручную с помощью штурвала 6 через одноступенчатый редуктор 13. Удержание барабана в различных положениях обеспечивается фиксирующим устройством 14. Перемешивание компонентов производится при наклонном положении оси барабана, а выгрузка готовой смеси - путем опрокидывания вращающегося барабана отверстием вниз. Загрузка сухих компонентов в смесительный барабан производится загрузочным ковшом I. Механизм подъема и опускания ковша включает два подъемных барабана 2 для навивки концов каната 8, охватывающего ковш, самотормозящийся червячный редуктор З и фланцевый электродвигатель 4. При навивании каната на барабаны ковш с компонентами поднимается по направляющим рамы в крайнее верхнее положение и разгружается в смеситель путём опрокидывания. Два концевых выключателя 9 и 10 автоматически отключают электродвигатель в крайних положениях ковша. В вододозировочную систему бетоносмесителя входит дозатор с краном, которым по достижении заданной дозы отключают воду. Продолжительность одного цикла составляет 110-130 с.
Стационарные гравитационные цикличные бетоносмесители выполняются с наклоняющимися цилиндроконическими и двухконус - ными смесительными барабанами и гидравлическим или пневматическим приводом механизма опрокидывания барабана.
Цикличные бетоносмесители принудительного действия представляют собой роторные и роторно-планетарные машины с вертикально расположенными валами. Они предназначены для приготовления бетонной смеси и раствора любой подвижности и жесткости.
В роторном бетоносмесителе (рис.5) компоненты смеси перемешиваются в кольцевом рабочем пространстве неподвижной части 1 лопастями 2 ротора З, вращающегося с частотой 0,5.0,6 с 1. Смешивающие лопасти крёпятся к ротору с помощью пружинных (рессорных) амортизаторов 4 на разном удалении от оси его вращения, а их рабочие поверхности расположены под различными углами к траектории своего движения.
Рис.5. Схема циклического роторного бетоносмесителя
Такая схема установки лопастей, создающих при своем движении продольные и поперечные потоки смешиваемых компонентов, обеспечивает интенсивное и качественное перемешивание смеси любой консистенции.
Амортизаторы позволяют лопастям поворачиваться при попадании между ними и днищем крупного предмета. В смесительном устройстве помимо смешивающих лопастей имеются наружная и внутренняя очистные лопасти, прикрепляемые к ротору жестко.
Внутренняя поверхность чаши футерована износостойкой сталью. В донной части чаши имеется разгрузочный люк, перекрываемый затвором с рычажным или пневматическим приводом. Роторные бетоносмесители с объемом готового замеса 165 л выпускают передвижными, 330 и 1000 л - стационарными. Их конструкции имеют мало различий.
Растворосмесители предназначены для приготовления строительных растворов (цементных, известковых, глиняных, гипсовых, шлаковых и сложных) при выполнении каменных, изоляционных, штукатурных, монтажных и кровельных работ. Представляют собой машины с принудительным смешиванием компонентов раствора в неподвижной емкости горизонтальным или вертикальным лопастным валом (лопастные растворосмесители) или быстровращающимся лопастным ротором (турбулентные смесители). Передвижные растворосмесители имеют объем готового замеса 30, 65, 125 и 250л, стационарные-400,800и1200л. Стационарными растворосмесителями комплектуются автоматизированные растворные узлы и заводы. Передвижные малогабаритные растворосмесители цикличного действия с объемом готового замеса 30 и 65 л применяют на объектах с небольшой потребностью в растворе (до 2,6.3,0 мз/ч), устанавливают в непосредственной близости от места укладки смеси и перемещают в пределах строительной площадки и рабочего места на колесах. Такие растворосмесители не имеют устройств для дозирования и механической загрузки компонентов. Применение растворосмесителей наиболее рационально для приготовления растворов из сухих смесей при производстве отделочных работ. Малые габариты машин позволяют эксплуатировать их в помещениях.
Рис.7 смеситель со сменными чашами общий вид и схема.
Растворосмеситель с вертикальным лопастным валом рис.7 с объемом готового замеса 65 л имеет три основных узла: чащу-тачку I, представляющую собой цилиндрическую чашу 2, смонтированную на тачке 1, откидывающийся смеситель II. состоящий и3 вертикального лопастного вала 4, фланцевого электродвигателя 7 на напряжение 220/380 В, с частотой 50 гц, трехступенчатого цилиндрического редуктора б, неподвижной лопасти 3 и ограждения 5, тележку, имеющую обрезиненные колеса 8, фиксаторы-ловушки 9 для установки чаши-тачки 1 и шкаф электрооборудования. При вращении по часовой стрелке лопастного вала, смещенного относительно центра чаши, движущаяся смесь увлекает за собой чашу, вращающуюся вокруг своей оси против часовой стрелки в опоре 10. Частота вращения чаши регулируется отклонением не подвижной лопасти 3, шарнирно соединенной с корпусом редуктора привода. Эта лопасть создает нужное направление потоков смеси и способствует лучшему перемешиванию компонентов.
Характеристики
Тип файла документ
Документы такого типа открываются такими программами, как Microsoft Office Word на компьютерах Windows, Apple Pages на компьютерах Mac, Open Office - бесплатная альтернатива на различных платформах, в том числе Linux. Наиболее простым и современным решением будут Google документы, так как открываются онлайн без скачивания прямо в браузере на любой платформе. Существуют российские качественные аналоги, например от Яндекса.
Будьте внимательны на мобильных устройствах, так как там используются упрощённый функционал даже в официальном приложении от Microsoft, поэтому для просмотра скачивайте PDF-версию. А если нужно редактировать файл, то используйте оригинальный файл.
Файлы такого типа обычно разбиты на страницы, а текст может быть форматированным (жирный, курсив, выбор шрифта, таблицы и т.п.), а также в него можно добавлять изображения. Формат идеально подходит для рефератов, докладов и РПЗ курсовых проектов, которые необходимо распечатать. Кстати перед печатью также сохраняйте файл в PDF, так как принтер может начудить со шрифтами.
















