144709 (580000)
Текст из файла
Современное индустриальное строительство не исключает плотничных и столярных работ
Столяры и плотники, работающие на деревообрабатывающих предприятиях, изготовляют оконные и дверные блоки, детали крупнопанельных деревянных домов и другие конструкции и детали.
Столяры и плотники должны освоить технологию изготовления и сборки различных изделий, знать технические условия изготовления и приемки деревянных изделий и конструкций, уметь читать рабочие чертежи и правильно организовать рабочее место.
В современном строительстве большинство изделий из древесины изготовляют в заводских условиях. Их доставляют на строительную площадку, где их устанавливают (монтируют) в соответствии с проектом.
Технологический процесс работы столяра включает: сушку пиломатериалов; нарезку заготовок из пиломатериалов: последующую обработку заготовок до изготовления деталей требуемой формы и размеров; сборку деталей, включая склеивание в узлы и комплекты; подготовку и отделку комплектов; упаковку и доставку комплектов на склад.
Расстановку деревообрабатывающего оборудования выполняют в соответствии с технологическим процессом, чтобы при обработке деталей их потоки не пересекались и возвращались в обратном направлении.
Зону, где осуществляется рабочий процесс, называют рабочим местом.
Квалифицированный рабочий должен уметь составить карту технологического процесса для изготовления изделия, указывая рабочие места и необходимое оборудование, начиная с распиловки и завершая сборкой и отделкой деталей. От него требуется умение составить спецификацию на изделие и рассчитать потребность материала.
Деревянные лестницы
Деревянные лестницы устраивают в домах до двух этажей. При площади застройки дома более 500 м² несущие элементы лестниц должны быть огнестойкими.
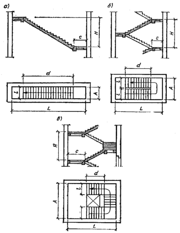
Лестницы с прямыми маршами выполняют плотники, с поворотами, закруглениями, винтовые – столяры. Лестницы имеют 1–3 марша (рис. 1). Их ширина определяется назначением здания. В квартирных домах ширина лестничных маршей 0,9…1,2 м, учитывающих размеры мебели. Лестницы, ведущие на чердак, в погреб, имеют ширину 0,8…0,9 м.
Рис. 1. Схемы лестниц: а – одномаршевая; б – двух маршевая; в – трехмаршевая; I – ширина марша; с – ширина лестничной площадки; А – ширина лестничной клетки; L – длина лестничной клетки: Н – высота этажа; d – длина марша (в горизонтальной проекции)
Для удобства подъема по лестнице соблюдают соотношение между шириной и высотой ступени. Оптимальной высотой ступени в жилых домах считается 15…18 см, шириной – 27…32 см.
Число ступеней лестничного марша определяют делением высоты этажа (расстояние от пола до пола) на высоту ступени. В марше предельное число ступеней – 10. Уклон междуэтажных лестниц – 30…36°. Во внутриквартирных лестницах уклоны до 50°.
Рис. 2. Фрагменты ступеней: а – высота и ширина нормальной ступени; б – ширина узкого конца ступени винтовой лестницы; в – фрагмент винтовой лестницы; г – разрез лестницы
Рекомендуемые размеры ступеней и уклоны лестничных маршей даны в табл. 1.
Таблица 1. Рекомендуемые размеры ступеней и наклонов лестничных маршей
| Размер ступени, см | Уклон лестничного марша | ||
| высота | ширина | пропорция | градусы |
| 15 | 29… 32 | 1: (1,95… 2,07) | 30… 32 |
| 16 | 28… 30 | 1: (1,75… 1,87) | 33… 35 |
| 17 | 27… 29 | 1: (1,59… 1,70) | 36… 37 |
| 18 | 25… 27 | 1: (1,39… 1,50) | 38… 41 |
| 19 | 24… 26 | 1: (1,26… 1,37) | 40… 42 |
| 20 | 23… 25 | 1: (1,15… 1,25) | 43… 44 |
| 21 | 22… 24 | 1: (1,05… 1,14) | 45… 47 |
Лестничные площадки (между маршами) имеют ширину, равную ширине марша и ширине ступени. При лестничном марше шириной 1,20 м, ступени 30 см, ширина лестничной площадки 1,20+0,3=1,5 м. В винтовых лестницах минимальная ширина ступеней в узкой части 10, в середине – 15 см.
Ступеньки деревянных лестниц изготовляют из сосновых досок (рис. 3) влажностью 8±2% и толщиной для проступи 4…5 см, для подступенька 1,8…2,5 см.
Рис. 3. Способы соединения ступени (проступи) с подступенькой: 1 – проступь; 2 – нащельная рейка; 3 – подступенька
Тетивы – главный наклонный несущий элемент лестницы.
По способу крепления ступеней к тетивам различают лестницы: со ступенями, вставленными в вырезы тетив; с вдолбленными в тетивы ступенями; со ступенями, установленными в накладку в вырезы тетив; со ступенями, закрепленными на брусках, прибитых к тетивам; обыкновенные лестницы.
Лестницы со ступенями в вырезах тетив имеют простую конструкцию. Тетивы таких лестниц изготовляют из досок толщиной 5…6, шириной 25…28 см. Глубина пазов в тетивах для установки ступенек 2…2,5 см. Отдельные ступеньки в марше имеют вырезы в тетивах для сквозных шипов, закрепленных клиньями с наружной стороны.
Лестничные марши закрепляют к балке перекрытия, лестничной площадке шиповым соединением, усиленным дополнительно стальным уголком. В таких лестницах отсутствует подступенек и обшивка снизу. Лестницы такой конструкции устраивают для подъема на чердак, спуска в погреб и в других хозяйственных постройках.
Лестницы со ступенями, вдолбленными в тетиву, выполняют из досок (для тетивы) толщиной 5…8 см и шириной 22…30 см, а ступеней – толщиной 3,8… 6,3 см. Пазы, выдолбленные для ступеней в тетиве на 3 см, не доходят до их заднего края.
Лестницы со ступенями, установленными в накладку в вырезы тетив, изготовляют из досок для тетивы толщиной 6,3…8, шириной 29…31 см, ступени – из досок толщиной с 5 см и шириной 25…32 см. Прямоугольные вырезы у верха тетив устраивают такой глубины, чтобы остальная часть тетивы имела 13…15 см непропиленной древесины (рис. 5).
Рис. 4. Дощатая лестница: а, б – соединение наклонных досок (тетив) лестницы с балкой; в – сопряжение проступи с тетивой; 1 – лестничные тетивы; 2 – проступи; 3 – балка; 4 – поперечная балка; 5 – стальной угольник; 6 – рейка; 7 – клин; 8 – стойка; 9 – опорная рейка; 10 – доски; 11 – щит наката; 11 – слой глины; 13 – звукоизоляция; 14 – дощатый пол; 15 – потолок; 16 – рейка; 17 – штукатурка по дранке; 18 – нащельник
Рис. 5. Лестницы для индивидуальных домов: а – со ступенями, заведенными в вырезы тетив; б – со ступенями, устанавливаемыми в вырезы тетив в накладку
Лестницы со ступенями, установленными на бруски, прибитые к тетивам. Бруски сечением примерно 5x6 см и длиной до 50 см прибивают к внутренней стороне тетив, а на них укладывают дощатые ступени (рис. 6). К наружной стороне тетив привинчивают шурупами стойки перил.
Рис. 6. Лестница со ступенями, прибитыми к брускам: 1 – брусок; 2 – тетива; 3 – проступь; 4 – стальной угольник; 5 – стойки ограждения! 6 – поручни ограждения
Несущий элемент лестницы имеет боковые тетивы с прямоугольным пазом или прибитыми к ним с установленными ступенями-накладками (рис. 7). Лестница с одной стороны имеет ограждение. Высота ограждений 85…90 см, их выполняют в виде металлической решетки или изготовляют из древесины, а поручни из пластмассы. Деревянные поручни устанавливают на стойки, пластмассовые – на металлическое основание. Низ стоек ограждения закрепляют на тетиве поручнем. Деревянные лестницы изготавливают из сухих пиломатериалов: это исключает скрип. Соединения элементов не должны иметь клиньев, подступеньки должны быть надежно прикреплены к проступи.
Рис. 7. Тетивы обыкновенной лестницы: а – с вырезами в тетивах; б – с прибитыми к тетивам накладками
Карта технологического процесса изготовления оконных и дверных блоков
Требуемое количество пиломатериалов для изготовления оконного блока зависит от количества заготовок, получаемых из различных сортов пиломатериала.
Из досок после их обработки выход заготовок (табл. 2) зависит от их сорта.
Таблица 2. Выход заготовок при обработке пиломатериалов
| Ассортимент пиломатериалов | Выход заготовок из досок и клееной фанеры, %, по сортам | ||
| I | II | III | |
| Необрезные доски хвойных пород | 75 | 50… 60 | 35 |
| Необрезные березовые доски | 70 | 60 | 30… 35 |
| Необрезные дубовые доски | 60 | 50 | 30… 35 |
| Строганная дубовая клееная фанера | 70 | 50 | - |
При массовом производстве расход материала несколько увеличивается из-за использования части заготовок в качестве образцов, для настройки станков и, частично из-за дефектов древесины.
Увеличение количества заготовок называют припуском на брак, он допускается до 5–10%. Это условные величины, так как, усовершенствуя технологический процесс изготовления любого изделия, процент брака удается значительно сократить.
Балки и фермы
Для перекрытия пролетов производственных зданий используют балки и фермы. Пролеты таких конструкций и размеры элементов и количество гвоздей и болтов в стыках определяют расчетом.
Составные гвоздевые балки изготовляют из досок и брусьев I и II сорта. Наиболее распространенная толщина пиломатериалов – 2…10 см. Допускаются сросшиеся с древесиной сучки диаметром до 15 см, не снижающие ее прочности. Наиболее распространены двутавровые деревянные балки (рис. 8).
Рис. 8. Сечения несущих деревянных балок: а…е – двутавровые балки; ж…к – пустотелые балки
В процессе эксплуатации в стенках деревянных балок появляются трещины, из-за усушки снижающие ее прочность на 40…60%. Двутавровые балки снижают прочность при использовании низкосортных досок ниже I и II сорта.
Стенка гвоздевой балки состоит из двух рядов досок толщиной 4…6, шириной 15–22 см, уложенных под углом 30…45° друг к другу. Жесткость стенки усиливают ребра из досок и брусья, стянутые болтами в ее верхней и нижней части (рис. 9). Высота такой балки в пределах 1/6…1/2 пролета.
Рис. 9. Фрагменты гвоздевых балок из брусков и досок: а – поперечный разрез; б – вид спереди; 1 – брусок; 2 – ребро; 3 – болты с гайками и шайбами; 4 – дощатая стенка
Недостатком деревянных гвоздевых балок являются остаточная деформация под нагрузкой, трудоемкость изготовления, коррозия гвоздей и болтов под влиянием атмосферных условий.
Характеристики
Тип файла документ
Документы такого типа открываются такими программами, как Microsoft Office Word на компьютерах Windows, Apple Pages на компьютерах Mac, Open Office - бесплатная альтернатива на различных платформах, в том числе Linux. Наиболее простым и современным решением будут Google документы, так как открываются онлайн без скачивания прямо в браузере на любой платформе. Существуют российские качественные аналоги, например от Яндекса.
Будьте внимательны на мобильных устройствах, так как там используются упрощённый функционал даже в официальном приложении от Microsoft, поэтому для просмотра скачивайте PDF-версию. А если нужно редактировать файл, то используйте оригинальный файл.
Файлы такого типа обычно разбиты на страницы, а текст может быть форматированным (жирный, курсив, выбор шрифта, таблицы и т.п.), а также в него можно добавлять изображения. Формат идеально подходит для рефератов, докладов и РПЗ курсовых проектов, которые необходимо распечатать. Кстати перед печатью также сохраняйте файл в PDF, так как принтер может начудить со шрифтами.
















