144629 (579993)
Текст из файла
1. Обоснование расчетной схемы
Расчетные схемы позволяют учесть практически все факторы, играющие существенную роль при расчете каркасов на горизонтальные нагрузки:
- податливость диска покрытия в своей плоскости;
- неразрезность тормозных конструкций;
- влияние мостового крана на работу каркаса;
- податливость грунтового основания;
- влияние продольных вертикальных связей на крутильную жесткость здания;
В расчетной схеме выбирается оптимальное число степеней свободы, и учитываются только те смещения расчетных узлов, которые являются существенными при расчете каркасов на нагрузку от торможения крановой тележки.
При продольной раскладке плит покрытия и качественном замоноличивании швов покрытие мало податливо, и оно представляется в виде балки-стенки бесконечной жесткости, опорами для которой служат поперечные рамы (Рис.1). Жесткостью тормозных конструкций в этом случае пренебрегают, из-за небольшой величины отпора в уровне тормозных конструкций по сравнению с отпорностью в уровне покрытия и в качестве расчетной схемы при расчетах каркаса на нагрузку от торможения крановой тележки принимается расчетная схема колонны, имеющая две степени свободы (Рис.2). Горизонтальное смещение в плоскости колонны, в уровне тормозных конструкций Vp и горизонтальное смещение в уровне покрытия Vm. Влияние жесткости каркаса на смещения рассчитываемой колонны учитывается введением суммарной отпорности всех колонн каркаса ОПЗ (Рис. 2).
При расчете ОПЗ с жестким в своей плоскости покрытием на горизонтальные нагрузки в качестве расчетной схемы принимается трехмерная система, в которой расчетные точки расположены в узлах пересечения колонн и тормозных конструкций, центре масс покрытия. Кран рассматривается как шарнирная вставка, соединяющая соответствующие узлы перекрестного набора в уровне тормозных конструкций.
Рис. 2 Расчётная схема колонны с приложенной к ней крановой нагрузкой
Рис. 2 Расчётная схема колонны с приложенной к ней крановой нагрузкой
-
Построение матрицы жёсткости
Данное промышленное здание имеет 15 пролётов по 12 м, 16 поперечных рам, центр тяжести находится между 9-ой и 10-ой рамой.
Матрица жесткости промежуточной рамы:
Матрица жёсткости имеет вид:
Для нахождения реакций в данной матрице необходимо вычислить коэффициенты жёсткости колонн.
Рис. 3 Схемы единичных перемещений тормозной колонны
причём
Рис. 4 Схема перемещения колонн рам без крана
(кН)
(кН);
(кН);
(кН), где y2 – расстояние от центра масс до второй рамы ( с краном);
(кН), где n – количество рам;
(кН), где y2 – расстояние от центра масс до предпоследней рамы;
(кН)
Определение жесткостных характеристик.
Надкрановая часть:
(см4)
(кН*м2)
Подкрановая часть
(см4)
(кН*м2)
Определение жесткостных характеристик.
Надкрановая часть:
(см4)
(кН*м2)
Подкрановая часть
(см4)
(кН*м2)
2.1. Определение коэффициентов матрицы жёсткости
,
,
,
(кН)
(кН)
(кН)
Составим матрицу жесткости промежуточной рамы:
,
,
,
,
,
(кН)
-
Построение матрицы масс
-
Сбор нагрузок
Величина масс, расположенных в узлах пересечения колонн и тормозных балок, определяется весом конструкций и временной нагрузкой, расположенными между двумя горизонтальными плоскостями, проходящими по середине высот подкрановой и надкрановой частей колонн. В плоскости второй от торца поперечной рамы массы, расположенные в узлах пересечения колонн и тормозных балок, и масса крана, которая определяется по ГОСТ на краны, суммируются и сосредотачиваются во второй расчётной точке первого ряда колонн. Величина масс, расположенных в узлах пересечения поперечных рам и осевой линии покрытия, определяется весом конструкций и временной нагрузкой, расположенными выше горизонтальной плоскости, проходящей по середине высоты подкрановой части колонны.
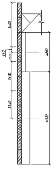
Рис. 5 Поперечный разрез одноэтажного промышленного здания
| Состав покрытия | Нормативная нагрузка qн, кПа | Коэффициент перегрузки n | Расчётная нагрузка qр, кПа |
| Защитный слой (гравий, втопленный в битумную мастику) | 0,42 | 1,3 | 0,55 |
| Гидроизоляция (4 слоя рубероида) | 0,2 | 1,3 | 0,26 |
| Утеплитель | 0,03 | 1,2 | 0,04 |
| Пароизоляция (1 слой рубероида) | 0,04 | 1,3 | 0,05 |
| Ребристые сборные железобетонные плиты покрытия | 1,72 | 1,1 | 1,9 |
| Собственный вес металлических конструкций шатра (фермы, фонари, связи) | 0,3 | 1,05 | 0,32 |
| Итого | 2,71 | 3,12 |
Для построения матрицы масс необходимо, прежде всего, определить четыре вида масс:
а) нагрузка от конструкций, сосредотачиваемая в узле пересечения поперечной промежуточной рамы и осевой линии покрытия Мпп:
Расчётный вес колонны:
Верхняя часть составляет 20% от общего веса колонны:
Gв=n*0.2*G*B*L/2
G-расход стали на 1 м2;
n-коэффициент надёжности по нагрузке, для металлических конструкций равен 1,05
Gв=1,05*0.2*0,6*12*24/2=18,14 кН
Нижняя часть колонны составляет 80% веса всей колонны:
Gв=1,05*0.8*0,6*12*24/2=72,58 кН
S=hст*2b=5,4*24=129,6 (м2);
S=hост*2b=0,64*24=15,36 (м2);
Sпокр=b*L=12*24=288 (м2);
| Наименование нагрузки | qн, кПа | n | qр, кПа | S, м2 | Итоговая нагрузка, (т) |
| Покрытие | 2,71 | - | 3,12 | 288 | 89,86 |
| Верхняя часть колонны | - | 1,05 | - | - | 1,81 |
| Верхняя часть стены | 2 | 1,2 | 2,4 | 129,6 | 31,104 |
| Остекление | 0,35 | 1,1 | 0,38 | 15,36 | 0,584 |
| Итого | 123,36 |
б) нагрузка от конструкций, сосредотачиваемая в узле пересечения торцевой рамы и осевой линии покрытия Мпт:
S=hст*b/2*2=64,8 (м2);
S=hост*b/2*2=7,68 (м2);
Sпокр=b/2*L=6*24=144 (м2);
| Наименование нагрузки | qн, кПа | n | qр, кПа | S, м2 | Итоговая нагрузка, (т) |
| Покрытие | 2,71 | - | 3,12 | 144 | 44,93 |
| Стена | 2 | 1,2 | 2,4 | 64,8 | 15,552 |
| Верхняя часть колонны | - | 1,05 | - | - | 1,81 |
| Остекление | 0,35 | 1,1 | 0,38 | 15,6 | 0,29 |
| Торцевая часть стены | - | - | 2,4 | 144,96 | 34,79 |
| Итого | 81,82 |
в) нагрузка от конструкций, сосредотачиваемая в узле подкрановой балки и колонны для промежуточной рамы Мбп:
S=hст*b=3,6*12=43,2 м2;
S=hост*b=5,66*12=67,92м2;
| Наименование нагрузки | qн, кПа | n | qр, кПа | S, м2 | Итоговая нагрузка, (т) |
| Нижняя часть стены | 2 | 1,2 | 2,4 | 43,2 | 10,37 |
| Верхняя часть колонны | - | 1,05 | - | - | 0,907 |
| Нижняя часть колонны | - | 1,05 | - | - | 3,63 |
| Остекление | 0,35 | 1,1 | 0,38 | 67,92 | 2,58 |
| Подкрановая балка | 0,45 | 1,05 | 0,47 | 144 | 6,77 |
| Верхняя часть стены | - | - | 2,4 | 129,6 | 31,104 |
| Итого | 55,36 |
г) нагрузка от конструкций, сосредотачиваемая в узле подкрановой балки и колонны для торцевой рамы Мбт
Таблица 5
| Наименование нагрузки | qн, кПа | n | qр, кПа | S, м2 | Итоговая нагрузка, (т) |
| Нижняя часть стены | 2 | 1,2 | 2,4 | 21,6 | 5,184 |
| Остекление | 0,35 | 1,1 | 0,38 | 67,92 | 2,58 |
| Верхняя часть колонны | - | 1,05 | - | - | 0,91 |
| Нижняя часть колонны | - | 1,05 | - | - | 3,63 |
| Подкрановая балка | - | - | - | - | 6,77 |
| Верхняя часть стены | 2 | 1,2 | 2,4 | 32,4 | 7,78 |
| Торцевая часть стены | - | - | 2,4 | 216 | 51,84 |
| Итого | 78,69 |
3.2 Редуцирование масс
Характеристики
Тип файла документ
Документы такого типа открываются такими программами, как Microsoft Office Word на компьютерах Windows, Apple Pages на компьютерах Mac, Open Office - бесплатная альтернатива на различных платформах, в том числе Linux. Наиболее простым и современным решением будут Google документы, так как открываются онлайн без скачивания прямо в браузере на любой платформе. Существуют российские качественные аналоги, например от Яндекса.
Будьте внимательны на мобильных устройствах, так как там используются упрощённый функционал даже в официальном приложении от Microsoft, поэтому для просмотра скачивайте PDF-версию. А если нужно редактировать файл, то используйте оригинальный файл.
Файлы такого типа обычно разбиты на страницы, а текст может быть форматированным (жирный, курсив, выбор шрифта, таблицы и т.п.), а также в него можно добавлять изображения. Формат идеально подходит для рефератов, докладов и РПЗ курсовых проектов, которые необходимо распечатать. Кстати перед печатью также сохраняйте файл в PDF, так как принтер может начудить со шрифтами.
















