125851 (577905)
Текст из файла
ЭЛЕКТРОСТАЛЬСКИЙ ПОЛИТЕХНИЧЕСКИЙ ИНСТИТУТ
(филиал)
Московского Института Стали и Сплавов.
Кафедра экономики
Домашняя работа
По дисциплине Индустриальные системы и оборудование в металлургии
На тему:
Выбор технологии и состава оборудования для производства проката рельса Р75 из стали 45Г
Выполнила студентка
Группы ДЭМ 08-1
Губина Татьяна
Электросталь, 2010
Содержание
-
Назначение и механические характеристики стали 45Г
-
Выбор типа печного оборудования и оборудования для разливки стали 45Г. Его краткая характеристика
-
Технологический процесс и состав оборудования последних двух станов технологического потока производства рельса Р75
-
Расчет производительности последнего в техническом потоке стана (в общем виде)
-
Список используемой литературы
1. Назначение и механические характеристики стали 14 Х ГС
| Марка: | 14ХГС |
| Заменитель: | 15ХСНД, 16ГС, 14ГН, 16ГН, 14СНД |
| Классификация | Сталь конструкционная низколегированная для сварных конструкций |
| Назначение: | электросварные трубы магистральных газопроводов высокого давления; сварные конструкции, листовые, клапанные конструктивные детали. |
Вид поставки
Лист толстый ГОСТ 19282-73, ГОСТ 19903-74. Лист тонкий ГОСТ 17066-80, ГОСТ 19903-74, ГОСТ 19904-74. Полоса ГОСТ 82-70.
Химический состав в % материала 45Г . ГОСТ 4543 – 71
| Кремний (Si) | Медь (Cu), | Мышьяк (As) | Марганец (Mn | Никель (Ni), | Фосфор (P), | Хром (Cr) | Сера (S), |
| 0.4-0.7 | 0.30 | 0.08 | 0.9-1.3 | 0.30 | 0.035 | 0.5-0.8 | 0.040 |
Механические свойства при Т=20
С материала 45Г .
| Сортамент | Размер | Напр. |
|
|
| y | KCU | Термообр. |
| - | мм | - | МПа | МПа | % | % | кДж/м | - |
| Пруток | Ж 25 | 620 | 370 | 15 | 40 | 490 | Закалка 850 |
Обозначения:
Механические свойства :
- Предел кратковременной прочности , [МПа]
- Предел пропорциональности (предел текучести для остаточной деформации), [МПа]
- Относительное удлинение при разрыве , [ % ]
y - Относительное сужение , [ % ]
KCU - Ударная вязкость , [ кДж / м2]
HB - Твердость по Бринеллю
Твердость материала 45Г после отжига:
HB = 229
Температура критических точек:
| Критическая точка | °С |
| Ac1 Ac3 Ar3 Ar1 | 715 735 710 635 |
Технологические свойства материала 45Г .
| Свариваемость: | трудносвариваемая. |
| Склонность к отпускной хрупкости: | малосклонна. |
Свариваемость:
без ограничений - сварка производится без подогрева и без последующей термообработки
ограниченно свариваемая - сварка возможна при подогреве до 100-120 град. и последующей термообработке
трудносвариваемая - для получения качественных сварных соединений требуются дополнительные операции: подогрев до 200-300 град. при сварке, термообработка после сварки – отжиг.
2. Выбор типа печного оборудования и оборудования для разливки стали 45Г. Его краткая характеристика
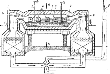
Сталь 45Г - конструкционная, легированная, поэтому ее можно производить в мартеновских печах. Мартеновская печь (рис. 1) — пламенная отражательная регенеративная печь.
Рис.1 Схема мартеновской печи.
Она имеет рабочее плавильное пространство, ограниченное снизу подиной 12, сверху сводом 11, а с боков передней 5 и задней 10 стенками. Подина имеет форму ванны с откосами по направлению к стенкам печи. Футеровка печи может быть основной и кислой. Если в процессе плавки стали в шлаке преобладают основные окислы, процесс называют основным мартеновским процессом, а если кислые — кислым. Основную мартеновскую печь футеруют магнезитовым кирпичом, на который набивают магнезитовый порошок. Кислую мартеновскую печь футеруют динасовым кирпичом, а подину набивают из кварцевого песка. Свод мартеновской печи делают из динасового кирпича или магнезитохромитового кирпича. В передней стенке печи имеются загрузочные окна 4 для подачи шихты и флюса, а в задней — отверстие 9 для выпуска готовой стали.
В нашей стране работают мартеновские печи вместимостью 200 - 900 т жидкой стали. Характеристикой рабочего пространства является площадь пода печи, которую условно подсчитывают на уровне порогов загрузочных окон. Например, для печи вместимостью 900 т площадь пода составляет 115 м2. Головки печи 2 служат для смешения топлива (мазута или газа) с воздухом и подачи этой смеси в плавильное пространство.
Для подогрева воздуха и газа (при работе на низкокалорийном газе) печь имеет два регенератора 1. Регенератор — это камера, в которой размещена насадка — огнеупорный кирпич, выложенный в клетку. Отходящие из печи газы имеют температуру 1500—1600 °С. Попадая в регенераторы, газы нагревают насадку до 1250—1280 °С. Через один из регенераторов, например, правый, подают воздух, который, проходя через насадку, нагревается до температуры 1100— 1200 °С и поступает в головку печи, где смешивается с топливом; на выходе из головки образуется факел 7, направленный на шихту 6. Отходящие газы проходят через противоположную головку (левую), очистные устройства (шлаковики), служащие для отделения от газа частиц шлака и пыли, направляются во второй (левый) регенератор, нагревая его насадку. Охлажденные газы покидают печь через дымовую трубу 8. После охлаждения насадки правого регенератора переключают клапаны и поток газов в печи изменяет направление: через нагретые левый регенератор и головку в печь поступает воздух, а правый нагревается теплотой отходящих газов. Факел имеет температуру 1750—1800 °С и нагревает рабочее пространство печи и шихту. Факел способствует окислению примесей шихты при плавке.
В зависимости от состава шихты, используемой при плавке, различают разновидности мартеновского процесса:
1) скрап-процесс, при котором шихта состоит из стального лома (скрапа) и 25— 45 % чушкового передельного чугуна; процесс применяют на заводах, где нет доменных печей, но расположенных в промышленных центрах, где много металлолома;
2) скрап-рудный процесс, при котором шихта состоит из жидкого чугуна 55—75 %, скрапа и железной руды; процесс применяют на металлургических заводах, имеющих доменные печи. Наибольшее количество стали производят скрап-рудным процессом в мартеновских печах с основной футеровкой, что позволяет переделывать в сталь различные шихтовые материалы.
Плавка стали скрап-рудным процессом в основной мартеновской печи происходит следующим образом. В печь с помощью завалочной машины загружают железную руду и известняки после их прогрева подают скрап. По окончании прогрева скрапа в печь заливают жидкий чугун, который взаимодействует с железной рудой и скрапом. В период плавления за счет оксидов руды и скрапа интенсивно окисляются примеси чугуна: кремний, фосфор по реакции, марганец и частично углерод. Оксиды Si02, Р205, МnО, а также СаО и извести образуют шлак с высоким содержанием FeO и МnО (железистый шлак).
После расплавления шихты, окисления значительней части примесей и разогрева металла проводят период кипения ванны: в печь загружают железную руду или продувают ванну подаваемым по трубам 3 (рис. 1) кислородом. Углерод в металле интенсивно окисляется, образуется оксид углерода. В это время отключают подачу топлива и воздуха в печь и удаляют шлак. Для удаления из металла серы наводят новый шлак, подавая на зеркало металла известь с добавлением боксита или плавикового шпата для уменьшения вязкости шлака. Содержание СаО в шлаке возрастает, a FeO уменьшается. В период «кипения» углерод интенсивно окисляется. Поэтому для «кипения» ванны шихта должна содержать избыток углерода (на 0,5—0,6 %) сверх заданного в выплавляемой стали. В процессе «кипения» металл доводится до заданного химического состава, его температура выравнивается по объему ванны, из него удаляются газы и неметаллические включения. Процесс «кипения» считают окончившимся, если содержание углерода в металле соответствует заданному, а содержание фосфора минимально. После этого металл раскисляют в два этапа:
1) в период «кипения» прекращают загрузку руды в печь, вследствие чего раскисление идет путем окисления углерода металла, одновременно подавая в ванну раскислители - ферромарганец, ферросилиций, алюминий;
2) окончательно раскисляют алюминием и ферросилицием в ковше при выпуске стали из печи. После отбора контрольных проб сталь выпускают в сталеразливочный ковш через отверстие в задней стенке печи.
В основных мартеновских печах выплавляют стали углеродистые конструкционные, низко- и среднелегированные (марганцовистые, хромистые), кроме высоколегированных сталей и сплавов, которые получают в плавильных электропечах.
Выплавленную сталь выпускают из плавильной печи в разливочный ковш, из которого ее разливают в изложницы или кристаллизаторы машины для непрерывного литья заготовок (МНЛЗ). В изложницах или кристаллизаторах сталь затвердевает, и получаются слитки, которые подвергают прокатке, ковке.
Изложницы — чугунные формы для изготовления слитков. Изложницы выполняют с квадратным, прямоугольным, круглым и многогранным поперечными сечениями. Слитки квадратного сечения переделывают на сортовой прокат (двутавровые балки, швеллеры, уголки и т. д.). Слитки прямоугольного сечения с отношением ширины к толщине 1,5—3 переделывают на лист. Из слитков круглого сечения изготовляют трубы, колеса. Многогранные слитки используют для поковок.
Для прокатки отливают слитки массой 200 кг — 25 т; для поковок отливают слитки массой до 300 т и более. Обычно углеродистые спокойные и кипящие стали разливают в слитки массой до 25 т.
Рисунок 2. Схема разливки стали по изложницам
Характеристики
Тип файла документ
Документы такого типа открываются такими программами, как Microsoft Office Word на компьютерах Windows, Apple Pages на компьютерах Mac, Open Office - бесплатная альтернатива на различных платформах, в том числе Linux. Наиболее простым и современным решением будут Google документы, так как открываются онлайн без скачивания прямо в браузере на любой платформе. Существуют российские качественные аналоги, например от Яндекса.
Будьте внимательны на мобильных устройствах, так как там используются упрощённый функционал даже в официальном приложении от Microsoft, поэтому для просмотра скачивайте PDF-версию. А если нужно редактировать файл, то используйте оригинальный файл.
Файлы такого типа обычно разбиты на страницы, а текст может быть форматированным (жирный, курсив, выбор шрифта, таблицы и т.п.), а также в него можно добавлять изображения. Формат идеально подходит для рефератов, докладов и РПЗ курсовых проектов, которые необходимо распечатать. Кстати перед печатью также сохраняйте файл в PDF, так как принтер может начудить со шрифтами.
















