125695 (577888)
Текст из файла
Федеральное агентсво по образованию
Государственное образовательное учреждение высшего
профессионального образования
«Уфимский государственный нефтяной технический университет»
Кафеда: «Транспорт и хранение нефти и газа»
Контрольная работа
на тему: «Виды запорной арматуры, ее назначение и конструкция»
Выполнил: студент группы ГРз-07-02
Политаев М.А.
Проверил: преподаватель
Фазлетдинов Р.А.
Уфа 2010
Запорная арматура - предназначена для полного перекрытия потока рабочей среды в трубопроводе и пуска среды в зависимости от требований технологического процесса (цикл «открыто-закрыто»). Сюда относятся задвижки, краны, запорные клапаны, поворотные затворы. Основное назначение запорно-регулирующей арматуры – перекрывать поток рабочей среды по трубопроводу и снова пускать среду, а также обеспечивать необходимую герметичность. Завод трубопроводной арматуры следит за качеством выпускаемой продукции. Устанавливается арматура на трубопроводах высокого и низкого давления, агрегатах и сосудах. Предназначена запорная арматура для управления: водяной, газообразной, парообразной, газожидкостной массой, путем изменения площади диаметра проходного сечения отверстия. Она должна обеспечивать надежное и полное перекрытие проходного сечения. Принципиально она должна обеспечивать всего два состояния - открыта или закрыта - и может быть не предназначена для эксплуатации в промежуточном положении рабочего органа.
По функциональному назначению трубопроводная арматура подразделяется на следующие основные классы:
- запорная - предназначена для перекрытия потока рабочей среды с определенной герметичностью;
- регулирующая - предназначена для регулирования расхода путем изменения количества протекающей по трубопроводу рабочей среды. Регулирующая арматура управляется от постороннего источника энергии;
- распределительная - предназначена для распределения потока рабочей среды по определенным направлениям или для смешивания потоков;
- предохранительная - предназначенная для автоматической защиты оборудования и трубопроводов от недопустимого превышения давления посредством сброса избытка рабочей среды., защитная (отсечная) предназначенная для автоматической защиты оборудования и трубопроводов от недопустимых или непредусмотренных технологическим процессом изменений параметров или направления потока рабочей среды, а также для отключения потока.
- фазоразделительная - предназначена для автоматического разделения рабочих сред в зависимости от их фазы и состояния. Сюда относятся конденсатоотводчики, воздухоотводчики и маслоотделители.
Задвижка – одно из устройств запорной арматуры. Здесь, в отличие от кранов, запорный элемент совершает не вращательное движение, а возвратно-поступательное. Передвижение запорного элемента происходит перпендикулярно движению жидкости.
Хронологически задвижки появились одними из первых из устройств перекрытия водного потока. Это связано с их достаточной простотой и неприхотливостью в эксплуатации и ремонте. В настоящее же время в связи с бурным развитием техники и технологических процессов задвижки все чаще вытесняются при прокладке трубопроводов устройствами перекрытия воды с круговым движением исполнительного элемента. Задвижки, как и запорные краны, используются в основном в двух режимах: открыто и закрыто, т. е. когда запорный элемент находится в крайних положениях. При использовании задвижки в промежуточном положении происходит разрушение ее рабочей поверхности из-за вибрации, вызванной высокочастотным перемещением исполнительного органа вдоль и поперек протекания жидкости при ее движении по трубопроводу. Расшатываются также и элементы крепления исполнительного элемента. Как результат – выход задвижки из строя раньше установленного срока.
Задвижки разделяют на несколько видов. Клиновые, параллельные, с выдвижным и не выдвижным штоком. Применяются при давлениях от 2 до 200 атмосфер. Условный диаметр от 8 мм до 2 м.
Рисунок 1 Задвижка ЗМС-65-14 К1 ХЛ (Бакинская)
Таблица 1 Технические характеристики задвижки ЗМС-65-14 К1 ХЛ
| Технические характеристики | |
| 1. Рабочее давление, МПа (кг/см2) | 14 (140) |
| 2.Условный проход, мм | 65 |
| 3.Температура рабочей среды не более К (С0) | 393 (120) |
| 4. Исполнение задвижки | К1 |
| 5. Задвижка | Корпус литой |
| 6. Установленный срок службы ЗМС | Не менее 12-15 лет |
| 7. Конструкция задвижки | Невыдвижной шпиндель |
| 8. Замена манжет | Под давлением |
Фонтанная арматура предназначена для герметизации устья скважин, контроля и регулирования режима их эксплуатации, а также для проведения различных технологических операций в умеренном и холодном макроклиматических районах для сред, содержащих СО2, Н2S, и пластовую воду. Собирается по схемам тройникового и крестового типов согласно ГОСТ 13846 – 84.
В шифре фонтанной арматуры приняты следующие обозначения: АФ – арматура фонтанная; конструктивное исполнение по схемам ГОСТ 13846 – 84; а – двухрядная концентричная подвеска подъёмных труб; К – подвеска подъёмной колонны на резьбе переводника трубной головки (на муфтовой подвеске буква не пишется); Э – для эксплуатации скважин с ЭЦН; В – способ управления задвижками (дистанционный и автоматический); первое число – диаметр условного прохода по стволу и боковым струнам в мм; второе число – рабочее давление; ХЛ – климатическое исполнение для холодного района; исполнение по коррозионной стойкости: К1 – для сред, содержащих СО2 до 6 %; К2 – для сред, содержащих СО2 до 6 %; К3 – то же, Н2S и СО2 до 25 %; К2И – для фонтанной арматуры, изготовленной из малолегированной и низкоуглеродистой стали, с применением ингибитора в скважине.
Арматура включает трубную головку, фонтанную ёлку, запорные устройства с ручным и пневматическим управлением, дроссели.
Трубная головка предназначена для подвески одного или двух рядов НКТ, их герметизации, а также для выполнения технологических операций при освоении, эксплуатации и ремонте скважины.
Колонны подъёмных труб подвешивают на резьбе и на муфтовой подвеске.
Подвешивание колонн на резьбе осуществляется: при однорядном лифте – на резьбе стволовой катушки; при двухрядном лифте: внутренняя колонна – на резьбе стволовой катушки, наружная – на резьбе тройника (крестовины) трубной головки.
Подвешивание колонн на муфтовой подвеске осуществляется: при однорядном лифте – на муфте в крестовине трубной головки; при двухрядном лифте: внутренняя – на муфте в тройнике трубной головки, наружная – на муфте в крестовине.
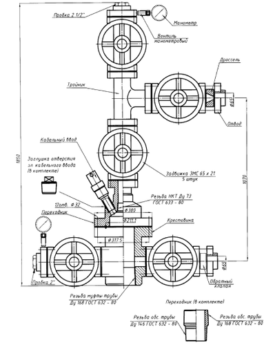
Рисунок 2 Арматура фонтанная АФК 1 Э65х21М К1 ХЛ
(для УЭЦН, ППД и фонтанных скважин)
Ёлка предназначена для направления продукции скважины в выкидную линию регулирования режима эксплуатации, для установки специальных устройств, при спуске скважинных приборов или скребков для очистки труб от парафина, замера давления и температуры среды, а также для проведения некоторых технологических операций.
В качестве запорных устройств фонтанной арматуры применяют проходные пробковые краны и прямоточные задвижки с принудительной или автоматической подачей смазки. Они предназначены для перекрытия проходных отверстий в фонтанной арматуре и устьевом оборудовании.
Таблица 2 Технические характеристики арматуры фонтанной АФК 1 Э65х21М К1 ХЛ
| Технические характеристики | |
| 1. Рабочее давление, МПа (кг/см2) | 21 (210) |
| 2.Условный проход, мм: ствола/боковых отводов | 65/65 |
| 3.Температура рабочей среды не более К (С0) | 393 (120) |
| 4. Подвешиваемая труба | НКТ-73 ГОСТ 633-80 |
| 5. Тип запорного устройства | Задвижка ЗМС 65х21 |
| 6. Обеспечение замены манжет в МЗС под давлением | 21 МПа |
| 7. Тройник | Корпус литой |
| 8. Задвижка | Корпус литой |
| 9. Крестовина | Корпус литой / поковка |
| 10. Переходник | Корпус литой / поковка |
| Установленный срок службы арматуры и ЗМС | Не менее 12-15 лет |
Для регулирования режима эксплуатации на боковых струнах ёлки установлены регулируемые или нерегулируемые дроссели со сменной втулкой из износостойкого материала.
Фонтанные арматуры классифицируют по конструктивным и прочностным характеристикам:
- рабочему давлению (7, 14, 21, 35, 70, 105 МПа);
- схеме исполнения (6 схем);
- числу спускаемых в скважину рядов труб;
- конструкции запорных устройств;
- размерам проходного сечения по стволу скважины (50-150 мм) и боковым отводам (50-100 мм).
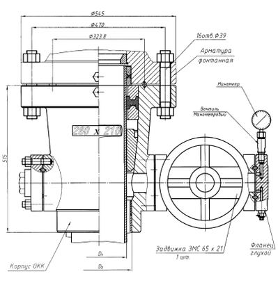
Все фонтанные арматуры применяются с колонными головками ООК1 10'' 9 5/8 6 5/8 – 210 или колонная головка конструкции ЦНИЛ '' ГАНГ ''.
Колонные головки, как и обсадные трубы, являются неотъемлемой частью конструкции скважины как инженерного сооружения. Они предназначены для подвески очередной обсадной колонны, герметизации и контроля давления в кольцевом пространстве между соседними колоннами труб.
Рисунок 3 Обвязка колонная головка ОКК1-35 К1 ХЛ
Конструкция колонной головки, фонтанной арматуры, схемы их обвязки должна обеспечивать оптимальные режимы работы скважины, герметизацию трубного, затрубного и межтрубного пространства, возможность технологических операций на скважине, глубинных исследований, отбора проб и контроля устьевого давления и температуры.
Условия работы колонной головки достаточно сложны: нагрузка от веса обсадных колонн может превышать в глубоких скважинах несколько сот килоньютонов. Элементы колонной головки воспринимают также давление среды, контактирующей с ними. Нарушение надежности колонной головки неизбежно ведет к серьезным авариям, нанесению ущерба окружающей среде, а в отдельных случаях может быть причиной возникновения пожаров, взрывов, несчастных случаев.
Рисунок 4 Затвор поворотный
Затвор – элемент трубопроводной запорной арматуры, где регулирующий (запорный) орган поворачивается вокруг оси, которая не является его собственной осью. Наиболее распространенной разновидностью этого типа трубопроводной арматуры является дисковый затвор, у которого регулирующий элемент сделан в виде диска.
По виду обеспечения герметичности перекрытия потока жидкости дисковые затворы могут быть с уплотнением металл-металл, с мягким седловым уплотнением, с тефлоновым покрытием перекрывающих частей затвора. По типу присоединения его с системе водо- (трубо) провода затворы бывают с фланцами под сварку и под резьбовое соединение.
Управление затвором, в зависимости от усилия, необходимого для приведения его движущейся части с рабочее положение, может быть при помощи просто рукоятки, через редуктор, посредством пневматического привода или электрического. Материал и конструкция затвора должны быть таковы, чтобы он мог положенный срок работать не только на открытие-закрытие проходящей через него субстанции, но и регулировать проходящий объем. Для этого рукоятка затвора чаще всего выполняется с фиксатором, который позволяет стопорить рукоятку в различных угловых положениях.
Характеристики
Тип файла документ
Документы такого типа открываются такими программами, как Microsoft Office Word на компьютерах Windows, Apple Pages на компьютерах Mac, Open Office - бесплатная альтернатива на различных платформах, в том числе Linux. Наиболее простым и современным решением будут Google документы, так как открываются онлайн без скачивания прямо в браузере на любой платформе. Существуют российские качественные аналоги, например от Яндекса.
Будьте внимательны на мобильных устройствах, так как там используются упрощённый функционал даже в официальном приложении от Microsoft, поэтому для просмотра скачивайте PDF-версию. А если нужно редактировать файл, то используйте оригинальный файл.
Файлы такого типа обычно разбиты на страницы, а текст может быть форматированным (жирный, курсив, выбор шрифта, таблицы и т.п.), а также в него можно добавлять изображения. Формат идеально подходит для рефератов, докладов и РПЗ курсовых проектов, которые необходимо распечатать. Кстати перед печатью также сохраняйте файл в PDF, так как принтер может начудить со шрифтами.















