125695 (577888), страница 2
Текст из файла (страница 2)
Такие эксплуатационные свойства затворов, как удобство и простота их монтажа и замены уплотняющих элементов, достаточная долговечность (до 100 тысяч открытий-закрытий), относительно низкая стоимость привели к их широкому применению в трубопроводной отрасли.
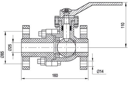
Рисунок 5 Кран запорный
Кран запорный - один из видов запорной аппаратуры. Может быть выполнен из различных материалов: сталь, латунь, какой-либо пластик и др. Но устройство у них у всех одно и то же – корпус и запорный элемент. Запорный элемент может быть выполнен в виде цилиндра (цилиндрический кран) или в виде шара (шаровой). Реже в быту можно встретить кран с коническим запорным устройством.
По производительности краны запорные могут быть полнопроходным или полупроходными. Полупроходной кран – если перекрываемое отверстие по диаметру меньше диаметра подсоединяемых на вход и выход труб. И соответственно полнопроходной - когда оно такое же.
Основная задача запорного крана – перекрывать поток жидкости, проходящей через него. Т. е. у него два рабочих положения – открыто и закрыто. Понятно, что если ручку крана повернуть не на 90 градусов, а, скажем, на 45, то поток проходящей жидкости можно уменьшить грубо говоря в 2 раза. Таким образом, плавно меняя угол поворота ручки, можно плавно менять проходящий поток. Однако этого делать не рекомендуется, т. к. в зависимости от давления и состава жидкости кран запорный может повредиться, особо это касается острых кромок конструкции крана, которые могут сточиться, результатом чего при полном перекрытии жидкость может на выходе крана продолжать сочиться.
Запорные краны применяются как в промышленности (для транспортировки воды, нефтепродуктов, газа), так и в быту, для перекрытия в случае необходимости различных частей водопровода.
Рисунок 6 Вентиль
Вентили. Это еще один класс устройств запорной арматуры. Здесь запорный элемент находится на шпинделе. Вращательное движения в ту или иную сторону шпинделя (с помощью простого маховика или каких-либо приспособлений) преобразуется в возвратно-поступательное движение запорного элемента, который регулирует поток проходящей через него жидкости. Вращение шпинделя осуществляется или вручную (если усилие невелико) или с помощью какого-либо электрического (гидравлического) двигателя.
Массовый потребитель наиболее хорошо знаком именно с этим видом запорной арматуры в быту, т. к. различные модификации вентилей можно встретить в любой квартире, на загородном участке, в различного рода общественных помещениях и т. п.
Наиболее распространенный вид вентиля – это проходной вентиль, который устанавливается на прямолинейных участках трубопровода. Основной недостаток – достаточно высокое гидросопротивление и как следствие – наличие зоны застоя жидкости в районе установки такого вентиля. Этого недостатка лишен прямоточный вентиль, используемый в тех местах трубопровода, где не допускается снижения потока жидкости на выходе вентиля.
Также к наиболее распространенным типам вентилей относятся угловые (соединяет две взаимно перпендикулярные части трубопровода) и смесительные (смешивают два потока жидкости с целью, например, поддержания заданной температуры).
Рисунок 7 Клапан комбинированный многофункциональный типа ККМ
Клапан комбинированный многофункциональный ККМ-89х21 предназначен для установки вместо обратного клапана в компоновке колонны НКТ при добыче нефти электроцентробежными насосами (ЭЦН)
Таблица 3 Технические характеристики ККМ
| Технические характеристики | ККМ-89х21 |
| Рабочая производительность ЭЦН для работы клапана, м3/сут | 80…800 |
| Наружный диаметр, мм | 89 |
| Длина, мм, не более | 370 |
| Скорость подъема колонны, не более, м/с | 0,3 |
| Условный диаметр проходного отверстия, мм | 32 |
| Присоединительная резьба по ГОСТ 633-80 | гладкая НКТ 73 |
| Масса, кг, не более | 10 |
| Рабочее давление, МПа | 21 |
Клапаны выполняют в трубопроводной арматуре роль своего рода датчиков, совмещенных с исполнительным устройством.
Основным типом являются предохранительные клапаны, которые осуществляют автоматический выпуск (в атмосферу или в специальные емкости) избытка жидкости или газа (пара) из трубопровода при образовании в нем давления, превышающего допустимое техническими параметрами, тем самым предотвращая аварию трубопровода. По типу исполнительного механизма они могут быть пружинными и рычажно-грузовыми.
Применяются также регулирующие, перепускные, распределительные, смесительные, отключающие клапаны, назначение которых несложно определить из их названия.
Отключающие клапаны осуществляют прекращение подачи жидкости или газа в трубопровод, начиная с его какого-то участка, при ее недопустимом расходе (например, при разрыве трубы).
Перепускной клапан поддерживает заданное давление в определенном участке цепи трубопровода путем частичного открывания и перепуска избытка жидкости или газа в другую ветвь трубопровода.
Распределительные клапаны (трехходовые или многоходовые) распределяют потоки рабочей среды в различные участки трубопровода, чаще с пульта управления, в связи с чем они часто имеют электромагнитный привод.
Смесительные клапаны используются, если необходимо смешивать различные среды, имеющие как различную температуру, так и различный состав. К таким клапанам предъявляются требования поддержания постоянного состава или температуры (или того и другого).
Регулирующие клапаны. Их задача регулировать расход протекающей по трубопроводу среды (жидкость, газ). Управляются они чаще всего от внешнего источника энергии.
Список используемой литературы
-
Справочник инженера по добыче нефти
-
Шуров В.А. ”Техника и технология добычи нефти» М.Недра,1983г
-
Бойко В.С. “Разработка и эксплуатация нефтяных месторождений” М.Недра,1990г.
-
Каталоги заводов изготовителей нефтедобывающего оборудования
5. В.Г. Крец, Л.А. Саруев “Оборудование для добычи нефти”. Учебное пособие















