125091 (577819)
Текст из файла
Министерство сельского хозяйства Российской Федерации
Федеральное государственное образовательное учреждение высшего профессионального образования
Ижевская государственная сельскохозяйственная академия
Факультет непрерывного профессионального образования
Контрольная работа по технологии конструкционных материалов
Проверил: старший преподаватель
Т.Е. Племякова
Выполнил: студент 2 курса
Д.С. Тереханов (специальность
"Электрификация и автоматизация
сельского хозяйства", гр. 41,
шифр 0704075)
Ижевск 2009
Содержание
-
Опишите режим ступенчатой и изотермической закалки. Какие превращения происходят при этих видах термической обработки? Область применения
-
Что собой представляет собственная и примесная электропроводимость полупроводников? Какова структура и основные свойства германия?
-
Из каких основных элементов состоит литейная форма? Опишите способ производства и установка стержней в форме. Нарисуйте в разрезе собранную литейную форму, включая стержень и литниковую систему
-
Опишите кратко пути увеличения производительности работ при токарной обработке (точении)
Список литературы
1. Опишите режим ступенчатой и изотермической закалки. Какие превращения происходят при этих видах термической обработки? Область применения
В зависимости от скорости охлаждения различают закалку ступенчатую и изотермическую.
Ступенчатая закалка. При ступенчатой закалке деталь, нагретую до температуры закалки, переносят в жидкую среду, имеющую температуру на 50- 100 ºС выше мартенситной точки Мн закаливаемой стали, и выдерживают небольшое время, необходимое для выравнивания температуры по сечению, а затем окончательно охлаждают на спокойном воздухе (см. рис.1).
Получение мартенсита при таком способе охлаждения возможно только в легированных сталях с достаточно высокой устойчивостью переохлажденного аустенита в интервале температур перлитного превращения.
К ступенчатой закалке прибегают обычно при термической обработке инструментов небольшого сечения из низко- и среднелегированных сталей. Достоинство указанного способа охлаждения состоит также в возможности правки инструментов в специальных приспособлениях при охлаждении после изотермической выдержки.
Изотермическая закалка. В некоторых случаях после закалки на мартенсит и последующего отпуска не удается получить достаточно прочности и вязкости, тогда применяют изотермическую закалку на нижний бейнит, обладающий высокой вязкостью и прочностью.
При изотермической закалке нагретую деталь переносят в ванну с расплавленными солями, имеющую температуру на 50- 100 °С выше мартенситной точки Мн и выдерживают при этой температуре до завершения превращения аустенита в бейнит и затем охлаждают на воздухе (см. рис.1).
Изотермическая закалка, так же как и ступенчатая, применима только к сталям с достаточной устойчивостью переохлажденного аустенита.
Для предотвращения коробления изделий, таких, как ножовки, пилы, бритвы, их охлаждают заневоленными, например, в массивных медных или стальных плитах; скорость охлаждения в этих условиях оказывается меньшей, чем в маслах.
Рис.1
2. Что собой представляет собственная и примесная электропроводимость полупроводников? Какова структура и основные свойства германия?
Полупроводник — материал, который по своей удельной проводимости занимают промежуточное место между проводником и диэлектриком и отличаются от проводника сильной зависимостью удельной проводимости от концентрации примесей, температуры и различных видов излучения. Полупроводниками являются вещества, ширина запрещённой зоны которых составляет порядка нескольких эВ (электрон-вольта), то есть, соизмерима с kT. Например, алмаз можно отнести к широкозонным полупроводникам, а InAs — к узкозонным.
В зависимости от того, отдаёт ли атом примеси электрон или захватывает его, примесные атомы называют донорными или акцепторными. Характер примеси может меняться в зависимости от того, какой атом кристаллической решётки она замещает, в какую кристаллографическую плоскость встраивается.
Проводимость полупроводников сильно зависит от температуры. Вблизи абсолютного нуля температуры полупроводники имеют свойства изоляторов.
По характеру полупроводники делят на собственную и примесную проводимость.
Собственная проводимость.
Полупроводники, в которых свободные электроны и "дырки" появляются в процессе ионизации атомов, из которых построен весь кристалл, называют полупроводниками с собственной проводимостью. В полупроводниках с собственной проводимостью концентрация свободных электронов равняется концентрации "дырок". Во время разрыва связи между электроном и ядром появляется свободное место в электронной оболочке атома. Это обуславливает переход электрона с другого атома на атом со свободным местом. На атом, откуда перешел электрон, входит другой электрон из другого атома и т. д. Это обуславливается ковалентными связями атомов. Таким образом, происходит перемещение позитивно заряженного атома без перемещения самого атома. Этот процесс назвали "дыркой".
Примесная проводимость.
Электрическая проводимость, обусловленная присутствием примесей в полупроводнике, называется прмесной.
Примесной проводимостью полупроводников называется проводимость, обусловленная электронами, которые перешли в зону проводимости с донорных уровней Ed, расположенных вблизи Ec, и дырками, которые образовались в валентной зоне при переходе электронов на акцепторные уровни Ea, расположенные вблизи Ev (рис. 1а, 1б).
Примесный полупроводник n-типа.
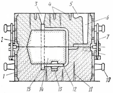
Т Рис. 1а Примесный полупроводник p-типа. Т Рис. 1б Обычно донорные и акцепторные уровни в запрещенной зоне полупроводника образуются при легировании, т.е. введением определенной примеси в собственный полупроводник. Таким образом можно сказать, что примесная проводимость обусловлена ионизацией атомов примеси в полупроводнике. В полупроводниках IV группы таблицы Менделеева (Ge, Si) донорные уровни вблизи Ec образуют элементы V группы (Sb, As), а акцепторные уровни вблизи Ev - элементы III группы (In, Ga).Величина примесной проводимости: sпр = e(mnn + mpp), где n - концентрация электронов с доноров в зоне проводимости; p - концентрация дырок с акцепторов в валентной зоне; mn; mp - подвижности электронов и дырок, соответственно. Если примесная проводимость обусловлена в основном электронами с донорных уровней (mnn >> mpp), т.е. электроны являются основными носителями заряда, то говорят об электронной проводимости полупроводников, или полупроводниках n-типа; если же преобладает проводимость, обусловленная дырками, образовавшимися вследствие ухода электронов на акцепторные уровни (mpp >> mnn), то говорят о дырочной проводимости, или полупроводниках p-типа, где основными носителями заряда являются дырки. Если в полупроводниках n-типа (p-типа) глубина примесного уровня Ed (или Ea) в данной области температура Т меньше, чем kT (k - постоянная Больцмана), то практически все доноры полностью ионизированы (или акцепторы заполнены электронами) (см. рис. 2а, 2б). Примесный полупроводник n-типа. Т>Ed/K рис. 2а Примесный полупроводник p-типа. рис. 2б Если в этой области температура и собственная проводимость мала, т.е. Nd или Na >> ni = pi (Nd - концентрация доноров, Na - концентрация акцепторов ni, pi - концентрации собственных носителей), то концентрация основных носителей заряда равна примерно концентрации донорной (или акцепторной) примесей: n@Nd (в полупроводнике n-типа); n@Na (в полупроводнике p-типа); В общем случае, т.е. при неполной ионизации примесей и наличии собственной проводимости, концентрации носителей заряда определяются формулами: n = 2(2pmn*kT / h2)3/2exp(Ef /kT); p = 2(2pmp*kT / h2)3/2exp(-Ef DE /kT), где mn*, mр* - эффективные массы электронов и дырок в полупроводнике; Ef - глубина уровня Ферми, зависящая от параметров примесных уровней. Германий. Германий — химический элемент с атомным номером 32 в периодической системе, обозначается символом Ge (нем. Germanium). Рис.3 Кристалл германия - светло-серый полупроводник с металлическим блеском. Рис.4 Кристаллическая структура германия. Физические свойства. Кристаллическая решетка германия кубическая гранецентрированная типа алмаза, параметр, а = 5,660 Å . Механические свойства. Модуль упругости E, ГПа — 82 Скорость звука (t=20÷25°C) в различных направлениях ·1000 м/с. L100 : 4,92 S100 : 3,55 L110 : 5,41 S110 : 2,75 L111 : 5,56 S111 : 3,04 Электронные свойства. Германий является типичным непрямозонным полупроводником. Статическая диэлектрическая проницаемость ε = 16,0 Ширина запрещённой зоны (300 К) Eg = 0,67 эВ Собственная концентрация ni=2,33×1013 см−3 [3] Эффективная масса: электронов, продольная: mII=1,58m0, mII=1,64m0 [5] электронов, поперечная: m┴=0,0815m0 , m┴=0,082m0[5] дырок, тяжелых: mhh=0,379m0 дырок, легких: mhl=0,042m0 Электронное сродство: χ = 4,0 эВ [5] Легированный галлием германий в тонкой плёнке можно привести в сверхпроводящее состояние. Изотопы. В природе встречается пять изотопов: 70Ge (20,55 % масс.), 72Ge (27,37 %), 73Ge (7,67), 74Ge (36,74 %), 76Ge (7,67 %). Первые четыре стабильны, пятый (76Ge) испытывает двойной бета-распад с периодом полураспада 1,58×1021 лет. Кроме этого существует два "долгоживущих" искусственных: 68Ge (время полураспада 270,8 дня) и 71Ge (время полураспада 11,26 дня). Химические свойства. В химических соединениях германий обычно проявляет валентности 4 или 2. Соединения с валентностью 4 стабильнее. При нормальных условиях устойчив к действию воздуха и воды, щелочей и кислот, растворим в царской водке и в щелочном растворе перекиси водорода. Применение находят сплавы германия и стёкла на основе диоксида германия. Соединения германия: Неорганические. Гидриды Герман GeH4 Дигерман Ge2H6 Тригерман Ge3H8 Оксиды Оксид германия (II) GeO Оксид германия (IV) GeO2 Галогениды Бромид германия (IV) GeBr4 Иодид германия (II) GeI2 Иодид германия (IV) GeI4 Фторид германия (IV) GeF4 Хлорид германия (IV) GeCl4 Нитрид германия (IV) Ge3N4 Сульфид германия (II) GeS Сульфид германия (IV) GeS2 Органические. Тетраметилгерман (Ge(CH3)4) Тетраэтилгерман (Ge(C2H5)4) Изобутилгерман ((CH3)2CHCH2GeH3). 3. Из каких основных элементов состоит литейная форма? Опишите способ производства и установка стержней в форме. Нарисуйте в разрезе собранную литейную форму, включая стержень и литниковую систему Литейная форма представляет собой систему элементов, образующих рабочую полость с внешними контурами получаемой отливки. После заливки в такую полость жидкого металла он охлаждается в ней и затвердевает, образуя отливку. Литейная форма состоит из нескольких, обычно из двух, частей (полуформ), собранных в одно целое. Полуформа, т. е. верхняя или нижняя половина литейной формы, представляет собой опоку, в которой находится в уплотненном состоянии смесь неорганических (кварцевый песок, глина и др.) и органических (опилки, уголь и др.) материалов. Рис.5 Собранная литейная форма в разрезе. 1, 2 —полуформы, 3 — выпор, 4 — крестовины опок, 5 — литниковая чаша, 6 — стояк, 7 — шлакоуловитель, 8 — штырь, 9 — питатель, 10 — цапфа опоки, 11 — вентиляционные каналы, 12 — жеребенка, 13 — холодильник, 14 — стержень, 15 — полость формы. Литейный стержень — элемент литейной формы, предназначенный для образования отверстий, полостей или других сложных контуров в отливке. Стержни в форме фиксируют на знаках — выступах, входящих в соответствующие впадины рабочей полости. Дополнительными опорами стержней являются металлические подставки (жеребейки) различной конструкции и конфигурации, которые сплавляются с заливаемым в форму жидким металлом. Стержень состоит из части, образующей внутреннюю поверхность отливки, и опорной знаковой части, с помощью которой он крепится в стенках формы. Кроме того, знаки служат для отвода газов, образующихся в стержне при заливке формы. Стержень, являясь частью литейной формы, должен удовлетворять всем требованиям, которые предъявляют к самой форме. Однако, находясь в форме при заливке в более трудных условиях, стержень должен отвечать более жестким требованиям. Чтобы убедиться в этом, рассмотрим, в каких условиях находится стержень в форме во время заливки ее расплавленным металлом. 1. Стержень, образующий полость в отливке, чаще всего расположен в центре полости литейной формы, поэтому он со всех сторон подвергается давлению и воздействию высокой температуры заливаемого в форму металла. Следовательно, чтобы противостоять давлению металла, которое может вызвать деформацию стержня или его разрушение, стержень должен быть более прочным, чем форма. 2. В стержне, как и в форме, образуются газы. Газы, образовавшиеся в форме, могут выходить из нее через вентиляционные каналы и стенки формы. Кроме того, форма при заливке, соприкасаясь с металлом одной стороной, прогревается постепенно. Поэтому в форме создаются более благоприятные условия выхода образующихся в ней газов.
Характеристики
Тип файла документ
Документы такого типа открываются такими программами, как Microsoft Office Word на компьютерах Windows, Apple Pages на компьютерах Mac, Open Office - бесплатная альтернатива на различных платформах, в том числе Linux. Наиболее простым и современным решением будут Google документы, так как открываются онлайн без скачивания прямо в браузере на любой платформе. Существуют российские качественные аналоги, например от Яндекса.
Будьте внимательны на мобильных устройствах, так как там используются упрощённый функционал даже в официальном приложении от Microsoft, поэтому для просмотра скачивайте PDF-версию. А если нужно редактировать файл, то используйте оригинальный файл.
Файлы такого типа обычно разбиты на страницы, а текст может быть форматированным (жирный, курсив, выбор шрифта, таблицы и т.п.), а также в него можно добавлять изображения. Формат идеально подходит для рефератов, докладов и РПЗ курсовых проектов, которые необходимо распечатать. Кстати перед печатью также сохраняйте файл в PDF, так как принтер может начудить со шрифтами.
















