125035 (577811), страница 2
Текст из файла (страница 2)
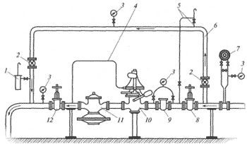
Газораспределительный пункт устроен следующим образом: газ из сети высокого или среднего давления поступает в фильтр, где происходит его очистка от механических примесей. После этого он попадает в регулятор давления, который снижает давление до заданной величины. Перед регулятором давления устанавливается предохранительный клапан, назначение которого - автоматически прекращать поступление газа в сеть низкого или среднего давления при повышении давления сверх заданного.
Для замера давления в газопроводе до ГРП и после него устанавливают технические или самопишущие манометры. Технические манометры, кроме того, помещают до и после фильтра, чтобы по разности показаний можно было бы судить о степени их загрязненности. Регуляторы давления с присоединенным к нему оборудованием снабжаются обводной линией на случай замены или ремонта оборудования.
При выборе шкафов и установок базовыми являются рабочие параметры, обеспечиваемые регулятором давления газа входное и выходное давление, пропускная способность поэтому следует руководствоваться выбором регуляторов давления. При этом не следует забывать, что выходные параметры шкафов и установок отличаются, порой существенно, от выходных параметров регуляторов.
Монтаж оборудования ГРП включает в себя:
- вварку в газопровод фасонных частей, узлов, арматуры и прочих устройств, должна быть обеспечена соосность ввариваемых элементов с газопроводом,
- монтаж внутреннего газооборудования после выполнения:
устройства отверстий, каналов и борозд для прокладки газопроводов в фундаментах, стенах, перегородках и перекрытиях,
- установку газового оборудования, газовых приборов, присоединении их к газовым сетям и отопительным системам, а также установка автоматики и контрольно-измерительных приборов, прокладка импульсных газопроводов,
- установку запорной арматуры (вентили, краны, задвижки и затворы поворотные, гидрозатворы на газопроводах низкого давления, предусматриваемые для систем газоснабжения в качестве запорной арматуры отключающих устройств), приборов и других технических изделий,
- монтаж электрооборудования приводов и других элементов трубопроводной арматуры согласно требованиям взрывобезопасности,
- установку закрывающего клапана, ПЗК (полное закрытие клапана) применяется в ГРП (ГРУ) для прекращения подачи газа к потребителям при недопустимом повышении и понижении контролируемого давления газа. Давление, при котором происходит полное закрытие клапана, устанавливается соответствующим стандартом или техническими условиями на изготовление клапанов, утвержденными в установленном порядке,
- установка фильтров в ГРП для защиты регулирующих и предохранительных устройств.
Монтаж газопровода:
Газовая сеть состоит из газопроводов различного назначения; узлов редуцирования газов — распределительных пунктов (ГРП), распределительных станций (ГРС), индивидуальных регуляторов давления, обеспечивающих постоянство давления у приборов. В зависимости от назначения различают газовые сети: распределительные, предназначенные для подачи газа от ГРС и ГРП к местам потребления, и вводы в здания и сооружения, по которым газ поступает непосредственно к потребителям. Внутри зданий (сооружений) газ распределяется по внутренним газопроводам. Газ по газовым сетям подаётся под определённым давлением, в зависимости от которого различают: газовые сети низкого давления — до 0,05 кгс/см2 (5 кн/м2); среднего — от 0,05 до 3 кгс/см2 (5—300 кн/м2); высокого — от 3 до 6 кгс/см2 (300—600 кн/м2) и высокого — от 6 до 12 кгс/см2 (600—1200 кн/м2).
Особенности монтажа подводящего газопровода в том, что от стабильности и качества его работы полностью зависит функционирование всей системы газового снабжения.
- Ещё одной специфичной чертой подводящего газопровода является его местонахождение. Основные узлы и агрегаты котельной расположены внутри помещения, в то время как газопровод находится снаружи, что предъявляет к нему повышенные требования в области безопасности и защищенности от несанкционированного вмешательства в работу. При этом должна быть стопроцентная уверенность в изначальном качестве, то есть, отсутствии слабых мест в сварочных швах и конструкциях.
Монтаж газопровода начинается с его изготовления, которое происходит в заводских условиях, следуя замерно-монтажным картам и сделанным эскизам. Его прокладка осуществляется открыто. В основном трубы соединяются сваркой. Соединения фланцевые и резьбовые допустимы в местах установки компенсаторов, отключающих устройств, регуляторов давления, контрольно-измерительных приборов и горелок к газопроводу. В местах его прохода через перегородки и перекрытия их заключают в гильзы из обрезков стальных труб. Гильза должна быть выше отметки чистого пола на 50 мм и на 5 мм выходить из плоскости потолка, при этом не допускается располагать стыки систем на участках, заключенных в гильзы.
При строительстве газопровода необходимо делать его точный расчет пересечения с другими коммуникациями. Его уклоны от стояка в сторону ввода и приборов должны составлять 2-5 мм на 1 м труб. Приборы и оборудование необходимо закрепить специальными хомутами или крючьями, при помощи подмесок и кронштейнов.
При прокладке газопровода резьбовые соединения уплотняются с помощью льняной пряжи со свинцовой суриковой замазкой, замешенной на натуральной олифе. Краны на данной системе к бытовым приборам устанавливают натяжные, бронзовые, пробковые, допускающие поворот пробки на 90°. Сальники набивают асбестовым шнуром, пропитанные графитом, который замешан на минеральном масле. Прокладки должны быть паронитовыми. Запрещается между фланцами устанавливать скошенные, разрезные прокладки и одновременно несколько прокладок. Повороты газопроводов диаметром до 100 мм выполняют гнутыми, а диаметром более 100 мм - сварными в соответствии с нормами. Стояки в жилых домах размещают в кухнях; в жилых помещениях, санитарных узлах и ванных комнатах их монтаж запрещается.
Из газораспределительных пунктов газ через вводы поступает в здания. Для жилых зданий газопроводы проектируют с цокольными вводами в лестничные клетки или кухни. Цокольный ввод монтируют из стальных бесшовных горячекатаных труб с минимальной толщиной стенки 3,5 мм.
При прокладке наружного газопровода в земле задвижку устанавливают на высоте не более 1500 мм от уровня земли с устройством металлического навесного шкафа; При устройстве цокольного ввода с прокладкой труб по наружным стенам здания задвижку монтируют на той же высоте без металлического шкафа. Головку шпинделя задвижки выводят в уровень с покрытием двора и помещают в металлическом колпаке. Для предохранения шпинделя от повреждений на него надевают футляр из трубы. Диаметры вводов определяют в зависимости от того, какое количество газа потребляется. Наименьший диаметр 50 мм. Трубы укладывают с уклоном не менее 0,003 в сторону наружной магистрали.
Расстояние между трубами газовой сети и магистрали водопровода, теплосети, канализации по вертикали должно быть не менее 0,15 м, а между газопроводами и электрическими и телефонными кабелями— не менее 0,5 м.
Газопроводы из стальных труб, укладываемые в грунт, нужно предварительно покрыть изоляцией для предохранения их от коррозии. Отдельные участки трубопровода соединяют между собой сваркой. После опрессовки газопровода места сварных стыков изолируют непосредственно в траншее.
Вводы газопроводов в жилые и общественные здания полагается устраивать в нежилых, доступных для осмотра газопроводов, помещениях (лестничных клетках, кухнях, коридорах). При прокладке газопровода с другими коммуникациями его необходимо располагать ниже других трубопроводов или на одном уровне с ними, причем взаимное расположение должно быть таким, чтобы их удобно было осматривать и ремонтировать.
Прокладка стояков и внутренней сети газопровода в жилых комнатах не допускается.
Газовые стояки монтируют из стальных неоцинкованных водогазопроводных труб на резьбе или на сварке. При проходе через перекрытия стояки прокладывают в гильзах из обрезков труб большего диаметра, которые устанавливают нижним концом в уровень с потолком. Выше пола гильзы должны выступать на 50 мм, чтобы при мытье полов в гильзу не затекала вода. Пространство между гильзой и трубой частично заделывают смоляной прядью, а незаделанное пространство шириной 10 мм заливают битумом. В футляре не должно быть резьбовых или сварных соединений.
В зависимости от расположения квартир газовые стояки обслуживают одну или несколько квартир в каждом этаже. На каждом ответвлении в квартиру устанавливают пробковый кран, а за краном - сгон.
Газопроводы в зданиях рекомендуется прокладывать открыто. Скрытая прокладка газопроводов допускается в бороздах стен, закрытых легкосъемными щитами. Каналы должны иметь вентиляцию. Газопроводы не должны пересекать оконные и дверные проемы. В местах прохода людей газопроводы надо располагать на высоте не менее 2 м от пола.
Опоры необходимо также устанавливать на поворотах, ответвлениях и у арматуры.
Не допускается прокладка газопроводов через вентиляционные каналы, шахты и дымоходы.
Газопроводы предприятий промышленности:
- устройство межцеховых и цеховых газопроводов разрешается при наличии проекта, выполненного в соответствии с настоящими Правилами и утвержденного директором предприятия.
Межцеховые газопроводы:
Прокладка межцеховых газопроводов должна осуществляться преимущественно надземным способом - на несгораемых эстакадах, мачтах, столбах или кронштейнах, укрепленных на стенах производственных зданий I и II степени огнестойкости, относимых по степени пожарной опасности к категориям Г и Д «Противопожарных норм строительного проектирования промышленных предприятий и населенных мест» (Н 102-54). Допускается подземная прокладка газопроводов в траншеях, засыпаемых грунтом, с соблюдением требований настоящих Правил.
Подземные стальные газопроводы должны очищаться и покрываться противокоррозийной битумной изоляцией в соответствии с указаниями, разработанными проектной, организацией.
Надземные газопроводы после очистки должны грунтоваться свинцовым суриком и окрашиваться масляной краской:
- кислородопроводы - в голубой цвет,
- ацетиленопроводы - в белый цвет,
- трубопроводы для нефтегаза - в серый цвет и
- трубопроводы других горючих газов - в красный цвет. При наличии тепловой изоляции окраска газопровода производится по наружной тканевой оклейке изоляции. Тепловая изоляция должна выполняться из несгораемых материалов.
Цеховые газопроводы:
Цеховые газопроводы, как правило, прокладываются открыто, по стенам или колоннам здания. В тех случаях, когда по местным условиям газопроводы не могут быть проложены по стенам или колоннам, допускается производить их прокладку в непроходных каналах, засыпаемых песком и перекрываемых съемными несгораемыми плитами. Допускается совместная прокладка кислородопроводов и ацетиленопроводов в одном канале при условии устройства разделительной стенки и засыпки обоих отделений канала песком.
Прокладка магистральных газопроводов:
Газопроводы низкого и среднего давлений можно прокладывать по наружным стенам жилых и общественных зданий не ниже IV степени огнестойкости и газопроводы всех давлений - по отдельно стоящим несгораемым колоннам (опорам).
При прокладке газопроводов совместно с трубопроводами, по которым транспортируются коррозионно-активные жидкости, последние должны располагаться сбоку или ниже газопровода на расстоянии не менее 250 мм. При наличии на трубопроводах с коррозионно-активными жидкостями фланцевых соединений обязательно устройство защитных козырьков, предотвращающих попадания этих жидкостей на газопроводы.
Часто при прокладке газопроводов встречаются теплофикационные каналы, колодцы и другие подземные сооружения. В этом случае приходится делать обводки газопровода, а при возможности - пересекать эти сооружения. Пересечения всегда делают в футляре из трубы большого диаметра. Концы футляра заделывают смоляным канатом и битумом. Газопроводы прокладывают в футлярах также при пересечении железных дорог, путей трамвая и магистральных автодорог. При укладке газопроводов в зоне мерзлого грунта следует учитывать возможность пучения грунта.
При проектировании газопроводов необходимо достаточно точно учесть влияние грунта и предусмотреть защиту от почвенной коррозии.
Газопроводы должны выдерживать динамические нагрузки от интенсивного движения транспортера.















