122990 (577512)
Текст из файла
1. История развития газовой промышленности Республики Беларусь. Единая система газоснабжения и ее структура
С начала газификации Республики Беларусь в 1958 году Правительством БССР был создан центральный орган государственного управления развития газификации республики – Главное управление по газификации при Совете Министров БССР (Главгаз БССР), куда на правах юридических лиц вошли областные и г. Минска газовые хозяйства.
В 1978 году Главгаз БССР был преобразован в Государственный комитет по газификации при Совете Министров БССР (Госкомгаз БССР) с теми же административными и имущественными функциями.
В 1988 году Госкомгаз БССР и Министерство топливной промышленности БССР решением Правительства БССР были объединены и преобразованы в Государственный комитет по топливу и газификации (Госкомтопгаз БССР) с вхождением в его состав находящихся в ведении указанных органов государственного управления организаций, обладающих правом юридического лица.
Постановлением Совета Министров Республики Беларусь от 13 апреля 1992 года №204, а также решением трудовых коллективов организаций Госкомтопгаза БССР был организован Белорусский концерн по топливу и газификации (концерн «Белтопгаз), который осуществлял свою деятельность на основании учредительных документов по административному, имущественному и хозяйственному управлению всех входящих в его состав государственных организаций. Согласно Указу Президента Республики Беларусь от 24 сентября 2001 года №516 концерн «Белтопгаз» подчинён Министерству энергетики Республики Беларусь, которое утвердило его устав в новой редакции. В настоящее время концерн «Белтопгаз» преобразован в Государственное производственное объединение по топливу и газификации «Белтопгаз».
Успешное функционирование и развитие производственных сил, а также повышение жизненного уровня населения Беларуси в значительной степени зависит от состояния топливно-энергетического комплекса. Именно поэтому особую актуальность и значимость приобретает надежное и эффективное энергоснабжение всех отраслей экономики, обеспечивающих производство конкурентоспособной продукции и достижение высоких стандартов уровня и качества жизни населения при сохранении экологически безопасной среды.
На сегодняшний день самым эффективным, экологически чистым и наиболее дешевым видом топлива является природный газ, за счет которого возможно удовлетворение существующих потребностей республики, а также прирост потребления или замещение выбывающих видов топлива. Поэтому он занимает особое место в структуре топливно-энергетического баланса Беларуси – практически все отрасли экономики используют его в своей деятельности.
Бесперебойное газоснабжение в Беларуси, а также транзит природного газа через территорию страны обеспечивает ОАО «Белтрансгаз».
«Белтрансгаз» занимает присущую только ему нишу в социально-экономическом развитии республики. Созданное еще в рамках единой газотранспортной системы СССР, предприятие стало основой для становления газовой отрасли независимой Беларуси, газификации ее населенных пунктов, дало мощный импульс развитию энергетики и многих других отраслей экономики республики.
2. Схемы межцеховых газопроводов
Межцеховые газопроводы в зависимости от планировки предприятия, насыщенности его территории подземными и надземными коммуникациями, степени осушенности газа и ряда других факторов могут быть подземными и смешанными. На предприятиях чаще отдают предпочтение надземной прокладке межцеховых газопроводов. Так как они в этом случае не подвержены подземной коррозии, более доступны для осмотра и ремонта, менее опасны при утечках газа и экономичнее подземных.
Надземные газопроводы прокладывают на опорах, эстакадах, по огнестойким наружным стенам и перекрытиям зданий с производствами не пожароопасной категории. Высота прокладки надземных газопроводов до низа трубы принимается, м, не менее: в местах прохода людей – 2,2; на участках без проезда транспорта и прохода людей – 0,6; над автодорогами – 4,5; над трамвайными путями и железными дорогами – 5,6 – 7,1. Под линиями электропередач в зависимости от напряжения в них газопровод прокладывают на расстоянии от 1 до 6,5 м и заземляют.
Схема промышленной системы газоснабжения в случае непосредственного присоединения к городским сетям низкого давления показана на (рис. 1). Данную схему проектируют для небольших коммунальных и промышленных предприятий. Это объясняется, во-первых, малой пропускной способностью сетей низкого давления, а во вторых тем, что переменный режим потребления газа предприятием будет отрицательно сказываться на режиме давлений у газовых приборов жилых зданий, присоединенных к той же сети низкого давления.
Из городской распределительной сети низкого давления газ через задвижку 1 поступает в межцеховой газопровод 2. У небольших предприятий протяженность межцеховых газопроводов обычно невелика, поэтому на ответвлениях от основного газопровода к цехам отключающие устройства можно не устанавливать.
Рис. 1 Схема газоснабжения небольшого промышленного предприятия, присоединенного к городской сети низкого давления
1-отключающее устройство (задвижка), 2 – межцеховой газопровод, 3 – ответвление к цеху, 4-отключающее устройство на вводе в цех, 5-пункт измерения расхода газа (ПИРГ), 6-внутрицеховые газопроводы, 7-главное отключающее устройство перед агрегатами, 8-кран на продувочном газопроводе, 9-продувочный газопровод, 10-штуцер с краном и пробкой для взятия пробы.
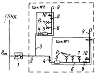
Рис. 2 Схема межцехового газопровода среднего давления с центральным пунктом измерения расхода газа и цеховыми ГРУ среднего и низкого конечных давлений
1,5 – отключающие устройства в колодце, 2-центральный пункт измерения расхода газа, 3-межцеховой газопровод, 4-сборник конденсата, 6-отключающее устройство в мелком колодце, 7-шкафная установка РД, 8-цеховая ГРУ среднего конечного давления, 9-цеховая ГРУ низкого конечного давления, 10 – ответвление газопровода к цеху (сборники конденсата устанавливают при использовании влажного газа).
Межцеховые газопроводы вводят в каждый цех, где в газорегуляторных установках давление снижается до необходимой величины. Из ГРУ газ поступает только в сети данного цеха. Расход газа учитывается в центральном пункте измерения расхода газа, а также в каждом цехе. Центральный ГРП отсутствует, а межцеховые газопроводы находятся под давлением городской распределительной сети.
3. Требования Правил технической безопасности в области газоснабжения РБ к ГРП (ГРУ)
Режим работы ГРП (газорегуляторные пункты), ГРУ (газорегуляторные установки) должны устанавливаться в соответствии с проектом.
Параметры настройки регуляторов давления в ГРП городов и населенных пунктов (комбинированных регуляторов) для бытовых потребителей не должны превышать 300 даПа (300 мм вод. ст.).
ПСК, в том числе встроенные в регуляторы давления, должны обеспечивать сброс газа при превышении максимального рабочего давления после регулятора не более чем на 15%.
Верхний предел срабатывания ПЗК не должен превышать максимальное рабочее давление газа после регулятора более чем на 25%.
При наличии в ГРП дополнительной линии редуцирования регулятор давления на ней настраивается на давление на 10% ниже, а ПЗК – на 10% выше, чем на основной линии.
Параметры настройки оборудования ГРП, ГРУ, газоиспользующих установок промышленных, сельскохозяйственных производств, отопительных котельных и других организаций, а также промежуточных ГРП должны устанавливаться проектом и уточняться при пусконаладочных работах.
Не допускается колебание давления газа на выходе из ГРП (ГРУ), превышающее 10% рабочего давления. Неисправности регуляторов, вызывающие повышение или понижение рабочего давления, неполадки в работе предохранительных клапанов, а также утечки газа должны устраняться в аварийном порядке.
Газ по обводной линии допускается подавать только в течение времени, необходимого для ремонта оборудования и арматуры, а также в период снижения давления газа перед ГРП или ГРУ до величины, не обеспечивающей надежную работу регулятора давления. Работа должна выполняться бригадой рабочих в составе не менее двух человек под руководством специалиста.
Температура воздуха в помещении, где установлены оборудование и средства измерения, должна быть не ниже предусмотренной в паспортах завода – изготовителя оборудования и КИП.
Снаружи здания ГРП, вблизи ограждения ГРУ на видном месте, должны быть предупредительные надписи: «Газ. Огнеопасно».
При эксплуатации ГРП и ГРУ должны выполняться:
осмотр технического состояния в сроки, устанавливаемые инструкцией, обеспечивающие безопасность и надежность эксплуатации;
проверка параметров срабатывания ПЗК и ПСК не реже 1 раза в 3 месяца, а также по окончании ремонта оборудования;
техническое обслуживание – не реже 1 раза в 6 месяцев;
текущий ремонт – не реже 1 раза в год, если завод – изготовитель регуляторов давления, предохранительных клапанов, телемеханических устройств не требует проведения ремонта в иные сроки;
капитальный ремонт – при замене оборудования, средств измерений, отопления, освещения и восстановлении строительных конструкций здания на основании дефектных ведомостей, составленных по результатам осмотров и текущих ремонтов.
При осмотре технического состояния ГРП (ГРУ) путем обхода должны выполняться:
проверка по приборам давления газа до и после регулятора, перепада давления на фильтре, температуры воздуха в помещении, отсутствия утечки газа с помощью прибора или мыльной эмульсии;
контроль за правильностью положения молоточка и надежности сцепления рычагов или положением рукоятки взвода ПЗК;
смена картограмм регистрирующих приборов, прочистка и заправка перьев, завод часового механизма. Проверка исправности манометров (показывающих, регистрирующих, дифференциальных и тому подобных) путем кратковременного их отключения и посадки на «нуль» – не реже 1 раза в 15 дней;
проверка состояния и работы электроосвещения, вентиляции, системы отопления, визуальное выявление трещин и не герметичности стен, отделяющих основное и вспомогательное помещения;
внешний и внутренний осмотр здания. При необходимости – очистка помещения и оборудования от загрязнения.
Осмотр технического состояния (обход) ГРП должен, как правило, проводиться двумя рабочими.
Обход ГРП, оборудованных системами телемеханики, оснащенных сигнализаторами загазованности с контролируемым выводом сигнала, шкафных регуляторных пунктов ГРУ допускается производить одним рабочим.
Организациям, эксплуатирующим объекты газораспределительной системы, разрешается производить обход ГРП одним рабочим из числа постоянного состава персонала подразделений. В этом случае должна разрабатываться специальная инструкция, определяющая дополнительные меры безопасности.
При проверке степени засоренности фильтра максимальный перепад давления газа на нем не должен превышать величины, установленной заводом-изготовителем, но быть не более 10 кПа (1000 мм вод. ст.).
Разборка и очистка кассеты фильтра должна производиться вне помещения ГРП (ГРУ) в местах, удаленных от легковоспламеняющихся веществ и материалов на расстоянии не менее чем 5 м.
При настройке и проверке параметров срабатывания предохранительных клапанов не должно изменяться рабочее давление газа после регулятора.
Настройку и проверку параметров срабатывания допускается выполнять с помощью регулятора давления, если верхний предел срабатывания предохранительного клапана не превышает максимального рабочего давления.
В тупиковых газораспределительных системах сбросные предохранительные клапаны ГРП (ГРУ) должны обеспечивать их срабатывание раньше срабатывания ПЗК. В системах закольцованных газопроводов (сетей) сбросные предохранительные клапаны ГРП (ГРУ) должны обеспечивать их срабатывание после срабатывания ПЗК.
При техническом обслуживании ГРП, ГРУ должны выполняться:
проверка хода и герметичности запорной арматуры и предохранительных клапанов;
проверка герметичности всех соединений, устранение утечек газа, осмотр фильтра;
смазка трущихся частей и перенабивка сальников;
определение чувствительности мембран регуляторов давления и управления;
продувка импульсных трубок к КИП, ПЗК и регулятору давления;
проверка параметров настройки ПЗК и ПСК.
Характеристики
Тип файла документ
Документы такого типа открываются такими программами, как Microsoft Office Word на компьютерах Windows, Apple Pages на компьютерах Mac, Open Office - бесплатная альтернатива на различных платформах, в том числе Linux. Наиболее простым и современным решением будут Google документы, так как открываются онлайн без скачивания прямо в браузере на любой платформе. Существуют российские качественные аналоги, например от Яндекса.
Будьте внимательны на мобильных устройствах, так как там используются упрощённый функционал даже в официальном приложении от Microsoft, поэтому для просмотра скачивайте PDF-версию. А если нужно редактировать файл, то используйте оригинальный файл.
Файлы такого типа обычно разбиты на страницы, а текст может быть форматированным (жирный, курсив, выбор шрифта, таблицы и т.п.), а также в него можно добавлять изображения. Формат идеально подходит для рефератов, докладов и РПЗ курсовых проектов, которые необходимо распечатать. Кстати перед печатью также сохраняйте файл в PDF, так как принтер может начудить со шрифтами.
















