122947 (577509)
Текст из файла
ВВЕДЕНИЕ
Зольная пыль является наиболее важным из продуктов сгорания угля, составляя почти 70% от их общего количество. В Европе каждый год около 6 млн. тонн кремнистой зольной пыли используется в качестве добавки к цементу, заменяя часть цемента для производства бетона. Столь большое количество объясняется более чем 50-летним опытом использования зольной пыли в производстве бетона в некоторых европейских странах.
Глава 1. ОСНОВНЫЕ НАПРАВЛЕНИЯ ИСПОЛЬЗОВАНИЯ ЗОЛЬНОЙ ПЫЛИ
1.1 Использование зольной пыли в производстве бетона
Зольная пыль является наиболее важным из продуктов сгорания угля, составляя почти 70% от их общего количество. В Европе каждый год около 6 млн. тонн кремнистой зольной пыли используется в качестве добавки к цементу, заменяя часть цемента для производства бетона. Столь большое количество объясняется более чем 50-летним опытом использования зольной пыли в производстве бетона в некоторых европейских странах.
Технические преимущества, особенно в отношении обрабатываемости и долговечности, а также длительный опыт привели к признанию этого материала в качестве строительного сырья. Главным условием для такого признания было доступность зольной пыли постоянного качество. Чтобы удовлетворить растущий спрос но зольную пыль но рынке бетона в сезон строительство, были установлены бункера для хранения и системы обогащения. Для использования в качестве добавки к бетону зольная пыль должна отвечать требованиям европейского стандарта EN 450 "Зольная пыль для бетона". Этот стандарт, впервые опубликованный в 1994 г. и исправленный в 2005 г., относится к кремнистой зольной пыли, получаемой при сжигании пылевидного угля.
1.2 Производство и характеристики кремнистой зольной пыли
Зольная пыль получается но электростанциях, работающих на сжигании угольной пыли. Уголь, измельченный на угольных мельницах до пылевидного состояния, подается с помощью сжатого воздуха но пылеугольные горелки и сжигается в полностью контролируемом процессе при высокой температуре до 14000С (котлы с сухим золоудалением). В некоторых странах используются также котлы с водяным золоудалением, где при температуре сжигания, достигающей 16000С, образуются сферические частицы с большим количеством аморфного материала. Полученное тепло нагревает воду в пароводяном тракте, и вырабатываемый пор приводит в действие турбину.
Во время сжигания меньшая часть угольной золы падает на дно печи, откуда оно удаляется как зольный остаток. Большая часть, примерно 90% мелкой золы, уносится дымовыми газами и проходит через катализатор DENOX до электростатического фильтра, где более 99,9% золы отделяется от дымовых газов и с помощью сжатого воздуха направляется в бункер. Топочный газ после этого пропускается через установку десульфуризации дымовых газов (FGD), где производится гипс FGD, и поступает в трубу. Чистый' газ, уже не содержащий азота, пыли и десульфуризованный, выходит через трубу в атмосферу.
Для определения возможности использования зольной пыли в связанных с цементом применениях определяются характеристики золы, то есть физические характеристики - гранулометрический состав, плотность и объемная плотность, и минералогический, о также химический состав.
Зольная пыль из котлов с сухим золоудалением представляет собой чрезвычайно мелкозернистый материал от светло-серого до средне-серого цвета.
Его плотность обычно находится в диапазоне между 2,0 и 2,6 кг/дм', объемная плотность - от 0,7 до 1,1 кг/дм'. По минералогическому составу зольная пыль содержит алюмосиликатное стекло с вкраплениями кварца, муллита, гематита и магнетита. Кристаллическая доля составляет от 5 до 25% массы.
По химическому составу зольная пыль содержит более 80% по массе 5Si02, АI2Оз и Fе20з. Количество СаО меньше 1 0% по массе. В отношении содержания несгоревших материалов (<5 - 7% по массе) должны выполняться требования стандарта EN 450 по предельному содержанию свободной извести (<1 % по массе), серы (<3% по массе, как S03) и хлора (<о, 1 % по массе).
1.3 Преимущества использования зольной пыли в бетоне
Использование зольной пыли в качестве добавки к бетону оказывает реологическое и заполняющее воздействие на свежеуложенную бетонную смесь. Кроме того, прочность и долговечность затвердевшего бетона повышаются благодаря пуццелановой реакции, ведущей к образованию более плотной структуры.
Изобретение относится к способу обработки зольной пыли и шлама очистки сточных вод, способу получения легкого заполнителя и легкому шарообразному пористому заполнителю.
Зольная пыль является побочным продуктом, полученным при сжигании угля и особенно пылевидного битуминозного угля. Углесжигающие электростанции обычно производят очень большое количество зольной пыли, которую необходимо удалить приемлемым для окружающей среды способом. В процессе обработки зольной пыли типичным приемом является нагрев смеси зольной пыли, и этот нагрев часто осуществляется во вращающейся обжиговой печи.
Шламы сточных вод являются побочным продуктом очистки сточных вод. Шлам представляет собой твердые плотные частицы осадка, накопленные и затем отделенные от струи жидкости в течение различных этапов процесса очистки сточных вод. Шлам может быть от первичного или повторного осаждения или активным илом. Шлам может быть в виде необработанного канализационного ила, вываренного шлама или обезвоженного шлама. Характеристики шлама очень зависят от стадии обработки, из которой их извлекают, а также от того проведена ли такая обработка, как вываривание. Однако общей характеристикой шлама является то, что он содержит значительное количество органического вещества.
Шлам обычно уничтожают сжиганием с последующим захоронением инертной золы в почве, образованием лагун и насыпей, разбрасыванием по почве как удобрение или для кондиционирования грунта и сбрасыванием в океан, там где это возможно. Экономичное и безвредное для окружающей среды избавление как от зольной пыли, так и от шлама сточных вод представляет значительную проблему.
Полученная масса спекалась на проницаемом поле для образования твердого ячеистого брикета, который было бы удобно использовать как заполнитель для бетона. Другой способ избавления от шлама очистки сточных вод был предложен Бебстером (Webster et all) и др., в пат. США N 4028130, от 07.06.77, в котором вываренный шлам сточных вод смешивался с известью, зольной пылью и любым щелочноземельным металлом, сульфатами или грунтом для образования застывающей на воздухе структуры, которую можно разместить на открытом атмосфере участке, и которая через некоторое время вулканизируется, чтобы работать как земляная насыпь или как материал для фундамента (подошвы) дорог.
Патент США N 3600476 раскрывает способ производства легковесных заполнителей, которые по существу образуют окатыши из смеси зольной пыли и шлама сточных вод. В этом патенте не раскрывается обработка агломерированной смеси пропусканием через печь, используя параллельный поток горячего газа.
Наиболее близким способом является способ обработки зольной пыли и шлама очистки сточных вод, включающий смешивание зольной пыли и шлама очистки сточных вод, агломерирование смеси, нагрев агломерированной смесь во вращающейся обжиговой печи с получением шарообразного продукта и охлаждение полученного продукта (ЕВ 2142006).
Основной задачей, решаемой изобретением, является создание легковесного легкого заполнителя, образованного из обработанных и нагретых зольной пыли и шлама очистки сточных вод.
В смесь зольной пыли и шлама очистки сточных вод дополнительно вводят связующее в количестве до 20 мас.% (на сухое).
Агломерированная смесь перед нагреванием ее во вращающейся печи может быть высушена до содержания влаги менее 5 мас.%.
Сформулированная задача решается также за счет того, что в способе обработки зольной пыли и шлама очистки сточных вод, агломерирование смеси, нагрев агломерированной смеси во вращающейся обжиговой смеси с образованием пористого шарообразного продукта и извлечение его из печи, при смешивании используют шлам очистки сточных вод с высокой теплотворной способностью для замены более половины топлива, расходуемого на нагрев агломерированной смеси во вращающейся обжиговой печи до температуры ниже температуры плавления смеси.
Сформулированная задача решается также за счет того, что в способе получения легкого заполнителя, включающем смешивание зольной пыли и шлама очистки сточных вод, агломерирование смеси окомковыванием, нагрев окомкованной смеси во вращающейся обжиговой смеси и охлаждение, зольную пыль и шлам очистки сточных вод смешивают в количествах от 35 до 99 мас.% и от 1 до 65 мас.% (на сухое), соответственно, и нагрев осуществляют при пропускании окомкованной смеси через обжиговую печь параллельно потоку горячих газов в печи.
В смесь зольной пыли и шлама очистки сточных вод дополнительно может быть введено связующее в количестве до 20 мас.% (на сухое).
Агломерированную смесь перед нагревом ее во вращающейся обжиговой печи, сушат до содержания влаги менее 5 мас.%.
Окатыши перед сушкой могут быть покрыты порошком.
Температура во вращающейся обжиговой печи может равняться 800 - 1200oC.
Тепло отходящих газов утилизируют при сушке шлама перед смешиванием и при сушке окатышей. Тепло, удаляемое из окатышей в процессе охлаждения, используют для сушки окатышей.
Получаемый заявленным способом легкий заполнитель характеризуется плотностью 700 - 900 кг/м3.
Полученный окомкованный шаровидный продукт после охлаждения может быть использован как легковесный заполнитель для бетона, каменной кладки или в целях изоляции, может использоваться для других коммерческих целей, или же от него можно избавиться любым безвредным для окружающей среды и экономичным способом.
В зависимости от количества шлама в смеси сжигание органической части шлама обеспечит существенный вклад в общую тепловую энергию, необходимую для печи и для других стадий процесса. Шлам также приводит к значительной потере веса агломерируемой смеси за счет образования пор в заполнителе после улетучивания или сгорания органической части шлама в обжиговой печи.
Дополнительное снижение плотности заполнителя обеспечивается за счет разбухания гранул вследствие удерживания внутри гранул заполнителя газов от сгорания летучих органических веществ, связанного углерода и реакций кальцинации.
Смесь может содержать от 35 до 99% зольной пыли в сухом весе. Предпочтительнее, чтобы смесь содержала от 65 до 95% зольной пыли в сухом весе и от 5 до 35% шлама в сухом весе.
Важнейшими характеристиками обработки внутри вращающейся обжиговой печи являются параллельное движение окатышей и газа, размещение основной горелки на загрузочном конце печи, совершенно ровный температурный профиль вдоль всей длины печи, максимум температур газа порядка 800-1200oC в зонах сжигания и спекания в печи, и состав и скорость течения газа через печь, которые обеспечивают достаточную температуру, кислород и время выдержки для полного выгорания углерода и летучих органических компонентов.
Высокая тепловая энергия отходящих из печи газов позволяет использовать их для сушки агломерируемой смеси пыли и шлама или сушки шлама, предшествующей смешиванию его с зольной пылью.
Упомянутые выше и другие цели и преимущества изобретения поясняются дальнейшим подробным описанием предпочтительного способа выполнения изобретения.
Зольная пыль может изменяться по составу в зависимости от источника ее получения, а также может меняться и в случае получения ее из одного и того же источника в зависимости от специфических условий работы, практикуемых на силовой установке. Типичная зольная пыль, используемая в настоящем изобретении, представляет собой пыль, получаемую на нескольких углесжигающих электростанциях среднего Запада. Потери на обзоливание типичной зольной пыли составляют 0-20% и зольные пыли такого типа могут успешно использоваться. Однако, когда есть несколько источников зольной пыли, целесообразнее смешивать зольную пыль от различных источников для получения конечной смеси, имеющей потери на обзоливание порядка 5-10%. Химический состав золы в той же зольной пыли представлен в табл. 2. Шлам очистки сточных вод также широко меняется по составу и характеристикам. Также очень сильно меняется влажность в зависимости от уровня обработки на средствах обслуживания сточных вод. Примерами типичного шлама также являются шламы, полученные на средствах обслуживания сточных вод на верхнем среднем Западе. Перед смешиванием с зольной пылью влажность шлама должна быть уменьшена до такого уровня, чтобы влажность смеси пыли и шлама была пригодной для агломерации. В зависимости от исходной влажности такой, шлам досушивают общепринятыми и широко известными способами механической и термической сушки шлама.
Исходный высушенный шлам затем может требовать снижения крупности для разрушения любых твердых комков, образовавшихся в процессе сушки и способствования равномерному рассредоточению в смеси с зольной пылью.
Зольная пыль и шлам смешиваются на участке приготовления материала 10, который может включать дозированное или непрерывное смешивание. Влажность смешиваемых пыли и шлама должна быть порядка 5-25% для облегчения смешивания и последующей агломерации смеси. Пыль и шлам смешивают в соотношении около 35-99% пыли в сухом весе и около 1 - 65% шлама в сухом весе. Внутри эти пределов предпочтительным соотношением является около 65-95% пыли в сухом весе и около 5-35% шлама в сухом весе. Как свойственно агломерации, может быть необходимым и желательным добавлять такое связующее как бентонит для способствования образованию смешанных частиц. Такое связующее не должно превышать порядка 20% от общего сухого веса полученной смеси и предпочтительно не должно превышать 5%.
В зависимости от когезионной способности и целостности необработанной агломерируемой смеси в связующем может не возникнуть необходимости.
Смесь смешиваемых пыли и шлама со связующим или без него подается в первый агломератор 12, агломерирующий смесь в небольшие окатыши с диаметром порядка 1/8 - 3/4 дюйма (0,3175 - 1,905 см). Сырые окатыши, полученные в первом агломераторе. 12, подаются во второй агломерате 14, в котором сырые окатыши могут быть покрыты кроющим материалом для предотвращения спекания их друг с другом в процессе тепловой обработки во вращающейся обжиговой печи. Предпочтительно покрытие из зольной пыли с низкими потерями на обзоливание. Альтернативно в качестве покрытия могут использоваться доломит, известняк, портландцемент и другие материалы. В зависимости от тенденции спекания окатышей в обжиговой печи в покрытии может не быть необходимости.
Сырые окатыши с покрытием или без него затем сушат в сушилке 16, с подвижными решетками. Сырые окатыши высушивают до влажности менее 5%. Высушенные окатыши затем вводят во вращающуюся обжиговую печь 18. Высушенные окатыши поступают в тот же конец печи 18, через который снаружи через горелки 20 вводят топливо и воздух, либо воздух вводят через воздушные фурмы 22. Окатыши будут медленно перемещаться через наклонную вращающуюся обжиговую печь в том же направлении, в котором через печь движется поток горячих газов (т.е. в параллельном с потоком газов направлении), максимальная температура в печи должна быть в пределах 800-120oC, и температурный профиль по всей длине обжиговой печи должен быть относительно ровным (или плоским). Окатыши в печи затвердеют. Окатыши пройдут полное прокаливание и будут подвергнуты в различной степени пиролизу и спеканию. На наружной поверхности окатышей будет образовываться оболочка, задерживающая газы, образующиеся внутри окатышей, в результате чего окатыши раздуваются. Это формирует пористую внутреннюю часть (внутренность). Полученный продукт является шаровидным материалом с низкой плотностью, но с твердой и пористой структурой.
Обожженный продукт поступает в охладитель 24, который может охлаждаться водой или воздухом, для снижения температуры продукта до температуры, при которой затем он может транспортироваться и штабелироваться. Тепло из охладителя 24 может быть уловлено и использовано для различных технологических приемов, включая сушку сырых окатышей в сушилке с подвижными решетками.
Добавка шлама существенно увеличивает калорийность смеси в печи и значительно снижает количество внешнего топлива, такого как природный газ, который требуется для зажигания печи. В приведенной ниже таблице 5 приведено сравнительное содержание топлива в типичной смеси зольной пыли и шлама сточных вод в соотношении 65% и 35% соответственно в сравнении со 100% зольной пылью. Как будет показано, количество топлива в виде природного газа, которое необходимо добавить в печь для получения той же самой скорости продукта в коротких тоннах в час (короткая тонна = 907,18 кг) снижается до примерно 85% за счет использования смеси пыли и шлама в сравнении с полностью пылью. Кроме того отходящие из печи газы обладают значительной колорийностью, и эта тепловая энергия может использоваться для сушки шлама, предшествующей смешиванию, для сушки свежих окатышей и для утилизации энергии и других целей. Охладитель и/или отходящие из печи газы могут быть поданы в сушилку с подвижными решетками в качестве источника тепла для процесса сушки. Неиспользованные газы проходят газоочистку и выходят через выводную трубу 26.
На опытной установке проведены испытания различных смесей зольной пыли и шлама сточных вод, включая сравнительные тесты с пылью без шлама. Параметры работы печи также изменялись. Зольная пыль, использованная в каждой смеси, сама была смесью зольных пылей из различных источников. Соотношения различных компонентов в смесях пылей были выбраны с целью достижения определенного процентного содержания потерь на обзоливание. В тестах 1 и 2 процентное содержание потерь на обзоливание составило 10 и 12,8% соответственно. Для всех тестов с 3 по 18 процентное содержание потерь на обзоливание в дозирующем смесителе 30, который придает интенсивное аксиальное и радиальное движение материалу вибратором с высокой скоростью смешения.
Смесь поступала в лотковый окомкователь 32 с диаметром 101 см и глубиной 16,5 см, вращающийся со скоростью порядка 15 - 20 об/мин под углом 45o - 50o к горизонтали. Сырые шарики из первого лоткового окомкователя 32 поступали во второй лотковый окомкователь 34 с аналогичными характеристиками, и сухие покрывающие материалы, если это необходимо, подавались во второй лотковый окомкователь. Пробы агломерированного материала со стадии окомкования собирались и анализировались на влажность, насыпную плотность, количество 45,7 см шариков во фракции, прочность на сжатие в сухом и влажном состоянии и калибр для определения качества полученных сырых шариков. Параметры сырых шариков полученных в различных опытах, приведены в табл. 8.
Сырые окатыши поступали в решетчатую сушилку 36, утилизирующую текущий вниз к плотным частицам теплообменника поток газа. Нагрузочное поперечное сечение сырых окатышей 27,9 см в ширину, 15,2 см в глубину с длиной активной сушки 1,22 м и скоростью решетки менялась от 2,54 до 10,1 см/мин. Температура сушки поддерживалась в зоне 150-200oC. Технологический поток газа регулировался для поддержания влажности в осушаемых шариках ниже 5%.
Высушенные окатыши поступали во вращающуюся обжиговую печь 38 с внутренним диаметром 57,8 см и длиной 3,96 м. Подача осуществлялась в том же направлении, что и зажигание во вращающейся печи, так чтобы поток технологического газа перемещался в одном направлении с потоком твердых частиц. В загрузочном конце печи входящие из сушилки окатыши сначала сушились и подогревались, некоторые органические составляющие испарялись, и начиналось удаление горючих веществ. В следующей зоне испарялись оставшиеся органические вещества, обжигались негорючие вещества в окатышах, и полностью завершалась головка слоя. В последней греющей зоне плотные твердые частицы и газ в течение определенного времени обеспечивают высокие температуры, гарантирующие полный обжиг и последующее затвердевание окатышей.
Две горелки для природного газа 40 и две воздушные фурмы 42 размещены на загрузочном конце. Вторая горелка не использовалась во всех опытах. Печь работала со скоростью 2-3,9 об/мин для обеспечения времени выдержки порядка 30 - 60 мин. Уклон печи составлял 1,04 см/м. В таблице 7 представлены скорость работы печи, расход природного газа и температуры в четырех точках от Т-1 до Т-4 по длине печи.
В таблице 8 представлены значения теплотворной способности смесей, используемых в каждом опыте и насыпная плотность шариков и полученного шарообразного продукта.
Шарообразный продукт из печи передавался во вращающийся холодильник 44, внутренний диаметр которого равен 38,1 см и длина равна 3,66 м.
Вращающийся холодильник с косвенным охлаждением охлаждал плотные частицы до температуры ниже 65oC. Косвенное охлаждение являлось результатом прохождения тепла через стенки кожуха к постоянно увлажняемой наружной поверхности. Уклон холодильника также составлял 1,04 см/м и его скорость поддерживалась постоянной и равной 6 об/мин для обеспечения времени выдержки около 30 мин. Полученный гранулированный продукт анализировался на насыпную плотность и результаты этих опытов приведены в таблице 8.
Полученный на опытной установке продукт удовлетворяет стандарту А ТМ для легковесных заполнителей бетона (марка СЗЗ0), для легковесных заполнителей блоков кирпичной кладки (марка С331) и легковесных заполнителей бетонной изоляции (марка С332). Эти стандарты обеспечивают максимальную насыпную плотность порядка 880-112,2 кг/м3, в зависимости от степени распределения заполнителя в смеси.
Глава 2. ПОЛУЧЕНИЕ ПУЦЦОЛАНА ИЗ ЗОЛЬНОЙ ПЫЛИ
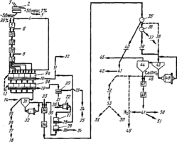
Процесс, разработанный В. Дж. Хёрстом используется для мокрой переработки зольной пыли с получением из нее ряда продуктов, имеющих большую стоимость, чем исходная зольная пыль, в том числе углеродного концентрата, фракции сферических пористых частиц, концентрата железа, пуццолана повышенной прочности и инертного минерального наполнителя.
Схема процесса приведена на рис. 1. Электростатическую зольную пыль, в мокром или сухом виде, подают на сито 2, где задерживаются и удаляются частицы более крупные чем 50 меш. Здесь, в частности, происходит удаление больших кусков углерода и других агломерированных частиц. Минерал, проходящий через сито размером 50 меш, подается в глиномялку 5, в которую добавляют воду до получений содержания твердого вещества 55 % или выше. Далее материал проходит через серию кондиционирующих или смесительных резервуаров 7а—7г. К суспензии в резервуаре 7о добавляют керосин в количестве 0,9 кг на тонну зольной пыли, что облегчает отделение углерода на следующей стадии пенной флотации.
Зольная пыль контактирует с керосином в резервуарах 7а—7г в общей сложности в течение 30 мин или более. Добавление пенообразователей в последний из резервуаров 7г позволяет улучшить выделение углерода из смеси. Пенообразователь можно добавлять в количестве 150 г на тонну зольной пыли.
Кондиционированный материал, содержащий керосин и частицы пенообразователя, подается в параллельно соединенные флотаторы 9а, где частицы углерода всплывают и отделяются. Отделение проводят обычным методом пенной флотации с использованием воздуха. В флотаторы добавляют воду для получения содержания твердого вещества не более 25 %. В первом всплыве, который может составлять =;2,5 % от общей массы сырья, выделяется 75—80 % всего имеющегося углерода. Получаемый продукт может быть использован в виде сажи. Для получения товарного продукта можно проводить сушку или фильтрование, измельчение и брикетирование.
Далее удаление угля проводят во флотаторах 96, которые последовательно соединены с 9а. При этом отделяется второй всплыв, который может составлять 4 %,от массы сырья. Эта фракция отбрасывается либо подвергается дальнейшей переработке. В процессе дальнейшего пенообразования частицы углеродного концентрата становятся все более мелкими, а содержание углерода снижается.
При добавлении на стадии подготовки к флотации диспергирующего агента гексаметафосфата натрия достигается более четкое отделение углерода. Однако некоторые другие обычные диспергирующие агенты оказывают обратное, действие на процесс отделения углерода. Так, например, для этой цели нельзя применять «Орзан S», поскольку он также является депрессором углерода.
Углерод, удаляемый из зольной пыли, в основном представляет собой пористый материал, который легко размалывается. При измельчении до величины частиц менее 1 мкм его можно использовать в качестве наполнителя и армирующего материала для резины.
Во флотаторах 9 происходит удаление основной части углерода, содержащегося в зольной пыли, что позволяет получать пуццолан повышенной прочности либо промышленный наполнитель, которые почти не содержат углерода (<1 %).
При просеивании отделенного материала через сито 20 размером 200 меш ~20 % исходного вещества удаляется в виде углерода 20—25 %-ной чистоты. Фракцию —200 меш из второго всплыва, которая проходит через сито 20, снова концентрируют, добавляя керосин, и измельчают в шаровой мельнице 22 с получением частиц очень малых размеров, в результате чего высвобождается захваченный углерод и после дополнительной обработки во флотаторах 27 и 29 получается обогащенная углеродом фракция, которую смешивают с концентратом, получаемым во флотаторах первой ступени. Указанная фракция составляет 0,5 % массы исходного сырья и содержит с~75 % С.
Данную фракцию отделяют во флотаторе 27, а всплыв из флотатора 29 направляют для дальнейшей обработки либо отбрасывают. Таким образом после флотации во флотаторах 9а и 96 получают остаточный материал с низким содержанием углерода и углеродный концентрат, являющийся продажным продуктом, количество которого составляет ~3 % от массы сырья.
Остаток, получаемый во флотаторе 9а, направляют в аппарат 31, в котором всплывают и отделяются сферические пористые частицы, являющиеся, после удаления углерода, наиболее легким компонентом зольной пыли. После отстаивания суспензии зольной пыли пористые частицы сгребают с поверхности, после чего подвергают фильтрации и сушке. Их количество составляет 0,3 % от общего количества сырья; для более полного отделения можно провести повторное перемешивание и отстаивание. Отделяемый продукт находит применение в качестве звукоизолирующего материала и легкого балластного материала. Сушку можно проводить в микроволновой печи.
Сферические пористые частицы важно удалить из продукта, особенно в случае получения пуццолана повышенной прочности, поскольку эти частицы неустойчивы и легко разрушаются, что приводит к уменьшению прочности получаемого материала.
После удаления пористых частиц часть материала из аппарата 31 подают в шаровую мельницу 32, где происходит его дальнейшее измельчение. При этом консистенция материала контролируется таким образом, чтобы весь продукт, выходящий из аппарата 31 содержал ~50 % твердого вещества. Этот продукт направляют в последовательно соединенные кондиционеры 34 и 34а. В кондиционер 34 также подают остаток из второго флотатора 29. В случае необходимости сюда же можно добавить подходящий диспергирующий агент; особенно целесообразно это в том случае, если конечный продукт подвергается сушке распылением. Однако диспергирующий агент можно и не добавлять.
Материал, выходящий из кондиционера 34а, подают в мокрый магнитный сепаратор, называемый также феррофильтр 25. Для отделения можно использовать несколько магнитных фильтров. Конструкция подходящего магнитного сепаратора описана в патенте США 2 074085.
При первом прохождении через магнитный сепаратор отделяется магнитная фракция с содержанием 50—80 % Fe203, составляющая ~12 % от общего количества зольной пыли. Отделяемый продукт с высоким содержанием железа брикетируют или направляют в плазменную дуговую печь для получения железных отливок. Он также может быть использован при разделении в тяжелых средах.
Немагнитную фракцию после первого феррофильтра обычно направляют во второй феррофильтр 36, где удаляется вторая магнитная фракция, составляющая 19 % от общего количества сырья. Если конечный продукт не должен содержать очень малых количеств железа, то нет необходимости во втором феррофильтре. На схеме этому случаю соответствует пунктирная линия 38, показывающая, что 83 % отделенного продукта подают непосредственно в сортировочный аппарат 43 и шаровую мельницу 48. Получаемый при этом материал может быть использован в качестве наполнителя.
Однако, для того чтобы получить пуццолан повышенной прочности, желательно использовать второй феррофильтр 36, в котором происходит удаление еще 20 % продукта с низким содержанием железа. Только после этого немагнитную фракцию направляют в сортировочный аппарат 43 и в шаровую мельницу 48. При этом получаемый пуццолан подвергается дальнейшему измельчению. На этой стадии может быть добавлен диспергирующий агент (например, 0,018—0,025 % лигносульфоната кальция).
Материал, выходящий из аппарата 43, направляют в концентратор 44, в котором происходит удаление воды и содержание твердых веществ в материале увеличивается до 40—50 % . Далее его смешивают в кондиционерах 47 и 49 с известью, подаваемой в количестве 2,2 кг на тонну твердого вещества. После кондиционера 49 продукт снова подвергают фильтрованию и сушке. В результате получают пуццолан повышенной прочности.
Пуццолан содержит <1 % углерода и обычно 6 % Fe03; содержание примесей может меняться в зависимости от происхождения сырья. Продукт, получаемый в концентраторе 44, может быть непосредственно использован как пуццолан повышенной прочности или как инертный минеральный наполнитель без дополнительной обработки известью. В обоих случаях получают продукт с очень малым размером частиц, похожий на каолиновую глину или цемент; высушенный продукт хранится в бункерах.
Глава 3. СПОСОБ ИЗГОТОВЛЕНИЯ ПЕСЧАНИСТОГО ПОРТЛАНДЦЕМЕНТА
Для компенсации снижения прочности увеличивают дисперсность цемента и микронаполнителя до 3500-4000 см2/г, что связано со значительными затратами, [1].
Наиболее близким к предлагаемому изобретению по технической сущности и достигаемому эффекту является способ приготовления пуццоланового портландцемента. Однородность смеси, состоящей из портландцементного клинкера, при принятой дозировке гипса и активных минеральных добавок получают путем совместного тонкого измельчения либо тщательным смешением тех же материалов, измельченных отдельно с удельной поверхностью 2500-3000 см2/г. После этого подают воду и окончательно перемешивают смесь. Добавки в присутствии воды связываются с известью, выделяющейся при гидратации портландцементной составляющей, и образуют устойчивые нерастворимые соединения. Полученное тесто укладывают в формы, которым в начальный период твердения цемента для нормального роста прочности необходимо обеспечить высокую влажность среды, [2].
Основными недостатками свойств пуццоланового портландцемента, изготовленного с помощью известного способа, являются высокая усадка при твердении в воздушно-сухих условиях, а значит и низкие трещиностойкость и прочность; низкая морозостойкость; малая скорость твердения в нормальных условиях; дефицитность активных минеральных добавок.
Цель достигается тем, что в известном способе приготовления пуццоланового портландцемента, включающем смешение портландцемента, активной кремнеземистой добавки с удельной поверхностью 2200-3200 см2/г и воды, в качестве активной минеральной добавки используют отход производства алюмосиликатного катализатора крекинга нефти в количестве 8-12% от массы пуццоланового портландцемента. Сопоставительный анализ заявляемого решения с прототипом показывает, что заявляемый способ отличается от известного тем, что, с целью увеличения прочности, трещиностойкости и морозостойкости при снижении затрат на его производства, в качестве активной минеральной добавки используют отход производства алюмосиликатного катализатора крекинга нефти в количестве 8-12% от массы пуццоланового портландцемента.
Наиболее крупномасштабным производством катализаторов нефтепереработки и нефтехимии являются катализаторные производства для процесса каталитического крекинга (40 тыс.т,/ год катализаторов различных марок), имеющие большой выброс вторичных продуктов и отходов (до 1 т на 1 т товарного продукта), что приводит к экологическим проблемам. Указанные отходы содержат в своем составе кремнезем, который связывается с гидроксидом кальция, выделяющимся при гидратации портландцемента, образуя низкоосновные гидросиликаты кальция, обуславливающие высокую прочность гидравлического вяжущего. Таким образом заявляемый состав соответствует критерию изобретения "Новизна". Известны технические решения [1], [2], в которых дисперсность инертной добавки в составе смешанного цемента существенно не влияет на прочность растворов и бетонов нормального твердения. Вместе с тем частицы микронаполнителя принимают участие в формировании микроструктуры цементного камня [1]. Зерна предварительно измельченной катализаторной крошки при формировании структуры цементного камня, являясь центрами кристаллизации продуктов гидратации, способствует его интенсивному затвердеванию. Сравнительно высокая морозостойкость полученного цемента объясняется тем, что измельченная катализаторная крошка, имеющая сильно развитую поровую структуру, активно влияет на влагосодержание цементного теста. На начальном этапе твердения зерна измельченной катализаторной крошки под влиянием градиента влажности поглощают избыток влаги из цементного теста, что способствует формированию плотной и непроницаемой структуры цементного камня. При проведении патентных исследований не были выявлены признаки, сходные с новыми признаками предлагаемого способа, что способствует о существенных отличиях предлагаемого способа от известных технических решений.
Измельченная до величины удельной поверхности 2200-3200 см2/г катализаторная крошка смешивается с портландцементом и водой в растворосмесителе в течение 2-3 мин, после чего смесь укладывают в формы.
Ввиду высокой морозостойкости полученный предлагаемым способом пуццолановый портландцемент можно применять для бетонных и железобетонных конструкций, для подземных и подводных сооружений. Эксплуатационные характеристики цементов определялись по стандартным методикам.
Экономическая эффективность предлагаемого способа заключается в том, что увеличение прочности пуццоланового портландецента позволяет снизить расход цемента.
5>1>1>Характеристики
Тип файла документ
Документы такого типа открываются такими программами, как Microsoft Office Word на компьютерах Windows, Apple Pages на компьютерах Mac, Open Office - бесплатная альтернатива на различных платформах, в том числе Linux. Наиболее простым и современным решением будут Google документы, так как открываются онлайн без скачивания прямо в браузере на любой платформе. Существуют российские качественные аналоги, например от Яндекса.
Будьте внимательны на мобильных устройствах, так как там используются упрощённый функционал даже в официальном приложении от Microsoft, поэтому для просмотра скачивайте PDF-версию. А если нужно редактировать файл, то используйте оригинальный файл.
Файлы такого типа обычно разбиты на страницы, а текст может быть форматированным (жирный, курсив, выбор шрифта, таблицы и т.п.), а также в него можно добавлять изображения. Формат идеально подходит для рефератов, докладов и РПЗ курсовых проектов, которые необходимо распечатать. Кстати перед печатью также сохраняйте файл в PDF, так как принтер может начудить со шрифтами.
















