63723 (573445)
Текст из файла
Автоматичні вимикачі
Автоматичний вимикач (автомат) - апарат, призначений для нечастих замикань і розмикань електричного кола й тривалого проходження по ньому струму, а також для автоматичного розмикання ланцюгів з появою в них короткого замикання, перевантажень по струму, спадання напруги нижче припустимого, зміні напрямку струму або потужності.
Застосування вимикачів замість плавких запобіжників дає наступні переваги:
- при перевантаженні або короткому замиканні вимикач відключає всі фази ланцюгів, що захищається їм, завдяки чому виключається можливість однофазної роботи трифазних двигунів;
- зменшуються простої, тому що ввімкнути той вимикач, що спрацював швидше, чим замінити згорілий запобіжник;
- вимикачі мають захисні характеристики спрацьовування, що забезпечують більш досконалий захист, чим плавкі запобіжники.
Разом з тим автоматичні вимикачі мають більш високу вартість, чим запобіжники. Залежно від призначення й необхідних параметрів автоматичні вимикачі розрізняють по потужності (струму), числу полюсів (одно-, двох- і триполюсні), виконанню захисних розчеплювачів, швидкодії і конструктивному виконанню.
До автоматів висувають наступні вимоги:
- струмоведучий ланцюг автомата повинен пропускати номінальний струм протягом якого завгодно тривалого часу, а також витримувати вплив більших струмів КЗ;
- автомат повинен забезпечувати без ушкоджень багаторазове відключення граничних струмів КЗ;
- для забезпечення електродинамічної й термічної стійкості енергоустановок, зменшення руйнувань, що викликаються струмами КЗ, автомати повинні мати малий час відключення;
- елементи захисту повинні забезпечувати необхідний час спрацьовування й селективність.
У будь-якому автоматі є наступні основні вузли: струмоведучий ланцюг, дугогасильна система, привід автомата, механізм вільного розчіплювання й елементи захисту - розчеплювачі.
Струмоведучий ланцюг. Найбільш важливою частиною струмоведучого ланцюга є контакти. При номінальних струмах до 200 А застосовується одна пара контактів, які для збільшення дугостійкості можуть бути облицьовані металокерамікою. При струмах більш , ніж 200 А часто застосовуються пари головних і дугогасильних контактів. Основні контакти облицьовуються сріблом або металокерамікою (срібло, нікель, графіт). Дугогасильні покриваються металокерамікою (срібло, вольфрам і срібло, нікель).
Дугогасильна система. В автоматах застосовуються напівзакрите й відкрите виконання дугогасильних пристроїв. В універсальних автоматах масового застосування широко використовується деіонна дугогасильна решітка зі сталевих пластин (рис. 1). У решітці на рис. 1.а) дуга виводиться на пластини й ділиться між ними за допомогою магнітного поля напруженістю Н, створюваного спеціальною системою, на короткі дуги. На рис.1.6) дуга втягується в решітку за рахунок електродинамічних зусиль, що виникають у контурі 1, 3, 2, і за рахунок зусиль, що діють на дугу, завдяки наявності феромагнітних пластин 5.
Рис. 1. Види дугогасильних решіток
Феромагнітні пластини застосовуються на постійному й змінному струмі частотою 50 Гц. У цьому випадку сила, що діє на дугу, переміщає її в решітку й перешкоджає виходу дуги з неї. Це є найбільшою перевагою феромагнітних пластин. При цьому дуга горить із мінімальним викидом іонізованих і нагрітих газів з дугогасильного пристрою. Недоліком дугогасильної решітки є згорання пластин у повторно-короткочасному режимі при струмі 600 А і більше. Для зменшення цього процесу пластини покривають міддю або цинком.
Приводи. Привод повинен забезпечити зусилля на контактах, необхідне для включення автомата у найважчому випадку - на існуюче КЗ. Приводи можуть бути ручні й електромеханічні. Ручні приводи застосовуються при номінальних струмах до 200 А. При струмах до 1 кА застосовуються електромагнітні приводи, що забезпечують необхідну швидкість зростання тиску в контактах. Недоліком електромагнітного привода є великі швидкості руху й удари в механізмі, які можуть призвести до вібрації контактів. В автоматах на струми 1500 А і вище бажане застосування електро-рухового привода.
Розчеплювачі. Розчеплювач - вузол автомата, що контролює заданий параметр і подає сигнал на відключення при відхиленні цього параметра від встановленого значення. Розрізняють такі конструкції розчеплювачів: теплове реле (біметалічна пластина), електромагнітний і напівпровідниковий.
Тепловий розчеплювач забезпечує захист електричних об'єктів у режимі теплового перевантаження. Біметалічна пластина нагрівається за рахунок проходження по ній струму, звивається й розриває ланцюг живлення електроустаткування. Однак ці розчеплювачі мають наступні недоліки:
- із зростанням струму відключення, збільшується зусилля, необхідне для розчеплення автомата;
- тепловий розчеплювач застосовується при струмах до 200 А;
- витримка часу теплових розчеплювачів залежить від температури навколишнього середовища;
- мала термічна стійкість теплових розчеплювачів визначає малу допустиму тривалість КЗ, що затруднює отримання необхідної селективності.
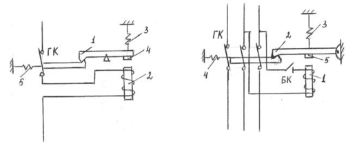
Електромагнітний розчеплювач забезпечує максимальний ( по струму КЗ) і мінімальний (по напрузі) захист. На рис.2 показана схема роботи максимального розчеплювача. При проходженні по ланцюгу котушки 2 електромагнітного розчеплювача номінального струму, пружина 3 утримує якір електромагніту 4 розімкнутим, а засувка 1 - головні контакти ГК - замкненими. При підвищенні струму в ланцюзі котушки 2 сила тяги електромагніту зростає до величини, що перевершує силу утримуючої пружини 3. Якір 4 замикає магнітний ланцюг електромагніту, звільняючи засувку 1 і розмикаючи ГК.
На рис. 3 показана схема роботи мінімального розчеплювача. При номінальній напрузі в ланцюзі котушки 1 електромагніту протікає струм, якого достатньо для створення сили тяги, щоб утримати якір 5 у притягнутому стані. При зниженні напруги в живильній мережі знижується струм у ланцюзі котушки 1. Сила утримуючої котушки 3 у якийсь момент перевершує силу тяги електромагніту 1, відриває якір 5 від котушки, розмикає засувку 2 і розмикаються ГК. Регулювання можна здійснювати за рахунок натягу пружини або зміною числа витків обмотки.
Рис. 2. Схема роботи мінімального та максимального розчеплювача
Більш досконалим є захист за допомогою напівпровідникових розчеплювачів, які широко використовуються у сучасних автоматах.
Конструкції автоматів по виду захисту діляться на автомати з електромагнітними, напівпровідниковими розчеплювачами (максимального струму); автомати з комбінованим розчеплювачем (електромагнітним і тепловим); автомати з розчеплювачем мінімальної напруги (нульовий захист).
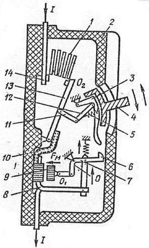
Розглянемо пристрій автомата з комбінованим розчеплювачем, рис. 4. Це можуть бути автомати типу АЕ-2000, А-3700, ВА й ін. Вручну включають і відключають автомат за допомогою рукоятки 4. Для включення автомата рукоятку переводять униз, при цьому деталь 3 повертається й своїм нижнім кінцем входить у зачеплення із зубом 6 утримуючого важеля 7. Потім рукоятку 4 переміщають нагору. При цьому під дією пружини 5 важелі 11 і 12 переміщуються нагору відносно нейтрального положення. Автомат включається і струм тече через замкнені контакти 13 і 14, гнучкий зв'язок 10, котушку електромагнітного розчеплювача й нагрівальний пристрій теплового розчеплювача 8. Автоматичне відключення при короткому замиканні відбувається внаслідок того, що якір електромагнітного розчеплювача під дією сили Fм притягується і зуб 6 виходить із зачеплення з деталлю 3. Пружина 5 повертає деталь 3, при цьому важелі 11 і 12 проходять через нейтральне положення – автомат відключається. Аналогічно відбувається відключення автомата при струмах перевантаження. При цьому вільний кінець біметалічного розчеплювача 8 переміщується вниз і зуб 6 виходить із зачеплення з деталлю 3. Ручне відключення автомата відбувається при переміщенні рукоятки 4 униз. При цьому кінець пружини 5 також переміщується вниз, а важелі 11 і 12 проходять через нейтральне положення, відключаючи контакти.
Рис. 4. Пристрій комбінованого автоматичного вимикача
Виникаюча при розмиканні контактів автомата електрична дуга гаситься в дугогасильній решітці 1. Підвищення тиску усередині замкненого об’єму, утвореного ізоляційною основою і кришкою 2, сприяє гасінню дуги. Електромагнітний розчеплювач максимального струму спрацьовує практично миттєво при досягненні струму відсікання (відсікання відбувається миттєво при десятикратному струмі й більше), а час спрацьовування теплового розчеплювача при перевантаженнях, менших струмах відсікання, визначається захисними характеристиками. Серія вимикачів складається із чотирьох величин (1, 2, 3, 4) на номінальні струми відповідно 160, 250, 400 і 630 А.
Розчеплювачі струмового захисту виконані на напівпровідникові (РН) і електромагнітних (РЕ) елементах. Вимикачі випускаються також і в неавтоматичному виконанні.
Великою перевагою цього вимикача є те, що як напівпровідникові, так і теплові розчеплювачі максимального струму явлюяться знімними блоками. По роду захисту вимикачі можуть бути призначені для селективного захисту (3 і 4 величини) і струмообмеження (усі величини). Параметри по струму і по часу спрацьовування напівпровідникових максимальних розчеплювачів можуть регулюватися в широких межах. Комутуючий пристрій складається з рухливих і нерухливих контактів з одним контактним проміжком, виготовлених з металокерамічної композиції на основі срібла. Дугогасильні камери з деіонною решіткою розташовані над контактами кожного полюса вимикача і являють собою набір закріплених в ізоляційній оправі сталевих пластин, за допомогою яких відбувається поділ дуги на ряд послідовно з'єднаних коротких дуг.
Механізм керування вимикачем виконаний за принципом ламких важелів і влаштований так, що забезпечує моментальне замикання й розмикання контактів при оперуванні вимикачем, а також моментальне розмикання контактів при автоматичному спрацьовуванні. Вимикачі випускаються з ручним або з дистанційним малогабаритним електромеханічним приводом.
ВА — автоматичні вимикачі загального застосування на номінальні струми до 630 А. Номенклатура вимикачів типу ВА надзвичайно широка. Технічні характеристики визначають дві цифри, що коштують після букв ВА. ВА-14 — для захисту електричних кіл загального й побутового призначення напругою до 380 В змінного струму частотою 50 і 60 Гц. Автомати одно-, двох-, триполюсні, з тепловим і електромагнітним розчеплювачем. ВА-16 - для захисту освітлювальних ланцюгів з номінальною напругою до 380 В змінного струму частотою 50 і 60 Гц.
Автомати однополюсні, з тепловим і електромагнітним розчеплювачами - неструмообмежуючі. ВА-51, ВА-52 - для захисту в режимах короткого замикання, перевантаженнях і неприпустимого зниження напруги в електричних установках з номінальним напругу до 660 В змінного струму частотою 50 і 60 Гц і до 400 В постійного струму. Можуть бути встановлені на висоті до 4300 м над рівнем моря.
Розчеплювачі електромагнітний і тепловий. ВА—53 - для захисту асинхронних двигунів від КЗ і перевантажень у ланцюгах з номінальною напругою до 660 В змінного струму частотою 50 і 60 Гц і 400 В постійного струму. Автомати з напівпровідниковим розчеплювачем - струмообмежуючі.
Сучасне суспільство вимагає надійного й безперебійного електропостачання. Завданням енергосистем є виробіток, передача й розподіл електроенергії необхідної якості й вартості з мінімальним ризиком для людей і навколишнього середовища.
Технічне обслуговування є вирішальним чинником. Найпоширеніша причина виводу підстанцій або їх частин з експлуатації — проведення технічного обслуговування окремих апаратів. Тому для досягнення оптимальної експлуатаційної готовності необхідно забезпечити планові відключення з перемиканням найважливіших споживачів на резервне живлення. Крім того, підстанція повинна бути спроектована таким чином, щоб проблеми ліквідації аварії в одній її частині не позначалися на інших частинах. Проблеми, через які потрібно безпосередньо від'єднувати цілі ділянки підстанцій, викликають незаплановані перебої в енергопостачанні.
За умови проведення необхідного технічного обслуговування комутаційне устаткування АББ має дуже низьку інтенсивність відмов. Найважливіші й механічно найбільш складні апарати на підстанції - вимикачі - останнім часом значно вдосконалювалися. Це стало можливим завдяки застосуванню в якості дугогасильного середовища елегазу замість стисненого повітря або масла, а також вдосконаленню привода і механізмів.
Завод АББ у г. Людвика, Швеція, є єдиним у світі виробником повної номенклатури високовольтного устаткування для підстанцій. Це дозволяє координувати габаритні розміри та інші параметри ще на стадії розробки устаткування, що спрощує проектування закінчених підстанцій. Компанія АББ має великий досвід монтажу високовольтних підстанцій. Конструкція підстанцій безупинно поліпшується, так само, як і конструкція, що входить до їх складу, апаратів.
У традиційній схемі підстанції вимикачі, через їхню механічну складність, постійно потребували технічного обслуговування. Завдяки вдосконаленню технологій протягом останніх 50 років, технічні характеристики вимикачів АББ значно покращилися. У результаті потреби у технічному обслуговуванні знизились настільки, що вимикач можна вважати, практично такими,що не обслуговуються. У традиційній схемі підстанції роз'єднувачі встановлювалися по обидва боки вимикача, щоб мати можливість виводити його на ремонт або проводити обслуговування. Оскільки контакти традиційного роз'єднувача не захищені від впливу навколишнього середовища, ці апарати вимагають значного об’єму технічного обслуговування.
Завдяки новим комбінованим пристроям тепер з'явилась можливість проектувати підстанції без традиційних роз'єднувачів, що підвищує експлуатаційну готовність.
Характеристики
Тип файла документ
Документы такого типа открываются такими программами, как Microsoft Office Word на компьютерах Windows, Apple Pages на компьютерах Mac, Open Office - бесплатная альтернатива на различных платформах, в том числе Linux. Наиболее простым и современным решением будут Google документы, так как открываются онлайн без скачивания прямо в браузере на любой платформе. Существуют российские качественные аналоги, например от Яндекса.
Будьте внимательны на мобильных устройствах, так как там используются упрощённый функционал даже в официальном приложении от Microsoft, поэтому для просмотра скачивайте PDF-версию. А если нужно редактировать файл, то используйте оригинальный файл.
Файлы такого типа обычно разбиты на страницы, а текст может быть форматированным (жирный, курсив, выбор шрифта, таблицы и т.п.), а также в него можно добавлять изображения. Формат идеально подходит для рефератов, докладов и РПЗ курсовых проектов, которые необходимо распечатать. Кстати перед печатью также сохраняйте файл в PDF, так как принтер может начудить со шрифтами.
















