63282 (573379)
Текст из файла
Типовые технологические и гибкие производственные модули ГИБКИХ ПРОИЗВОДСТВЕННЫХ СИСТЕМ (гпс) сборки и монтажа
Типовые технологические модули
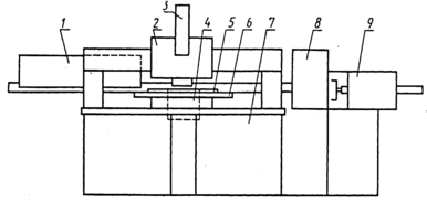
В состав типовых технологических модулей ГПС сборки и монтажа ЭМ-1 входят комплексы автоматического или автоматизированного технологического оборудования с ЧПУ (отдельные автоматы установки), для реализации технологических процессов. В качестве примера рассмотрим назначение, структуру и процесс функционирования установки для ручной программированной сборки. Указанная установка предназначена для укладки на печатную плату ИЭТ малой применяемости, а также ИЭТ сложной формы. Технологическая схема и состав установки представлены на рис. 1.
Процесс функционирования установки следующий.
ПП извлекается вручную из накопителя 1 и устанавливается в фиксирующее устройство 5. Световой луч указателя места установки ИЭТ б, перемещаясь по поверхности ПП, останавливается в заданных устройством управления точках. При этом одновременно оператору выдается из накопителя 2, 3 или 7 тот ИЭТ , который должен быть установлен на печатную плату в данной точке. В ленточном накопителе размещается ИС в корпусах типа 4 (401, 402, 405), в кассетном - ИС в корпусах типа 2, в конвейерном - дискретные элементы. Однако возможны другие варианты размещения, например, в конвейерном накопителе наряду с дискретными ИЭТ могут размещаться и ИС.
Световой луч несет информацию не только о месте установки ИЭТ, но и его расположении на ПП - указывает место размещения первого вывода многовыводных ИЭТ или метод размещения положительного вывода для полярных двухвыводных.
Операция установки ИЭТ осуществляется вручную.
В случае необходимости с помощью дозатора клея 4 может быть реализована операция приклеивания ИЭТ . Излишки выводов ИЭТ штырькового типа могут быть подрезаны под ПП по завершении операций установки с помощью универсального приспособления для групповой подрезки 9.
ГПМ сборки и монтажа ЭМ-1
Состав типовых ГПМ (РТС) ГПС сборки и монтажа ЭМ-1 по цехам и участкам сборочно-монтажного производства приведен на рис. 2 и включает в себя следующие виды:
-
комплекс технологического оборудования (ТО) для подготовки ИЭТ к автоматизированной установке на ПП, в том числе рихтовки, формовки и обрезки выводов ИЭТ, их лужения;
-
комплекс технологического оборудования для комплектации партии ПП ИЭТ, механических деталей, материалов;
-
ГПМ комплектации ИЭТ , вклеенных в двухрядную липкую ленту (резисторы, диоды конденсатора);
-
комплекс ГПМ комплектации и комплексной подготовки ИС в корпусах типа 4 (специализированных для ИС в корпусах 401, 402, 405 и т.п.);
-
комплекс специального ТО для установки и крепления на ПП контрольных контактов (специализированных для контактов разной формы);
-
комплекс специального ТО для установки и крепления на ПП разъемов (специализированных для каждого типа конструкции разъема);
-
ГПМ установки и крепления на ПП ИЭТ , вклеенных в двухрядную липкую ленту (универсальный);
-
ГПМ установки на ПП ИС в корпусах типа 2 (универсальный);
-
комплекс ГПМ установки и пайки ПП ИС в корпусах типа 4 (специализированных по типам корпусов 401,402,405);
-
ГПМ досборки (для ручной программированной установки ПП ИЭТ малой применяемости - универсальный);
-
ГПМ (РТК) пайки ПП волной припоя;
-
ГПМ (РТК) очистки ПП водными растворами технических моющих
-
средств (ТМС);
-
стенд технологического визуального контроля качества и ремонта для паяных соединений;
-
ГПМ (РТК) влагозащиты ЭМ;
-
ГПМ установки разъемов на ПП;
-
ГПМ комплектации ИС с пленарными выводами;
-
ГПМ комплектации ИЭТ , вклеенных в двухрядную ленту.
В состав ГПМ может включаться также оборудование для технологического или приемо-сдаточного контроля электрических параметров ЭМ-1, но чаще всего оно выделяется в самостоятельную подсистему. Состав ГПМ для конкретных производственных ситуаций определяется составом элементной базы ЭМ-1, подлежащих изготовлению в ГПС, масштабом выпуска, принятым вариантом технологического процесса.
ГПМ установки и крепления на ПП ИЭТЭ, вклеенных в двухрядную липкую ленту
Предназначен для установки на печатную плату и крепление на ней путем подгибки выводов ИЭТЭ, вклеенных в двухрядную липкую ленту.
Технологическая схема и состав ГПМ представлен на рис. 3. Процесс функционирования ГПМ следующий. Печатная плата из накопителя 8 подается устройством загрузки-выгрузки 9 к координатному столу сборочного автомата 6 и фиксируется на нем с помощью фиксирующего устройства 5. Координатный стол перед этим выводится в нулевое (крайнее справа и назад) положение. После фиксации ПП координатный стол подается к укладочной головке 2, которая в соответствии с заданной программой перемещения ПП производит вырезку ИЭТЭ из ленты, формовку выводов, установку ИЭТ по направляющим выводам в монтажные отверстия ПП и крепление ИЭТ подгибкой выводов под ПП навстречу друг другу или по радиусу. Излишки выводов обрезаются перед подгибкой.
Рис. 1 - Установка ручной программированной сборки ЭМ-1: 1 — накопитель ПП; 2 — накопитель ИС (ленточный) ; 3 — накопитель ИЭТ (конвейерный); 4 — устройство дозированного нанесения клея; 5 — устройство фиксации ПП; 6 - указатель места установки ИЭТ ; 7 - накопитель ИС (кассетный) ; 8 — устройство управления; 9 — устройство групповой подрезки и подчистки выводов.
Рис. 2 - Основной состав комплексов ТО и ГПМ ГПС сборки и монтажа ЭМ-1 (по участкам и цехам сборочного производства
Рис. 3 - ГПМ установки и крепления на ПП ИЭТ вклеенных в двухрядную липкую ленту: 1 - накопитель ИЭТ (складского типа) ; 2 — автоматическая укладочная головка; 3 — накопитель ИЭТ (ленточный) ; 4 — подгибочная головка; 5 — устройство фиксации ПП; 6 — координатный стол; 7 — устройство управления; 8 — накопитель ПП; 9 - автоматическое устройство загрузки и выгрузки
ИЭТЭ для установки на ПП подаются к укладочной головке в соответствии с программой установки из программно-скомплектованной ленты 3, либо из магазина складского типа 1 (сиквенсора). Программно-скомплектованная двухрядная лента в виде катушки располагается, как правило, на укладочной головке. Конец ленты заправляется в подающем устройстве, после чего автомат начинает работать по сигналу системы управления. Программа передвижения ПП под укладочной головкой согласована с программой вклейки элементов в ленту. Вклейка ИЭТ в ленту производится на ГПМ комплектации ИЭТ в двухрядной липкой ленте.
Сиквенсор состоит из ряда катушек с ИЭТ, вклеенных в двухрядную ленту (в каждой катушке один тип ИЭТЭ), и обычно располагается сзади автомата на специальной штанге, которая служит направляющей для перемещения сиквенсора. Перемещается сиквенсор таким образом, чтобы катушка с ИЭТ требуемого для установки типа была расположена на минимальном расстоянии от укладочной головки, точнее устройства подачи ИЭТ. Программа перемещения сиквенсора и программа перемещения ПП должны быть согласованы. По завершении программы установки ИЭТ координатный стол с ПП возвращается в нулевое положение, после чего устройство загрузки изымает ПП из фиксирующего приспособления и возвращает в накопитель. Накопитель перемещается на 1 шаг, после чего цикл сборки повторяется для остальных ПП данной партии.
ГПМ установки на ПП ИС в корпусах типа 2
Предназначен для установки на ПП и, при необходимости, крепления на ней подгибкой двух выводов ИС в корпусах типа 2, уложенных в технологических кассетах.
Технологическая схема и состав ГПМ представлен на рис. 4. Процесс функционирования ГПМ следующий. ПП из накопителя 9 подается устройством загрузки-выгрузки к координатному столу 7 сборочного автомата и фиксируется на нем с помощью фиксирующего устройства 6. Координатный стол перед этим выводится в нулевое положение. После фиксации ПП координатный стол перемещается к укладочной головке 3, которая в соответствии с заданной программой производит выбор нужного типа ИС из накопителя (линейного 1 или роторного 4), установку ИС выводами в отверстия ПП. При необходимости, подгибочная головка 5 может осуществить подгибку двух выводов с целью дополнительного крепления ИС на ПП. Для ИС с числом выводов 14 и более в дополнительном креплении необходимости нет — ИС держится на ПП за счет пружинения выводов, вставленных в отверстия.
Программа перемещения ПП согласована с программой выбора и установки ИС. При работе автомата накопитель роторного типа поворачивается вокруг оси так, чтобы микрооборот автоматической укладочной головки мог извлечь из накопителя ИС заданного программой типа. Накопитель линейного типа неподвижен — он по команде системы управления выдает ИС нужного типа, которая с помощью транспортного устройства 2 подается к укладочной головке. По завершении программы установки координатный стол возвращается в нулевое положение. УЗВ извлекает ПП из фиксирующего устройства и возвращает ее в накопитель. Накопитель перемещается на один шаг, после чего цикл сборки повторяется для остальных ПП данной партии.
ГПМ установки и пайки ИС с планарными выводами на ПП
Предназначен для установки на ПП ИС в корпусах типа 401 (или 402, или 405) и пайки их выводов к контактным площадкам ПП.
Технологическая схема и состав ГПМ представлен на рис. 5. Загрузка и выгрузка печатной платы описана выше. Укладочная головка 4 совмещает операции установки и пайки ИС, которые подаются по транспортному устройству 9 из накопителя ИС ленточного '2 или кассетного 1 типов. В ленточном накопителе ИС уложены в той последовательности, в которой будут устанавливаться на ПП. Кассетный накопитель вращается по команде управляющей системы и выдает в транспортную систему ИС нужного типа из соответствующей кассеты. ИС, установленная на ПП, удерживается на ней в процессе выполнения пайки (до ее затвердевания). Пайке подвергаются все выводы ИС одновременно; способ - электроконтактный. Подача припоя и флюса производятся непосредственно в зону пайки. ГПМ устанавливает и паяет на ПП ИС только одного типоразмера в корпусах 401 (или 402, или 405).
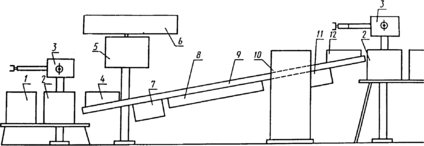
РТК пайки ПП волной припоя
Предназначены для выполнения монтажных соединений на ПП способом пайки за счет автоматического выполнения операций загрузки-разгрузки, флюсования, подогрева, пайки и удаления излишков припоя.
Технологическая схема и состав РТК пайки представлена на рис. 6. Печатная плата с установленными на ней ИЭТ извлекается роботом 3 из накопителя 1, устанавливается в технологическую кассету (которая, в свою очередь, извлекается из накопителя 2) и через устройство загрузки 4 передается на транспортер 9 линии пайки. Транспортер (цепной конвейер) последовательно перемещает ПП через агрегаты линии пайки. В агрегате. флюсования 7 поверхность монтажных элементов, подлежащих пайке, смачивается флюсом, подающимся в виде пены к нижней поверхности ПП. В агрегате подогрева 8 происходит испарение жидкости, используемой в качестве растворителя флюса, необходимого для предотвращения разбрызгивания расплавленного припоя при попадании на него капелек жидкого флюса с поверхности ПП, а также подогрев ПП до 75 — 125 °С с целью уменьшения термоудара при погружении ПП в волну расплавленного припоя (t " 260 °С). Способ нагрева - терморадиационный. Температура подогрева должна быть максимальной, но не выше той, которую допускают ИЭТ, установленные на ПП.
В агрегате пайки 10 ПП нижней своей поверхностью проходит через волну расплавленного припоя (навстречу ее течению), создаваемую специальным устройством в виде насоса и сопла особой конструкции. Припой смачивает монтажные поверхности и образует монтажные соединения, проникая в металлизированные отверстия.
Рис. 4. ГПМ установки на ПП ИС в корпусах типа 2: / — накопитель ИС (кассетный линейный) ; 2 — устройство подачи ИС; 3 - автоматическая укладочная головка; 4 — накопитель ИС (кассетный, роторный) ; 5 — подгибочная головка; 6 — устройство фиксации ПП; 7 — координатный стол; 8 — устройство управления; 9 - накопитель ПП; 10 — автоматическое устройство загрузки и выгрузки ПП.
Рис. 5 - ГПМ установки и пайки ИС с планарными выводами на ПП: 1 — накопитель ИС (кассетный) ; 2 — накопитель ИС (ленточный) ; 3 — координатный стол; 4 — автоматическая головка установки и пайки ИС; 5 — устройство фиксации ПП; 6 — устройство управления; 7 — накопитель ПП; 8 — автоматическое устройство загрузки и выгрузки ПП; 9 — устройство подачи ИС
Рис. 6 - РТК пайки ЭМ-1 волной припоя: 1 - накопитель ПП; 2 - накопитель технологических кассет; 3 - робот; 4 - устройство загрузки ПП; 5 - устройство управления; 6 - информационное табло; 7 - агрегат флюсования ПП; 8 — агрегат подогрева; 9 - транспортер; 10 — агрегат пайки; 11 - горячий воздушный „нож"; 12 — устройство выгрузки
Характеристики
Тип файла документ
Документы такого типа открываются такими программами, как Microsoft Office Word на компьютерах Windows, Apple Pages на компьютерах Mac, Open Office - бесплатная альтернатива на различных платформах, в том числе Linux. Наиболее простым и современным решением будут Google документы, так как открываются онлайн без скачивания прямо в браузере на любой платформе. Существуют российские качественные аналоги, например от Яндекса.
Будьте внимательны на мобильных устройствах, так как там используются упрощённый функционал даже в официальном приложении от Microsoft, поэтому для просмотра скачивайте PDF-версию. А если нужно редактировать файл, то используйте оригинальный файл.
Файлы такого типа обычно разбиты на страницы, а текст может быть форматированным (жирный, курсив, выбор шрифта, таблицы и т.п.), а также в него можно добавлять изображения. Формат идеально подходит для рефератов, докладов и РПЗ курсовых проектов, которые необходимо распечатать. Кстати перед печатью также сохраняйте файл в PDF, так как принтер может начудить со шрифтами.















