63089 (573356)
Текст из файла
Міністерство освіти та науки України
Вінницький національний технічний університет
Кафедра ТЕЕВ
Розрахунково–графічне завдання №1
«Розрахунок кіл несинусоїдного струму»
Варіант №9
Виконав ст. гр. 1СІ-08
Казіміров О.М.
Перевірив к.т.н
Кацив С.Ш.
Вінниця 2010р.
Зміст
1. Індивідуальне завдання
2. Теоретичні відомості
3. Розв’язання індивідуального завдання
Висновок
Список використаної літератури
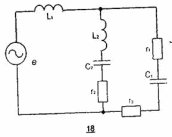
1. Індивідуальне завдання
Дано:
r1=4 Ом; r2=12 Ом; r3=10 Ом;
l1=10 мГ; l2=20 мГ;
C1=50 мкФ; C2=10мкФ;
Em=144 В; Em1=600 В; Em2=300 В;
f=100 Гц.
-
Розкласти криву сигналу ЕРС на гармоніки, обмежившись 3-ма членами ряду Фур’є.
2. Визначити струм в нерозгалуженій частині електричного кола (миттєві та дійсні значення), обмежившись 3-ма членами ряду Фур’є.
3. Побудувати в системі координат:
- криву струму в нерозгалуженій частині кола з урахуванням трьох гармонік;
- окремі гармоніки струму.
4. Розрахувати реактивну потужність Q та активну Р, яку споживає коло при дії на нього періодичного негармонійного сигналу.
2. Теоретичні відомості
Наявність в електричних колах джерел енергії, напруга яких хоч і періодична, але відрізняється від гармонічної (рис.1), не дозволяє для розрахунку таких кіл використовувати безпосередньо метод комплексних амплітуд. Тому, звичайно, періодичну не синусоїдну функцію зображають у вигляді ряду Фур’є.
u
t
Рисунок 1
Відомо, що будь-яка періодична функція f(x) , яка задовольняє умови Діріхле, тобто якщо період функції може бути розбитий на скінченне число інтервалів, в кожному із яких f(x) безперервна і монотонна, і в усякій точці розриву f(x) існує f(x+0) і f(x-0), може бути зображена гармонічним рядом:
f(x)=
або
f(x)=
де коефіцієнти ряду Фур’є визначаються виразами:
Запишемо ряд Фур’є для напруги, зобразивши у вигляді однієї синусоїди:
або
Члени ряду звичайно називають гармонічними складовими або гармоніками. Перша складова U(0) – нульова гармоніка або постійна складова. Складова
– основна або перша гармоніка. Всі інші складові – вищі гармоніки. Кожна гармоніка може мати амплітуду
і початкову фазу
, які відрізняються від інших, але головною відмінністю гармонік є частота, тобто кожна гармоніка мав свою частоту.
При розрахунках з використанням рядів, звичайно, обмежуються скінченним числом гармонік.
Діюче значення несинусоїдних струмів і напруг
або
.
Аналогічно
.
Для k-ї гармоніки змінюються опори індуктивності і ємності:
Комплексне діюче значення:
Миттєві значення струму знаходяться, як сума миттєвих значень струмів різних гармонік. Якщо
,то
)
Якщо коло складне, то для кожної гармоніки можна використовувати всі відомі методи розрахунку в комплексній формі.
Активна потужність в колах з не синусоїдними струмами і напругами дорівнює сумі активних потужностей окремих гармонік..
За аналогією з колом при синусоїдних струмах вводять поняття повної потужності:
Для оцінювання міри відмінності негармонічної кривої від синусоїдної вводять ряд різних коефіцієнтів.[1]
3. Розв’язання індивідуального завдання
Розкладемо криву в ряд Фур’є, обмежуючись постійною складовою та першими трьома гармоніками:
;
,[1]
Um = 150 В;
Миттєве та діюче значення напруги на 1 гармоніці:
;
;[1]
В;
В;
Миттєве та діюче значення напруги на 3 гармоніці:
В;
В;
Миттєве та діюче значення напруги на 5 гармоніці:
Знайдемо реактивні опори котушок і конденсаторів для кожної гармоніки:
Реактивні опори на 0 гармоніці:
xl1(0)=0 Oм; xc1(0)=∞ Oм;
Реактивні опори на 1 гармоніці:
;
;
;
;[1]
Ом;
Ом;
Ом;
Ом;
Реактивні опори на 3 гармоніці:
;
;
;
;[1]
Ом;
Ом;
Ом;
Ом;
Реактивні опори на 5 гармоніці:
;
;
;
;
Ом;
Ом;
Ом;
Ом;
Використовуючи метод еквівалентних перетворень знаходимо загальний опір кола z і струм в нерозгалуженій ділянці кола для кожної гармоніки:
Z
; [1]
Z
;
Z
;
;
;
Миттєве та діюче значення струму на 0гармоніці:
ze(0)= ∞ Oм; I0=
=0A;
Миттєве та діюче значення струму на 1 гармоніці:
;
Ом;
В;
Миттєве та діюче значення струму на 3 гармоніці:
Ом
Ом
Ом
Ом
Ом
Миттєве та діюче значення струму на 5 гармоніці:
;
Ом;
;
;
Ом
;
Ом
;
Ом
;
Ом
В;
В;
Графіки струмів для кожної гармоніки:
В;
Графік струму на 5 гармоніці
Активна і реактивна потужність відповідно:
Вт
Вар
Висновок
Вході виконання даної розрахунково-графічної роботи було знайдено миттєві та діючі значення напруг та струмів для кожної гармоніки, а також побудовано графіки струмів для кожної гармоніки. Розраховано активну та реактивну потужність, яку споживає коло при дії на нього періодичного негармонійного сигналу.
Список використаної літератури
1. Конспект лекцій з ТЕ та МК.
Характеристики
Тип файла документ
Документы такого типа открываются такими программами, как Microsoft Office Word на компьютерах Windows, Apple Pages на компьютерах Mac, Open Office - бесплатная альтернатива на различных платформах, в том числе Linux. Наиболее простым и современным решением будут Google документы, так как открываются онлайн без скачивания прямо в браузере на любой платформе. Существуют российские качественные аналоги, например от Яндекса.
Будьте внимательны на мобильных устройствах, так как там используются упрощённый функционал даже в официальном приложении от Microsoft, поэтому для просмотра скачивайте PDF-версию. А если нужно редактировать файл, то используйте оригинальный файл.
Файлы такого типа обычно разбиты на страницы, а текст может быть форматированным (жирный, курсив, выбор шрифта, таблицы и т.п.), а также в него можно добавлять изображения. Формат идеально подходит для рефератов, докладов и РПЗ курсовых проектов, которые необходимо распечатать. Кстати перед печатью также сохраняйте файл в PDF, так как принтер может начудить со шрифтами.















