38764 (571555)
Текст из файла
КОНТРОЛЬНА РОБОТА З ТЕМИ:
Види друку: Глибокий, офсетний, високий
Класичними способами друку в поліграфії є високий, глибокий та плоский, які відрізняються між собою характером і розташуванням друкарських та пробільних елементів друкарської форми.
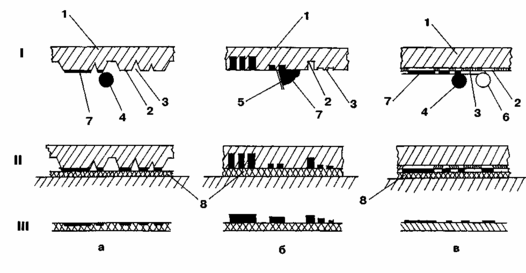
У високому друці друкарські елементи знаходяться вище пробільних та розташовуються в одній площині, передача градацій відбувається за рахунок різної площі (растрових елементів) задруковування (рисунок 1, а). Даний спосіб друку поступається за якісними та економічними показниками іншим сучасним способам друку, а тому сьогодні майже не застосовується. Винятком є вітчизняні малі державні районні та міські друкарні, де через брак коштів та ініціативи до модернізації виробництва продовжують використовувати застарілі технології та устаткування.
Рисунок 1 – Схема форм високого а, глибокого б та плоского в друку: 1 – вигляд друкарської форми та схема нанесення фарбуючої речовини; II – друкарський процес; 111 – вигляд результатів друку; 1 – друкарська форма, 2 – друкарські елементи, 3 – пробільні елементи, 4 – фарбовий валик, 5– ракельний ніж, 6 – зволожувальний валик, 7– фарба, 8 – папір
У глибокому друці друкарські елементи заглиблені на різну глибину відносно площини пробільних елементів (рисунок 1, б). Передача градацій відбувається за рахунок різної кількості фарби, залежно від глибини друкуючого елемента. Глибокий спосіб друку призначений для друкування високоякісної кольорової (образотворчої) продукції великими тиражами. Через високу вартість та складність формних і друкарських процесів у малій поліграфії цей спосіб друку не застосовується.
У глибокому друці півтонові зображення передаються не за рахунок різних за площею растрових елементів, так як у високому та плоскому друці, а за рахунок різної товщини фарбового шару на відбитку. Такий принцип передачі тонів є більш досконалим. На темних ділянках зображення, що відповідають найбільшій глибині друкарських елементів, рідка фарба, розтікаючись, заповнює проміжки, в результаті чого растрова структура зникає.
Окрім того, максимальна оптична щільність на відбитку глибокого друку є значно більшою, ніж на відбитку плоского чи високого друку. А так як друкувальні елементи на світлих зображеннях можуть бути відсутніми, то на відбитку, отриманому способом глибокого друку, можна відтворити найбільш повну шкалу яскравостей (у порівнянні з відбитками високого та плоского друку).
Сприятливі умови відтворення шкали яскравостей у глибокому друці поширюються і на кольорову репродукцію – під час кольорового синтезу вдається отримати більше кольорове охоплення. Можливість досягнення максимальної товщини фарбових шарів у тінях дозволяє відмовитись від четвертої фарби, що зменшує витрати матеріалів, трудомісткість, скорочує кількість фарбопрогонів та знижує собівартість продукції. У глибокому друці можна використовувати високолініатурні растри (70–80 лін/см) при умові друкування на рулонних ротаційних машинах, що є неможливим, наприклад, у високому друці. Проте при відтворенні тексту та штрихових оригіналів цей спосіб має і недоліки. Півтонові та штрихові зображення раструються спільно, що призводить до розчленовування штрихових елементів та погіршення зручності читання тексту. Тому текстові видання глибоким способом друку зазвичай не випускаються.
У плоскому друці друкарські та пробільні елементи форми знаходяться практично в одній площині (рис. 1, в) і відрізняються за своїми фізико-хімічними властивостями (вибірковістю змочування). Пробільні елементи є гідрофільними і добре змочуються водою, а друкарські елементи є олеофільними і добре змочуються фарбою. Під час друку на форму спочатку наноситься зволожувальний розчин, який сприймається пробільними елементами і захищає їх від подальшого закачування фарбою, а потім – фарба, яка сприймається лише друкуючими елементами. Передача градацій відбувається, як і у високому друці, за допомогою растрових елементів.
Складність підтримування балансу «вода-фарба» на друкарській формі під час друку, що безпосередньо впливає на якість друку, обумовили появу та розвиток «сухого» плоского друку. При «сухому» друці зволоження форми взагалі відсутнє, оскільки пробільні елементи виконані з матеріалу, що не змочується і не сприймає фарбу. У вітчизняній поліграфії «сухий» плоский друк є маловідомим та малопоширеним, хоча за кордоном спостерігається його розвиток та впровадження.
Переважаюча більшість машин плоского друку побудована на принципі непрямого (офсетного) друкування: фарбове зображення з форми переноситься на задруковувану поверхню не безпосередньо, як у високому чи глибокому способах, а за допомогою проміжного офсетного циліндра (рисунок 2). Тому плоский спосіб друку часто називають плоским офсетним або просто офсетним способом друку. Використання переваг офсетного принципу в глибокому друці відоме під назвою тамподрук, проте високий офсетний спосіб друку (типоофсет) або прямий плоский друк – не отримали широкого практичного застосування.
Сьогодні в поліграфії офсетний плоский спосіб друку вважається найбільш перспективним та домінуючим завдяки високій якості, продуктивності та економічності. Так, за рахунок розробки нових додрукарських процесів та формних матеріалів, він знаходить практичне застосування як при великих (до 1-2 млн. відбитків), так і при малих (від 0,5-1 тис. відбитків) тиражах.
Рисунок 2 – Схема прямого (а) та непрямого або офсетного (б) друку: 1 – формний циліндр, 2 – друкарський циліндр, 3 – офсетний циліндр, 4– задруковуваний матеріал
Офсетний принцип перенесення фарби при мінімальному тиску дозволяє використовувати для друкування не лише найрізноманітніші сорти паперу (шорсткі, гладкі та інші), але й інші матеріали (метал, полімерні плівки і т.п.). Це дає великі можливості відтворення ілюстрацій та тексту найрізноманітнішої графічної складності з однієї повноформатної форми. Напівтонові ілюстрації можна відтворювати, використовуючи растри до 120 лін/см.
У плоскому офсетному друці використовується велике різноманіття друкарських форм. Проте всі вони, в основному, призначені для друкування із зволоженням. Присутність на формі вологи створює певні ускладнення, пов'язані з підтримуванням балансу "вода–фарба" на формі, виникненням емульгування фарби в результаті її попадання з форми у фарбовий апарат машини. В зв'язку з цим розроблено форми плоского офсетного друку, які не потребують зволоження проміжних елементів наприклад форми, проміжні елементи яких містять речовини, що не сприймають друкарську фарбу. Такою речовиною є силіконовий каучук. Він має менший поверхневий натяг, ніж друкарська фарба, завдяки чому не сприймає її в процесі друкування. Окрім того, можливе застосування способу виготовлення форм "алюміній–силіконовий каучук" на базі використання лазерів. Для цього силіконовий шар наносять на поверхню алюмінієвої пластини. Цю пластину та оригінал (або монтаж оригіналів) поміщають у лазерний пристрій, в якому лазерним випромінюванням видаляється силіконовий шар з друкарських елементів.
Форми для друкування без зволоження спрощують та стабілізують друкарський процес, дають високу якість відбитків.
Технологія високого офсетного друку – це спосіб перенесення зображення на поверхню матеріалу з форми високого друку за допомогою проміжного офсетного циліндра. Спочатку цей спосіб друку застосовували для друкування продукції, яка потребує стійкої якості друку при великих тиражах (фонові сітки на папері для документів, грошових знаків та інше).
В наш час цей спосіб широко застосовують для художнього оформлення тари з пластмаси, картону та металу, балонів та труб, різноманітних стаканів та банок найрізноманітнішої геометричної форми.
Застосування високого офсетного друку для оформлення таких виробів дає ряд переваг. Значно зменшуються витрати на підготовку друкарської машини до роботи, також зменшуються її непродуктивні перерви, що пояснюється відсутністю зволожувального апарата та різким скороченням часу на суміщення та приправку. Сприяє скороченню часу підготовки машини до друку використання гнучких повноформатних друкарських форм та наявність офсетного циліндра, який одночасно зменшує зношування друкарської форми. Відсутність зволоження сприяє стабільній якості відбитків протягом друкування всього тиражу. Такий технологічний фактор, як невисокий тиск (0,5–1,0 МПа) в зоні контакту форми з офсетним гумовим полотном, при перенесенні фарби викликає більші деформації зображення та витискування фарби за межі друкувальних елементів, ніж у високому друці.
Окрім класичних, для сучасної поліграфії властиве широке застосування спеціальних способів друку – трафаретного, флексографічного, тамподруку, а також новітніх цифрових способів – різографії, термографічного, струменевого, електрографічного та інших.
Трафаретний друк (застарілий термін – шовкографія) – це спосіб друку із застосуванням спеціальних форм-трафаретів або шаблонів, в якому фарба перетискується через відкриті ділянки форми (друкуючі елементи) на задруковуваний матеріал (рисунок 3). Трафаретний друк застосовується переважно для штрихових та відносно груболініатурних растрових зображень (до 60 лін/см). Застосовуючи декілька форм, отримують багатоколірні зображення.
Рисунок 3 – Принципова схема трафаретного друку: 1 – друкарські елементи, 2 – пробільні елементи, 3 – рамка, 4 – задруковуваний матеріал, 5 – ракель, 6 – фарба
Особливостями трафаретного друку є, по-перше, відносно велика товщина фарбового шару на відбитку, що забезпечує відчуття рельєфності зображення, високу яскравість та насиченість зображень, у тому числі на грубофактурних поверхнях, таких як картон, шкіра, тканина, деревина, пластмаса, кераміка та ін. А, по-друге, можливість задруковування поверхонь складної геометричної форми, а також і на різноманітних виробах (олівцях чи ручках, запальничках, посуді).
Обмеженнями трафаретного друку є:
-
багатостадійність та трудомісткість формних процесів;
-
низька видільна та роздільна здатність друку (до 100-300 мкм, та до 25-50 лін/см);
-
низька тиражостійкість форм (до 10-50 тис. відбитків);
-
низька продуктивність друку;
-
необхідність інтенсивної штучної або тривалої природної сушки відбитків тощо.
Незважаючи на це, трафаретний спосіб друку широко застосовується у великій поліграфії (для оздоблення книжкової, білової продукції та упаковки) та в багатьох інших галузях промисловості (радіоелектроніка та приладобудування, деревообробна, харчова, легка промисловість та ін.).
Завдяки простоті, доступності та дешевизні процесу трафаретний друк отримав широке застосування в малій поліграфії для друкування бланкової та акцидентної аркушевої продукції, для оформлення упаковки, для оздоблення готових виробів (наприклад, нанесенням фірмових написів) тощо.
Флексографія є одним із різновидів високого друку, в якому використовують пружно-еластичні друкарські форми та малов’язкі швидковисихаючі фарби. У флексографії друкарська форма виконує не тільки свою основну функцію як форма, але ще й функцію декеля, що дозволяє задруковувати матеріали з різною фактурою (мікрогеометрією) від гладких плівок до шорсткого пакувального картону з мінімально необхідним тиском, що є дуже важливим для якісного друку. Застосування рідких фарб, що закріплюються переважно за рахунок випаровування розчинників, та еластичних форм дозволяє задруковувати матеріали, що не всмоктують фарбу, наприклад, поліетиленову плівку, металеву фольгу або скло. Для флексографічного друку характерні висока тиражостійкість друкарських форм та велика продуктивність друку.
Флексографія переважно застосовується у великих і середніх друкарнях та в спеціалізованих дільницях промислових підприємств для друкування газетної, книжково-журнальної, пакувальної, шпалерної та іншої продукції.
Перший патент на флексодрук був отриманий у 1853 році. Через 15 років фірма "Віндмюллер і Голжер" випустила першу флексографічну машину, а у 1973 році фірмою "Дю Понт" створено фотополімерні форми, завдяки чому став можливим якісний друк. У 80-ті роки в одній з газетних друкарень США з'явилися флексографічні друкарські машини. Зараз у США друкується 40 великоформатних газет флексографічним засобом, у Європі щорічний приріст продукції, віддрукованої флексографією, складає 2%.
Найбільш поширеним флексографічний друк є у виробництві пакування (гнучке пакування, гофрований картон, сумки з ручками, паперові мішки, пакування для напоїв, етикетки та інше), рекламної та комерційної багатофарбової продукції. Завдяки покращенню якості друку флексографія все більше використовується для виробництва газет, журналів, книг. Широко використовується у виробництві шпалер, етикеток, бланків. Друк на гофрокартоні – галузь, де флексографія використовується найбільше.
Флексографічне виробництво є динамічним, тому що використовується ідентичне устаткування для друку і на картоні, і на етикетках, і на інших виробах. Флексографія має багато переваг. Технологія флексографічного друку відрізняється простотою, низькими витратами і водночас високою продуктивністю, не потребує багато робітників – машини мають простий друкарський апарат. Друк є екологічно чистим, використовуються фарби на водяній основі або з малим вмістом розчинника. Устаткування має низьку енергомісткість (на 40–50% меншу у порівнянні з офсетним способом). Флексографічний друк характеризується поточністю виробництва – всі операції, починаючи від розмотування рулону та закінчуючи розрізанням або фальцюванням готових виробів, виконується за один прогін. Потреба у виробничих площах на 50–60% є меншою, ніж в офсетному друці. Капіталовкладення є меншими, ніж у традиційних видах друку: машини виконують друк, оброблення і, в той самий час, коштують дешевше від офсетних. Завдяки агрегатуванню машин усуваються сторонні операції, відсоток макулатури є низьким за рахунок спрощеної конструкції друкарського апарата. Можливість застосування фарб УФ-затвердження підвищує якість продукції та швидкість друку.
Характеристики
Тип файла документ
Документы такого типа открываются такими программами, как Microsoft Office Word на компьютерах Windows, Apple Pages на компьютерах Mac, Open Office - бесплатная альтернатива на различных платформах, в том числе Linux. Наиболее простым и современным решением будут Google документы, так как открываются онлайн без скачивания прямо в браузере на любой платформе. Существуют российские качественные аналоги, например от Яндекса.
Будьте внимательны на мобильных устройствах, так как там используются упрощённый функционал даже в официальном приложении от Microsoft, поэтому для просмотра скачивайте PDF-версию. А если нужно редактировать файл, то используйте оригинальный файл.
Файлы такого типа обычно разбиты на страницы, а текст может быть форматированным (жирный, курсив, выбор шрифта, таблицы и т.п.), а также в него можно добавлять изображения. Формат идеально подходит для рефератов, докладов и РПЗ курсовых проектов, которые необходимо распечатать. Кстати перед печатью также сохраняйте файл в PDF, так как принтер может начудить со шрифтами.
















