5196 (567295), страница 2
Текст из файла (страница 2)
η = 1 - ехр(-0,07 р l/En1/2) (4)
При p = 0,1 МПа, l = 20см, En = 0,0253 эВ, η = 0,9
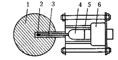
Камеры деления. Для регистрации нейтронов любых энергий можно использовать деление тяжелых ядер в камерах деления, например 235U и 239Pu. Сечения деления для них изменяются незначительно в большом диапазоне энергий нейтронов и имеют наибольшие значения по сравнению с сечениями деления для других радионуклидов. Во избежание самопоглощения продуктов деления, делящееся вещество наносится тонким слоем (0,02 — 2 мг/см2) на электроды ионизационной камеры, заполненной аргоном(0,5 — 1,0 МПа).
Рис. 6. Камера деления с высокой эффективностью.
По сравнению с борными счетчиками камеры деления более долговечны и могут работать при высокой температуре. Эффективность камер деления с 235U равна 0,6%, те значительно ниже, чем для борных счетчиков. Для увеличения чувствительности камер деления к нейтронному излучению необходимо увеличить поверхность электродов камеры. Камера деления с высокой эффективностью имеющая четыре концентрических алюминиевых электрода показана на рис6.
Сцинтилляционные счетчики. Для регистрации быстрых нейтронов широко используют сцинтилляционные счетчики со специальными сцинтилляторами. Быстрые нейтроны при упругом рассеянии на ядрах водорода передают им большую часть своей энергии которая тратится на ионизацию водородсодержащей среды. Поэтому органические сцинтилляторы, содержащие большое количество атомов водорода(например стильбен), обладают высокой эффективностью регистрации быстрых нейтронов.
Рис. 7. Сцинтилляционный счетчик нейтронов с шаровым замедлителем.
Для измерения потока нейтронов в интервале энергий от 10-2 до 107 эВ можно применить сцинтилляционный детектор (рис. 7), который состоит из ФЭУ(4) с экраном(5), предусилителя (6), световода (3), сцинтиллятора 6LiI(Eu) (2) со сменными полиэтиленовыми шаровыми замедлителями (1).
Трековые дозиметрические детекторы. В дозиметрии нейтронного излучения нашли применение твердотельные трековые детекторы в чувствительном объеме которых регистрируется число треков заряженных частиц. Дозиметрическое применение этих детекторов основано на связи числа треков с дозой излучения.
Активационный метод дозиметрии нейтронов В результате ядерныхреакций,протекающих под действием нейтронов, образовываются радиоактивные ядра При использовании активационного метода измеряют наведенную активность детектора А, равную
где λ — постоянная распада образующихся радиоактивных ядер;
Nt—число радиоактивных ядер в единице объема детектора при его облучении в течение времени t;
n — число ядер нуклида мишени в единице объема;
φ(E).dE — плотность потока нейтронов, имеющих энергию в интервале от E до E+dE;
σ(Ε) — сечение активации для нейтронов с энергией E в веществе детектора. Пределы интегрирования E1 и E2 соответствуют нижней и верхней границам энергии в спектре нейтронов.
Детекторы нейтронов прямой зарядки. Для измерения плотности потока нейтронов в активной зоне реактора применяются детекторы нейтронов прямой зарядки(ДПЗ). Эти детекторы основаны на первичных эффектах: захвате нейтронов и β-распаде(захват нейтронов сопровождается мгновенным испусканием γ-излучения и эмиссией из возбужденных ядер высокоэнергетических электронов); выходе электроновотдачи и фотоэлектронов при поглощении внешнего γ-излучения.
Индивидуальные дозиметры нейтронов.
В качестве примера приведём индивидуальный аварийный дозиметр.Для определения доз при аварийных облучениях персонала, обслуживающего ядерные реакторы, критические сборки и другие системы, где имеется вероятность непредвиденных превышений критической массы, разработаны термолюминесцентные итрековые детекторы нейтронов, входящие в комплект индивидуальных аварийных дозиметров ГНЕЙС, рис 8.
Рис 8 Конструкция аварийного дозиметра β-, γ- и нейтронного излучения ГНЕЙС
1 — бета-дозиметр, 2 — крышка кассеты индивидуального дозиметра ГНЕЙС, 3 — булавка, 4 — целлулоид, 5 — фотография с инициалами и фамилией, 6—дозиметр промежуточных и быстрых нейтронов, 7 — дозиметры γ~излучения, 8 — дозиметры тепловых нейтронов, 9 — корпус кассеты индивидуального дозиметра ГНЕЙС.
1.5 Влияние нейтронного излучения на организм человека
Внешнее облучение всего тела, с учетом его вклада в индивидуальные и коллективные дозы является основным на АЭС. Его источники: это γ-излучение ядерного реактора, технологических контуров, оборудования с радиоактивными средами и любые поверхности, загрязненные радиоактивными веществами. Существенно меньший вклад во внешнее облучение персонала АЭС вносят нейтронное и β-излучение. Человек в процессе своей жизни подвергается облучению как от естественных (природных), так и от искусственных (созданных человеком в результате его деятельности) источников ионизирующих излучений. Из искусственных источников радиации наибольшее значение имеет облучение в процессе медицинских процедур (рентгенодиагностика, рентгено- и радиотерапия). Средняя индивидуальная доза за счет этого источника составляет около 1,4 мЗв в год. Облучение населения за счет глобальных радиоактивных выпадений, после прекращения ядерных испытаний в атмосфере в 1963 г. стали уменьшаться, и годовые дозы составили 7% дозы от естественных источников в 1966 г., 2% в 1969 г., 1 % в начале 80-х годов. Следует отметить, что телезритель у цветного телевизора получает среднюю годовую дозу около 0,25 мЗв, что составляет 25% естественного фона.
Эксплуатация АЭС при нормальных режимах приводит к средней эффективной эквивалентной дозе персонала промышленных реакторов равной 7,5 — 10 мЗв/год, а для населения, проживающего вблизи АЭС к средней дозе 0,002—0,01 мЗв/год.
Эти цифры отражают ситуацию при нормальной эксплуатации АЭС. Однако всегда существует опасность аварий, последствия которых могут привести к значительно большим поражениям населения. Возможные величины этих поражений иллюстрируют последствия аварии на Чернобыльской АЭС.
Первое наблюдение установило, что при воздействии ионизирующего излучения на клетку поглощение ничтожного количества энергии может давать значительный биологический эффект. Например, смертельная доза ионизирующего излучения для млекопитающих равна 10 Гр. Поглощенная энергия соответствующая этой дозе повышает температуру человеческого тела не более, чем на 0,00010C. Причиной гибели организма обычно является поражение какого-либо одного органа, критического в данной ситуации. В диапазоне доз 3 — 9 Гр критической является кровеносная система. Гибель облученного организма наблюдается на 7 —15 сутки после лучевого воздействия. Поражение кроветворения проявляется и при не смертельных лучевых поражениях. При этом снижается количество тромбоцитов, что является одной из причин кровоточивости.
При увеличении дозы радиации до 10 —100 Гр, организмы погибают на 3 — 5 сутки, то есть тогда, когда "костномозговой синдром" еще не успел развиться. Это происходит из- за того, что выходит из строя другой критический орган — кишечник. Он поражается и при меньших дозах, в диапазоне, когда гибель происходит из-за угнетения кроветворения, но при этом "синдром кишечника" не определяет исхода лучевой болезни, хотя и усугубляет ее тяжесть.
При еще больших дозах радиации (200 —1000 Гр), непосредственной причиной гибели облученного организма является массовое разрушение клеток центральной нервной системы. И если построить кривую зависимости сроков гибели облучаемых организмов от дозы облучения, на ней будут отчетливо наблюдаться три характерных участка, соответствующих диапазонам "костномозговой", "кишечной" и "нервной" форм гибели.
Репродуктивная система более радиоустойчива. Тем не менее, в соответствии с законом Бергонье и Трибонда производство сперматозоидов (молодых клеток спермы) у мужчин понижается или прекращается при низких дозах. Доза 250 бэр на гонады (половые органы) приводит к временной стерильности на период до года. Для полной стерильности необходима Доза от 500 до 600 бэр.
Доза 170 бэр на женские гонады приводит к стерильности на период 1— 3 года. Полная стерильность наступает при дозе 300-600 бэр, в зависимости от возраста.
Действие ионизирующего излучения на организм условно можно разделить на соматические и генетические. Соматические эффекты проявляются у самого облученного, а генетические — у его потомства. Разнообразные формы проявления поражающего действия радиации на организм называют лучевой болезнью. С другой стороны, многочисленные исследования радиобиологов показали: малые дозы радиации не только не оказывают угнетающего действия, а наоборот, во многих случаях даже стимулируют жизнедеятельность живых систем (гормезес). В частности у млекопитающих наблюдается: ускоренное развитие, повышенная устойчивость к неблагоприятным условиям, увеличение численности потомства и т.д. По мнению некоторых радиобиологов стимулирующее действие малых доз на человека доказано многими исследованиями (радоновые ванны). По их мнению, вся сумма имеющихся фактов единодушно подтверждает, хотя и не доказывает: существует реальный биологический порог действия ионизирующей радиации.
Литература
-
Мякишев Г.Я. Буховцев Б.Б. Физика. Москва.Просвещение.1976,366с.
-
Популярная медицинская энциклопедия. Гл.ред. Б.В.Петровский.Москва.Советская энциклопедия.1987.704с.
3. Борнников В.К., Волошко В.П., Копчинський Г.А., Штеййнберг Н.А. Состояние и проблемы ядерной енергетики Украины // Вісник інженерної академії України. – 1998 . - №2
















