4645 (567149), страница 3
Текст из файла (страница 3)
**При температуре воздуха 26…28°С скорость движения его, указанная в таблице для теплового периода года, должна соответствовать диапазону, м/с: 0,1…0,2 для работ категории Iа; 0,1…0,3 для работ категории Iб; 0,2…0,4 для работ категории IIа; 0,2…0,5 для работ категории IIб и III.
Кроме указанных в таблице 1.1 параметров микроклимата нормируется также интенсивность теплового облучения работников. Допустимое значение теплового облучения на постоянных рабочих местах не должно превышать 35 Вт/м2, если в зоне облучения находится 50 % и более поверхности тела. При размере последней от 25 до 50 % предел допустимой интенсивности облучения составляет 70 Вт/м2, а при облучении менее 25 % поверхности тела – 100 Вт/м2.интенсивность открытых источников теплового излучения (пламя, нагретый металл и т.п.) не должна превышать 140 Вт/м2 при облучении не более 25 % поверхности тела и обязательном использовании средств индивидуальной защиты, в том числе лица и глаз. Нагрев кожи человека до 45 °С вызывает ее повреждение и болевые ощущения, а при температуре 52 °С происходит необратимое свертывание белков тканей. Поэтому в целях профилактики тепловых травм температура нагретых поверхностей машин, оборудования или ограждающих их конструкций должна быть не выше 45 °С. Допустимые перепады температуры воздуха по высоте рабочей зоны не должна превышать 3 °С для работ всех категорий, а по горизонтали 4 °С для легких работ, 5 °С для работ средней тяжести и 6 °С для тяжелых работ. Во всех случаях абсолютные значения температуры воздуха, измеренной на разной высоте и в различных участках производственных помещений в течение смены, должны входить в пределы, устанавливаемые таблицами 1.1 и 1.2.
7. Защитное заземление. Назначение, устройство. Выбор его параметров
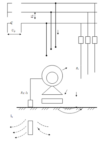
Защитное заземление называют преднамеренное электрическое соединение с землей или ее эквивалентом металлических нетоковедущих частей электроустановок, которые могут оказаться под напряжением. Заземляют все электрические установки, работающие при номинальном напряжении переменного тока более 120 В (кроме светильников, подвешенных в помещениях без повышенной опасности поражения электрическим током на высоте не менее 2 м при условии изоляции крючка для подвески светильника пластмассовой трубкой). Заземляющее устройство (рис. 2) состоит из заземлителя и проводника, соединяющего металлические части электроустановок с заземлителем. В качестве искусственных заземлителей применяют заглубленные в землю стальные трубы, кабели с металлической оболочкой (кроме алюминиевой), обсадные трубы артезианских колодцев и т.п. Принцип действия защитного заземления заключается в снижении до безопасных значений напряжений прикосновения и шага в случае появления электрического потенциала вследствие замыкания тока на металлические корпуса электрооборудования, разряда молнии или других причин.
Каждую электроустановку следует присоединить к заземляющей магистрали отдельным проводником. Последовательное соединение заземленных частей не допускается. Соединение должно быть надежным, обычно их выполняют сваркой или с помощью болтов. Не разрешается прокладывать в земле неизолированные алюминиевые проводники из-за их быстрой коррозии. С целью защиты от нее заземляющие в сырых помещениях устраивают на расстоянии не ближе 10 мм от стен.
А
Р
ис. 2. Принципиальная схема защитного заземления
Сопротивление, Ом, стержневого вертикального заземлителя с диаметром d круглого сечения у поверхности земли (рис 3, а):
R3 = 0,366
lg
,
где ρ –удельное сопротивление грунта, Ом·м; l и b длина и ширина заземлителя, м; h – расстояние от поверхности земли до середины заземлителя, м.
Значения ρ могут быть от 1 (морская вода)до 106 (граниты). При колебаниях влажности грунтов сильно изменяется их удельное сопротивление, например, при снижении влажности красной глины с 20 до 10 % оно возрастает в 13 раз. Значительно увеличивается ρ в случае промерзания грунта. Вот почему стержневые заземлители рекомендуют забивать на глубину, большую глубины промерзания, и по возможности ниже уровня грунтовых вод. Сопротивление, Ом, стержневого вертикально заглубленного заземлителя круглого сечения (рис. 3, б):
R3 = 0,366
lg
+ 0,5lg
.
Сопротивление заземлителя, Ом, выполненного в виде горизонтальной полосы (рис. 3, в), заглубленной в землю,
R3 = 0,366
lg
.
Число стержней n3 в контуре заземления:
n3 =
,
где kC – коэффициент сезонности (для средней полосы России kC = 1,8); RН.З – нормальное сопротивление заземлителя, Ом; nЭ - коэффициент экранирования, зависящий от формы и длины заземлителей, их числа в контуре, расстояния между ними; при снижении числа заземлителей от 20 до 2 коэффициент nЭ изменяется от 0,09 до 0,94.
Сопротивление заземления проверяют специальными приборами-измерителями М-416, МС-08 и др. Если контролируют не в период максимального промерзания грунта, то показания прибора следует умножить на коэффициент сезонности.
С помощью омметров М-372 обычно измеряют сопротивление цепи «оборудование – заземлитель». Сопротивление контура вместе с сопротивление проводника и есть полное сопротивление заземляющего устройства.
h
l
l
d
d
б
а
h
b
l
в
Рис. 3. Схемы заземлителей:
а – стержневого вертикального круглого сечения у поверхности земли; б – стержневого круглого сечения, вертикально заглубленного в землю; в – горизонтальной полосы, заглубленной в землю.
8. Статистическое электричество. В чём опасность статистического электричества? Меры борьбы со статистическим электричеством
Статическое электричество (согласно ГОСТ 12.1.018) – это совокупность явлений, связанных с возникновением, сохранением и релаксацией свободного электрического заряда на поверхности (или в объеме) диэлектриков или на изолированных проводниках.
Искровые разряды статического электричества представляют собой большую пожаро- и взрывоопасность. Электрический заряд, возникающий при выполнении некоторых производственных процессов, может достигать нескольких тысяч вольт. Например, при трении частиц песка и пыли о днище кузова при движении автомобиля генерируется потенциал до 3 кВ; при перекачке бензина по трубопроводу – до 3,6 кВ; при наливании электризующихся жидкостей (этилового спирта, бензина, бензола, этилового эфира и др.) в незаземленные резервуары в случае свободного падения струи жидкости в наполняемый сосуд и большой скорости истечения – до 18…20 кВ; при трении ленты транспортера о вал – до 45 кВ; при трении трансмиссионных ремней о шкивы – до 80 кВ. Статическое электричество может накапливаться и на теле человека при ношении одежды из шерсти или искусственного волокна, движении по токонепроводящему покрытию пола или в диэлектрической обуви, соприкосновении с диэлектриками, достигая в отдельных случаях потенциала 7 кВ и более. Количество накопившегося на людях электричества может быть вполне достаточным для искрового разряда при контакте с заземленным предметом. Физиологическое действие статического электричества зависит от освободившейся при разряде энергии и может ощущаться в виде слабых, умеренных или сильных уколов, а в некоторых ситуациях – в виде легких, средних и даже острых судорог. Так как сила тока разряда статического электричества ничтожно мала, то в большинстве случаев такое воздействие неопасно. Статическое электричество может также нарушить нормальное течение технологических процессов, создавать помехи в работе электронных приборов автоматики и телемеханики, средств радиосвязи. Меры защиты статического электричества направлены на предупреждение возникновения и накопления зарядов статического электричества, создание условий рассеивания зарядов и устранение опасности их вредного воздействия. Предотвращение накопления зарядов статического электричества достигается заземлением оборудования и коммуникаций, на которых они могут появиться, причем каждую систему взаимосвязанных машин, оборудования и конструкций, выполненных из металла (пневмосушилки, смесители, газовые и воздушные компрессоры, мельницы, закрытые транспортеры, устройства для налива и слива жидкостей с низкой электропроводностью и т.п.), заземляют не менее чем в двух местах. Трубопроводы, расположенные параллельно на расстоянии до 10 см, соединяют между собой металлическими перемычками через каждые 25 м. все передвижные емкости, временно находящиеся под наливом или сливом сжиженных горючих газов и пожароопасных жидкостей, на время заполнения присоединяют к заземлителю. Автозаправщики и автомобильные цистерны заземляют металлической цепью, соблюдая длину касания земли не менее 200мм. Снижение интенсивности возникновения зарядов статического электричества достигается соответствующим подбором скорости движения веществ, исключением разбрызгивания, дробления и распыления веществ, отводом электростатического заряда, подбором поверхностей трения, очисткой горючих газов и жидкостей от примесей. При подаче жидкостей в резервуары необходимо исключить их разбрызгивание, распыление и бурное перемешивание. Наливную трубку необходимо удлинить до дна сосуда с направлением струи вдоль его стенки. При первоначальном заполнении резервуаров жидкость подают со скоростью, не превышающей 0,5…0,7 м/с. Лучший способ снижения интенсивности накопления зарядов статического электричества в ременных передачах – увеличение электропроводимости ремней, например, с помощью прошивки внутренней поверхности ремня тонкой медной проволокой в продольном направлении или смазыванием его внутренней поверхности токопроводящими составами (содержащими, например, сажу и графит в соотношении 1:2,5 по массе и др.). Следует также уделять внимание регулировке натяжения ремней и по возможности снижению скорости их движения до 5 м/с. Если предотвратить накопление зарядов статического электричества заземлением не удается, то следует применять меры по уменьшению объемных и поверхностных диэлектрических сопротивлений обрабатываемых материалов. При невозможности использования средств защиты от статического электричества рекомендуется нейтрализовать заряды ионизацией воздуха в местах их возникновения или накопления. Для этого используют специальные приборы – ионизаторы, создающие вокруг наэлектризованного объекта положительные и отрицательные ионы. Для отвода статического электричества с тела человека предусматривают токопроводящие полы или заземленные зоны, рабочие площадки, поручни лестниц, рукоятки приборов и т.д.; обеспечивают рабочих токопроводящей обувью с сопротивлением подошвы не более 108 Ом, а также антистатической спецодеждой.
















