150316 (566833)
Текст из файла
Лабораторная работа №4
"Изучение гидродинамики взвешенного слоя"
Цель работы: получение экспериментальной и расчетной зависимостей гидравлического сопротивления слоя ΔР, высоты слоя h и порозности ε от скорости газа ωкр; проверка основного уравнения взвешенного слоя.
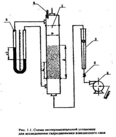
Описание установки
Установка (рис 1.1) состоит из стеклянной колонки 1 с внутренним диаметром D=0,055 м, воздуходувки 2 для подачи воздуха в колонку, ротаметра 3 для измерения расхода воздуха, регулировочного вентиля 4 и дифферинциального U-образного манометра 5 для гидравлического сопротивления слоя. На газопроницаемую поддерживающую решетку в нижней части колонки помещено 0,23 кг твердого материала плотностью ρтв=1330 кг/м3 из шарообразных частиц диаметром d=1·10-3 м, образующего слой высотой h0. Для предотвращения уноса частиц в атмосферу в верхней части колонки установлена сетка, а для измерения температуры воздуха – термометр 6.
Методика проведения работы
Открыть вентиль 4 и включить воздуходовку 2, перемешивая частицы твердого материала в режиме псевдоожиженного слоя 2–3 мин. После этого установить такой начальный расход воздуха в колонке, при котором поплавок ротаметра занимал бы положение в начале шкалы. Затем измерить высоту слоя h, снять показания ротаметра 3, дифферинциального манометра 5 и термометра 6. Записав результаты измерений в табл. 1.1, повторить эту операцию, каждый раз увеличивая расход воздуха на 2–3 деления шкалы ротаметра.
Обработка измерений результатов
Таблица опытных данных
| № опыта | Показания ротаметра, 10-3 | Высота слоя h, м, 10-3 | ПоказанияU-образного дифференциального манометра Δ h, м.вод. ст. | Темпе- ратура,0С | Расход воздуха, м/с·10-3 |
| 1 | 0 | 140 | 0,028 | 23 | 0 |
| 2 | 3 | 140 | 0,032 | 0,3 | |
| 3 | 6 | 140 | 0,037 | 0,39 | |
| 4 | 9 | 140 | 0,043 | 0,45 | |
| 5 | 12 | 140 | 0,054 | 0,52 | |
| 6 | 15 | 140 | 0,068 | 0,58 | |
| 7 | 18 | 144 | 0,072 | 0,67 | |
| 8 | 21 | 155 | 0,074 | 0,71 | |
| 9 | 24 | 157,5 | 0,076 | 0,78 | |
| 10 | 27 | 175 | 0,078 | 0,85 | |
| 11 | 30 | 180 | 0,079 | 0,91 | |
| 12 | 33 | 183 | 0,071 | 0,97 | |
| 13 | 36 | 190 | 0,071 | 1,03 | |
| 14 | 39 | 200 | 0,071 | 1,1 |
1. Определяем фиктивную скорость воздуха по формуле
, м/с
м/с
м/с
м/с
м/с
м/с
м/с
м/с
м/с
м/с
м/с
м/с
м/с
м/с
м/с
2. Рассчитываем порозность зернистого слоя по формуле:
3. Пересчитываем показания дифференциального манометра Δh, м вод. ст. в ΔР, Па
где ΔР – сопротивление, выраженное перепадом давления, Па;
ρ – плотность жидкости, высотой которой выражено Δh, кг/м3;
g – ускорение свободного падения, м/с2;
Δh-сопротивление, выраженное перепадом высот, м.
4. Рассчитываем критерий Архимеда по формуле:
;
где d-диаметр шарообразных частиц, d=1·10-3 м;
ρтв=1330 кг/м3;
ρ=1,217 кг/м3;
μ=18,25·10-6 Па·с.
5. Графически находим критерий Лященко
Ly=0,4
6. Рассчитываем ωкр по формуле:
;
м/с
7. Строим графики зависимости ΔРсл=f(ω0); hрасч= f(ω0); εрасч= f(ω0); ΔРсл.эксп= f(ω0); hэксп= f(ω0); εэксп= f(ω0).
8. Определяем ωкр=0,315 м/с
9. Рассчитываем значения числа Рейнольдса по формуле:
Рассчитав значение критерия Рейнольдса, можно сделать вывод, что режим движения воздуха в каналах неподвижного слоя зернистого материала турбулентный, т. к. Re>2.
Результаты расчетов заносим в таблицу 1.1
Таблица 1.1
| № | Расход воздуха Vr, м/с3, 10-3 | Фиктивная скорость, ω0, м/с | Критическая скорость, м/с | Высота слоя, м | Порозность слоя | Сопротивление слоя, Па | ||||||
| ωкр экс | ωкр рас | h экс | h рас | ε эксп | εрас | ΔР экс | ΔРрас | |||||
| 1 | 0 | 0 | 0,315 | 0,4 | 0,140 | 0,162 | 0,48 | 0,55 | 364,95 | 411,50 | ||
| 2 | 0,3 | 0,126 | 0,140 | 0,162 | 0,48 | 0,55 | 470,09 | 473,38 | ||||
| 3 | 0,39 | 0,164 | 0,140 | 0,162 | 0,48 | 0,55 | 482,26 | 547,82 | ||||
| 4 | 0,45 | 0,189 | 0,140 | 0,162 | 0,48 | 0,55 | 560,46 | 631,90 | ||||
| 5 | 0,52 | 0,219 | 0,140 | 0,162 | 0,48 | 0,55 | 703,84 | 793,70 | ||||
| 6 | 0,58 | 0,244 | 0,140 | 0,162 | 0,48 | 0,55 | 886,34 | 1000,09 | ||||
| 7 | 0,67 | 0,282 | 0,144 | 0,169 | 0,49 | 0,57 | 938,45 | 1058,69 | ||||
| 8 | 0,71 | 0,299 | 0,155 | 0,198 | 0,53 | 0,63 | 964,52 | 1088,00 | ||||
| 9 | 0,78 | 0,328 | 0,158 | 0,206 | 0,54 | 0,65 | 990,58 | 1117,30 | ||||
| 10 | 0,85 | 0,358 | 0,175 | 0,250 | 0,58 | 0,71 | 1016,65 | 1146,60 | ||||
| 11 | 0,91 | 0,383 | 0,180 | 0,267 | 0,595 | 0,73 | 1029,69 | 1161,89 | ||||
| 12 | 0,97 | 0,408 | 0,183 | 0,276 | 0,602 | 0,74 | 925,41 | 1043,41 | ||||
| 13 | 1,01 | 0,434 | 0,190 | 0,300 | 0,62 | 0,76 | 925,41 | 1043,41 | ||||
| 14 | 1,1 | 0,464 | 0,200 | 0,330 | 0,64 | 0,78 | 925,41 | 1043,41 | ||||
Вывод: в ходе лабораторной работы были получены экспериментальные и расчетный зависимости гидравлического сопротивления слоя ΔР, высоты слоя h и порозности ε от скорости газа ω0; была определена критическая скорость газа ωкр.
Характеристики
Тип файла документ
Документы такого типа открываются такими программами, как Microsoft Office Word на компьютерах Windows, Apple Pages на компьютерах Mac, Open Office - бесплатная альтернатива на различных платформах, в том числе Linux. Наиболее простым и современным решением будут Google документы, так как открываются онлайн без скачивания прямо в браузере на любой платформе. Существуют российские качественные аналоги, например от Яндекса.
Будьте внимательны на мобильных устройствах, так как там используются упрощённый функционал даже в официальном приложении от Microsoft, поэтому для просмотра скачивайте PDF-версию. А если нужно редактировать файл, то используйте оригинальный файл.
Файлы такого типа обычно разбиты на страницы, а текст может быть форматированным (жирный, курсив, выбор шрифта, таблицы и т.п.), а также в него можно добавлять изображения. Формат идеально подходит для рефератов, докладов и РПЗ курсовых проектов, которые необходимо распечатать. Кстати перед печатью также сохраняйте файл в PDF, так как принтер может начудить со шрифтами.
















