126326 (566760)
Текст из файла
Размещено на http://www.allbest.ru/
Федеральное агентство по образованию
ГОУ ВПО БрГУ
Кафедра СДМ и О
Лабораторная работа №8
Гибкие тяговые органы
Выполнил:
ст. группы СДМ 03-1
Перминов М.В.
Проверил:
преподаватель Кулаков А.Ю.
Братск 2006
Цель работы: Изучить назначение, разновидности, устройство, а также основы расчёта гибких тяговых органов, применяемых в грузоподъёмных машинах. По заданной схеме полиспаста и грузоподъёмности крана, а также режиму работы подобрать канат.
Цепи
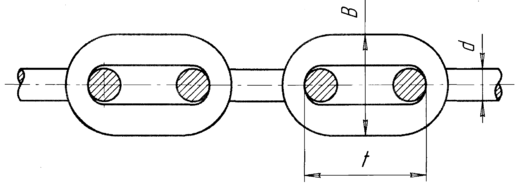
Грузовые цепи бывают двух видов, различаемых по конструкции и методу их производства. Грузовые сварные цепи, имеющие звенья овальной формы (рис. 1.), изготовляют из круглой горячеканатной стали (ГОСТ 2590-57) Ст. 2 и Ст. 3 с помощью сварки. Цепи диаметром менее 5 мм изготовляют из круглой качественной калиброванной холоднотянутой стали (ГОСТ 7417-57). Основные размеры цепи: шаг t равный большей оси внутреннего овала, диаметр заготовки звена d и ширина звена В (см. рис. 1).
Сварные цепи по степени точности могут быть калиброванными и некалиброванными. Цепи этой группы применяют при работе, когда скорость подъёма груза не превышает / м/сек, в качестве: чал очных приспособлений для подвешивания грузов к грузозахватным узлам, основных подъёмных органов для талей, тельферов, лебёдок и кранов с ручным приводом. После завершения монтажа сварные цепи испытывают под нагрузкой, составляющей половину разрывной (см. табл. 1). Цепи стандартизованы по ГОСТ 2319-55, причём диаметр заготовки звена некалиброванных цепей принят в пределах от 2 до 60 мм; в качестве грузовых применяют цепи диаметром от 5 мм и выше. Разрывная нагрузка Fр от 0,64 до 136 Т.
Таблица 1
| Диаметр цепной стали d | Шаг t | Ширина В | Нагрузка F | Теоретический вес 1 пог. м, в кг | |
| Пробная (испытател.) | Разрывная Fp, T | ||||
| 8 9 11 13 16 18 20 | 23 27 31 36 44 50 56 | 27 32 36 43 53 58 66 | 1,2 1,55 2,3 3,3 5,1 6,4 8,0 | 2,4 3,10 4,6 6,6 10,2 12,8 16,0 | 1,40 1,76 2,58 3,70 5,60 6,94 8,76 |
Калиброванные цепи имеют диаметр заготовки звена от 5 до 40 мм и выдерживают разрушающую нагрузку 0,64 до 60,6 Т.
Сварные цепи имеют своим преимуществом гибкость и способность обеспечивать работу с блоками и барабанами малых диаметров; цепи просты и дешевы в производстве.
К недостаткам сварных цепей относят: большой собственный вес, малые допускаемые скорости, значительный износ и чувствительность к перегрузкам.
РАСЧЁТ СВАРНЫХ ЦЕПЕЙ
Цепи рассчитывают на растяжение с пониженными допускаемыми напряжениями, так как внутренние напряжения в звеньях считают статически неопределимыми; кроме того, при работе цепей возникают добавочные напряжения изгиба при охвате цепями барабанов или блоков. Поэтому расчётная формула учитывает не напряжения, а нагрузки (силы):
(1)
где: Fp - разрушающая нагрузка;
Fmax - наибольшая допускаемая нагрузка;
пц - запас прочности при растяжении.
При определении Fmax разрушающую нагрузку Fp принимают по ГОСТ 2319-55 (см. табл. 1). Величину запаса прочности пц принимают в зависимости от следующих факторов:
- при ручном приводе и некалиброванных цепях nц=3,
- при калиброванных цепях nц= 4,
- при машинном приводе и калиброванных цепях nц= 6,
- при некалиброванных цепях nц= 8.
- при использовании сварных цепей для подвешивания груза к крюку или траверсе принимают nц= 6.
ПЛАСТИНЧАТЫЕ ШАРНИРНЫЕ ГРУЗОВЫЕ ЦЕПИ
Эти цепи применяют при скорости не свыше V= 1,5 м/сек. Конструкция цепей имеет сходство с ранее рассмотренными приводными цепями. Цепи состоят из пластин 1, которые шарнирно соединены между собой круглыми валиками 2 (рис. 2). Число пластин зависит от нагрузки на цепь и может быть в пределах от 2 до 12. Пластины удерживают на цапфах валиков, которые расклёпаны на концах; применяют и другие способы фиксирования пластин на цапфах, в том числе шплинты с шайбами или без них (рис. 2 а, б).
Пластинчатые цепи используют в качестве подъёмных органов для ручных талей. При наличии машинных приводов эти цепи применяют для машин большой грузоподъёмности.
К недостаткам пластинчатых цепей следует отнести недопустимость усилий, направленных под углом к плоскости вращения звеньев: так как это вызывает значительные напряжения изгиба в пластинах и может привести к поломке валиков. Эти цепи весьма чувствительны к пыли и грязи, ускоряющим абразивный износ, поэтому применение пластинчатых цепей в открытых грузоподъёмных машинах не рекомендуется. Пластинчатые грузовые цепи стандартизированы (ГОСТ 191-25).Расчёт пластинчатых цепей ведут на растяжение по формуле (1), причём запас прочности nц, при скорости не свыше 1 м/сек, принимают nц= 6, при скорости 1-1,5 м/сек - nц=8.
Стальные проволочные канаты
В грузоподъемных устройствах и машинах чаще всего используют стальные проволочные канаты (тросы). Пеньковые и хлопкобумажные канаты, имеющие низкие механические качества, используют лишь в подъёмных устройствах с ручным приводом; основное же их значение - это различные чалочные приспособления для крепления грузов к захватным узлам; эти канаты имеют стандарт (ГОСТ 483-55); по правилам Госгортехнадзора запас прочности для пеньковых и хлопкобумажных канатов принимают не менее n=10-12.
Стальные канаты конструктивно различают по форме поперечного сечения, кратности и направления свивки, по типу и числу сердечников. Канаты имеют технические характеристики, регламентированные ГОСТ 3062-55 до 3098-55 и 2688-55. Технические условия на стальные канаты даны в ГОСТ 3247-55.
По назначению канаты разделены на 6 групп:
1. Поддерживающие — для расчалки мачт и труб, подвески кабелей, мостов и пр.
2. Привязные - для лесосплава, швартования, такелажных работ и для якорей.
3. Несущие - для кабель-кранов, подвесных канатных дорог.
4. Тяговые - для механической откатки, подвесных канатных дорог, для экскаваторов, дерриков.
5. Подъёмные — для ручных лебёдок, тельферов, лифтов, кранов, шахтных подъёмных машин, экскаваторов и дерриков и для видов подъёмных устройств.
6. Специальные - для электрификации, приборов, самолётов, нефтяных скважин и специального назначения.
Стальные канаты делают из проволок диаметром от 0,2 до 4,5 мм с пределом прочности при растяжении 140-200 кг/мм2. В производстве канатов чаще всего применяют светлую проволоку без защитных антикоррозийных покрытий; однако для канатов, предназначенных для работы во влажных помещениях и под открытым небом, применяют оцинкованную проволоку; при этом наличие антикоррозийного покрытия снижает несущую способность каната примерно на 10% вследствие отпуска материала при оцинковке.
Стальные канаты изготовляют на специальных машинах, где отдельные проволоки свивают в пряди или стренги, которые затем свивают в канат. Стренги свивают вокруг сердечника из пеньки, асбеста или более мягких проволок. Проволочный или асбестовый сердечники применяют в канатах, работающих в горячих цехах. Канаты с пеньковым сердечником, хотя и обладают меньшей прочностью, но более гибки и лучше противостоят износу, так как пеньковые сердечники впитывают в себя смазку и хорошо её удерживают при эксплуатации.
Число проволок в каждой стренге (пряди) и число стренг в каждом канате может быть различным. Чаще всего встречаются шести - и девятипрядные канаты. На (рис. 4, а) показано сечение шестипрядного каната нормальной структуры из проволок одинакового диаметра; на (рис. 4, б) -однопрядный канат, в этом канате имеет место взаимное пересечение проволок смежных рядов (рис. 3, б); канат на (рис. 3, г) имеет так называемую крестовую свивку, которая распространена больше других (например, параллельной или комбинированной свивки). Если в заготовленных прядях все проволоки располагаются по левым винтовым линиям, то при изготовлении каната эти пряди можно свивать опять влево, т. е. в ту же сторону, такая свивка будет называться параллельной (рис. 3, в). В крестовой свивке направление свиваемых проволок в прядях является противоположным (рис. 3, г) направлению свивки самих прядей при образовании каната.
Сравнительно с цепями стальные канаты имеют преимущества:
меньший вес, бесшумность хода, большая надёжность в эксплуатации (так
как ослабление каната может быть выявлено при появлении обрывов в отдельных наружных проволоках задолго до полного разрушения), дешевизна.
К недостаткам стальных канатов следует отнести необходимость применения барабанов большого диаметра, чем диаметры звёздочек или барабанов для цепей, что в целом утяжеляет конструкцию и увеличивает её габарит.
Отдельные выдержки из стандарта на стальные проволочные канаты приводим в табл. 2.
Таблица 2
Выдержка из стандарта (ГОСТ 3070-55) для стальных канатов из групп тяговых и подъёмных.
| Диаметры | Площадь сечения всех проволок | Вес 1 пог. Метра каната | Разрывное усилие | |||||
| каната | проволок | Всех проволок каната | Каната в целом * | |||||
| мм | мм | мм2 | кг/м | кг | кг | |||
| 6,7 | 0,4 | 14 | 0,13 | 2100 | 1790 | |||
| 7,6 | 0,5 | 22 | 0,2 | 3300 | 2800 | |||
| 9,2 | 0,6 | 32 | 0,29 | 4800 | 4070 | |||
| 11 | 0,7 | 44 | 0,4 | 6600 | 5600 | |||
| 12,5 | 0,8 | 57 | 0,52 | 8550 | 7250 | |||
| 14 | 0,9 | 73 | 0,65 | 10900 | 9250 | |||
| 15,5 | 1,0 | 90 | 0,81 | 13500 | 11400 | |||
| 17 | 1,1 | 108 | 0,92 | 16200 | 13800 | |||
| 18,5 | 1,2 | 129 | 1,2 | 19300 | 16400 | |||
| 20 | 1,3 | 151 | 1,3 | 22700 | 19300 | |||
| 21,5 | 1,4 | 176 | 1,6 | 26400 | 22400 | |||
| 23 | 1,5 | 202 | 1,8 | 30200 | 25700 | |||
| 25 | 1,6 | 228 | 2,1 | 34000 | 29200 | |||
| 8,8 | 0,4 | 28 | 0,24 | 4200 | 3430 | |||
| 11 | 0,5 | 44 | 0,38 | 6600 | 5360 | |||
| 13 | 0,6 | 63 | 0,57 | 9450 | 7760 | |||
| 15,5 | 0,7 | 85 | 0,77 | 12750 | 10500 | |||
| 17,5 | 0,8 | 112 | 1,0 | 16800 | 13700 | |||
| 19,5 | 0,9 | 141 | 1,2 | 21200 | 17300 | |||
| 21,5 | 1,0 | 174 | 1,6 | 26100 | 21400 | |||
| 24 | 1,1 | 201 | 1,8 | 31600 | 25900 | |||
| 26 | 1,2 | 251 | 2,3 | 37600 | 30800 | |||
| 28 | 1,2 | 295 | 2,6 | 44200 | 36200 | |||
| 30 | 1,3 | 342 | 3,1 | 51200 | 42000 | |||
| 32,5 | 1,5 | 392 | 3,6 | 58800 | 48200 | |||
| 34,5 | 1,6 | 446 | 4,1 | 66900 | 54800 | |||
* - Указано для канатов из проволок с расчетным пределом прочности
кг/мм2
Характеристики
Тип файла документ
Документы такого типа открываются такими программами, как Microsoft Office Word на компьютерах Windows, Apple Pages на компьютерах Mac, Open Office - бесплатная альтернатива на различных платформах, в том числе Linux. Наиболее простым и современным решением будут Google документы, так как открываются онлайн без скачивания прямо в браузере на любой платформе. Существуют российские качественные аналоги, например от Яндекса.
Будьте внимательны на мобильных устройствах, так как там используются упрощённый функционал даже в официальном приложении от Microsoft, поэтому для просмотра скачивайте PDF-версию. А если нужно редактировать файл, то используйте оригинальный файл.
Файлы такого типа обычно разбиты на страницы, а текст может быть форматированным (жирный, курсив, выбор шрифта, таблицы и т.п.), а также в него можно добавлять изображения. Формат идеально подходит для рефератов, докладов и РПЗ курсовых проектов, которые необходимо распечатать. Кстати перед печатью также сохраняйте файл в PDF, так как принтер может начудить со шрифтами.
















