50105 (566635), страница 2
Текст из файла (страница 2)
Используя вышеупомянутые инструкции соберем схему с внутриемкостной связью с антенной и внутриемкостной связью с нагрузкой входной цепи бытовых радиоприемников (см. рис.2). На вход реального лабораторного макета подается синусоидальный сигнал с ВЧ генератора амплитудой 50 мВ и частотой, изменяемой в пределах 600…1400 кГц. Поэтому в схеме собранной в Multisim установим источник переменного напряжения – DC_POWER. Конечно, далее, уже в LabVIEW значение источника будем менять по частоте в заданном диапазоне, но для правильной синхронизации программных средств, нам нужно установить любое значение. Поэтому выбрано значение чатоты 1 МГц. R3 является нагрузкой схемы, поэтому выбор ветви пал на ветвь «output». Куда и устанавливаем «пробник». Изменим имя пробника с «Probe1» на «output». На этом подготовка в среде Multisim закончена.
Рис.2. Схема в Multisim
Переходим к сборке модели исследования в LabVIEW. Связь будет осуществляться таким образом:
Рис.3. Обмен данными между MultiSim и LabVIEW модели
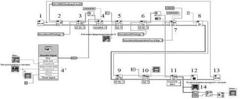
Сборку модели начнем с установкой необходимых ВП в окне Block Diagram LabVIEW. Расположим блоки по их надобности (см. рис.4).
-
Включаем «движок» Multisim;
-
Открываем файл cхемы в MultiSim;
-
Определяем входной источник входного сигнала;
-
Включаем блок, с помощью которого можно подавать сигнал из LabVIEW в исследуемую схему в MultiSim, через источник V1;
4'. Генератор, с помощью которого подается сигнал на блок синхронизации с MultiSim;
-
Устанавливаем значение ферровариометра L1;
-
Определяем местоположение «Пробника»;
-
Определяем какие данные нужно получить из «Пробника»;
-
Запускаем моделирование в MultiSim (кстати, в этот момент начинает работать MultiSim в фоновом режиме);
-
Получаем данные после моделирования;
-
Смотрим, изменилось ли значение ферровариометра L1;
-
Выводим необходимые данные для контроля сигнала, в нашем случае на осциллограф и на вольтметр;
-
Останавливаем моделирование;
-
Отключаем «движок» MultiSim;
-
Осциллограф.
Далее переходим в окно Front Panel в LabVIEW. Здесь установим и разместим необходимые инструменты контроля (см. рис.5)
Полученная виртуальная модель лабораторного макета полностью соответствует реальному лабораторному макету.
Рис.4. Блок диаграммы лабораторного макета
Рис.5. Лицевая панель лабораторного макета
Заключение
Проделанная работа позволяет с уверенностью сказать
-
Проектирование занимает меньшее время, сил и денежных средств.
-
С помощью данного дополнения инженер с легкостью может продемонстрировать функциональность разрабатываемого устройства.
-
Студенты могут выполнять лабораторные работы используя виртуальные лабораторные макеты, например как представленный в данном докладе. И т.к. этот любой виртуальный макет можно размножить, то за одно занятие все студенты могут выполнять одну и ту же лабораторную работу, используя каждый свой макет. А это позволяет лучше понять лекционный курс, т.к. студент уже имеет все необходимые знания. А так же студент может выполнить лабораторную работу дома, используя при этом свой ПК.
-
Если рассматривать второй и третий пункты достоинств, то при исследовании устройства, можно выявить еще одно достоинство: выход из строя виртуального устройства–макета невозможен.
-
В [2] предложены модели исследования по дисциплине «Электродинамика и распространение радиоволн». Смею предположить, что благодаря дополнению можно исследования передатчика, передачи и прием сигнала объединить в единое целое.
И еще можно выявить ряд не перечисленных выше достоинств…
Список использованной литературы
-
http://zone.ni.com/devzone/cda/tut/p/id/7785 An Introduction to Multisim Automation with the LabVIEW Multisim Connectivity Toolkit (beta).
-
Евдокимов Ю.К., Линдваль В.Р., Щербаков Г.И. LabVIEW для радиоинженера: от виртуальной модели до реального прибора. Практическое руководство для работы в программной среде LabVIEW. – М: ДМК Пресс, 2007. – 400 с.
-
National Instruments. Введение в Multisim. Трехчасовой курс.















