123190 (566198)
Текст из файла
МИНИСТЕРСТВО ОБРАЗОВАНИЯ И НАУКИ УКРАИНЫ
ДОНБАССКИЙ ГОСУДАРСТВЕННЫЙ ТЕХНИЧЕСКИЙ УНИВЕРСИТЕТ
ОТЧЕТ
по лабораторной работе
"Изучение и проверка способов измерения давления, разрежения
и разницы давлений"
Алчевск
Введение
Целью работы является получение практических навыков по проверке способов измерения различных технологических параметров на примере грузопоршневого манометра для измерения давления.
1. Теоретические исследования
1.1 Общие указания
1.1.1 Поверка пружинных манометров
Для поверки рабочих пружинных манометров допускается применение таких образцовых приборов:
– грузопоршневых манометров класса точности 0,05 и 0,2;
– пружинных манометров класса точности 0,16 и 0,25.
Для поверки рабочих манометров на месте их установки служат контрольные манометры класса 0,5 и 1, которые имеют трубчатые пружины и две стрелки.
При выборе того или иного образцового прибора необходимо руководствоваться следующим:
– граничное давление образцового прибора должно быть не меньше граничного давления прибора и номинальное значение давления прибора, которое проверяется, должно быть не меньше начальной трети от граничного давления образцового прибора;
– основная погрешность образцового прибора должна быть в четыре раза меньше погрешности прибора, который проверяется.
Используемые для проверки образцовые приборы должны находится в полной исправности и рабочем состоянии. Каждый прибор должен иметь непросроченное свидетельство про его государственную проверку и пломбу.
Поверка устройства для измерения давления может проводиться весовым способом или способом сравнения. Пружинные манометры на большое давление удобней проверять весовым методом. Поверка манометров на высокое давление проводится либо способом сравнения с показаниями образцовых пружинных манометров, либо смешанным способом.
С помощью поршневого манометра, приведенного на рисунке 1.1, можно проводить проверку тем или иным способом.
Для отчета показаний используют два метода.
При первом методе размер созданного давления устанавливают по образцовому прибору, и отсчитывают показания по прибору, который проверяется.
При втором методе доводят показания проверяемого прибора до полного совпадения стрелки с оценкой проверяемой шкалы, а счёт делают по образцовому прибору. В последнем случае, если при проверке используется поршневой манометр, совмещение стрелки с проверяемыми отметками достигается путём наложения на тарелку поршневого манометра кроме грузов, которые принадлежат прибору, технических гирь 3-го класса.
1.1.2 Условия и правила поверки
Проверку манометров начинают с их внешнего вида. Внешний вид определяет в некоторой степени пригодность прибора к работе до начала его проверки.
Проверяемые приборы должны быть в исправном состоянии и не иметь сосредоточие коррозии, загрязнений, трещин и повреждений стекла, циферблата. В приборе не должно находиться никаких посторонних предметов.
В рабочем положении прибора при отсутствии давления конец стрелки должен совпадать с нулевой отметкой шкалы.
У приборов без штифта отклонения конца стрелки от нулевой отметки не должно превышать допустимой погрешности. У приборов, которые имеют штифт, нулевая отметка заблаговременно сдвинута на размер допустимой погрешности.
Приборы, которые не удовлетворяют вышеуказанным требованиям, на проверку не принимаются и направляются в ремонт.
Поверку пружинных манометров делают в лаборатории, сравнивая показания прибора с действительным размером созданного в нём давления, обмеренного образцовым манометром, или сопоставляя показания пробора с весом грузов, которые накладываются на тарелку поршневого манометра.
К манометрам с дистанционной системой передачи показаний на расстояние напряжение питания подается не меньше чем за час до проведения проверки, потому что необходим их предварительный подогрев.
До начала проверки манометра необходимо проверить установку стрелки второстепенного прибора на контрольную отметку при нажатии кнопки «контроль». В случае отклонения стрелки от обозначенного положения настраивание прибора проводиться в присутствии преподавателя или лаборанта.
Температура окружающей среды при проверке не должна отличаться от нормальной + 20оС больше чем на + 5оС.
Прибор должен проверяться в том положении, при котором он находится в рабочем состоянии.
Проверка манометров класса 1; 1,5 и 2,5 должна проводиться не меньше чем в пяти отметках, а класса 4 – в трёх отметках, разделенных равномерно в границах всей шкалы проверяемого манометра.
Проверку ведут сначала при повышении давления, потом проверяемый прибор выдерживают в течение пяти минут под граничным давлением (на конечной отметке проверяемого прибора) и делают проверку показаний прибора на тех же отметках в обратном порядке при снижении давления.
Отсчет показаний проверяемого прибора делают на каждой отметке два раза. Сначала непосредственно после создания необходимого давления, а потом после постукивания по корпусу манометра. Показания до и после постукивания и их разницу заносят в таблицу результатов проверки.
При сборе показаний необходимо, чтобы линия взгляда, который проходит через конец стрелки, была направлена перпендикулярно к поверхности шкалы для исключения ошибок отсчета вследствие параллакса.
При проверке прибора с помощью грузопоршневого манометра измерения делают только во время вращения поршня.
Действительное значение давления, измеряемого образцовым манометром, определяется путем введения поправок в его показания. Поправки нужно брать в свидетельстве образцового манометра. Если необходимые значения непосредственно в свидетельстве не приведены, то они могут быть найдены путём интерполяции.
В конце проверки излишнее давление в проверяемом манометре медленно опускают до нуля и отмечают положение его стрелки относительно нулевой отметки.
1.1.3 Описание установки для поверки
Установка для проверки манометров в данном случае состоит из образцового поршневого манометра 3-го разряда класса 0,2 (тип МП-25) или образцового поршневого манометра второго класса 0,05 (тип МП-6).
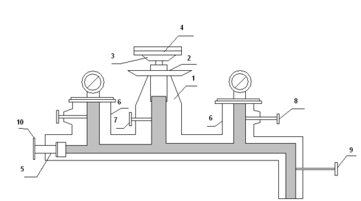
На рисунке 1.1 представлен общий вид поршневого манометра МП-25. Здесь давление создается весом грузов, который действует на поршень. Поверхность вертикального цилиндра 1 является более всего важной частью прибора. Она отшлифована с высокой частотой. В цилиндре размещается старательно пригнанный стальной поршень 2. На верхний конец поршня навинчена тарелка 3, на которой помещают грузы 4, имеющие форму дисков.
В верхней части цилиндра находится воронка 11, которая предназначена для заполнения прибора рабочей жидкостью. Прибор имеет винтовой поршневой пресс 5 с манжетным уплотнителем. Для установки проверяемых поршневых манометров предназначены 2 штуцера 6.
Хотя грузовая часть поршневого манометра рассчитана на нагрузку 50 кгс, комплект грузов, которые прилагаются к прибору, обычно состоит из 24-х грузов по 1 кгс и одного груза весом 0,5 кгс.
На всех грузах и на тарелке поршня выбивается номер прибора и размер давления, на которое он рассчитан.
Запрещается заимствовать грузы из других манометров.
Для проверки манометров с предельным давлением выше 25 кгс/см сообщение внутренней пустоты цилиндра с пустотой винтового пресса 5 перекрывается с помощью вентиля 7, а в одном из штуцеров 6 устанавливают соответствующий пружинный образцовый манометр. Давление в коленах 6 в этом случае создается с помощью винтового пресс 5 обращением маховика 10.
1 – вертикальный цилиндр; 2 – стальной поршень; 3 – тарелка; 4 – груз; 5 – винтовой поршневой пресс; 6 – штуцер; 7,8,9 – вентиль; 10 – маховик
Рисунок 1.1 – Общий вид грузопоршневого манометра
Во время работы поршень должен быть погружен в цилиндр по оценке на нем. На таком расстоянии поршень поддерживается на протяжении всего времени проверки. Более высокое расположение поршня может привести к его перекосу и порче внутренней поверхности цилиндра.
Установка поршневого манометра должна вестись строго за уровнем. В условиях учебной лаборатории установку проверяющихся пружинных манометров и образцового делают в присутствии лаборанта
1.2 Обработка результатов поверки
-
Результаты поверки манометра занести в таблицу результатов поверки 1.
-
Определить действительное значение поправки. Для определения значения поправки необходимы показания образцового манометра, которые берут из свидетельства, где дается вес грузов в кг и эффективная (рабочая) площадь поршня (см2).
Созданное грузами давление определяется по формуле:
, (1.1)
где Р – давление, кгс/см2;
G1 – вес поршня с тарелкой, кгс;
G2 - вага грузов, кгс;
F – рабочая площадь поршня, см2.
Рабочей силой поршня F принимают площадь пересечения поршня плюс половина площади кольцевого зазора между поршнем и цилиндром. Она дается в свидетельстве как эффективная площадь.
Эффективная площадь поршня поршневого манометра МП-25 обычно составляет от 0,996 до 1,004 см2.
-
Определить размер границы основной погрешности, которая допускается.
Она определяется по формуле:
,
где Рк – верхняя граница измерений прибора, кгс/см2;
к – класс точности проверяемого манометра.
Приведенные выше значения погрешности относятся к нормальному положению прибора и температуре окружающей среды 120оС ± 5оС.
-
Определить размер основной погрешности. Она представляет собой разницу между показаниями проверяемого прибора и соответственным ему действительным давлением.
Δ1 = Р1 – Рд, Δ 2 = Р2 – Рд.
где Рд – действительное значение давления, которое соответствует единице, которая проверяется;
Р1, Р2 – показания проверяемого манометра при прямом и обратном ходе стрелки, которая соответствует тому самому значению.
-
С размером границы основной допустимой погрешности сравнивают полученные при проверке значения погрешности при прямом Δ1 и обратном Δ2 ходе.
В результате проверки обычно получают ряд отдельных значений погрешности показаний прибора и отметках его проверяемой шкалы.
Размер наибольшей из отмеченных погрешностей и считается основной погрешностью.
-
Определение вариации приборов. Разница показаний проверяемого прибора при прямом и обратном ходе, которые соответствуют одной и той же проверяемой отметке.
Вариация считается по формуле:
V = Р1 – Р2.
Полученные при проверке значения вариаций сравнивают с допустимым размером, численно равным границе основной допустимой погрешности проверяемого прибора.
Манометры признаются годными по результатам проверки, если они удовлетворяют таким требованиям:
– если их основные погрешности и вариации не превышают допустимых;
– если движение стрелки в пределах всей шкалы осуществляется плавно без скачков на расстояние 1,5-3 мм от циферблата (в зависимости от диаметра корпуса);
– если стрелка после проверки возвращается к нулевой отметке с отклонением, которое не превышает допустимую погрешность, а при наличии штифта прижимается к нему.
1.3 Порядок выполнения работы
-
После подготовки установки и проверяемого прибора, отмечают число проверяемых отметок, знакомятся с содержанием образцового прибора. В условиях учебной лаборатории обычно проверяют все цифровые отметки.
-
Начиная проверку, отмечают положение стрелки проверяемого прибора. Потом устанавливают поршень 2 в цилиндр 1, открывают вентили 8 и на тарелку поршня кладут количество грузов, которое соответствует другой отметке шайбы проверяемого манометра. При накладывании грузов необходимо поддерживать тарелку поршня рукой, чтобы при увеличении числа грузов не делать толчков и увеличить давление по возможности равномерно (плавно). В то же время необходимо следить, чтобы глубина погружения поршня под действием возрастающего количества грузов была не больше 2/3 и не меньше его длинны (для мП-25).
-
Потом, положив руку сбоку грузов (чтобы не создавать дополнительное давление), сообщают поршню с грузами небольшое. Потом, положив руку сбоку грузов (чтобы не создавали дополнительное давление), сообщают поршню с грузами небольшое вращающееся направление по часовой стрелке. Отчет по шкале манометра делать во время оборота поршня с точностью до одной десятой наименьшего давления.
-
Для проверки следующих оценок добавляют соответственное количество грузов и делают отсчеты показаний манометра, который проверяется в старом порядке.
-
Закончив проверку показаний при нарастающем давлении прибор, который проверяется, выдерживает под давлением на граничной отметке его шкалы на протяжении 5 минут. После этого делают проверку показаний прибора на тех же отметках в обратном порядке, т. е. при снижении давления.
Поверка прибора, граничное давление которого больше давления, создаваемого грузами:
-
Поверка манометра, граничное давление которого больше чем те, что можно сотворить с помощью грузов, проводится так же, как и в предыдущем случае до тех пор, пока не будут использованы все грузы. Если необходимо дальнейшее увеличение давления, то с помощью вентиля 7 отключается грузовая часть поршневого манометра и для создания давления используется его винтового пресса. Проверка показаний ведётся по образцовому пружинному манометру, который в данном случае должен быть установлен на одном из штуцеров 6 и включен в самом начале работы. В этом случае, выполняя выдержку на граничной отметке, проверяемый прибор с помощью вентиля 8 оставляют под давлением, а избыточное давление в образцовом приборе до старого значения, включить проверяемы прибор и делать проверку в обратном порядке.
-
В конце проверки давление постепенно понижают до нуля, для чего поршень вынимают из цилиндра, и показания проверяемого манометра, при избыточном давлении заносят в таблицу результатов проверки.
-
Закончив проверку, отключить пружинные манометры, закрыв оба вентиля 8, и поршень осторожно вставляют снова в цилиндр.
2. Экспериментальная часть
Таблица 2.1 – Результаты измерений
| Р эквивалентное | 1,99 | 2,98 | 3,98 | 4,98 | 5,97 | 10,95 | 15,93 |
| Р действительное | 2,16 | 3,24 | 4,2 | 5,22 | 6,3 | 11,4 | 16,2 |
Расчет погрешностей:
Абсолютная Δ=х – с;
Характеристики
Тип файла документ
Документы такого типа открываются такими программами, как Microsoft Office Word на компьютерах Windows, Apple Pages на компьютерах Mac, Open Office - бесплатная альтернатива на различных платформах, в том числе Linux. Наиболее простым и современным решением будут Google документы, так как открываются онлайн без скачивания прямо в браузере на любой платформе. Существуют российские качественные аналоги, например от Яндекса.
Будьте внимательны на мобильных устройствах, так как там используются упрощённый функционал даже в официальном приложении от Microsoft, поэтому для просмотра скачивайте PDF-версию. А если нужно редактировать файл, то используйте оригинальный файл.
Файлы такого типа обычно разбиты на страницы, а текст может быть форматированным (жирный, курсив, выбор шрифта, таблицы и т.п.), а также в него можно добавлять изображения. Формат идеально подходит для рефератов, докладов и РПЗ курсовых проектов, которые необходимо распечатать. Кстати перед печатью также сохраняйте файл в PDF, так как принтер может начудить со шрифтами.
















