4513 (565824)
Текст из файла
РОЗРАХУНОК БЛИСКАВКОЗАХИСТУ ВИРОБНИЧИХ ПРИМІЩЕНЬ
Мета заняття: вивчити конструкцію блискавкозахисних пристроїв та методику їх розрахунку; засвоїти та провести розрахунки елементів блискавкозахисту.
Конструкції блискавковідводів та їх розрахунок
Грозові розряди атмосферної електрики небезпечні для життя людей. До того ж блискавка при ударі в будівлю або споруду може завдати великих руйнувань, викликати пожежу.
Блискавовідводи мають різні конструкції: стержньові, антенні та сіточні. Найбільш поширені стержньові.
Блискавковідводи складаються з таких елементів: блискавкоприймача, струмовідводу, заземлювача та мачти.
Одиночний стержньовий блискавковідвод створює навколо споруди, біля якої він встановлений, захисну зону у вигляді подвійного конуса з круглою основою. Радіус його в півтора разИ більше висоти блискавкоприймача.
Захисну зону блискавкоприймача можна відобразити графічно. Проведемо горизонтальну лінію та перпендикулярно до неї в масштабі висоту блискавкоприймача, рівну R (рис.1).
На горизонтальній лінії із точки О в обидва боки в тому ж масштабі відкладемо радіуси основи r, що дорівнюють 1,5 h. Кінці радіусів позначимо літерою Б. На лінії ОН, на відстані 0,8 h від основи, відзначимо точку В, а на лінії радіусів – точки Г, котрі ділять радіуси на дві рівні частини.
Рис. 1. Схема захисту будівлі від блискавки одиночним стержньовим блискавковідводом
За одержаними даними можна побудувати переріз подвійного конуса – зони захисту. Для цього проведемо прямі лінії з точки Н до точки Г, а з точки В до точки Б. Після такої побудови одержимо трикутник, при обертанні якого навколо осі ОН утвориться зона захисту з блискавковідводом висотою h.
Горизонтальний переріз зони захисту на висоті споруди h x зображує коло радіусом r x , яке називається радіусом захисту.
При одиночному стержньовому блискавковідводі висотою менш 60 м радіус захисту визначають за такими співвідношеннями:
а) при
б) при
.
Зона захисту одиночного стержньового блискавковідводу висотою більше 60 м, але не вище 100 м, за формою аналогічна зоні захисту одиночного стержньового блискавковідводу висотою менше 60 м, за основу конуса приймається коло радіусом 90 м.
Радіус захисту r x при висоті споруди h x, що захищаеться, для цього випадку визначається такими виразами:
а) при
б) при
.
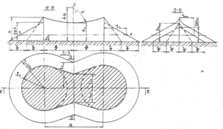
При захисті довгих споруд встановлюють два стержньових блискавковідводи. Зона захисту рівних за висотою ( h не більш 60 м) блискавковідводів із відстанню між ними а зображена на рис. 2.
Рис. 2. Схема захисту будівлі від блискавки двома стержньовими блискавковідводами
Торцева частина зони захисту визначається як зона одиночних стержньових блискавковідводів. Верхня межа зони являє собою дугу кола, що проходить через вершини блискавковідводів з центром, який знаходиться на перпендикулярі, проведеному зі середини відстані на висоті 4h.
Окреслення зони захисту в перерізі вертикальною площиною посередині між блискавковідводами визначають за правилом побудови зони захисту одиночного стержньового блискавковідводу висотою h0 (рис. 2), при цьому радіус основи r0 = 1,5 h0 .
Висоту зони в середині подвійного стержньового блискавковідводу h0, при відомій висоті h та довжині будови а визначають за формулою
.
При побудові подвійного стержньового блискавковідводу слід враховувати, що при а > 5h спільна дія одиночних блискавковідводів порушується, оскільки в такому випадку h0 = 0.
Висоту блискавковідводу при відомих h0 та а розраховують за формулою
За дуже довгих побудовах, коли блискавкозахист не можна виконати двома стержньовими блискавковідводами, влаштовують одиночні або подвійні тросові (антенні) блискавковідводи.
У такому блискавковідводі верхня частина захисту обмежується горизонтальною прямою, яка проходить через точку максимального провисання троса. Зона захисту в вертикальному перерізі, перпендикулярному тросу посередині між опорами, за своєю формою стержньовим блискавковідводам, але радіус основи зони захисту при тросовому блискавковідводі r0 = 1,25. При розрахунках зони захисту, що утворюється тросовим блискавковідводом у перерізі А – А (рис..3), треба додержуватись формули:
а) при
б) при
Рис. 3. Схема захисту будівлі від блискавки одинарним тросовим блискавковідводом.
Розрахункова висота опор троса складається з розрахункової висоти троса блискавковідводу h0 та величини стріли провисання троса. Стріла провисання для стального троса перерізом 35–50 мм2 приймається:
для прольотів довжиною до 120 м – 2 м;
для прольотів довжиною від 120 до 150 м – 3 м.
При застосуванні одиночного або подвійного стержневого блискавковідводу переріз блискавкоприймача повинен бути не менше 100 мм2. За струмоприймач можна використовувати стальний дріт діаметром 6 мм.
Конструкція контуру заземлення та його розрахунок
Опір заземлення розтіканню струму при стержньовому блискавковідводі повинен бути не більше 10 Ом.
Конструкція контуру заземлення може бути різною. Але частіше всього вона виконується із трубчастих або виготовлених з кутиків стержнів, які вбиваються в ґрунт до незамерзаючого шару.
Верхні кінці стержнів з’єднуються між собою металічною штабою за допомогою круглого залізного прута або електрозварюванням. До контуру також електрозварюванням приєднують товстий залізний провід (перетином не менше 50 мм2), який з’єднується зі струмопроводом.
Рис. 4. Типи одиночних заземлювачів: а) – верхній кінець стержня на рівні землі; б) – верхній кінець стержня заглиблений; в) – горизонтальний смуговий заземлювач
Надійність захисного заземлення залежить від величини його опору.
Опором заземлення називають опір, який віддає земля поширенню електричного струму із заземлювача в ґрунтовий шар.
Опір розповсюдженню одиночних трубчастих або стержньових заземлювачів, верхній кінець якого знаходиться на рівні поверхні землі (рис. 7.4, а), визначається за формулою:
При заглибленні труби (стержня) нижче рівня поверхні (рис. 7.4, б) розрахунок ведеться за формулою:
Відповідно до продольного смугового заземлювача (рис. 7.4, в) опір можна знайти за допомогою формули
У наведених формулах прийняті такі позначення:
– питомий опір ґрунту,
– довжина заземлюючої труби або стержня, см;
d – діаметр труби або стержня, см;
b – ширина штаби, см;
h – відстань від поверхні землі до середини заземлювача, см.
Питомий опір ґрунту
залежить від стану ґрунту, його структури, наявності солей та його вологості. При розрахунках застосовують середнє значення питомого опору ґрунту (табл. 1).
У відповідності до правил встановлення стержньових блискавковідводів при захисті тваринницьких приміщень щогли та заземлювачі розміщують не ближче 4 м від будови. З метою попередження враження кроковою напругою місце заземлення повинно бути огороджено, щоб тварини не змогли підійти ближче 3 м.
При влаштуванні декількох блискавковідводів заземлювач повинен бути загальним для всіх блискавковідводів.
Оскільки грозовий розряд відбувається миттєво, то через блискавковідвод перебігає імпульс електричного струму. Опір заземлювача поширенню імпульсного струму менший, ніж для струму промислової частоти. Ця різниця враховується імпульсним коефіцієнтом
(табл. 2).
Таблиця 1. Питомий опір ґрунту,
| Характер ґрунту (за вологості 10–20%) | Межа вимірювань | Рекомендується для розрахунків |
| Пісок | 4,0–10,0 | 7,0 . 104 |
| Супісок | 1,5–4,0 | 3,0 . 104 |
| Суглинок | 0,5–1,5 | 1,0 . 104 |
| Глина | 0,1–0,7 | 0,4 . 104 |
| Чорнозем | 0,1–5,8 | 2,0 . 104 |
Таблиця 2 Наближене значення імпульсних коефіцієнтів для одиночних заземлень
| Питомий опір ґрунту, Ом . см | Імпульсивні коефіцієнти | |||||
| для труб довжиною 2–3 м | для горизонтального троса довжиною, м | |||||
| 10 | 20 | 30 | 40 | |||
| 104 | 0,80 | 0,90 | 1,10 | 1,40 | 1,70 | |
| 3 . 104 | 0,60 | 0,70 | 0,90 | 1,00 | 1,30 | |
| 5 . 104 | 0,40 | 0,70 | 0,70 | 0,80 | 0,90 | |
| 105 | 0,35 | 0,40 | 0,60 | 0,70 | 0,80 | |
Опір розтіканню імпульсного струму Ri знаходять за формулою
Характеристики
Тип файла документ
Документы такого типа открываются такими программами, как Microsoft Office Word на компьютерах Windows, Apple Pages на компьютерах Mac, Open Office - бесплатная альтернатива на различных платформах, в том числе Linux. Наиболее простым и современным решением будут Google документы, так как открываются онлайн без скачивания прямо в браузере на любой платформе. Существуют российские качественные аналоги, например от Яндекса.
Будьте внимательны на мобильных устройствах, так как там используются упрощённый функционал даже в официальном приложении от Microsoft, поэтому для просмотра скачивайте PDF-версию. А если нужно редактировать файл, то используйте оригинальный файл.
Файлы такого типа обычно разбиты на страницы, а текст может быть форматированным (жирный, курсив, выбор шрифта, таблицы и т.п.), а также в него можно добавлять изображения. Формат идеально подходит для рефератов, докладов и РПЗ курсовых проектов, которые необходимо распечатать. Кстати перед печатью также сохраняйте файл в PDF, так как принтер может начудить со шрифтами.
















