МУ к курсовому проект_расчет зеркальных антенн (563776), страница 2
Текст из файла (страница 2)
где f — фокусное расстояние (рис. 2);
R0— радиус раскрыва.
Для создания выбранного амплитудного распределения в апертуре нужно знать ДН облучателя. При проектировании возможны два случая: облучатель задан или обучатель подлежит выбору. Для полученного максимального коэффициента усиления зеркальной антенны с данным облучателем выбирается оптимальный угол раскрыва.
Оптимальный угол раскрыва зеркала в этом случае определяется из выражения для КНД антенны, полученного в теории зеркальных антенн [7].
где G – коэффициент направленного действия антенны; D – диаметр раскрыва антенны; 0 – искомый угол раскрыва антенны;
- коэффициент направленного действия облучателя в направлении
;
- диаграмма направленности облучателя. В этом выражении
- коэффициент направленного действия антенны при полном использовании площади раскрыва, т. е. при постоянстве фаз и амплитуд в раскрыве; остальная часть выражения представляет собой КИП или эффективность g
Если диаграмма направленности облучателя по мощности в пределах главного лепестка апроксимируется функцией,
то КНД облучателя в направлении
определяется выражением:
и КИП определяется по формуле:
показатель степени n не ограничивается значениями натуральных чисел; он может быть любым положительным действительным числом. На рис.3 показана зависимость КИП от угла раскрыва для различных значений показателя степени n.
Рис.3.Зависимости КИП зеркала от угла раскрыва.
Таким образом, для заданного облучателя строится ДН по мощности, аппроксимируется функцией
и для нее по графикам рис.3 определяется угол раскрыва зеркала.
При рассмотрении второго варианта, если не задан тип облучателя, то его выбирают. Исходными параметрами выбора облучателя являются: рабочий диапазон, полоса
, требуемая поляризация поля излучения (основная), максимальная необходимая мощность излучения. Для выбранного типа облучателя рассчитывают и аппроксимируют ДН и выбирают оптимальный угол раскрыва для получения максимального КИП и КНД. Если исходным параметром является ширина диаграммы направленности с заданным УБЛ, то угол раскрыва выбирается исходя из облучения края раскрыва заданным уровнем по выбранному амплитудному распределению. В этом случае, по графикам рис.4, показывающим уровень облучения края зеркала в зависимости от требуемого УБЛ и ДН облучателя, подбирается угол раскрыва зеркала.
Рис.4.Зависимость УБЛ от относительного уровня облучения края зеркала.
Далее ДН облучателя аппроксимируется соотношением (5). Для выбранного угла раскрыва по графикам рис.3 можно определить КИП. После этого можно перейти к расчету ДН.
2. расчет характеристик направленности
Приведенный расчет дан для одной плоскости вертикальной или горизонтальной. У облучателя ДН в вертикальной и горизонтальной плоскости могут отличаться. Поэтому целесообразно провести аппроксимацию ДН облучателя в одной плоскости и провести определение оптимального угла в одной и другой плоскости. Если есть возможность регулировки диаграммы направленности облучателя в двух плоскостях, то такой расчет можно не проводить.
В начале проверяют получение амплитудного распределения в раскрыве для заданного облучателя, фокусного расстояния, и угла раскрыва 2. Наиболее простым методом определения распределения является метод геометрической оптики. Поясняет этот метод рис.5. Для каждого направления угла ’ значение ДН облучателя (отрезок ab) переносится на ось or (отрезок cd). Функцию
перестраивают в функцию
где r- координата, отсчитываемая методом простой геометрии. Полученное распределение
аппроксимируют функцией из таблицы 1.
Рис.5.
Если наиболее близкая аппроксимирующая функция E(r) совпадает с выбранной функцией для заданного УБЛ, то не требуется вторичной итерации изменения раскрыва. Для найденной функции определяется аппроксимация поля ДН в соответствии с теорией антенн СВЧ. Преобразования Фурье (т.е. переход от распределения поля к ДН) для распределений, которые были взяты, определяются в виде - функций. –функции – известные, табулированные функции, таблицы которых приведены в приложении 2. Кроме того, в приложении 2 приведено аналитическое выражение – функции, которое позволяет рассчитать ДН на персональном компьютере. Для заданной длины волны строится ДН в декартовых координатах в одной или двух плоскостях. ДН достаточно хорошо отражает ДН зеркальной антенны в пределах основного и первых боковых лепестков. Если необходимо рассчитать дальние боковые лепестки, то применяется метод геометрической теории дифракции [3].
Если не задан тип облучателя и неизвестна его ДН, но известно амплитудное распределение поля в раскрыве, то для параболической зеркальной антенны можно определить ДН облучателя из следующего выражения:
где
- ДН облучателя. Связь переменных r и ’ показана на рис.5.
Для амплитудных распределений из таблицы 1, выражение (8) принимает вид:
3. Облучатели зеркальных параболических антенн.
В качестве облучателей зеркальных антенн используют слабонаправленные излучатели, которые излучают в пределах полупространства на зеркало и не излучают в обратном направлении (в свободное пространство). Теоретически оптимальной ДН является ДН рис.6.
Ц
елесообразно остановиться на выборе облучателя в соответствии с диапазоном волн. Облучатель питается линией передачи СВЧ, соответствующего диапазона и удобно, чтобы облучатель был естественным продолжением питающей линии.
Рис.6.Оптимальная ДН облучателя.
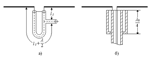
Так в дециметровом диапазоне и длинноволновой части сантиметрового диапазона удобно использовать вибратор, который возбуждается коаксиальной линией, являющейся элементом крепления. Непосредственное соединение симметричного вибратора с коаксиальной линией приводит к возникновению тока на наружной поверхности линии, излучению коаксиальной линии и искажению ДН вибратора. Для соединения симметричного вибратора с коаксиальной линией применяют симметрирующие устройства [8] рис.7.
Для обеспечения симметричного возбуждения с помощью U – колена, разность длин отрезков питающей линии выбирается равной
(
- длина волны в линии), а наружные поверхности закорачиваются. Длина отрезка l1должна обеспечивать согласование активных составляющих входного сопротивления антенны и коаксиальной линии.
Рис.7. Симметрирующие устройства: U – колено (a), четвертьволновый стакан (б).
Четвертьволновый стакан представляет собой металлический цилиндр длиной
, припаянный с нижней стороны к наружной поверхности коаксиальной линии. Короткозамкнутая на конце четвертьволновая линия, образованная стаканом и внешней поверхностью коаксиальной линии, имеет высокое входное сопротивление и препятствует ответвлению тока на внешнюю поверхность линии.
В сантиметровом диапазоне вибраторный облучатель может возбуждаться волноводом рис.8.
Рис.8. Вибраторный облучатель, возбуждаемый прямоугольным волноводом.
Для однонаправленности используют вибратор с контррефлектором в виде диска рис.9. Диаметр вибратора выбирают из условий получения нужного диапазона частот и достаточной механической прочности. Практически диаметр вибратора часто полагают равным диаметру внутреннего провода питающей коаксиальной линии, чтобы уменьшить неоднородность в точке подключения вибратора, а также для удобства сборки. Диаметр контррефлектора рекомендуется брать D=0,815 рис. 9.
Рис.9. Схема антенны с параболическим отражателем.
Такой контррефлектор дает достаточно хорошую экранировку переднего лепестка диаграммы вибратора и в то же время не слишком «затеняет» параболическое зеркало. Располагают рефлектор от вибратора на расстоянии
,что создает оптимальные условия для сложения поля активного вибратора и поля, отраженного от контррефлектора.
б) Расчет диаграммы направленности облучателя с контррефлектором
Воспользуемся принципом зеркального изображения и заменим действие металлической поверхности контррефлектора пассивным вибратором, расположенным на расстоянии
от активного и несущим ток, сдвинутый по фазе на 180° относительно тока в активном вибраторе рис. 10.
Рис.10.Зеркальное изображение вибратора с контррефлектором в виде диска.
Тогда в любой точке пространства поле будет определяться как сумма полей обоих вибраторов и может быть рассчитано умножением диаграммы, одиночного полуволнового симметричного вибратора F1() на множитель решетки F2()
где N — количество вибраторов (в рассматриваемом случае N=2);
d — расстояние между вибраторами;
— угол между линией расположения вибраторов и рассматриваемым направлением (рис.9).
















