UP-2-3 (562364), страница 2
Текст из файла (страница 2)
При выполнении неравенства |V'j - VjP|< δ, где δ = 1...20С, за истинное значение перегрева принимают V'j или V'jP. Если неравенство не выполняется, то повторяют расчет, положив V"j = V'jP.
Метод тепловой характеристики состоит в построении по расчетным данным зависимости Vj = Vj(P), по которой для любого значения теплового потока P можно найти перегрев и температуру jой точки или изотермической поверхности.
Для построения тепловой характеристики задаются произвольным значением перегрева V'j, определяют σ'Σ и далее тепловой поток P'= σ'Σ·V'j, который способна рассеять конструкция при данных условиях теплообмена. Координаты V'j и Pj служат одной точкой тепловой характеристики; второй точкой является начало координат. Таким образом, тепловая характ
еристика представляет собой прямую, проходящую через начало координат и точку с координатами V'j и P' (рис. 3.3).
В коэффициентном методе для определения перегрева используется теоретическое соотношение
где V0j – значение перегрева в типовой конструкции при исходных значениях параметров конструкции и окружающей среды; Kj=Vij/V0j – коэффициенты, характеризующие парциальное влияние отклонений параметров на показатели теплового режима, Vij – значение перегрева jой точки конструкции при изменении iго параметра; n – число влияющих на перегрев параметров.
Значения V0j и Kj находят из графиков, построенных по экспериментальным или расчетным данным.
Ввиду того, что коэффициенты Ki различны для разных классов конструкций, возможности коэффициентного метода ограничиваются применимостью его лишь к определённому классу конструкций.
Описание объекта исследования
Проводится исследование теплового режима блока цифровой РЭС IV поколения. Конструкция блока показана на рис. 3.4.
Рис. 3.4
Блок собран на пяти односторонних функциональных ячейках 3, на каждой из которых размещено по восемь бескорпусных резистивных ситалловых подложек типоразмера 24х30 мм. Металлическая рамка ячейки с габаритными размерами 154х91х6 мм изготовлена из алюминиевого сплава Д 16. Коммутационная плата ПП выполнена из фольгированного стеклотекстолита СФ-1 толщиной 1,5 мм. Печатные проводники платы обеспечивают параллельное соединение микросборок и входное сопротивление блока около 40 Ом. Крепление ПП к металлической рамке и подложек к теплоотводящим планкам производится с помощью эпоксидного клея ЭДП. Для защиты от влаги ячейка покрывается одним слоем лака УР-231.
ФЯ собираются в пакет с габаритными размерами 154х91х30 мм. Пакет ячеек шестью латунными винтами 6 М 3х35 крепится к бобышкам 2 основания корпуса, имеющим высоту 8 мм.
Корпус микроблока 1 с габаритными размерами 183х108х46 мм выполнен из алюминиевого сплава Д16. На передней стенке основания корпуса смонтирован разъем 5, на который с помощью жгута из проводников МГТФ выведены цепи питания ФЯ и температурные датчики. Для герметизации блока между основанием и крышкой 4 устанавливается эластичная резиновая прокладка 7. Крепление крышки к основанию производится десятью винтами М 3х8. На внешнюю поверхность корпуса нанесено оксидное покрытие.
Тепловая модель микроблока
Д
ля составления тепловой модели блока пользуются методами изотермических поверхностей и однородного анизотропного тела. Предполагается, что поверхность корпуса блока и поверхность нагретой зоны являются изотермическими соответственно со среднеповерхностными температурами tк и tз. Нагретая зона представляет собой однородное анизотропное тело с эквивалентными коэффициентами теплопроводности λx, λy, и λz. Тепло, выделяемое резисторами микросборок за счет теплопроводности нагретой зоны, передается на её поверхность. С поверхности нагретой зоны теплопроводностью воздушных прослоек (в прослойках малой толщины конвективный теплообмен мало эффективен), теплового контакта между нижней ФЯ и бобышками основания, теплопроводностью самих бобышек, а также излучением тепло передаётся на корпус, оттуда конвекцией и излучением – в окружающее пространство. Тепловая схема микроблока приведена на рис. 3.5, где приняты следующие обозначения: σзо – тепловая проводимость между центром нагретой зоны и её поверхностью; σзкл, σзкв – тепловые проводимости между поверхностью нагретой зоны и корпусом при лучевой и кондуктивной теплопередаче через воздушные прослойки; σзкэ=σтк· σб/(σтк + σб) – эквивалентная тепловая проводимость теплового контакта и бобышек основания; σкск, σксл – тепловые проводимости между корпусом и окружающей средой при теплообмене конвекцией и излучением.
Содержание работы
-
Ознакомление с краткими теоретическими сведениями и порядком выполнения работы.
-
Построение тепловой модели микроблока. Подготовка исходных данных для расчета показателей теплового режима микроблока.
-
Расчет на ЭВМ среднеповерхностной температуры корпуса нагретой зоны и температуры в центре нагретой зоны.
-
Исследование связи показателей теплового режима с параметрами конструкции.
-
Экспериментальное исследование показателей теплового режима микроблока.
-
Оценка точности тепловой модели.
Описание лабораторной установки
Лабораторная установка состоит из исследуемого микроблока, электронного термометра (ЭТ), источников питания микроблока (ИП1) и электронного термометра (ИП2).
С помощью источника ИП1 устанавливается заданный тепловой режим блока. Источник ИП2 обеспечивает питанием схему ЭТ. Датчиком температуры в ЭТ служит бескорпусной транзистор 2Т318 в диодном включении. Обратное сопротивление коллекторного p-n перехода транзистора является элементом измерительного моста. Напряжение разбаланса моста усиливается операционным усилителем, на выходе которого включен измерительный прибор М262М. Шкала прибора проградуирована в оС, цена одного деления шкалы 2оС. В микроблоке установлено 10 датчиков. Датчики 1, 2, 3, 10 размещены на корпусе блока, датчики 4, 5, 6, 8, 9 – на поверхности нагретой зоны, датчик 7 – в центре нагретой зоны. Опрос датчиков производится с помощью кнопочных переключателей, смонтированных на передней панели ЭТ. Структурная схема лабораторной установки приведена в приложении на рис. П.3.1 (выдается лаборантом)
.
Порядок выполнения работы
-
Получить задание у преподавателя: значение теплового потока P, рассеиваемого блоком (Р=3…10 Вт), и список параметров конструкции, значения которых предстоит связать с показателями теплового режима блока. Полный список параметров блока и пределы изменения приведены в табл. П.3.3. приложения.
-
Собрать лабораторную установку и получить у лаборанта разрешение на включение приборов.
-
Включить источник питания электронного термометра. Приблизительно через 5 минут опросить датчики температуры и показания ЭТ занести в таблицу. Среднее значение показаний ЭТ принять за температуру окружающей среды tc.
-
Произвести расчет среднеповерхностной температуры корпуса, нагретой зоны и температуры в центре нагретой зоны ПК. Все исходные данные для расчета теплового режима, кроме значения теплового потока Р и температуры окружающей среды tc, введены в память машины. Порядок расчета, основные расчетные соотношения, текст программы и инструкция по ее применению приведены в приложении 3.
Расчет среднеповерхностной температуры корпуса выполняется методом последовательных приближений.
При расчете температуры в центре нагретой зоны tзо блок ФЯ представляют моделью в виде однородного анизотропного тела. Для определения эквивалентных коэффициентов теплопроводности нагретой зоны λx, λy, λz в качестве элементарной тепловой ячейки можно взять всю ФЯ, поскольку с ней связано периодическое повторение геометрических и теплофизических свойств нагретой зоны.
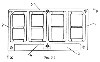
К
онструкция ФЯ дана на рис.3.6. Как видно из рисунка, тепло по направлению X в ячейке передается преимущественно через боковые ребра жесткости, рамки 1 и печатную плату 2. Другие элементы конструкции, обладающие относительно высокими коэффициентами теплопроводности, включены последовательно с воздушными прослойками. Сравнение коэффициентов теплопроводности материала рамки λp=170 Вт/(м·оС) стеклотекстолита λп=0,17 Вт/(м·оС) и воздуха λвозд=0,025 Вт/(м·оС) позволяет выделить основную цепь теплопередачи в ячейке по направлению X – ребра жесткости рамки 1 с усредненными размерами 2х6х91мм.
Аналогичен механизм передачи тепла в ячейке и по направлению Y. Основными цепями переноса тепла являются верхнее (3) и нижнее (4) ребра жесткости рамки с усредненными геометрическими размерами 2х6х154 мм и 2х4х154 мм.
По направлению Z тепло в пределах ФЯ в передается через винты, стягивающие ячейки в пакет и через ребра жесткости рамки 1 и 3, по которым осуществляется тепловой контакт между ФЯ в пакете. Результаты расчета показателей теплового режима блока занести в отчет и оформить в виде таблицы.
-
Произвести исследование связи показателей теплового режима с параметрами конструкции блока. Задача решается по программе в режиме построения графиков. Для работы программы необходимо указать номер параметра в соответствии с выведенным на экран дисплея списком и пределы изменения параметра. Графики зависимостей tk, tз и tзо от изменения заданных параметров конструкции перенести в отчет по лабораторной работе. Проанализировать зависимости.
-
Включить источник питания микроблока, установить входное напряжение и ток, соответствующие заданному значению теплового потока Р.
-
Произвести исследование динамики процесса установления в блоке стационарного теплового режима. Для этого через каждые 5 минут после подачи питания на микроблок снимать показания ЭТ. Полученные данные занести в таблицу. Время выхода блока на стационарный режим 35…40 мин.
-
Произвести расчет среднеповерхностных температур корпуса tэк, нагретой зоны tэз, tэзо, в процессе выхода микроблока на стационарный тепловой режим. Построить графики зависимости tэк, tэз, tэзо от времени.
-
Для экспериментальных значений температур tэк, tэз, tэзо, соответствующих стационарному тепловому режиму, произвести оценку точности теплового моделирования:
, где tэi – экспериментальное, ti – расчетное значение температуры корпуса, нагретой зоны и центра нагретой зоны. -
Проанализировать полученные результаты.
Содержание отчета
-
Цель лабораторной работы. Содержание задания.
-
Эскиз конструкции микроблока; его тепловая модель; тепловая схема.
-
Структурная схема лабораторной установки.
-
Исходные данные для расчета на ЭВМ теплового режима микроблока.
-
Расчетные значения среднеповерхностных температур корпуса, нагретой зоны, температуры в центре нагретой зоны и их зависимости от параметров конструкции.
-
Таблица экспериментальных значений температур, отражающих процесс выхода микроблока на стационарный тепловой режим, графики зависимости tэк, tэз, tэзо от времени.
-
Результаты оценки точности теплового моделирования микроблока.
-
Анализ полученных результатов и выводы по работе.
Контрольные вопросы
-
Опишите основные показатели теплового режима конструкций.
-
Охарактеризуйте теплообмен конструкций с окружающей средой.
-
Перечислите и охарактеризуйте методы теплового моделирования конструкций РЭС..
-
Перечислите и охарактеризуйте методы расчета тепловых режимов конструкций РЭС..
-
Приведите порядок составления тепловой модели исследуемого микроблока.
-
Составте тепловую схему процесса теплообмена микроблока с окружающей средой.
-
Как производится оценка точности теплового моделирования микроблока?
Литература
1. Дульнев Г.Н. тепло- и массообмен в радиоэлектронной аппаратуре. – М.: Высшая школа, 1984. – С. 11-22, 157-160, 172-174, 208-213
59















