Ушаков_ТПЭВМ (562163), страница 21
Текст из файла (страница 21)
Схема контролирующего комплекса показана на рис. 12.25.
Для цифровой обработки изображения и управления сканированием по заданному алгоритму используется мини-ЭВМ, в которой хранятся все необходимые программы и эталоны тех ПП, которые контролируются в данное время. Описания комплекса цифровых эталонов хранятся в накопителе на НМЛ.
Новыми направлениями в проектировании и изготовлении печатных плат являются рельефные и тканые платы.
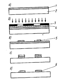
Рельефная печатная плата (РПП) представляет собой диэлектрическое основание 1, на котором расположены проводники 2 в виде металлизированных канавок и сквозные отверстия 3 конической формы (рис. 12.26). Канавки и переходные отверстия заполняют сплавом Розе 4. Обычно РПП бывают двусторонними. Рельефный проводник по ширине в 2...3 раза меньше печатного плоского проводника того же сечения, имеет более надежное сцепление с основанием и не выступает над поверхностью платы. Проводники на одной стороне платы располагаются только в одном направлении — перпендикулярно проводникам на другой стороне.
Рис. 12.26. Сечение рельефной платы
Коническая форма переходных отверстий обеспечивает хорошее сцепление металлизированного отверстия с диэлектриком. Отверстия имеют диаметр
0,2 мм и могут размещаться в любой точке пересечения трасс при минимально допустимых расстояниях между проводниками.
Малая ширина проводников, отсутствие контактных площадок и строгая ортогональность проводников позволяют в 5... 6 раз повысить плотность печатного монтажа. Двусторонние РПП превосходят МПП по плотности печатного монтажа.
Рельефные печатные платы изготовляют обычно электрохимическим методом.
Канавки получают фрезерованием на станках с ЧПУ или прессованием. Остальные операции осуществляются по типовому технологическому процессу (табл. 12.1).
Рис. 12.27. Тканая (плетеная) плата
Тканые (плетеные) платы (рис. 12.27, а, б) изготовляются из провода на ткацком станке с программным управлением. Основание платы 1 состоит из переплетенных проводов 3 и 4, образующих отверстия 5. В местах крепления элементов 2 с проводов удаляется изоляция. Провода прерываются или соединяются пайкой в соответствии с электрической схемой. Такие платы обладают высокими изоляционными свойствами. Наиболее полно их преимущество реализуется при монтаже интегральных схем с планарными выводами. Вследствие высокой производительности текстильных станков изготовление тканых плат в 5 ... 6 раз дешевле аналогичных по структуре ПП или плат с проводным монтажом. При этом достигаются экономия цветных металлов, химических реактивов и снижение затрат на инструмент.
Процесс выполнения печатных плат на подложках из анодированного алюминия. Такие подложки отличаются хорошими теплопроводящими свойствами, что дает возможность увеличить электрические нагрузки в токопроводящих цепях. Высокие электроизоляционные свойства подложки обеспечиваются оксидной пленкой, создаваемой на ее поверхности. Применение алюминиевых под-. ложек позволят полностью или частично исключить устройства принудительного теплоотвода и обеспечить более надежное крепление электрорадиоэлементов.
ГЛАВА 13
ТИПОВЫЕ ТЕХНОЛОГИЧЕСКИЕ ПРОЦЕССЫ СБОРКИ И МОНТАЖА
13.1. Пайка
Пайкой называется процесс образования соединения с межатомными связями путем нагрева соединяемых материалов до температуры плавления, их смачивания припоем, затекания припоя в зазор и последующей его кристаллизации. Пайку применяют также для получения электрического контакта с малым переходным сопротивлением.
Соединение, образующееся при пайке, по составу неоднородно. Оно включает в себя паяный шов и зону сплавления. Паяный шов - это часть паяного соединения, закристаллизовавшаяся при пайке; зона сплавления - поверхность между паяным материалом и паяным швом или граница между ними в сечении паяного соединения. Зона сплавления состоит из диффузионной зоны и прокристаллизованного слоя, который образуется в результате выделения из расплава более тугоплавкой составляющей.
Диффузионная зона представляет собой слой основного материала с измененным химическим составом и микроструктурой образовавшейся в результате диффузии компонентов припоя и паяемого материала. В зависимости от физико-химических свойств основного материала и припоя, условий и режимов пайки образующийся спай может иметь различное строение.
При низкой температуре и малом времена пайки интенсивность взаимодействия на межфазовой границе снижается, в этом случае возможно образование между основным металлом и припоем химических мегаллических связей при отсутствии диффузии или ограничении ее до весьма малых пределов. Если диффузией можно пренебречь, то спай называют бездиффузионным. Такой спай не изменяет физико-химических свойств основного металла и широко применяется при монтажной пайке.
В качестве припоя используют различные цветные металлы и их сплавы. Температура плавление плавления припоя значительно ниже температуры плавления соединяемых металлов.
При высокой температуре пайки в месте контакта соединяемых материалов и припоя температура превышает 723 К (~450°С), а при низкотемпературной пайке - не превышает 723 К.
Для получения силовых соединений с высокой механической прочностью применяют высокотемпературную пайку. Ее осуществляют медными, цинковыми, серебряными и другими припоями. Для низкотемпературной пайки используют припои, имеющие температуру плавления 200 ... 300 °С (оловянно-свинцовые, висмутовые, кадмиевые и др.).
Пайка возможна только в том случае, если припой смачивает соединяемые детали. Смачивание представляет собой молекулярное взаимодействие жидкости с поверхностью твердого тела. Оно происходит в том случае, если силы притяжения между атомами припоя и металла больше, чем между атомами самого припоя.
Рис. 13.1. Схема равновесия капли припоя на поверхности твердого тела
На рис. 13.1 показана капля жидкого припоя, находящаяся на поверхности твердого тела в равновесии с окружающей газовой средой. В момент равновесия в системе имеются три фазы: 1 - газовая (флюс); 2 - жидкая (припой); 3 - твердая (основной металл).
Поверхностное натяжение (вектор γ12) действует по касательной к поверхности жидкого металла. Это натяжение стремится уменьшить поверхность капли припоя. При отсутствии других сил поверхностное натяжение придало бы капле сферическую форму, так как из всех тел равного объема шар имеет минимальную поверхность. Напряжения на поверхности раздела между жидкостью и окружающей средой противодействуют этому натяжению, и капля припоя принимает форму, отличную от шара.
Натяжение γ23 представляет собой силу, действующую между жидким припоем и твердым металлом, а натяжение γ13 - между основным металлом и газом.
Для поверхностных сил справедливо соотношение:
γ13= γ23 + γ12 cos
, где cos
= (γ13+ γ23)/ γ12, (13.1)
где
- краевой угол, или угол смачивания.
Рис. 13.2. Смачиваемость поверхности металла припоем:
а - отсутствие смачиваемости; б - полное смачивание; в - частичное смачивание; г - хорошее смачивание; д - определение угла смачиваемости
Степень смачиваемости припоя характеризуется значением краевого угла (рис. 13.2).
Предельными состояниями являются отсутствие смачивания, когда
=180° (рис. 13.2, а), и полное смачивание, когда
=0° (рис. 13.2, б).
При 75°<
<90° имеет место частичное смачивание (рис. 13.2, в), а при
<45° - хорошее смачивание (рис. 13.2, г). Если капля не смачивает поверхность, то она имеет приблизительно сферическую форму. Сила сцепления припоя с поверхностью детали в этом случае очень мала и капля припоя легко стряхивается, не оставляя следов на поверхности. Капля смачивающей жидкости в том же объеме имеет большую поверхность соприкосновения с поверхностью детали, сила ее сцепления значительная, и припой нельзя полностью удалить стряхиванием.
Паяемость (рис. 13.2, д) можно определить по углу смачиваемости. Для этого медную луженую проволоку. 1 припаивают к испытываемому образцу 2. Затем делают срез образца и замеряют краевой угол,
Важными свойствами припоя являются растекаемость и способность затекать в узкие зазоры под действием капиллярных сил.
Растекаемость определяют путем расплавления установленного количества припоя при заданном режиме нагрева на металлической пластине с применением заданного флюса. Растекаемость характеризуется коэффициентом Кр, представляющим собой отношение площади Sр, занятой припоем после расплавления или растекания, к площади S0, занимаемой дозой припоя до расплавления:
Кр = Sр /S0 (13.2)
Для определения способности припоя затекать в узкие зазоры замеряют высоту подъема расплавленного припоя между двумя закрученными стандартными проволоками или между двумя пластинами, установленными с небольшим зазором.
Для монтажной пайки применяют низкотемпературные припои на основе сплава «олово - свинец». Анализ и выбор припоя можно осуществить, используя диаграмму состояния этой системы (рис. 13.3).
Рис. 13.3. Диаграмма состояния сплава «олово-свинец»
Кривая АВСЕО представляет собой линию солидуса, т. е. линию наивысшей температуры, при которой припой полностью затвердевает и ниже этой линии находится в твердой фазе. Самая низкая температура, при которой металл или сплав остаются жидкими, характеризуется линией ликвидуса (кривая АСD). Чистый свинец (точка А) имеет температуру плавления 327°С, чистое олово (точка D) - 232 °С. Припои, содержащие от 19,5% (точка В) до 97,5% олова (точка Е), имеют одинаковую температуру солидуса (183 °С). На участке, ограниченном замкнутой кривой АВСА, находчтся кристаллы твердого раствора олова в свинце (a) и жидкий раствор олова в свинце; на участке, ограниченном линией DСЕD, - кристаллы твердого раствора свинца в олове (
) и жидкий раствор свинца в олове. В интервале температур между линиями АСD и АВСЕ сплавы находятся в пастообразном состоянии. Точка С обозначает эвтектику, которой соответствует сплав 61,8% олова и 38,2% свинца. При плавлении (t=183°С) этот сплав полностью становится жидким.
Сплавы, составы которых находятся в области между твердым раствором олова в свинце и эвтектикой (припой ПОС40, ПОС61 и др.), по своему строению характеризуются мелкозернистой основой с включенными в нее отдельными зернами твердого раствора.
Интервал температур между линиями солидуса и ликвидуса называется интервалом кристаллизации. Температурный интервал кристаллизации влияет на качество соединения и ход процесса пайки.
При наличии широкого интервала кристаллизации необходимо поддерживать неизменным положение паяемых поверхностей при охлаждении припоя. В случае относительного их смещения жидкость не сможет заполнить все промежутки между кристаллами. Поэтому наилучшее качество пайки обеспечивает эвтектический припой.
Наиболее близок к эвтектическому составу припой ПОС61, который нашел широкое применение для монтажной пайки из-за низкой температуры плавления, небольшого температурного интервала кристаллизации и высокой коррозионной устойчивости. Для пайки соединений из стали, латуни и монтажных проводов используют припой ПОС40.
Более низкую температуру плавления имеют оловянно-свинцово-кадмиевые припои, используемые при ступенчатой пайке.
Подготовка поверхностей деталей, подлежащих пайке, заключается в удалении загрязнений, ржавчины, оксидных и жировых пленок.
При наличии загрязнений растекаемость припоя будет плохой и возможно образование мелких шариков припоя, ухудшающих качество пайки.
На смачиваемость и растекаемость припоя существенно влияет форма шероховатостей поверхности. Если неровности образуют сеть пересекающихся канавок, то смачнваемость и растекаемость припоя будет усиливаться капиллярным действием канавок. Шероховатости, представляющие собой углубления, окруженные выступами, ухудшают смачивание.
Способ зачистки может оказать решающее влияние на качество пайки. Зачистка наждачной шкуркой или крацевание дают лучшие результаты, чем травление. В последнем случае образуется поверхность, не вызывающая капиллярного эффекта.
Для удаления жира и масла с поверхности деталей применяют различные растворители, горячие щелочные растворы. Для получения чистых поверхностей используют травление кислотами.
Подготовленные поверхности покрывают флюсом непосредственно перед горячим лужением или пайкой.
Рис. 13.4. Схема лужения с помощью паяльника:
1 - наконечник паяльника; 2 - припой; 3 - сплав припоя с основным металлом ; 4 - зона взаимодействия припоя с основным металлам; 5 - флюс; 6 - растворенный оксид; 7 - оксид, на поверхности основного металла; 8 - основной металл; 9 - газообразный флюс
Механизм действия флюса (рис. 13.4) заключается в том, что оксидные пленки металла и припоя растворяются или разрыхляются и всплывают на поверхность флюса. Вокруг очищенного металла образуется защитный слой флюса, препятствующий возникновению оксидных пленок. Жидкий припой замещает флюс и взаимодействует с основным металлом. Слой припоя постепенно увеличивается и при прекращении нагрева затвердевает.
Флюсы по действию, которое они оказывают на металл, подвергающийся пайке, делят на кислотные (активные), бескислотные, антикоррозионные и активированные.
Кислотные флюсы (хлористый цинк и флюсы на его основе) интенсивно растворяют оксидные пленки, обеспечивая тем самым хорошее сцепление припоя с основным металлом. Остаток флюса после пайки вызывает интенсивную коррозию» соединения и основного металла, поэтому необходимы тщательная промывка и полное удаление остатков флюса с поверхности соединения. При монтажной пайке активные флюсы не применяют.
Бескислотные флюсы (канифоль и флюсы, приготовляемые на ее основе с добавлением неактивных веществ спирта, глицерина и др.) химически малоактивны и их можно применять при тщательной зачистке деталей. Остаток канифоля не гигроскопичен и является хорошим диэлектриком; это важное преимущество канифоли при пайке монтажных соединений. Широко применяют флюс марки ФКСп, представляющий собой раствор сосновой канифоли (10...40%) в этиловом спирте. Флюсы на основе канифоли не оказывают коррозионного действия.
Антикоррозионные флюсы (на основе соединений фосфорной кислоты с добавлением различных органических кислот) не вызывают коррозии черных металлов, вследствие чего отпадает необходимость удаления остатков флюса после пайки.
Активированные флюсы (на основе канифоли с добавкой активизаторов - салициловой кислоты и др.) применяют для сплавов, плохо Поддающихся пайке. Высокая активность некоторых активированных флюсов позволяет выполнять пайку без предварительного удаления оксидов.
Для пайки твердыми припоями в качестве флюса используют буру или (флюсы на ее основе (90% буры н 10% борной кислоты).
Рис. 13.5. Лужение погружением: а - в ванну с припоем; б — через слой флюса
Лужение заключается в покрытии поверхностей соединяемых деталей тонкой пленкой припоя. Горячее лужение выполняв ют паяльником или путем погружения в ванну с расплавленным припоем (рис. 13.5). Лужение детали 3 (рис. 13.5, а) можно осуществить окунанием в жидкий флюс, а затем в ванну 1 с расплавленным припоем 2. На рис. 13.5, б показано лужение через слои флюса 4. Скорость прохождения детали через флюс должна быть такой чтобы она могла нагреться до требуемой температуры.
При лужении происходит сплавление припоя с основным металлом, поэтому при пайке достаточно сплавить припои с полудой, что возможно при более низкой температуре нагрева. Мелкие монтажные детали можно лудить гальваническим путем.
Одним из способов дозирования припоя при лужении является использование припойных паст. Они представляют собой механические смеси порошкового припоя, связующего вещества и некоторых других компонентов. В пастах ПЛ-1, ПЛ-3 используют порошок припоя ПОС-61 и канифоль. После нанесения пасты ее оплавляют при температуре на 30...50°С выше температуры плавления сплава.
Пайка заключается в прогреве соединяемых элементов после нанесения припоя и сохранении их в сжатом состоянии до полного затвердевания припоя. Она состоит из двух фаз: 1) смачивание припоем металлических поверхностей; 2) заполнение припоем зазора между смоченными поверхностями. Эти две фазы в зависимости от конкретных условий могут протекать последовательно или одновременно.
Рис. 13.6. Электропаяльник:
а - с наружным нагревателем (1 – наконечник, 2 – кожух, 3 – нагреватель, 4 – заземление, 5 – ручка);
б - с внутренним нагревателем
.
При пайке и лужении необходимо некоторое время для осуществления взаимной диффузии припоя и основного металла. Продолжительность этого процесса зависит от состава припоя, температуры и других факторов. Затем место соединения охлаждают до комнатной температуры. Остатки кислотного флюса удаляют в горячем растворе 2%-ной соляной кислоты с последующей промывкой в горячей воде. Остатки некоррозионных флюсов на основе канифоли удалять не требуется, за исключением тех случаев, когда необходима чистая поверхность или когда зону окрашивают или покрывают лаком.
Основным инструментом для пайки служит паяльник наконечником, который нагревают электрическим током до 36 В.
Нагреватель паяльника (рис. 13.6, а) представляет собой керамический каркас с винтовой канавкой на наружной волоки поверхности. В канавке размещается спираль из нихромовой проволоки. Выводы спирали привариваются к медным шинам, которые соединяются с переходной колодкой.
Наконечник из меди имеет высокую теплопроводность и хорошо обслуживается. Недостатками таких наконечников являются быстрое образование окалины и износ. При пайке олово, содержащееся в припое, сплавляется с медью. Для сохранения наконечника и надлежащей теплоотдачи его необходимо затачивать.
Эрозию паяльника можно замедлить, нанесением покрытий (толщиной 0,1 ... 0,2 мм) из железа, никеля или алюминия. Покрытия предохраняют наконечники от износа, вызванного сплавлением меди с оловом, и значительно снижают образование окалины.
Для пайки микросхем применяют паяльники с внутренним нагревателем (рис. 13.6, б), вставляемым в отверстие медного стержня 1. Внутренний нагреватель представляет собой керамический стержень 2 с намотанной в один ряд оксидированной нихромовой проволокой 3. При этом уменьшаются размеры паяльника и площадь нагревания. Это обусловливает меньшую температуру нагревателя, а следовательно, и больший срок его службы.
Форма пайки может быть заливной, когда соединяемые элементы полностью скрыты припоем, и скелетной. В последнем случае очертания вывода и контактной площадки просматриваются через тонкий слой припоя. Для скелетной пайки требуется меньше припоя, визуальный контроль ее осуществить проще. Заливная пайка обеспечивает более надежное соединение при значительных механических нагрузках.
Качество соединения оценивают по его внешнему виду, структуре, механической прочности и интенсивности отказов.
Проверка по внешнему виду осуществляется визуально с увеличением в 10 раз и более. При хорошем соединении поверхность припоя должна быть гладкой и блестящей, без инородных включений и наплывов,
Структуру паяного соединения оценивают по ширине диффузионной зоны. Максимальная прочность соединений получается при ширине диффузионной зоны 0,9 ... 1,0 мкм. Увеличение или уменьшение этой зоны существенно снижает прочность соединения.
Качество структуры проверяют путем металлографического анализа. При этом исследуют характер и величину интерметаллических прослоек на границе раздела «припой - металл», определяют наличие дефектов и инородных включений. Неудовлетворительное состояние структуры соединения свидетельствует о неправильном выборе или нарушении режимов пайки (температуры, времени, скорости охлаждения припоя и др.).
Механическую прочность соединения определяют по усилию разрушения на разрыв или срез; холодный спай выявляется при проверке на вибропрочность.
Качество паяного соединения характеризуется также переходным сопротивлением, которое находят как среднее арифметическое этого сопротивления, определенное по трем замерам. Переходное сопротивление должно быть не более 3·10-3 Ом. Хорошо выполненные паяные соединения имеют интенсивность отказов 10-7 ... 10-8 1/ч.
Наиболее распространенные дефекты в паяных соединениях — это газовые поры (раковины) и холодный спай. Мелкие поры образуются вследствие выделения газов, попадания в припой оксидных пленок и перегрева припоя при пайке. Раковины являются результатом усадки, происходящей при кристаллизации, и недостаточного заполнения зазора припоем.
Большое влияние на качество паяного соединения оказывает режим пайки, т. е. совокупность параметров и условий, при которых она осуществляется. Под параметрами понимают температуру пайки, время выдержки при этой температуре, скорость нагрева и охлаждения, а под условиями - способ нагрева, припой, флюс (газовую среду), давление на соединяемые заготовки.
Холодный спай является следствием заниженной температуры пайки. Для получения качественного соединения температура нагрева паяльника должна быть выше температуры плавления припоя примерно на 50°С. Более высокая температура вызывает сильный окислительный процесс и способствует быстрому выходу паяльника из строя.
Главные условия безопасной работы при пайке — это хорошая вентиляция участка, защита от ожогов и умение обращаться с флюсами и припоями.
Оловянно-свинцовые припои содержат токсичные вещества, которые могут вызвать загрязнения кожи рук и одежды работающих. Все флюсы во время пайки выделяют газы, а канифолевые флюсы - газы и большое количество дыма.
Во избежание попадания токсичных веществ в организм человека необходимо после работы с припоями и флюсами тщательно мыть руки.
13.2. Групповые методы пайки
Групповые методы-пайки применяют для монтажа электрорадиоэлементов на печатной плате. Особенностью процесса групповой пайки является одновременное выполнение большого числа монтажных соединений.
В настоящее время применяют различные способы групповой пайки. Однако наиболее широкое распространение получили два способа: пайка погружением в расплавленный припой и пайка волной припоя.
При всех способах групповой пайки процесс начинается с подготовки поверхности печатной платы, которая заключается в зачистке мест пайки и обезжиривании.
Зачистку выполняют эластичными кругами с абразивным порошком или металлическими щетками. Затем поверхность платы обезжиривают в растворе спирта с бензином и обдувают воздухом до полного высыхания.
Защита участков платы, не подлежащих пайке, осуществляется маской из бумажной ленты, пропитанной костным клеем. Маску приклеивают к плате так, чтобы места пайки не выходили за пределы отверстий в маске. Вместо бумажной маски применяют слой краски, наносимой через сетчатый трафарет. Краска должна противостоять непосредственному воздействию расплавленного припоя, температура которого доходит до 260°С. Следующим этапом является нанесение флюса и подогрев платы, который удаляет влагу и уменьшает термический удар в момент погружения платы в расплавленный припой. Испарение влаги уменьшает разбрызгивание припоя и образование газов, приводящих к пористости соединения.
Процесс пайки установленных на плате элементов заключается в нанесении расплавленного припоя на обработанные флюсом поверхности.
При пайке погружением (рис. 13.7) плату помещают в кассету и погружают в расплавленный припой (обычно ПОС61) на половину толщины платы. Затем включают вибратор, что создает условия для проникновения флюса и припоя. Амплитуда вибрации устанавливается экспериментально для каждого типа и размера плат в пределах такого максимального значения, при котором не происходит разбрызгивания флюса и припоя. Время выдержки при температуре припоя 240°С составляет 6 ... 11 с, а при температуре припоя 250°С - 4 ... 8 с.
Ванны для припоя оснащают терморегуляторами, поддерживающими температуру припоя в заданных пределах, и реле времени со звуковой сигнализацией. Нагревательные элементы обеспечивают более интенсивный нагрев дна ванны. В этом случае благодаря естественной конвекции в жидком припое будет происходить непрерывное его перемешивание, обеспечивающее однородность состава припоя во всем объеме ванны. По окончании пайки плату извлекают из припоя и, не выключая вибратор, выдерживают над ванной 5 ... 7 с.
Недостатками пайки погружением являются коробление плат вследствие температурных деформаций, необходимость поддержания постоянной высоты уровня припоя в ванне и быстрое окисление расплавленного припоя. Повышенное коробление ограничивает применение этого метода для плат размером до 150 мм.
Предохранение платы от загрязнения оксидной пленкой достигается использованием очистителей зеркала припоя и кассет специальной конструкции. Установка для пайки с очистителем показана на рис. 13.8.
Ванна 1 с припоем (рис. 13.8, а) поднимается, и дворник (очиститель) 3 погружается на некоторую глубину в расплавленный припой (рис. 13.8, б). Пока ванна неподвижна, дворник, перемещаясь вместе с платой 2, удаляет с поверхности припоя оксидную пленку. Затем ванна поднимается до соприкосновения зеркала припоя с местами пайки (рис, 13.8, в). В этом положении происходит выдержка, необходимая для осуществления пайки, а затем ванна возвращается в исходное положение.
Рис. 13.7. Пайка погружением в расплавленный припой:
1 - электрический обогреватель; 2 - распланленный припой; 3 - печатная плата с установленными радиодеталями; 4 - приспособление для установки платы; 5 - вибратор; 6 - маска; 7 - изоляция
Рис. 13.8. Пайка плат погружением с вертикальным подъемом ванны
Пайка в кассете показана па рис. 13.9. Плата 4 с приспособлением 3 помещается в кассету 2. При опускании кассеты в ванну с припоем 1 она раздвигает оксидную пленку 5, которая располагается по граням кассеты. Когда кассета раскрывается, то припой, свободный от оксидной пленки, поступает в кассету и осуществляет пайку. После пайки кассету извлекают из ванны и выдерживают некоторое время. Вертикальное погружение всей платы в расплавленный припои затрудняет удаление жидких и газообразных остатков флюса, что может привести к захвату его припоем и образованию мостиков, соединяющих близко расположенные проводники.
Рис. 13.9. Пайка погружением в кассете:
а - погружение; б - пайка
Пайка погружением с опрокидыванием платы (рис. 13.10). При этом методе устраняются недостатки предыдущего метода. В ванну погружают сначала один конец платы (рис. 13.10. а), затем постепенно другой конец. Подъем платы производится под некоторым углом а, чтобы припой стекал и не образовывал наплывов. Кинематическая схема установки показана на рис. 13.10, б.
На валу 1 установлены кривошип 2 и кулачки 6, 7, взаимодействующие с выключателями, которые управляют частотой вращения электродвигателя. Кривошип соединен с шатуном 5, который шарнирно закреплен на ползуне 4, перемещающемся по Штанге 3. При подходе к зеркалу припоя и погружения в припой вал вращается медленно, а после выхода из припоя переключается на быстрое вращение.
Пайка волной припоя представляет собой процесс, при котором нагрев паяемых материалов, перемещаемых над ванной, и подача припоя к месту соединения осуществляются стоячей волной припоя, возбуждаемой в ванне. Под стоячей волной понимается состояние среды, при которой расположение максимумов и минимумов перемещений колеблющихся точек среды не меняется во времени.
Рис. 13.10. Пайка погружением с опрокидыванием платы:
а - технологическая схема; б - кинематическая схема
При пайке волной припоя (рис. 13.11) устраняется возможность быстрого окисления припоя и температурных деформаций платы. В ванне 5 находится припой, расплавленный нагревателем 4. Печатная плата 2 проходит по гребню волны 1, которая создается подачей припоя через сопло определенной формы валом с крыльчаткой 3. Постоянный контакт платы с припоем обеспечивает быструю передачу теплоты, что сокращает время пайки.
Пайка струёй припоя является разновидностью метода пайки волной припоя. При этом происходит более интенсивное перемешивание припоя, что обеспечивает большую равномерность температуры и состава припоя, а также свободную от оксидов поверхность припоя.
Пайка волной припоя может быть реализована каскадным методом (рис. 13.12), обеспечивающим более стабильную волну припоя по высоте.
Каскад 1 состоит из гребней 3, расположенных под углом 10°. расплавленный припой 2 из ванны подается на верхнюю ступень каскада. Дальнейшее движение припоя происходит самотеком, с последнего гребня припой стекает обратно в ванну. Плату 4, покрытую флюсом, помещают в кассету и перемещают по направляющим, расположенным под углом 10°. При этом происходит последовательное трехкратное касание мест пайки с припоем, что обеспечивает качественную пайку выводов всех элементов 5, установленных на печатной плате.
Заключительной операцией при всех методах групповой пайки является удаление маски. Для этого печатную плату погружают на 0,8 ...0,9 ее толщины в ванну с горячей водой (t=90°С) и выдерживают до тех пор, пока она не отклеится (2 ... 3 мин). Затем плату обдувают горячим воздухом до полного высыхания. Удаление флюса осуществляется в ванне со смесью бензина (50%) и спирта (50%).
Форма паяных соединений на печатных платах показана на рис. 13.13. Заполнение припоем металлизированных отверстий производится на высоту h1
(2/3) h. Допускаются заливная форма пайки и отсутствие припоя на торцах.
Рис. 13.13. Формы паяных соединений печатных плат:
а - г — с неметяллизированными отверстиями; д – е — с металлизированными отверстиями; ж - и — с пленарными выводами (1 - вывод; 2 - плата; 3 - контактная площадка)
13.3. Проводной монтаж на печатных платах
В единичном и опытном производстве применение МПП нецелесообразно в связи с длительным временем на проектирование и изготовление, а также сложностью внесения изменений при отработке конструкции платы. Более эффективными являются методы, основанные на сочетании проводного и печатного монтажа. В этом
случае вместо печатных проводников используют провода диаметром 15... 30 мкм в полиамидной изоляции. Плата покрывается слоем термореактивного клея, который служит для крепления проводов. Затем на поверхности ДПП создается требуемая разводка. Этим способом можно значительно уменьшить площадь, занятую проводниками.
Проводной монтаж более экономичен, чем метод обычного печатного монтажа, так как отпадает необходимость в гальванических процессах.
Рис. 13.14. Основные этапы стежкового монтажа: а - сборка пакета; б - формирование петли; в - удаление прокладок; г - лужение; д - пайка
Провода имеют электрическую изоляцию, поэтому и можно прокладывать близко друг к другу и выполнять пересечение. Благодаря этому площадь для размещения схемы может быть уменьшена.
Основными методами проводного монтажа являются стежковый и многопроводный монтаж фиксированными проводами.
Стежковый монтаж. Изолированный провод укладывают на од ной стороне ДПП и выводят его в виде петель через монтажные отверстия на другую сторону с присоединением к контактным площадкам платы. Монтаж осуществляется проводом диаметром до 0,15 мм в эмалевой изоляции, которая удаляется в процессе облу-живания. Образование петель провода производят путем прошивки трубчатой иглой (рис. 13.14).
Двустороннюю печатную плату 1 устанавливают на эластичную прокладку, состоящую из толстой резины 4, нескольких слоев тонкой резины 3 и слоя кабельной бумаги 2. При входе в отверстие игла 5 формирует петлю 6 и прокалывает эластичные прокладки, которые фиксируют петлю. Выходя из отверстия, игла скользит по проводу, а петля остается в прокладке. Затем иглу перемещают по кратчайшему расстоянию к следующему отверстию и цикл повторяют.
Иглу изготовляют из нержавеющей стали со скосом под углом 50 ...75°. Внутренний диаметр иглы принимается больше диаметра провода на 0,1 мм. Материал прокладки должен хорошо прокалываться иглой и закреплять петли провода. В мягкой прокладке трудно закрепить петлю, так как она будет вытягиваться вместе с иглой. При чрезмерно твердом материале формирование петель будет затруднено. После прокладки проводов резиновые прокладки удаляют, стягивая их с петель. Слой кабельной бумаги остается на плате и предохраняет печатный монтаж при лужении петель. Затем кабельную бумагу удаляют, петли подгибают и производят их пайку к контактной площадке. 7. Размеры контактных площадок должны обеспечивать возможность присоединения провода и вывода элемента, которые осуществляются внахлестку. Паяные соединения имеют скелетную форму. На ДПП со стежковым монтажом можно осуществить монтаж эквивалентной восьмислойной МПП.
Плата с двусторонним монтажом представляет собой спрессованный пакет, состоящий из двух оснований со стежковым монтажом и адгезионного слоя между ними. Основания располагают таким образом, чтобы провода находились внутри, а стороны с контактными площадками для пайки петель провода и выводов элементов — с внешней стороны. Двусторонние печатные платы со стежковым монтажом следует применять только в тех случаях, когда высокая плотность монтажа обеспечивает существенное повышение технико-экономических показателей изделия.
Многопроводной монтаж, фиксируемый проводами. Такой монтаж представляет собой упорядоченное прокладывание изолированных проводов с полиамидной изоляцией на поверхности ДПП. Для фиксации проводов на плату наносят слой адгезива, состоящего из клеевых пленок и стеклоткани. После погружения проводов в слой адгезива производят его окончательное отверждение путем прессования при t= 180°С и давлении 1,5 МПа.
В плате с закрепленными монтажными проводами сверлят отверстия. При этом необходимо, чтобы торец провода по форме соответствовал краю отверстия. После подготовки поверхности отверстие и торец провода подвергаются химико-гальванической металлизации, качество которой определяет надежность электрического соединения проводного и печатного монтажа. На одной стороне такой платы можно разместить несколько слоев проводного монтажа, чередуя нанесение адгезива и раскладку проводов. Плата с тремя слоями многопроводного монтажа эквивалентна одиннадцатислойной МПП.
13.4. Сварка
Сваркой называется процесс получения неразъемного соединения металлических изделий путем местного нагревания их до расплавления или тестообразного (пластического) состояния без применения или с применением механического усилия. Основными видами сварки являются контактная, электродуговая и диффузионная сварки.
Контактная сварка. Контактная сварка (точечная и шовная) осуществляется методом сопротивления, при котором ток, используемый для нагревания, пропускается последовательно от одного свариваемого изделия к другому через поверхность их соприкосновения.
Рис. 13.15. Точечная контактная сварка:
а - принципиальная схема; б - строение сварочной точки
Точечную сварку применяют для соединения листовых материалов небольшой толщины. Свариваемые листы (два или три) вводят в промежуток между медными электродами (рис. 13.15, а). При сжатии электродов 2 и 4 от сварочного трансформатора 1 проходит ток. В месте контакта деталей 3 из-за повышенного сопротивления выделяется наибольшее количество теплоты. Центральная часть точки доводится до плавления и образует литое ядро 1. (рис. 13.15, б). Расплавленный металл 1 ядра удерживается от: вытекания плотным кольцом 2, нагретым до пластического состояния металла. После выключения тока образовавшаяся точка находится под давление электродов до окончания процесса крйсталлизации расплавленного ядра.
Основными параметрами, определяющими качество соединения, являются сила сварочного тока и длительность воздействия, усилие сжатия электродов и размеры их рабочей поверхности.
Размеры сварочной точки зависят от количества теплоты, выделяемого в зоне сварки, которое определяют по закону Джоуля – Ленца
, (13.3)
где I - сила тока, А; t – время сварки, с; R – общее сопртивление в зоне сварки, Ом.
Давление электродов значительно влияет на количество выделяемой теплоты. При малом давлении в месте контакта свариваемых деталей сопротивление большое и металл ядра точки расплавляется быстро; достаточная зона пластичного металла не успевает образоваться и возможно снижение прочности сварочной точки вследствие выплесков металла. При давлении выше оптимального уменьшаются количество теплоты, выделяемого в месте сварки, и диаметр точки.
Время сварки выбираю таким, чтобы центральная часть точки нагревалась выше температуры плавления. При более низкой температуре сварки не произойдёт слишком длительный нагрев приводит к образованию большого ядра, которое может выйти за пределы действия электродов, что снижает прочность точки.
Включение тока и сжатие электродов осуществляются с помощью педали, а в автоматических машинах — с помощью специальных электромагнитных или ионных прерывателей.
Большое значение для получения качественного соединения имеет подготовка поверхностей деталей. Свариваемые детали должны плотно прилегать друг к другу в месте контакта и должны быть очищены от грязи, жира и оксидной пленки. Очистку проводят механическим способом (наждачным полотном, щеткой и др.) или химическим (травлением в соответствующих кислотах).
Шовная сварка служит для получения плотных швов внахлестку. В этом случае электроды выполняют в виде роликов. При вращении сжатых роликов свариваемые детали протаскиваются между ними. Сварочные точки располагаются рядом, частично перекрывая друг друга, образуя непрерывный шов. Режим шовной сварки определяется шагом образующих шов точек, усилием, приложенным к роликам, диаметром роликов, скоростью сварки и силой сварочного тока.
Электродуговая сварка. Эта сварка основана на плавлении металла под' воздействием электрической дуги, образуемой при прохождении тока через воздушный промежуток между двумя проводниками. Одним из проводников является свариваемый металл, а другим — угольный или металлический электрод.
Особенно важно применение электродуговой сварки при электрическом монтаже. Она обеспечивает надёжность соединения при тепловых перегрузках; высокую механическую прочность, надежный электрический контакт, хороший внешний вид соединения, возможность сварки материалов, не поддающихся пайке (нихром, константан и др.). Применение сварки монтажных соединений вместо пайки повышает производительность труда и снижает себестоимость изделия вследствие отсутствия дорогостоящих припоев и флюсов, а также более низких требований, предъявляемых к подготовке поверхностей. Основными недостатками сварки электромонтажных соединений являются невозможность их разъединения в отличие от соединений, выполняемых припоем, и недостаточная стойкость против коррозии. При сварке химически активных металлов и их сплавов используют электродуговую сварку в струе защитных газов (аргона, гелия и др.)
Диффузионная сварка. Для материалов, сварка которых обычными методами затруднена (например, сталь с алюминием, вольфрамом, титаном и др.), применяется диффузионная сварка. Ее осуществляют при повышенных температурах с приложением сдавливающего усилия к месту сварки.
Установка для сварки (рис. 13.16) состоит из вакуумной охлаждаемой камеры 2, внутри которой размещаются свариваемое изделие 4 и нагреватель 3. Сдавливающее усилие создается штоком 5, проходящим через вакуумное уплотнение 1, и механизмом нагружения 6.
Рис. 13.16. Диффузионная сварка в вакууме
После создания в камере вакуума (133 ·10-3... 133 ·10-5 Па) производится нагрев токами высокой частоты до температуры сварки. Глубокий вакуум при местном нагреве и давлении обеспечивает процессы взаимной диффузии с перемещением компонентов соединяемых деталей на расстояния, превышающие межатомные связи. Нагрев способствует ускорению диффузии атомов металлов через поверхность стыка.
Усилие сжатия прикладывается после нагревания изделия и поддерживается постоянным в течение всего процесса сварки. Величина усилия зависит от свойства металла, температуры сварки и других факторов.
Процесс диффузионной сварки условно можно разделить на две стадии.
На первой стадии создаются условия для образования металлических связей. Для этого необходимо обеспечить тесный контакт свариваемых поверхностей и создать условия для удаления поверхностных пленок оксидов. Тесный контакт обеспечивается за счет использования режимов с повышенными температурами, вследствие чего выступы в зоне контакта деформируются при значительно меньших нагрузках, что дает хороший контакт по всей поверхности свариваемых изделий. Предупреждение образования оксидных пленок достигается тем, что сварка осуществляется в вакууме.
На второй стадии происходят процессы взаимной диффузии атомов свариваемых материалов.
Преимущество диффузионной сварки заключается в том, что свариваемый металл не доводится до плавления. При этом возможно получение высокой точности размеров свариваемого изделия.
13.5. Монтажная микросварка
Обычные методы сварки при выполнении монтажных соединений в интегральных схемах применяют весьма ограниченно, что обусловлено малыми размерами соединений. Микросоединения выполняют золотой или алюминиевой проволокой диаметром менее 50 мкм. Контактные площадки микросхем имеют малую площадь. Для выполнения микросварных соединений используют различные методы сварки. Основными из них являются следующие методы сварки: термокомпрессионная, с косвенным импульсным нагревом, расщепленным электродом, ультразвуковая. Микросварные соединения выполняют на установках, оснащенных оптическими устройствами и манипуляторами.
Рис 13.17. Тсрмокомпрсссионная сварка:
а - принципиальная схема; б - клином; в - с помощью двух игл; г - капилляром
Термокомпрессионная сварка. Она осуществляется при одновременном воздействии повышенной температуры и давления
Свариваемые детали 2 и 3 (рис. 13.17, а) устанавливают на рабочий стол 4 Пуансон 1 имеет вертикальное перемещение, давление можно регулировать в определенных пределах. Теплота подводится к пуансону и рабочему столу от нагревателя 5, представляющего собой нихромовую спираль.
Нагрев увеличивает пластичность выводов и позволяет уменьшить усилие, необходимое для их деформации. В зависимости о конкретных условий усилие выбирают в пределах 0,5... 1,8 Н, температуру 250...400°С, время сварки 5... 30 с. При термокомпрессионной сварке часто применяют защитную среду (аргон, азот и др.)
Пуансон изготовляют из материалов, не обладающих адгезиея к металлическому проводнику в условиях сварки. К таким материалам относятся вольфрам, молибден, оксид бериллия и др. инструмент может иметь форму клина (рис. 13.17, б) двух игл (рис. 13.17, в) или капилляра (рис. 13.17, г).
Механизм образования термокомпрессионного соединения связан с разрушением оксидной пленки и созданием тесного контакт та между соединяемыми поверхностями. При этом происходит диспергирование поверхностных пленок с последующей взаимной диффузией металлов.
Свойства термокомпрессионного соединения зависят от размеров и материалов проводника. По мере увеличения площади сечения проводника прочность соединения уменьшается. Это объясняется повышением теплопотерь через проводник. Кроме того, для обеспечения нужных деформаций требуются более высокие давления. Для выводов применяют специальные материалы (обычно золото, позолоченную медь), обладающие, хорошими электрическими и механическими свойствами.
Термокомпрессионная сварка получила широкое распространение. Недостатками ее являются высокие требования к качеству подготовки поверхности соединяемых деталей, низкая производительность процесса (не более 200 соединений в час) и низкая надежность при сварке алюминиевых проводов.
Сварка с косвенным импульсным нагревом. Такая сварка является наиболее прогрессивной. Она отличается от термокомпрессионной тем, что рабочий инструмент нагревается только в момент сварки, а, выделение теплоты сосредоточено в нижней части, инструмента.
Электрод-инструмент под небольшим давлением приводится в соприкосновение с проводником (рис. 13.18). При прохождении импульса тока торец электрода нагревается и локально нагревает проводник до более высокой температуры чем при термокомпрессионной сварке. При этом проводник переходит в пластическое состояние, происходит его осадка под воздействием давления и о6разуется соединение.
Электрод имеет У-образную форму, что позволяет регулировать продолжительность и степень нагрева, с большой точностью. Размеры электрода выбирают такими, чтобы разогревался только его торец, т.е. та часть которая непосредственно контактирует со свариваемым элементом. Усилие сжатия зависит от пластичности материала и диаметра привариваемой проволоки. Для золотых и алюминиевых проводов давление берут в пределах 0,5...5 Н, а температуру 400...490°С.
Электроконтактная сварка расщепленным электродом (Рис. 13.19).
Эта сварка осуществляется за счет нагрева при пропускании электрического тока через свариваемые проводники между изолированными друг от друга электродами. Изолятором служит воздух (рис.13,19, а) или прокладка из диэлектрика (рис. 13.19, б). Основная часть теплоты выделяется в точках контакта «электрод - вывод». Электрод выполняют из металлов, с хорошей теплопроводностью и высокой температурой плавления (вольфрама, молибдена и др.). Количество выделяемой теплоты зависит от свойств поверхности раздела.
При нагреве проводников и наличии давления электродов выступы, нагретые до температуры рекристаллизации, сминаются. Площадь контакта в следствие этого увеличивается и облегчается сцепление за счет металлических связей. Длительность нагрева при сварке сдвоенным электродом значительно меньше, чем при сварке с косвенным импульсным нагревом, и возможность повреждения элементов схемы сведена к минимуму.
Расщепленный электрод применяют и для бесфлюсовой пайки. В отличие от сварки здесь нагрев требуется только для расплавления припоя, предварительно нанесенного на соединяемые детали. Этот метод особенно, пригоден в тех случаях, когда подводить припой в момент нагрева затруднительно.
При пайке сопротивлением необходимо строгое соблюдение режимов технологического процесса. Для этого, используют схемы с обратной связью работающие по принципу поддержания определенного напряжения между электродами или сохранения заданной температуры.
Ультразвуковая сварка. Ультразвуковая сварка позволяет получить неразъемное соединение металлов при совместном воздействии на деталь механических колебаний, высокой частоты; и относительно небольших сдавливающих усилий (рис. 13.20).
Рис. 13.20. Ультразвуковая сварка:
1 - плата; 2 - капилляр; 3 - проволока; 4 - ультразвуковая головка; 5 - контактая площадка
Это воздействие приводит к разрушению оксидных пленок и сглаживанию неровностей с созданием чистых поверхностей, что интенсифицирует процесс образования активных центров и приводит к образованию соединения.
Для выполнения монтажных соединений в микросхемах используют ультразвуковые генераторы мощностью около 100 Вт с частотой колебаний 20 ...60 кГц и при амплитуде колебаний инструмента 0,5 ... 10 мкм.
Преимуществами ультразвуковой сварки являются отсутствие нагрева, что позволяет соединять химически активные металлы; возможность соединения тонких деталей; небольшие усилия. Время, затрачиваемое на сварку, вдвое меньше, чем при термокомпрессии, а надежность в 3 раза выше. Недостатки ультразвуковой сварки заключаются в сложности поддержания режима в зоне контакта и в более высоких требованиях, предъявляемых к поверхности соединяемых деталей, чем при термокомпрессии.
Для улучшения качества сварки применяют комбинированные методы, при которых косвенный импульсный нагрев сочетается с ультразвуковыми колебаниями. Микросварные соединения можно получить при помощи лазерной, электронно-лучевой и плазменной сварок.
13.6. Склеивание
Склеивание применяют для неразъемного соединения деталей из различных материалов (металлических и неметаллических) в любых сочетаниях. В основе процесса склеивания лежит явление адгезии, т. е. способность некоторых веществ прилипать к поверхности других материалов. Адсорбционная теория (теория молекулярных сил) объясняет адгезию и когезию (сцепление между молекулами самого клея) главным образом взаимодействием сил Ван-дер-Ваальса, т. е. сил притяжения между незаряженными молекулами склеиваемых тел.
При склеивании обеспечивается гладкая поверхность изделия и герметичность соединения. Преимущества клеевого соединения по сравнению с заклепочными заключаются в том, что уменьшается стоимость соединения, так как отпадает необходимость в сверлении отверстий и изготовлении заклепок и обеспечивается равномерное распределение напряжений. Последнее обусловливает более высокие статические и динамические характеристики прочности соединения, которые для тонких листов превышают прочность материала.
Преимущество склеивания состоит также в том, что при соединении разных металлов вследствие изоляционных свойств клея отсутствует контактная коррозия. Кроме того, благодаря наличию клеевой пленки затрудняется передача колебаний.
Недостатками клеевых соединений являются сравнительно низкая прочность, незначительная тепловая стойкость, а также длительность технологического процесса (длительная выдержка при отверждении), что затрудняет сборку таких соединении на потоке. Для клеевых соединений недопустимы длительные нагрузки, так как эти соединения склонны к ползучести (текучести).
Клеи выпускают в виде жидких, пастообразных и твердых веществ (прутки, гранулы, порошки, пленки) или нанесенными на подложку (клеящие ленты, ткани и т. д.). Клеи могут быть холодного и горячего отверждения.
Обычно клеи — это композиционные материалы, в состав которых входят связующие вещества, растворители, наполнители, пластификаторы и катализаторы.
Связующая основа обладает клеящими свойствами и обеспечивает необходимую прочность соединения. Растворители определяют вязкость клея, а наполнители (металлические порошки, волокнистые материалы и др.) увеличивают прочность, уменьшают усадку и повышают вязкость. Пластификаторы повышают эластичность пленки, а катализаторы ускоряют процесс отверждения клея.
В зависимости от назначения клеи делят на конструкционные и неконструкционные (табл. 13.1) Конструкционные клеи (на основе термореактивных смол) используют для получения прочных соединений, а неконструкционные (на основе термопластичных смол) — для ненагруженных соединений.
Наиболее перспективными являются эпоксидные клеи, отверждающиеся без выделения побочных продуктов. Они универсальны, выдерживают кратковременный нагрев до t=430°С. Прочность эпоксидных клеев почти не зависит от толщины клеевого слоя, что значительно упрощает их нанесение. Обычно адгезионные свойства таких клеев выше когезионных. Вследствие малой ползучести они деформируются под действием длительной нагрузки значительно меньше, чем другие клеи.
В микроэлектронных устройствах для создания электрических контактов применяют токопроводящие клеи (контактолы). Адгезионные свойства таких клеев определяются связующей основой (эпоксидной смолой и др.), а проводимость достигается применением наполнителей (мелкозернистых порошков золота, серебра, меди и др.). Скорость загустения контактолов зависит от состава и количества растворителя. Приготовленный контактол хранят при температуре ниже нуля в парах растворителя.
Контактол наносят с помощью шприца, что позволяет дозировать количество клея. Это имеет важное значение для обеспечения высокого качества контактного соединения. Если капля окажется слишком большой, то она может не затвердеть после высыхания наружной области. Такое же явление произойдет при быстрой горячей сушке (при t=75°С) без выдержки на воздухе в течение 1 ч.
Удельное сопротивление проводящего эпоксидного клея находится в пределах 1 ·10-2... 6 ·10-4 Ом-см.
Прочность клеевого соединения определяется не только силами адгезии, но и когезии. Опасные внутренние напряжения в клеевых соединениях могут быть значительно ослаблены, если клеевой слой делать тонким (в пределах 0,05 ...0,25 мм). При значительных неровностях склеиваемых поверхностей надо применять безусадочные клеи или вводить в состав клея порошкообразные наполнители.
Процесс склеивания состоит из следующих этапов: подготовка поверхностей соединяемых деталей, нанесение клея, его подсушивание (открытая выдержка) и отверждение клеевых соединений.
| Т а б л и ц а 13.1 | ||||||||||
| Марка Клея | Прочность при сдвиге, МПа | Режимы склеивания | Связующая основа клея и примеры применения | |||||||
| Температура, °С | Время, ч | Давление, МПа | ||||||||
| Конструкционные клеи | ||||||||||
| БФ-4 | 7 | 60…80 120…130 | 6…8 4 | 0,1…0,5 | Фенолформальдегидная смола. Склеивание медной фольги с диэлектриком, магнитопроводов и др. | |||||
| ВК-3 | 19 | 165 | 1 | 0,5…1 | Фенолформальдегидная смола, склеивание металлических деталей с неметаллическими | |||||
| ЭКС-4 | 7,5 | 140 | 2 | 0,1 | Эпоксидная смола. Склеивание пластин магнитных головок | |||||
| ВК-9 | 7,5 | 25 | 24 | 0,2 | Эпоксидная полиамидная смола. Для герметизации микросхем, крепления навесных элементов | |||||
| К-400 | 17 | 25 | 48 | 0,1 | Эпоксидная, кремнийорганическая и полиамидная смолы. Приклеивание стекол, гермитизация микросхем | |||||
| Неконструкционные клеи | ||||||||||
| АК-20 | ― | 25 | 8 | 0,4 | Нитроцеллюлоза. Склеивание ткани, кожи, микросхем на печатной плате | |||||
| 88-НП | ― | 25 | 24…28 | 0,1 | Каучук. Склеивание резины | |||||
Подготовка поверхностей соединяемых деталей. Чтобы места соединения могли быть хорошо смочены клеем, их необходимо очистить. Очистку (обезжиривание и промывку) осуществляют в ацетоне, бензине и водных растворах, различных моющих веществ. Признаком чистой и хорошо смачиваемой поверхности является сохранение на ней сплошной пленки воды в течение 1 ...2 мин.
Большое влияние на прочность соединения оказывает шероховатость поверхности. Наибольшая прочность получается при шероховатости поверхности соединяемых деталей Ra 10...2,5 мкм.
Нанесение клея. Клеи наносят кисточкой, пульверизатором или погружением. Для вязких клеев применяют накатывание, а пастообразные клеи наносят шпателем. Толщину наносимой пленки клея берут в пределах 0,05 ...0,25 мм. При более толстых пленках наблюдается значительное уменьшение прочности соединения.
Подсушивание клея. Подсушивание клея необходимо для удаления растворителя. Оно может быть выполнено без нагревания или при повышенной температуре, которая не должна вызывать преждевременного отверждения клея. Степень удаления растворителя влияет на прочность и пористость клеевого соединения. Клеи, не содержащие растворителей (например, эпоксидные), не требуют открытой выдержки. .
Соединение деталей, покрытых клеем, выполняется в приспособлениях, обеспечивающих определенное их положение. Необходимое давление создается грузом, струбцинками, пружинными зажимами, винтами и т. д.
Время, необходимое для достижения клеевым соединением при определенной температуре оптимальной прочности, называется временем отверждения.
Горячее отверждение производится в нагревательных печах с принудительной циркуляцией воздуха, в подогреваемых приспособлениях и пресс-формах.
Важнейшим показателем качества клеевых соединений является предел прочности при сдвиге
τ = P / F (13.4)
где Р — разрушающая сила; F — площадь склеивания.
На качество клеевых соединений большое влияние оказывают режимы технологического процесса (температура, время, давление при склеивании), а также шероховатость и неплоскостность склеиваемых поверхностей, толщина пленки клея и физико-химические свойства клеевой пленки.
Клеящие вещества в большинстве случаев токсичны, поэтому на всех этапах технологического процесса необходимо соблюдать правила техники безопасности и охраны труда.
ЧАСТЬ ТРЕТЬЯ
ТЕХНОЛОГИЯ ИЗГОТОВЛЕНИЯ
ФУНКЦИОНАЛЬНЫХ ЭЛЕМЕНТОВ И ОБЩАЯ СБОРКА ЭВМ
ГЛАВА 14
ФУНКЦИОНАЛЬНЫЕ ЭЛЕМЕНТЫ И ТРЕБОВАНИЯ, ПРЕДЪЯВЛЯЕМЫЕ К НИМ
14.1. Виды функциональных элементов
Основным методом разработки электронных устройств является разделение сложной электрической схемы на функциональные элементы (ФЭ), из которых собирают более сложные устройства.
Функциональным элементом (модулем) называется конструктивно и функционально законченная часть схемы, имеющая унифицированные размеры и способная самостоятельно и в совокупности с другими элементами решать требуемые задачи.
Применение ФЭ значительно сокращает время на проектирование новых изделий. При этом резко уменьшается объем технической документации, которая разрабатывается только на специальные модули, ускоряется процесс оформления общих видов, принципиальных схем и др.
Эксплуатационная надежность устройства увеличивается, поскольку исключается возможность применения случайных и неотработанпых схем. Номенклатура модулей должна постоянно обновляться на базе новейших схемных решений.
Функциональные модули изготовляют на специализированном производстве, что позволяет снизить их стоимость, так как процесс изготовления и контроля модулей может быть автоматизирован.
Эффективность применения ФЭ зависит от ряда факторов, важнейшими из которых являются следующие.
Универсальность функционального элемента. Она заключается в возможности применения его в возможно большем числе электронных устройств.
Размерная и функциональная взаимозаменяемость. Она обеспечивает возможность замены модуля без применения подгоночных операций и смены остальных модулей, удовлетворяющих техническим требованиям.
Унификация конструкций. Унификация заключается в приведении модулей к наименьшему числу типоразмеров. Наиболее удобной геометрической формой является параллелепипед.
Стабильность параметров, т. е. модуль должен обеспечивать заданные выходные значения при наихудшем сочетании параметров электроэлементов, изменении напряжения источников питания, механических и климатических условий.
Высокая надежность. Она обеспечивается рационально разработанной схемой и конструкцией, правильно выбранной и реализованной технологией изготовления, а также соответствующими условиями эксплуатации.
Технологичность. Конструкция модуля и блока должна предусматривать возможность применения высокопроизводительных методов изготовлении деталей и сборки, разделения технологического процесса монтажа на отдельные операции и т. п. Эти требования можно реализовать за счет использования типовых элементов, сокращения номенклатуры применяемых деталей и материалов, возможности групповой пайки, наличия деталей с простой формой выводов.
Малые размеры модуля. Уменьшение размеров функционального элемента является характерной особенностью развития электроники и оценивается рядом коэффициентов. Наиболее часто используются коэффициенты плотности упаковки Ку и заполнения объема Кзо:
Ку = n/v, (14.1.)
Кзап = vакт / (v - vакт ), (14.2.)
где n - число элементов и компонентой; v - объем функционального элемента без учета объема выводов; vакт - объем, занимаемый материалами, без которых невозможно выполнение заданного физического процесса, например кристалл полупроводникового материала в транзисторе, сердечник магнитопровода, обмотка трансформатора и др.
Функциональные элементы» применяемые в ЭВМ, можно разделить на две большие группы: 1) модули и микромодули на дискретных компонентах; 2) интегральные микросхемы и микросборки.
К ФЭ первой группы относятся ячейки (ламповые, безламповые); модули (плоские, объемно-залитые, объемно-гнездовые и др.)
Ячейки применялись в ЭВМ первого поколения. Они представляют собой металлическую рамку 1, в которой размещаются на пластмассовых панелях 2 электронные лампы 5, дискретные электрорадиоэлементы 3 (ЭРЭ) и электрический соединитель 4, (рис. 14.1). Основные недостатки ячейки —низкая надежность, большие габаритные размеры, высокая потребляемая мощность.
Рис. 14.1. Пример конструктивного выполнения ячейки
Модули используют в ЭВМ второго поколения. Плоские модули (рис. 14.2, а) представляют собой печатную плату стандартных размеров, на которой монтируются различные ЭРЭ. Объемно-залитые модули (рис. 14.2, б.) имеют более высокую виброустойчивость и хорошую защиту от влаги. Микромодули этажерочного типа и плоские (рис. 14.3) собирают на керамической плате и защищают от воздействия внешней сферы заливкой компаундом и металлическим кожухом.
В ЭВМ третьего поколения основными ФЭ являются микросхемы среднего уровня интеграции, а в ЭВМ четвертого поколения — большие интегральные микросхемы и микросборки.
Рис .14.2. Модули на дискретных компонентах
а - плоский; б - объемно-залитой (до и после заливки)
Рис. 14.3. Микромодули:
а - этажерочного типа (до заливки) (1 - плата, 2 - соединительные проводники); б - плоский микромодуль (1 - бескорпусные ЭРЭ, 2 - изоляционная прокладка, 3 - колпачок, 4 - заливочная масса, 5 - ком паунд, 6 - вывод)
14.2. Микроминиатюризация функциональных элементов
В качестве общего названия различных методов значительного уменьшения размеров электронной аппаратуры применяется термин «микроминиатюризация». Одним из наиболее удобных показателей степени микроминиатюризации является количество элементов электрической схемы, размещенной в 1 см3 объема.
Плотность монтажа можно повысить за счет миниатюризации— уменьшения размеров обычных навесных элементов и более плотного их размещения, что широко используется при модульном методе проектирования. Применение малогабаритных ламп, уменьшение размеров полупроводниковых триодов, конденсаторов и других навесных элементов позволяет получить плотность монтажа До 0,1 см3. В микромодулях плотность монтажа можно увеличить до 10...20 дет/см3.
Микроминиатюризации свойственны трудности, связанные с рассеянием теплоты и вопросом о допустимых уровнях мощности. Для того чтобы температура внутри электронного устройства не превышала допустимую, оно должно иметь вполне определенную величину поверхности рассеяния теплоты. Если в тот же объем поместить значительно большее число элементов с такой же мощностью рассеяния, то температура внутри устройства превысит допустимую величину и оно выйдет из строя.
В связи с этим большое значение имеет разработка схем с меньшей мощностью рассеяния, а также использование материалов и элементов, способных выдерживать более высокие температуры. В настоящее время средняя мощность рассеяния одной интегральной логической схемы равна примерно 10 мВт. Имеется тенденция уменьшения этой величины. Но так как мощность рассеяния растет пропорционально скорости работы схемы, то проблема отвода теплоты всегда будет существовать.
Проблема теплоотдачи решается также путем увеличения диаметра токопроводящих жил, создания больших металлизированных площадок на платах с печатными схемами, применения элементов специальной формы, предусматривающих пространство для движения воздуха, который может быть охлажден. В последнем случае требуется специальная аппаратура для подачи воздуха.
Важное значение имеет правильное размещение элементов. Элементы, выделяющие большое количество теплоты, помещают вблизи теплообменника (если он применяется), а радиодетали, чувствительные к повышенным температурам, располагают возможно дальше от сильно нагревающихся деталей. В ряде конструкций применяют отвод теплоты через эпоксидные заливочные материалы, имеющие металлический заполнитель. Заливочный материал отводит теплоту от всех радиодеталей равномернее, чем металлический проводник.
Трудностью микроминиатюризации является также соединение узлов в блоки и устройства. При высокой плотности монтажа объем, приходящийся на соединения, становится соизмеримым с объемом самих блоков. Для электронных устройств с повышенной степенью интеграции характерно наличие паразитных связей, имеющих емкостный и индуктивный характер. Уровень паразитных связей повышается при увеличении числа пересечений проводников и уменьшением толщины изоляции. Помехи можно снизить путем увеличения расстояния между проводниками и расположения их во взаимно перпендикулярном направлении. Предельный уровень микроминиатюризации определяется также технологическими ограничениями.
14.3. Интегральные микросхемы и микросборки
Элементной базой современных ЭВМ являются микросхемы.
Интегральная микросхема (ИС) представляет собой ряд элементов, который нераздельно выполнен и электрически соединен между собой таким образом, что с точки зрения технических требований, испытаний, торговли и эксплуатации рассматривается как целое (ГОСТ 17021—88). Микросхему рассматривают как единое изделие, имеющее высокую плотность расположения элементов и (или) компонентов, эквивалентных элементам обычной схемы.
Элемент - часть ИС, реализующая функцию какого-либо электрорадиоэлемента (ЭРЭ), например транзистора, резистора и др., которая выполнена нераздельно от кристалла или подложки и не может быть выделена как самостоятельное изделие с точки зрения требований, предъявляемых к испытаниям, приемке, поставке и эксплуатации.
Компонент - часть ИС, реализующая функция какого-либо ЭРЭ. Компонент может быть выделен как самостоятельное (комплектующее) изделие и отделен от ИС. По функциональному назначению ИС делят на аналоговые и цифровые.
Аналоговые ИС служат для преобразования и обработки сигналов, изменяющихся по закону непрерывной функции. Их применяют в аналоговых вычислительных машинах (АВМ), измерительных приборах, системах контроля. Особое место среди аналоговых ИС занимают операционные усилители, которые являются универсальным базовым элементом для построения аналоговых узлов.
Цифровые ИС предназначены для преобразования и обработки сигналов, изменяющихся по закону дискретной, например двоичной, функции. Переменные величины и функции от них, которые могут принимать только два значения: 0 и 1, — называются логическими переменными.
Логические ИС выполняют операции конъюнкции (И), дизъюнкции (ИЛИ), инверсии (НЕ) и более сложные логические операции. Они могут состоять из нескольких логических элементов, объединенных единой подложкой и корпусом, и, как правило, имеют общие выводы для подключения источника питания.
Большинство цифровых ИС включают триггеры, которые обычно выполняются на логических элементах и реализуют переключающие функции. Наряду с простейшими ИС изготовляются микросхемы, реализующие функции типовых узлов ЭВМ. Такими узлами являются регистры, счетчики, сумматоры, запоминающие устройства и др.
Сложность ИС характеризуется степенью интеграции, т. е. числом содержащихся в ней элементов:
К =lg N , (14.3)
где К - коэффициент, определяющий степень интеграции (значение К. округляют до ближайшего целого числа); N - число элементов интегральной микросхемы, в том числе содержащихся в составе компонентов, входящих в интегральную микросхему.
Различают интегральные микросхемы шести степеней интеграции: первой степени интеграции - до 10 элементов и компонентов; второй степени - свыше 10... 102; третьей степени - свыше 102... 103; четвертой степени - свыше 103... 104; пятой степени - свыше 104... 105; шестой степени - 105... 106.
В зависимости от числа компонентов и элементов, а также технологии изготовления различают малые, средние, большие и сверхбольшие ИС. Так, например, большой интегральной микросхемой (БИС) называется ИС, содержащая 500 элементов и более, изготовленных по биполярной технологии, 1000 элементов и более, изготовленных по МОП-технологии.
Показатель степени интеграции особенно важен для цифровых ИС, так как чем меньше схемный элемент, тем выше его быстродействие.
Интегральные схемы. По конструктивно-технологическому исполнению ИС делятся на три группы: полупроводниковые, гибридные и прочие. К прочим относятся пленочные ИС, вакуумные и керамические. Этим группам в системе условных обозначений присвоены следующие цифры: 1, 5, 6, 7 - полупроводниковые ИС (обозначение 7 присвоено бескорпусным ИС); 2, 4, 8- гибридные ИС; 3 - прочие ИС.
Полупроводниковые ИС. Они являются основными элементами ЭВМ. Имеют высокую надежность, обеспечивают большую плотность упаковки элементов и низкую стоимость при крупносерийном производстве.
Полупроводниковые ИС изготовляют на специализированных предприятиях. Наряду с этим применяют микросхемы специального назначения со специфическими функциями и электрическими характеристиками. Разработка и производство таких микросхем осуществляются неспециализированными предприятиями, так как потребность в них относительно небольшая.
В качестве микросхем специального назначения широко применяют гибридные тонко- и толстопленочные интегральные схемы (ГИС), которые дают возможность получения высококачественных пассивных элементов. Паразитные емкости пленочных резисторов примерно в 10 раз меньше, чем у диффузионных, и последующая подгонка дает возможность повысить точность резисторов до ±0,1%.
Недостатками ГИС являются низкая плотность компоновки, более высокая стоимость и малая надежность.
Тип микросхемы выбирают прежде всего исходя из показателей назначения, определяющих соответствие их требованиям технических условий.
Полная номенклатура параметров микросхем, выпускаемых промышленностью, приводится в справочниках и отраслевых стандартах. Эта номенклатура постоянно пополняется схемами вновь освоенными промышленностью.
При выборе типа микросхемы необходимо также учитывать эффективность их производства и эксплуатации.
Производство полупроводниковых ПС требует больших капитальных затрат и оправдывает себя при достаточно большом объеме производства (более 50 тыс. в месяц). Наиболее дешевыми при мелкосерийном производстве являются толстопленочные ГИС. При одинаковых рабочих характеристиках тонкопленочные ГИС будут дешевле толстопленочных, если они изготовляются в количестве больше 10 тыс. в месяц.
При мелкосерийном производстве простота разработки и производства обеспечивают преимущество ГИС.
Таблица 14.1
| Наименование параметра | Полупроводниковые схемы | Тонкопленочные ГИС | Толстопленочные ГИС |
| Предельная мощность | 1 | 2 | 3 |
| Предельное напряжение | 1 | 3 | 3 |
| Быстродействие | 3 | 1 | 1 |
| Интеграция элементов | 3 | 1 | 1 |
| Паразитные связи | 1 | 3 | 3 |
| Точность и стабильность пассивных элементов | 1 | 3 | 2 |
| Надежность | 3 | 2 | 2 |
| Стоимость подготовки производства | 1 | 2 | 3 |
| Стоимость при крупносерийном производстве | 3 | 2 | 1 |
| Стоимость при мелкосерийном производстве | 1 | 2 | 3 |
| Длительность производственного цикла | 1 | 2 | 3 |
| Число операций технологического процесса | 1 | 2 | 3 |
| Капитальные затраты на оборудование | 1 | 2 | 3 |
| Воспроизводимость технологического процесса | 1 | 2 | 3 |
| Трудоемкость монтажный работ | 3 | 2 | 2 |
В табл. 14.1 приведена сравнительная характеристика параметров различных типов микросхем. Для оценки показателей использована четырехбалльная шкала: 3 - отлично; 2 - хорошо; 1 - удовлетворительно; 0 - неудовлетворительно.
В каждом конкретном случае необходимо учитывать дополнительные (специфичные) показатели (перспективность изделия, состояние производственной базы и др.).
Микросборка представляет собой иикроэлектроииое изделие, выполняющее определенную функцию преобразования и обработки сигнала, состоящее из элементов и (или) компонентов, размещенных на общей подложке, разрабатываемое для конкретной аппаратуры с целью улучшения показателей ее миниатюризации и рассматриваемое как единое целое с точки зрения требований к приемке, поставке и эксплуатации.
Выпуск микросборок характеризуется малым объемом и большой номенклатурой, что ограничивает выбор методов их изготовления.
ГЛАВА 15
ТОНКОПЛЕНОЧНЫЕ МИКРОСХЕМЫ
15.1. Подложки тонкопленочных микросхем
Тонкопленочными интегральными микросхемами называются Микросхемы, все элементы и межсоединения которых выполнены на одной общей подложке в виде пленок из резистивных, диэлектрических, проводящих и других материалов толщиной от нескольких сотых до десятых долей микрометра (но не более 1 мкм).
Пассивные элементы схемы (резисторы, конденсаторы и др.) изготовляют методами тонкоплсночной технологии; активные элементы схемы (диоды, транзисторы и др.) — по обычной технологии, но и миниатюрном или бескорпусном оформлении и монтируют на подложке.
Тонкопленочные микросхемы, в которых используются навесные активные элементы, называют гибридными интегральными микросхемами.
Достоинства тонкопленочных микросхем — возможность получения резисторов и конденсаторов с широким диапазоном номиналов и точными параметрами, высокая температурная стабильность их и возможность автоматизации процесса напыления.
Надежность повышается за счет сокращения числа соединений в схеме и уменьшения механических напряжений от ударов, ускорений и вибраций вследствие уменьшения массы. Ускорение в 1000 g воздействует на элемент с массой 1 мг силой 0,01 Н.
Основной недостаток тонкопленочных интегральных микросхем — невозможность изготовления в настоящее время по тонкопленочной технологии активных элементов схемы. Это связано с трудностью получения монокристаллических полупроводниковых пленок на аморфных и поликристаллических подложках, обычно применяемых для тонкопленочных микросхем. Необходимость в монтаже активных элементов снижает надежность и увеличивает стоимость микросхем.
Конструктивной основой тонкопленочных микросхем является изоляционная подложка, которая существенно влияет на параметры тонких пленок и надежность всей схемы. Общие требования, предъявляемые к подложке независимо от конструкции и назначения микросхем, следующие: гладкая поверхность, высокая плоскость, беспористость, механическая прочность, близость коэффициентов термического расширения подложки и пленки, хорошая теплопроводность, стойкость к термоударам, химическая стойкость, большое удельное электросопротивление, низкая стоимость.
Гладкая поверхность (Rа 0,01 ...0,04 мкм) необходима для обеспечения однородности и воспроизводимости электрических параметров схемных элементов. Например, шероховатость поверхности может влиять непосредственно на эффективную длину пробега электронов.
Плоскостность поверхности (особенно волнистость) влияет на четкость линий при фотолитографическом процессе. Если поверхность фоторезиста не имеет хорошего контакта с фотошаблоном, то четкость отдельных участков будет ухудшаться. Отклонения от плоскостности допускаются в пределах 0,1 ... 5 мкм/мм.
Беспористость (высокая плотность) материала подложки позволяет исключить интенсивное газовыделение, так как плотные материалы (сапфир и некоторая керамика) могут нагреваться до высоких температур и обезгажены более тщательно.
Механическая прочность зависит от модуля упругости. Подложки должны обладать значительной механической прочностью при небольших толщинах. В процессе обработки подложки могут возникать поверхностные трещины, которые снижают модуль упругости.
Стойкость к термоударам характеризуется коэффициентом термического расширения, который определяет напряжения, возникающие в подложке при резком изменении температуры.
Химическая стойкость подложки важна на всех стадиях ее обработки. Наиболее высокую химическую стойкость имеют подложки из оксида бериллия и сапфира. На них не оказывают действия растворы на основе плавиковой кислоты и длительное пребывание во влажной среде.
Большое удельное электросопротивление и хорошая теплопроводность являются важными требованиями в связи с повышением уровня интеграции микросхем. Первыми материалами, из которых изготовлялись подложки, были стекло и керамика.
Стеклянные подложки имеют гладкую поверхность и обладают хорошей адгезией со всеми материалами, применяемыми для изготовления тонконленочных микросхем. К недостаткам подложек из стекла относятся плохая теплопроводность, малая прочность и трудности, связанные с механической обработкой.
Керамические подложки обладают повышенной механической прочностью и теплопроводностью. Их применяют для схем, рассеивающих большие мощности. Максимальная высота неровностей полированной керамической подложки из материала 22ХС составляет 0,02 мкм, что допустимо при толщине пленки не менее 0,1 мкм. Возможность получения сквозных отверстий в подложке позволяет присоединять обычные элементы (транзисторы, диоды и др.), что расширяет функциональные возможности схемы. Сквозные отверстия используют также для проволочных выводов, которые перед пайкой расклепывают в отверстиях.
В настоящее время основным материалом, применяемым для изготовления подложек, являются ситаллы (марка СТ-50-1 и др.), которые получают термической обработкой стекла. При такой обработке стекло выдерживают некоторое время при температуре, близкой к температуре плавления, что приводит к частичной кристаллизации и образованию мелкой однородной и равномерно распределенной кристаллической структуры. По своим физико-механическим свойствам ситалл превосходит стекло, так как имеет большую теплопроводность, теплостойкость и механическую прочность. Его можно прессовать, вытягивать, выдувать, прокатывать и отливать. Температура деформации ситалла составляет 1150 ˚С. Материал выдерживает резкие перепады температур в воздушной среде (от +700 до -60 °С). Ситалл обладает высоким электрическим сопротивлением, которое уменьшается с повышением температуры до 400°С, и имеет высокую химическую стойкость.
Для изготовления подложек ограниченного применения используют фотоситалл и монокристаллические материалы.
Фотоситалл получают путем кристаллизации светочувствительного стекла. Основными составными частями фотоситалла являются оксиды кремния (75%), лития (11,5%), алюминия (10%) и калия (3,5%) с небольшими добавками азотнокислого серебра и диоксида церия. Фотоситалл инертен к кислотам, обладает высокой механической и термической стойкостью. При воздействии ультрафиолетового облучения на фотоситалле проявляется конфигурация рисунка фотошаблона,
Наиболее перспективными являются монокристаллические материалы и, в частности, синтетический сапфир. На подложках из таких материалов можно получать активные элементы схемы. Подложки из сапфира обладают хорошими физико-механическими свойствами и однородным составом. Однако такие подложки имеют высокую стоимость. Высокой теплопроводностью обладают алюминиевые подложки с оксидным слоем в качестве электроизоляции. Подложки тщательно очищают, так как любые загрязнения ухудшают условия конденсации, влияют на текстуру тонкой пленки и ее адгезию. Подложки из ситалла очищают кипячением в водном растворе перекиси водорода и аммиака. Затем производятся промывка, кипячение в дистиллированной воде и сушка в парах изопропилового спирта. Очищенные подложки хранят в эксикаторах или в 95%-ном этиловом спирте. Непосредственно перед напылением подложки подвергаются окончательной очистке в вакуумной камере с помощью ионной бомбардировки. При этом удаляются поверхностные слои материала вместе с различными загрязнениями и адсорбированными газами.
Наиболее простой метод контроля качества очистки — испытание на разрыв высыхающей пленки дистиллированной воды. При этом подложку погружают в сосуд с дистиллированной водой при 20°С и вынимают из воды в вертикальном положении. В течение 1 мин наблюдают за поверхностью подложки. Подложка считается свободной от загрязнений, если водная пленка распределяется по ее поверхности тонким сплошным слоем в течение не менее 1 мин. Если поверхность загрязнена, то пленка будет разрываться и стягиваться к смоченным участкам.
Для количественной оценки степени смачиваемости поверхности измеряют угол смачивания, который зависит от соотношения сил когезии внутри капли и адгезии между подложкой и каплей. Чем меньше этот угол, тем лучше качество очистки. Значение угла смачивания не должно превышать 3°.
Метод царапины основан на измерении усилия перемещения металлической иглы (обычно титановой) по поверхности подложки. При таких испытаниях увеличивают груз до тех пор, пока не получат видимой царапины. Этот, способ оценки чистоты подложки дает воспроизводимые результаты и является весьма чувствительным к поверхностным загрязнениям, которые играют роль смазки. Чистые поверхности обладают высоким коэффициентом трения. Для получения видимой царапины на неочищенных стеклах требуется груз 400 г, а для хорошо очищенных — всего 30 г. Степень очистки можно установить используя контроль электропроводности очищающей дистиллированной воды до и после промывки.
15.2. Элементы тонкопленочных интегральных микросхем
Основными элементами тонкопленочной интегральной микросхемы являются резисторы, конденсаторы и соединительные проводники.
Рис. 15.1. Тонкоплепочпые резисторы:
а - прямоугольный; б - составной из прямоугольных полосок;
в - меандр; г - змейка
Резисторы. Их выполняют в виде полосок различной формы (рис. 15.1, а - г). Отношение длины к ширине у таких резисторов много больше единицы. В отдельных случаях бывает необходимо изготовить резисторы, у которых отношение длины к ширине меньше единицы. Трудность изготовления таких резисторов заключается в том, что ширина резистора получается малой. При большой длине резистора ему придают Г- или П-образную форму.
Сопротивление определяют из соотношения
R = p0 l / (db) (15.1)
где p0 - удельное сопротивление материала; l - длина резистивной пленки; d - толщина; b - ширина.
Основные характеристики резистивной пленки. Основной характеристикой резистивпых пленок является удельное сопротивление pк - сопротивление постоянному току, измеренное между противоположными сторонами квадрата. Значение удельного сопротивления (Ом/П) не зависит от размеров квадрата и определяется только материалом и толщиной пленки:
pк = p0 / d
Понятие удельного сопротивления специфично для микроэлектроники и не применяется в других областях техники. Сопротивление резистора можно представить в следующем виде:
R = pк l / b = pк кф (15.2)
где кф = l / b - коэффициент формы резистора, представляющий отношение длины резистора к его ширине или число квадратов резистора.
Коэффициент формы прямоугольных резисторов кф = 0,1 ... 100. При 1
кф
10 выбирают резистор прямоугольной формы (рис. 15.1, а), при кф
10 - резистор сложной формы (рис. 15.1, б, в), при 0,1
кф
1 - резистор прямоугольной формы, у которого длина меньше ширины.
Допустимая мощность рассеяния тонкопленочных резисторов зависит от площади S, занимаемой ими на подложке. Она должна быть достаточно большой во избежание перегрева:
S
Р / РД (15.3)
где Р - мощность рассеяния, выделяемая в сопротивлении при максимальной температуре, Вт; РД - допустимая мощность рассеяния (экспериментально определяемая величина), Вт/см2.
Площадь, занимаемая резисторами на подложке, S = lb или S = b2 R/ pк, откуда
(15.4)
Полная относительная погрешность изготовления пленочного резистора представляет собой сумму погрешностей:
γ R = γ к.ф + γpк + γ Rt + γ Rст + γ Rк , (15.5)
где γ к.ф - погрешность коэффициента формы; γpк - погрешность воспроизведения величины pк резистивной пленки; γ Rt - температурная погрешность; γ Rст - погрешность, обусловленная старением пленки; γ Rк - погрешность сопротивления, обусловленная контактами.
Погрешность коэффициента формы зависит от погрешностей геометрических размеров резистора:
γ к.ф = Δ l / l + Δ b/ b, (15.6)
где Δ l и Δ b — погрешности длины и ширины резистора.
Погрешность воспроизведения резистивной пленки урк зависит от условий напыления и материала резистивной пленки и обычно не превышает 5%.
Температурная погрешность зависит от материала пленки:
γ Rt = aR (Tmax - 20°C) (15.7)
где aR - температурный коэффициент сопротивления материала пленки (ТКС), 1/°С.
Погрешность улет зависит от материала пленки, эффективности ее защиты, а также от условий хранения и эксплуатации.
Погрешность сопротивления контактов γ Rк составляет обычно 1 ...2% и этой погрешностью можно пренебречь. Допустимое значение погрешности формы
γ к.ф = γ R - γpк - γ Rt - γ Rст - γ Rк , (15.8)
Если значение γ к.ф превышает допустимое, то необходимо выбрать другой материал с меньшим ТКС либо использовать подгонку резисторов.
Расчетное значение ширины резистора должно быть не менее наибольшего значения одной из трех величин:
bрпсч
max (bр; bтех; bточ), (15.9)
где bр - минимальная ширина резистора, при которой обеспечивается заданная мощность рассеяния [определяется по формуле (15.4)]; bтех - минимальная ширина резистора, определяемая возможностями технологического процесса (при масочном методе bтех = 0,3 мм; при фотолитографическом методе bтех =0,1 мм); bточ - ширина резистора, определяемая точностью изготовления геометрических размеров.
На основании формулы (15.6) получим:
bточ
(Δ b+ Δ b/ кф )/ γ к.ф (15.10)
За ширину резистора b принимают ближайшее к расчетному значению bрасч большее значение ширины, кратное шагу координатной сетки, принятому для чертежа топологии с учетом масштаба. Если шаг координатной сетки принят 1 мм при масштабе 20 : 1, то округление производят до величины, кратной 0,05 мм.
Расчетная длина резистора:
l = b кф (15.11)
За длину резистора принимают значение, кратное шагу координатной сетки. При этом необходимо оценивать погрешность, возникшую вследствие округления размеров b и l.
Для резисторов, имеющих кф <1, определяют длину, а затем ширину резистора.
Расчет геометрических параметров резисторов типа «меандр» при известной ширине пленки сводится к определению расстояния между резистивными полосками и числа звеньев меандра (рис. 15.1, в).
Для получения стабильных пленочных сопротивлений толщина пленки должна быть 0,01 ... 1 мкм. Очень тонкие пленки (до 0,005 мкм) значительно изменяют свои параметры в процессе кристаллизации. Кроме того, последующее воздействие воздуха вызывает поверхностное окисление пленки, которое приводит к изменению ее сопротивления. В более толстых пленках это окисление сказывается меньше. Пленки толщиной более 1 мкм не обеспечивают достаточно прочного сцепления с основанием.
При выборе линейных размеров резистивных пленок необходимо учитывать, что при очень узких пленках даже небольшие отклонения от заданной ширины вызывают значительные изменения сопротивления. Точность изготовления резистивных пленок по ширине зависит от техники получения рисунка пленки на подложке. Практически путем напыления получают сопротивления с отклонением от номинала до ±5%. Эту точность можно повысить с помощью подгонки.
Таблица 15.1
| Материал | pк, Ом/а | PД. Вт/см2 | ТКС, град-1 (при темпера-туре - 60 ... +125°С) | |
| Резистивной Пленки | Контактной площадки | |||
| Хром (Сr) | Медь (луженая) | 500 | 1 | 0,6-10-4 |
| Тантал (Та) | Алюминий с подслоем | 100 | 3 | - 2 · 10-4 |
| Нихром NiСr (Ni= =80%; Сr=20%) | Медь | 300 | 2 | 1 ·10-4 |
| Сплав МЛТ (Si= =43,6%; Сr=17,6%; Fе =14,1%; W=24,7%) | Медь с подслоем ванадия | 500 | 2 | 2 ·10-4 |
| Кермет (Сr =50... 90%; Si =50 ...10%) | Золото с подслоем хрома | 3000 | 2 | 3 ·10-4 |
| Сплав РС-3001 (Сr =37,9%; Ni=9,4%; Si =52,7%) | Золото с подслоем хрома | 3000 | 5 | 1 ·10-4 |
Материал, используемый для изготовления резистивных пленок. Такой материал должен обеспечивать возможность получения стабильных по времени резисторов с низким температурным коэффициентом сопротивления (ТКС), обладать хорошей адгезией, высокой коррозионной стойкостью и устойчивостью к длительному воздействию высоких температур. При осаждении материала на подложку должны образовываться четкие линии с хорошей повторяемостью рисунка от образца к образцу.
Материалом для резистивных пленок могут быть различные металлы, металлические сплавы, оксиды металлов и металлокера-мические соединения (табл. 15.1). Из чистых металлов наиболее часто используют хром, тантал, вольфрам и рений.
Хром удовлетворяет большинству требований, предъявляемых к материалу резистивной пленки. Он хорошо совместим с любыми проводящими материалами, имеет достаточно высокое удельное сопротивление, может служить в качестве адгезионного слоя, образует стабильную и плотную пленку.
Тантал используют для создания резисторов с высоким удельным сопротивлением. На основе тантала можно изготовить законченные интегральные микросхемы, включая сопротивления, резисторы и конденсаторы. Универсальность тантала объясняется возможностью изменения электрических параметров путем легирования и оксидирования. Термически обработанные и анодированные пленки тантала характеризуются высокой стабильностью электрических свойств с малым значением ТКС.
Вольфрам и рений используют для изготовления резисторов с высоким удельным сопротивлением при малом ТКС. Основные преимущества пленок рения - устойчивость и стабильность при высоких температурах. Тугоплавкость рения позволяет использовать его при очень малых толщинах пленки. Пленки рения получают чаще всего путем электронно-лучевого разогрева гранул рения в вакууме (10-4 Па). Осаждение осуществляется при температуре подложки ~350°С.
Хромоникелевый сплав (нихром) дает возможность изготовлять пленки толщиной 100 А при малом ТКС. Многокомпонентный металлосилицидный сплав (МЛТ) применяют для получения резисторов с хорошей воспроизводимостью и малым ТКС.
Оксидно-металлические пленки получают путем распыления в атмосфере кислорода. Наиболее часто применяют пленки на основе оксида олова. Керметы представляют собой смеси металлов, изолирующими материалами. Хорошими адгезионными свойствами, стабильностью, высокой температурной устойчивостью и хорошими механическими свойствами обладают керметы на основе оксида кремния и хрома. В зависимости от состава смеси сопротивление может варьироваться в широких пределах.
Удельное сопротивление резистивных пленок обычно не превышает 100...300 Ом/П. Этот диапазон может быть расширен до 30...1500 Ом/ П, но стоимость резисторов возрастает в два раза. При этом получаются номиналы в пределах 100 ...100 000 Ом. Такой диапазон охватывает все значения современных транзисторных схем.
Конденсаторы. Их получают в виде трехслойной структуры (рис. 15.2, а) проводник – диэлектрик - проводник. При этом нижняя обкладка 2 конденсатора выходит за периметр верхней обкладки 3, а периметр диэлектрической пленки 1 выходит за пери метр нижней обкладки. Это исключает возможность замыкания обкладки и устраняет погрешность от их смещения. Такая конструкция характерна для конденсаторов повышенной емкости (сотни - тысячи пикофарад) и имеет площадь верхней обкладки более 5 мм2. Для конденсаторов небольшой емкости (десятки пикофарад) обкладки конденсаторов выполняют в виде двух взаимно пересекающихся проводников 1, разделенных пленкой диэлектрика 2. Расчетная площадь конденсаторов составляет 1...5 мм2 (рис 15.2,6).
Емкость конденсатора с параллельно расположенными электродами
С = 0,0885 εS/d , (15.12)
где ε - относительная диэлектрическая проницаемость диэлектрического слоя; S - активная площадь конденсатора, равная площади верхней обкладки, см2, d - толщина диэлектрического слоя, см; Со=0,0885 ε / S - удельная емкость.
Рис. 15.2. Тонкопленочпые конденсаторы:
а - повышенной емкости; б - небольшой емкости
Минимальную толщину диэлектрика определяют по формуле:
, (15.13)
где Кз =2...3 - коэффициент запаса электрической прочности; Uраб - рабочее напряжение, В; Епр - электрическая прочность материала диэлектрика, В/мм.
При расчете конденсаторов необходимо обеспечить возможно меньшую площадь конденсатора, выбирая материал с большой диэлектрической проницаемостью. Толщину материала желательно свести к минимуму, который необходим для того, чтобы выдерживать заданное напряжение. Если требуется большая емкость, то диэлектрик наносят в несколько слоев, что, однако, значительно усложняет производство. Наиболее экономичное использование ' площади обеспечивают конденсаторы квадратной формы.
Материал, используемый для изготовления диэлектрических пленок конденсатора, должен иметь хорошую адгезию с металлом, применяемым для обкладок конденсатора, не подвергаться механическому разрушению при воздействии температур, обладать высоким пробивным напряжением и малыми диэлектрическими потерями, иметь высокую диэлектрическую проницаемость и обладать минимальной гигроскопичностью.
В качестве материала для диэлектрической прослойки конденсаторов применяют диоксид кремния SiO2, оксид германия СеО, халькогенидное стекло ХГ-44, оксиды алюминия Аl2О3, тантала Та2О5, титана ТiO2 и др. Особенно перспективны диэлектрические пленки из сложных по составу стекол. Эти материалы имеют низкие диэлектрические потери на разных частотах вплоть до самых высоких.
Хорошим материалом для изготовления обкладок конденсаторов является алюминий, дающий значительно меньшее по сравнению с другими металлами количество коротких замыканий. Это объясняется относительно низкой температурой испарения алюминия и тенденцией к оксидированию. Поверхностный слой алюминия легко можно превратить в диэлектрик путем его оксидирования. Полученные таким образом конденсаторы обладают малыми диэлектрическими потерями и имеют высокое пробивное напряжение.
Емкость тонкопленочного конденсатора выбирают от 10 до 104 пФ. Наименьшее значение емкости зависит от толщины диэлектрического слоя, принимаемой 0,5 мкм. В более толстых слоях образуются внутренние напряжения, приводящие к их отслаиванию. При точности ±20% нижним пределом является емкость в 50 пФ. Верхний предел емкости зависит от рабочего напряжения и определяется наименьшей толщиной слоя диэлектрика, при которой наступает пробой. Кроме того, площадь, отводимая под пленочные конденсаторы, ограничена и обычно не превышает 1,6 см2.
Отклонение емкости тонкопленочного конденсатора от номинального значения обусловлено производственными погрешностями, изменением температуры и старением материала. К производственным погрешностям относятся разброс емкости Со и геометрических размеров верхней обкладки конденсатора. Удельная емкость определяется диэлектрической проницаемостью диэлектрика и его толщиной.
Конденсаторы подгоняют путем уменьшения верхнего электрода. При этом они должны иметь специальную топологию с подстро-ечными секциями, которые можно отключать путем удаления перемычек. Отключение дополнительной секции уменьшает емкость конденсатора. Для увеличения емкости используют несколько не связанных между собой секций, которые присоединяют параллельно друг другу.
Соединительные проводники. Соединительные проводники выполняют в виде проводящих пленок толщиной 0,5... 5 мкм. Более толстые пленки не обеспечивают хорошей адгезии с основанием.
Проводники должны быть по возможности короткими и широкими. Сопротивление проводника может влиять на эксплуатационные характеристики схем, что надо учитывать при проектировании.
Материал, используемый для проводящих пленок и контактных площадок, должен иметь низкое сопротивление, высокую коррозионную стойкость, хорошую адгезию к подложке и другим пленкам. Всем этим требованиям одновременно не удовлетворяет ни один из материалов, поэтому в настоящее время применяют двухслойный метод получения проводящих слоев и контактных площадок. Эти слои получают последовательно в одном процессе напыления. Один из компонентов образует прочную связь с подложкой (хром, марганец, титан), другой обеспечивает хорошую пайку (медь, серебро, золото). Наиболее часто применяют сочетание марганца с серебром. В начале испаряется марганец, хорошо сцепляющийся с подложкой, а затем серебро, которое образует проводящую пленку. Ценным свойством этого сплава является близость коэффициентов линейного расширения в широком диапазоне температур.
15.3. Методы получения тонких пленок
Основными методами получения тонких пленок являются термическое напыление (испарение) в вакууме и ионное распыление.
Термическое напыление в вакууме. Такое напыление основано на свойстве атомов (молекул) металлов и некоторых других материалов при испарении в условиях высокого вакуума перемещаться прямолинейно (лучеобразно) и осаждаться на поверхности, поставленной на пути их движения.
Установка для напыления в вакууме (рис. 15.3) состоит из плоской плиты 6, на которой устанавливается стеклянный или металлический колпак 9. В последнем случае он снабжается смотровым стеклом. На плите предусмотрены два изолированных вакуумплотных вывода 4 для питания испарителя 3. На некотором расстоянии от испарителя помещается подложка 10, на которую наносится тонкая пленка. Подложка нагревается и до достижения заданного режима закрыта заслонкой 1.
Рис. 15.3. Установка для термического напыления в вакууме:
1 - заслонка; 2 - испаряемый материал: 3 - испаритель; 4 - вакуумплотвые выводы;
5 - герметизирующая прокладка; 6 - плита; 7 - присоединение к вакуумному насосу;
8 - изолятор выводов; 9 - колпак; 10 - подложка; 11- держатель подложки; 12 – нагреватель.
В соответствии с физическими процессами, происходящими, при испарении в вакууме, можно выделить следующие области образования пленки: 1) перевод напыляемого материала в парообразное состояние; 2) перенос пара от источника испарения к подложке; 3) конденсация пара на подложке и образование пленки.
Перевод напыляемого материала в парообразное состояние. В области образования паров происходит испарение материала, который нагревается до тех пор, пока давление его паров не превысит давления остаточных газов. При этом наиболее нагретые молекулы, обладающие высокой кинетической энергией, преодолевают силы молекулярного притяжения и отрываются от поверхности расплава. Вследствие резко пониженной теплопередачи в условиях высокого вакуума перегрева подложек не происходит.
Для некоторых материалов условная температура испарения ниже температуры плавления. Например, хром имеет температуру плавления 1800°С, а испаряется при нагревании в вакууме при температуре 1205°С. Переход вещества из твердого состояния в парообразное минуя жидкое называется сублимацией.
Перенос пара от источника испарения к подложке. Область переноса паров составляет 10...20 см. Чтобы траектории молекул испаряемого вещества были прямолинейными, длина свободного пробега молекул остаточного газа должна в 5... 10 раз превышать линейные размеры области переноса паров.
Длина свободного пробега λ - расстояние, проходимое молекулой пара вещества без столкновения с молекулами остаточных газов. В высоком вакууме, когда λ
d (d - расстояние от источника испарения до подложки), молекулы испаряемого вещества пролетают расстояние практически без соударений. Такой поток испаряемого вещества называется молекулярным и для его создания необходим вакуум порядка 10-5…10-6 Па.
Конденсация пара на подложке и образование пленки. Конденсация пара зависит от температуры подложки и плотности атомарного потока. Атомы испаряемого вещества адсорбируются на подложке после хаотической миграции по ее поверхности.
При миграции атомы могут сталкиваться, образуя скопления (рис. 15.4, а), которые становятся более устойчивыми относительно реиспарения, так как к связи с подложкой добавляется энергия механической связи. Атомы, которые уже находились на подложке к рассматриваемому моменту времени, обозначены черными кружками, а белыми - атомы, которые только что попали на поверхность (рис. 15.4, б, в).
Наименьшая группа, для которой частота отрыва атомов меньше частоты присоединения, называется критическим зародышем.
Так как в процессе кристаллизации равновесие между газовой фазой и поверхностью смещено в сторону осаждения атомов, то концентрация последних на поверхности непрерывно растет. К зародышам присоединяются другие мигрирующие атомы (рис. 15.4, г), образуя целые агрегатные состояния. При дальнейшей конденсации островки, соединяясь между собой, образуют сплошную пленку.
Размер критических зародышей и частота их зарождения определяют структуру конденсирующейся пленки. Если в начальной стадии роста пленка состоит из мелких и многочисленных зародышей, то ее структура в дальнейшем сохраняется и сплошная пленка будет иметь мелкозернистую структуру. При крупных и малочисленных зародышах тонкая пленка будет иметь крупнозернистую структуру.
По механическим и физическим свойствам тонкие пленки существенно отличаются от объемного материала. Например, удельная прочности некоторых пленок примерно в 200 раз превышает прочность хорошо отожженных объемных образцов и в несколько раз - прочность материалов, подвергнутых холодной обработке. Это объясняется мелкокристаллической структурой и малой пластичностью. Температура испарения металлов лежит з пределах от нескольких сотен градусов (например 430°С у цезия) до нескольких тысяч (например, 3500°С у вольфрама). В связи с этим при вакуумном испарении применяют испарители различной конструкции. По способу нагрева вещества испарители разделяют на резистивные, электронные и индукционные.
Рис. 15.4. Модель начальной стадии роста тонкой пленки
В резистивных испарителях тепловая энергия получается за счет выделения теплоты при прохождении тока через нагреватель или непосредственно через испаряемый материал. Наиболее часто используют испарители с косвенным подогревом. В этом случае предусматривают специальные подогреватели, при помощи которых испаряемое вещество нагревается до требуемой температуры. Материалом испарителя обычно служит вольфрам, тантал, молибден и др.
Выбор материала подогревателя определяется следующими требованиями: испаряемый материал в расплавленном состоянии должен хорошо смачивать подогреватель, образуя хороший тепловой контакт, и не должен вступать в химические реакции с материалом подогревателя, которые могут привести к его загрязнению и разрушению. В основном применяют подогреватели из вольфрама, цолибдена, тантала.
Конструкция испарителей с косвенным подогревом показана на рис. 15.5, а - в. При небольших количествах испаряемого металла применяют V-образные, W-образные, волнообразные и спиральные испарители. Испаряемый металл в виде загнутых кусочков проволоки или полосок листового материала насаживается на подогреватель при пропускании тока кусочки испаряемого материала расплавляются и смачивают подогреватель; смачивание и поверхностное натяжение удерживают расплавленный металл на поверхности подогревателя.
Рис. 15.5. Проволочные испарители с косвенным подогревом:
а – V-образные; б - W-образные; в – волнообразные
Резистивные испарители не обеспечивают требуемого состава щенок при испарении сплавов. Вследствие различия в упругости паров различных компонентов состав пленки значительно отличатся от исходного материала. Например, напыляемый сплав нихром (80% Ni и 20% Сr) образует на подложке пленку, имеющую состав 60% Ni и 40% Сr. Для получения пленок требуемого состава из многокомпонентных сплавов (например, МЛТ и др.) применяют метод микродозирования или взрывного испарения. При этом методе на ленточный испаритель, нагретый до температуры, превышающей на 200...300°С температуру испарения наиболее тугоплавкого компонента, подается микродоза порошка испаряемого сплава с размерами частиц 100 ...200 мкм. Испарение микродозы происходит практически мгновенно.
В электронных испарителях кинетическая энергия электронов преобразуется в тепловую энергию. Испаряемый материал используется в виде сплошной проволоки, на свободный конец которой воздействует электронный луч (рис. 15.6). В связи с кратковременностью нагрева (10-8... 10-9 с) различные компоненты сложного соединения испаряются и осаждаются на подложку практически одновременно. Электронно-лучевой нагрев дает возможность испарять тугоплавкие металлы и их сплавы.
Для повышения стабильности параметров тонкие металлические пленки подвергают термической обработке путем нагревания до t=300 ...400° С. При этом происходит укрупнение кристаллов, связь между ними усиливается, пленка получается более плотной и компактной, а удельное электрическое сопротивление уменьшается.
Кроме того, такие пленки отличаются большой твердостью, механической прочностью и стабильностью параметров.
Прочность сцепления пленки с подложкой во многом зависит от наличия оксидного слоя, который может возникнуть между пленкой и подложкой. На образование оксидов большое влияние оказывает состав остаточных газов в рабочем объеме установки, особенно наличие паров воды.
Загрязнения подложки значительно влияют на электрофизические свойства пленок. Поэтому перед напылением необходимо тщательно очищать подложки, а также предохранять их от появления масляных пленок, возникающих в результате проникновения паров рабочих жидкостей из насосов.
Рис. 15.6. Схема электронно-лучевого испарителя:
1 - катод; 2 - фокусирующая катушка; 3 - поток электронов; 4 - отклоняющая система;
5 - подложка; 6 - поток пара материала; 7 - охлаждаемый держатель;
8 - испаряемый материал
Вакуумная установка должна иметь достаточно высокую скорость откачки для быстрого удаления газов, выделенных источником испарения и другими деталями установки во время напыления. Медленная откачка может привести к загрязнению получаемых пленок и ухудшению их качества. При этом необходимо принимать меры для уменьшения количества паров, попадающих в камеру напыления от насосов, так как конденсированные молекулы масла или продукты их разложения также могут загрязнять покрываемую поверхность и искажать структуру наносимой пленки. Для улавливания паров между откачиваемым объемом и насосами устанавливают конденсационные или сорбционные ловушки.
Шероховатость поверхности подложки существенно влияет па структуру пленки. Для устранения микроперовностей на подложку иногда напыляют слой диоксида кремния. Структура и свойства тонких пленок в значительной мере определяются условиями их конденсации и зависят от природы испаряемого вещества и соответствия его структуре подложки, материала подложки, температуре поверхности, степени вакуума, скорости испарения вещества и толщине пленки.
Пленки, наносимые с большой скоростью, обычно имеют мелкозернистую структуру. Скорость напыления зависит от давления паров испаряемого вещества и остаточных газов. В процессе осаждения пленочных элементов подложку подогревают, что позволяет повысить адгезию пленки, снизить внутренние напряжения и улучшить ее свойства. Последние зависят от температуры нагрева подложки. Например пленки, осаждаемые при температуре подложки 300°С, химически устойчивы и механически прочны, а пленки, осаждаемые при температуре до 160°С, имеют низкие механические свойства. Тонкопленочные элементы защищают от коррозии путем нанесения оксида кремния, пленка которого при соответствующих условиях напыления получается плотной и негигроскопичной.
Вакуумное напыление широко применяют для получения резис-тивных пленок, проводников из меди, алюминия и некоторых других сплавов, диэлектрических покрытий из оксида кремния и др. Основными преимуществами процесса являются высокая чистота получаемой пленки, удобство контроля ее толщины в процессе напыления, простота выполнения.
| Рис. 15.7. Установка для катодного распыления: 1 - нагреватель; 2 - держатель подложки; 3 - подложка (анод); 4 – колпак; 5 - мишень (катод); 6 - герметизирующая прокладка; 7 – плита; 8 - подвод аргона; 9 – присоединение к вакуумному насосу; 10 – ион аргона; 11 - атом металла | Рис. 15.8. Тлеющий разряд и распределение потенциала напряжения в его областях: 1 - темное астоново пространство; 2 – первое катодное свечение; 3 – темное катодное пространство; 4 – отрицательное тлеющее свечение; 5 –темное фарадеево пространство; 6 – положительный столб; 7 - анодное свечение; 8 – темное анодное пространство |
Наиболее существенные недостатки процесса - изменение процентного соотношения составляющих при испарении веществ сложного состава; малая равномерность пленки по толщине при осаждении на большую площадь из точечных источников; трудность испарения тугоплавких материалов; высокая инерционность процесса при использовании резистивных испарителей; сравнительно невысокая прочность сцепления пленки с подложкой.
Ионное распыление. Оно основано на явлении разрушения твердых материалов при бомбардировке их поверхности ионизированными молекулами разряженного газа. Процесс не связан с высокими температурами и позволяет получать пленки тугоплавких металлов и сплавов. Различают следующие виды ионного распыления: катодное, ионно-плазменное и магнетронное.
Катодное распыление («диодная» система) (рис. 15.7) производится в вакуумной камере, где расположены два плоскопараллельных электрода. Один электрод (катод) изготовлен из распыляемого материала и является мишенью для бомбардировки. Другой электрод (анод) служит подложкой, на которой осаждается пленка. В вакуумной камере создается низкое давление (10-3...10-4 Па), после чего заполняется инертным газом (обычно аргоном) при давлении 1...10 Па. При подаче высокого напряжения (1...3 кВ) между электродами возникает самостоятельный тлеющий газовый разряд, возбуждаемый электронной эмиссией. Характерным признаком тлеющего разряда является определенное распределение потенциала U в разреженном газе, обусловленное расстоянием между электродами (рис. 15.8). Основная часть приложенного напряжения падает на темном катодном пространстве. В этой области ионы достигают наибольших скоростей, приобретая максимальные энергии для бомбардировки катода. Катод является источником электронов, необходимых для поддержания тлеющего разряда. Электроны движутся к аноду и при столкновении с молекулами нейтрального газа выбивают новые электроны, что приводит к резкому нарастанию потока электронов. Молекула инертного газа при этом превращается из нейтральной в положительный ион, обладающий по сравнению с электроном большей массой. Так происходит ионизация газа, который с большим или равным количеством электронов и ионов называют плазмой. Электроны перемещаются к аноду и нейтрализуются. Положительные ионы движутся к другой границе плазмы и ускоряются в темном катодном пространстве, приобретая большие энергии для распыления мишени (катода). Атомы материала мишени с высокой энергией осаждаются на поверхности подложки, которая располагается достаточно близко к катоду. Обычно это расстояние составляет полторы-две длины темного катодного пространства.
Катодное реактивное распыление осуществляется в смеси инертного и активного газов. Оно позволяет получать различные по составу пленки. Разряд в смеси газов «аргон - кислород» применяют для получения оксидов. Реактивное распыление тантала в среде аргона с добавлением кислорода, азота и углерода позволяет получить ряд соединений с самыми различными свойствами.
Ионно-плазменное распыление (трехэлектродная система) осуществляется при более низких давлениях (рис. 15.9).
В камере создается давление 10-3 Па и включается накал катода. Затем она заполняется инертным газом при давлении 10-1 Па. Создание газоразрядной плазмы обеспечивается дуговым разрядом, возникающим между анодом и катодом при напряжении в 150 ...250 В. Источником электронов служит термокатод.
Рис. 15.9. Установка для ионноплазменного распыления:
1 - нагреватель: 2 - держатель подложки: 3 - подложка: 4 - анод; 5 - колпак;
6 - плита; 7 - присоединение к вакуумному насосу; 8 - подвод аргона;
9 - токопровод; 10 - катод (мишень); 11 - ион аргона; 12 - атом металла;
13 - термокатод
Распыляемый материал (мишень) вводится в газовый разряд в качестве независимого электрода, не связанного с поддержанием разряда. Имитируемые термокатодом электроны ускоряются по направлению к аноду и ионизируют по пути молекулы остаточного газа. Плотность образующейся плазмы более, чем на порядок превышает плотность плазмы тлеющего разряда. Катод-мишень и подложку помещают на противоположных границах активного плазменного пространства. Распыление начинается с того момента, когда к мишени прикладывают отрицательный по отношению к аноду потенциал в 200... 1000 В. Этот потенциал отталкивает электроны и притягивает ионы из плазменного пространства. Ионы бомбардируют, мишень так же, как в рассмотренном «диодном» варианте. Распыляемые атомы, двигаясь преимущественно в направлении, перпендикулярном поверхности, осаждаются на подложке. Распыление при низких давлениях дает возможность по-. лучить высокую адгезию пленки с подложкой за счет большей энергии распыляемых частиц. Так как при этом давлении длина свободного пробега молекул составляет несколько сантиметров, то распыляемые атомы на своем пути от мишени до подложки почти не соударяются с молекулами и ионами инертного газа и газовых примесей, что существенно уменьшает степень загрязненности пленки посторонними газовыми включениями. Возможность сокращения расстояния между мишенью и подложками связана с тем, что в триодной системе распыления образование электронов и ионов происходит автономно от мишени.
Недостатками триодной системы являются малый срок службы проволочного катода и разная скорость распыления на отдельных участках плоской мишени.
Высокочастотное ионное распыление применяют для распыления диэлектриков и полупроводниковых материалов. В процессе обычного распыления проводящих материалов, ударяющихся о катод-мишень, ион нейтрального рабочего газа получает с мишени электрон и разряжается, превращаясь на некоторое время в нейтральную молекулу. Если распыляемый материал мишени - диэлектрик, то нейтрализации ионов на мишени не будет и она быстро покрывается слоем положительных зарядов, препятствующих распылению мишени.
Влияние положительного заряда можно исключить подавая к металлическому электполу на котором закреплен напыляемый диэлектрик, переменное напряжение. В период, когда напряжение па мишени отрицательно, происходит ее распыление, сопровождаемое накоплением положительного заряда. При смене полярности положительный заряд компенсируется электронами, вытягиваемыми из плазмы. Диэлектрические материалы можно распылять на любой частоте. Однако на низких частотах оно малоэффективно. Вследствие большого различия в подвижности электронов и ионов существенно меньшее число ионов попадает на мишень за период отрицательного напряжения.
Рис. 15.10. Магнетронное распыление:
а - магнетрон с плоским катодом; б - схема бомбардировки катода; 1 - подложка;
2 - нейтральный атом; 3 - электрон: 4 - ион; 5 - плазма; 6 - темное анодное пространство;
7 - анод; 8 - темное катодное пространство
Магнетронное распыление (рис. 15.10, а) является вариантом «диодных» систем распыления. Все конструктивные элементы монтируются в корпусе 1, который присоединяется к вакуумной камере (на рис. 15.10 камера не показана) через изолирующее юльцо 2, 14 и фланец 15. Дискообразный катод-мишень 3 охлаждается прогочной водой, поступающей по трубкам 5 и 8. Под катодом расположен магнитный блок, состоящий из центральных 7 и периферийных 9 магнитов, закрепленных на основании 4. На катод через клемму 6 подается высокое напряжение (300...700 В). Магнитный блок создает над поверхностью катода дугообразное неоднородное поле. Область распыления обозначена 10 и 12, а силовые линии магнитного поля - 11. Над катодом расположены кольцевой анод 13 и диск, на котором установлены подложки. Такое расположение анода обеспечивает образование электрического поля с составляющей, перпендикулярной плоскости катода. Высокие скорости осаждения достигаются при давлении 0,1...0,5 Па. При подаче отрицательного потенциала на катод в прикатодной области возникает неоднородное электрическое поле, силовые линии которого скрещиваются с силовыми линиями магнитного поля 11, замыкающими магнитную систему. На вылетающие с поверхности катода электроны действуют эти пересекающиеся поля, которые удерживают электроны в темном катодном пространстве (рис. 15.10, б). Покинуть это пространство электроны не могут: с одной стороны этому препятствует магнитное поле, возвращающее электроны на катод, с другой стороны - поверхность мишени, отталкивающая электроны. В результате осцилляции электронов возникает интенсивная ионизация рабочего газа в непосредственной близости от катода. При этом возрастают интенсивность бомбардировки катода, скорость его распыления и осаждения материала на подложку. Потери энергии приводят к тому, что электроны покидают темное катодное пространство и при движении к аноду описывают сжимающиеся спирали. Это повышает эффективность ионизации и существенно уменьшает энергию, рассеиваемую электронами на аноде. Основным источником нагрева подложек становится энергия, выделяемая при торможении и конденсации осаждаемых атомов вещества. Температура подложки при этом не превышает 100...200°С. Высокие скорости роста пленок в магнетронных системах обеспечиваются также сравнительно низким давлением у подложки, что снижает потери энергии распыленных атомов при достижении- поверхности подложки. Этим в основном определяется высокая адгезия пленок к подложке при использовании магнетронных распылительных систем, что позволяет получать пленки из тугоплавких металлов и многокомпонентных сплавов без адгезионного подслоя.
Распыление ионной бомбардировкой имеет следующие преимущества:
1) обеспечивается высокая адгезия пленки к подложке, что объясняется высокой энергией распыленных атомов;
2) сохраняется состав материала пленки вследствие низкой температуры распыления;
3) отсутствует перегрев вакуумной камеры при получении пленок из тугоплавких металлов;
4) обеспечивается малая инерционность процесса, так как распыление прекращается при снятии напряжения;
5) вследствие большой площади распыляемой пластины (мишени) получаются равномерные по толщине пленки на подложках больших размеров, что обеспечивает эффективную реализацию группового метода напыления;
6) мишень является длительно не изменяемым источником распыляемого материала, что облегчает автоматизацию процесса и обеспечивает однородность получаемых пленок.
Большинство промышленных установок основаны на использовании трехэлектродных систем распыления.
15.4. Контроль толщины тонких пленок
Для определения толщины тонких пленок применяют такие методы: резистивный, микровзвешивания, оптический, интерференционный, радиочастотный и др.
Многие из них позволяют производить измерение толщины пленки в процессе термического напыления в вакууме и управлять режимами технологического процесса.
Резистивный метод. Данный метод основан на измерении сопротивления контрольного образца, напыляемого одновременно с основной пленкой (рис. 15.11).
Рис. 15.11. Измерение толщины пленки резистивным методом
В вакуумной камере устанавливаются подложки 3 и 4, на которые напыляется пленка. На подложке 4 формируется контрольное сопротивление Rх, определяемое параметрами моста:
Rx=R1R3/R2. (15.14)
С моста сигнал поступает на усилитель 5. Достижение баланса моста соответствует заданной толщине пленки. При этом срабатывает электронный ключ 6, который включает блок управления приводом 7. Заслонка 2 с помощью электромеханического устройства 8 перекрывает поток напыляемого вещества с резистивного испарителя 1,
Точность измерения толщины пленки резистивным методом составляет 5...10%. Этот метод применим только к проводящим пленкам. Он не пригоден для измерения пленок с малым сопротивлением (≤1 Ом/), так как переходные сопротивления соизмеримы с сопротивлением пленки.
Резистивный метод позволяет контролировать скорость осаждения пленки и прекращать напыление по достижении заданной толщины путем включения заслонки.
Метод микровзвешивания. Он основан на определении толщины пленки по количеству осажденного вещества. Толщина пленки
H = G/(Fγ), (15.15)
где G - разность массы подложки до и после осаждения пленки; F - площадь, покрытая слоем пленки; у - плотность вещества пленки.
За толщину пленки принимают толщину такого слоя, при котором образующий его металл равномерно распределен по всей поверхности с плотностью сплошного материала. При измерении малых масс требуется очень чувствительная система, что является недостатком метода. Для измерения толщины пленки при ее осаждении в вакууме применяют весы. Коромыслом весов служит стеклянный капилляр, на концах которого приклеиваются тонкие кварцевые нити. На одном конце коромысла помещают подложку, на другом - противовес. Массу пленки определяют по величине тока, необходимого для компенсации отклонения коромысла. Тарировкой весов установлено, что существует линейная зависимость между массой пленки и компенсационным током.
Оптический интерференционный метод. Этот метод основан на использовании эффектов, возникающих в системе «пленка - подложка» при изменении толщины пленки. Они состоят в том, что по мере утолщения пленки интенсивность отраженного света уменьшается и достигает минимума в тот момент, когда толщина пленки становится равной 1/4 длины волны падающего света. При дальнейшем увеличении толщины пленки отражение усиливается и достигает максимума при толщине, равной половине длины волны. Практически можно производить наблюдения до 10...20 экстремумов в зависимости от оптических свойств наносимого вещества. Положительным свойством метода является возможность измерять толщину в процессе напыления пленки.
Радиочастотный метод или метод кварцевого резонатора. Метод основан на измерении отклонения частоты колебаний кварцевого кристалла при осаждении на нем напыляемого материала. При изменении массы т кварцевого кристалла на величину Δт частота его колебаний f меняется пропорционально изменению массы на величину Δf
Δf / f =Δт / т. (15.16)
Объем напыленной планки v = Sh = Δт / γ, (S - площадь кварцевого кристалла; /h - толщина пленки; γ - плотность пленки), откуда толщина пленки
h = Δт/(γ S) или h = т Δf / (f γ S). (15.17)
Обозначая все постоянные параметры через с, получим
h = сΔf , (15.18)
где с - коэффициент пропорциональности.
Приборы с кварцевым резонатором имеют удовлетворительную точность, высокую чувствительность и малую инерционность.
Выпускаемый отечественной промышленностью кварцевый измеритель (КИТ) позволяет проверить толщину пленок в пределах 0,01... 5 мкм с точностью ±10%. Он подает сигнал окончания процесса после получения пленки нужной толщины, который управляет перемещением заслонки.
Недостатком метода является уход частоты, связанный с нестабильностью температуры кристалла, неточным выполнением его среза и с паразитными колебаниями, возникающими при плохом креплении.
Для контроля скорости осаждения применяют ионизационный, емкостный и другие методы.
Ионизационный метод. Этот метод основан на ионизации паров испаряемого вещества электронами катода. Скорость испарения измеряют путем определения ионного тока паров этого вещества специальным манометром, установленным над испарителем. Ионизационный метод является универсальным, имеет широкие пределы измерения с точностью до 1 % и может быть использован для стабилизации процесса напыления.
Рис. 15.12. Гребенчатый конденсатор
Емкостный метод. Его применяют для измерения скорости осаждения только диэлектрических пленок. В основу метода положено измерение малых приращений емкости плоского гребенчатого конденсатора (рис. 15.12) при осаждении на него пленки диэлектрика. Гребенчатый плоский конденсатор представляет собой чередующиеся проводящие полоски 1, нанесенные на изолирующую подложку и соединенные с контактами. При напылении сверху диэлектрической пленки 2 и заполнении ее каналов между обкладками емкость С возрастает вследствие изменения диэлектрической проницаемости. При малых толщинах диэлектрических пленок изменение емкости ΔС от толщины диэлектрика практически имеет линейный характер. Приращения емкости измеряют с помощью измерительного моста.
Для измерения остаточного давления в вакуумных установках применяют в основном термоэлектрические и ионизационные приборы.
В термоэлектрических приборах в качестве задающей величины используется зависимость теплопроводности от давления, а в ионизационных приборах — ионный ток. Наиболее совершенным методом исследования тонких пленок является растровая электронная микроскопия.
15.5. Основные этапы технологического процесса
изготовления тонкопленочных интегральных микросхем
Основными этапами технологического процесса изготовления тонкопленочных микросхем являются составление топологии схемы, изготовление оригинала интегральной микросхемы, фотошаблона и масок, напыление элементов схемы.
Составление топологии схемы. Этап заключается в определении конфигурации, геометрических размеров и рационального размещения на подложке пленочных и навесных элементов, а также порядка их соединения.
Рис. 15.13. Последовательность разработки топологии тонкопленочной
интегральной микросхемы
При разработке топологии необходимо иметь принципиальную электрическую схему с перечнем элементов и их параметров. Топология для самостоятельных функциональных схем разрабатывается в такой последовательности:
-
разрабатывается коммутационная схема взаимного размещения элементов;
-
выбирается форма и рассчитываются размеры пленочных элементов;
-
размещаются пленочные элементы на подложке;
-
соединяются пленочные и навесные элементы;
-
определяются размеры подложки.
Заданная электрическая схема (рис. 15.13, а) должна быть упорядочена в соответствии с особенностями пленочной технологии. Количество пересечений проводников сводится к минимуму (рис. 15.13, б). Топология микросхемы показана на рис. 15.13, в. Контактные площадки 1 - 7 входов и выходов должны быть максимально удалены друг от друга и расположены по периметру платы.
Отношение максимального и минимального значений номиналов резисторов в схеме не должно превышать 50.
В общем случае топологическая задача допускает весьма большое количество решений. Однако при этом можно выделить общие положения, которые необходимо учитывать при проектировании. Пленочные элементы располагают на расстоянии не менее 0,6... 1,0 мм от края подложки; расстояние до края подложки берут не менее 0,3 ...0,5 мм; минимальное расстояние между двумя соседними элементами одного слоя составляет 0,3 мм; расстояние от навесного элемента до контактной площадки должно быть не более 3 мм и не менее 0,5 мм; минимальные размеры тонкопленочных резисторов принимают по ширине 0,2 мм, по длине 0,4 мм. Для осуществления надежного контакта минимальное перекрытие токопроводящих полосок должно составлять 0,3 мм. Ширину соединительных проводников выбирают по возможности максимальными (не менее 30 мкм). Элементы соединяют по кратчайшему пути, что определяет конфигурацию проводников.
Распределение пленочных элементов в плоскости должно быть равномерным. Элементы контуров располагают на одних линиях (вертикальных или горизонтальных), а зазоры между элементами делают одинаковыми. После компоновки микросхемы определяют коэффициент заполнения подложки Кs, представляющий собой отношение используемой части подложки к общей площади. В среднем Кs = 0,45... 0,55. Зная Кs, можно определить площадь подложки.
Снижение трудоемкости при составлении топологии достигается применением ЭВМ, при помощи которой решают задачу оптимального размещения элементов микросхемы и проводников на подложке.
Оригинал интегральной микросхемы. Он представляет собой чертеж конфигурации топологического слоя тонкопленочной микросхемы, предназначенного для получения фотошаблона. Размеры тонкопленочных микросхем обычно не превышают 50 мм. При увеличении 30х оригинал будет иметь размеры 1,5 X 1,5 м, которые являются максимально допустимыми при фотокопировании.
Оригиналы схемы получают вычерчиванием на жестком полупрозрачном пластике или методом клейкой ленты. Применение прецизионной резательной машины дает возможность обеспечить точность по ширине ±0,025 мм. Более высокую точность можно получить применяя металлические ленты.
Изготовление оригинала интегральной микросхемы и фотошаблона. Фотошаблон представляет собой фотокопию оригинала интегральной микросхемы, выполненной на прозрачном материале в масштабе 1:1 по отношению к размерам микросхемы.
Изготовление масок. Маски служат для получения требуемого рисунка схемы. Различают свободные и контактные маски. Свободные маски выполняют в виде пластин (трафаретов) из бериллиевой бронзы, нержавеющей стали и других материалов с отверстиями требуемой конфигурации. С помощью маски производится экранирование отдельных участков подложки от потока осаждаемого материала при его напылении в вакууме. При ионном распылении металлические маски не применяют, так как они искажают электрическое поле между анодом и катодом, а маски из диэлектрических материалов не находят широкого применения в связи со сложностью их изготовления. Свободные маски изготовляют механической обработкой или фототравлением.
Напыления элементов схемы. Вакуумное напыление через свободную маску в общем случае обеспечивает повторение конфигурации маски с точностью ±25 мкм, а в некоторых случаях до ±10 мкм. Получаемая точность зависит от зазора между маской и подложкой, а зазор в свою очередь - от плоскостности маски и подложки.
Особую проблему представляет коробление маски, которая вследствие малой толщины имеет недостаточную жесткость. Решением задачи получения жесткой маски при малой ее толщине является применение биметаллической маски (рис. 15.14). Ее выполняют из достаточно толстой (150 мкм) фольги 2 с нанесением на ее поверхность тонким (10... 15 мкм) слоем другого металла 1,
который несколько выступает за вырезы в фольге. Этот слой влияет на рассеивание атомов осаждаемого вещества на подложку.
В практике применяют однооперационный и многооперационный методы получения тонкопленочных элементов.
| Рис. 15.14. Биметаллическая маска: 1- тонкий слой никеля; 2 – основание маски(бериллиевая бронза) | Рис. 15.15. Установка многооперационного типа для напыления в вакууме: 1 – подложки; 2 - диск с масками; 3 - экран; 4 - резистивиый испаритель; 5 - карусель с подложками; 6 - нагреватель. |
При однооперационном методе одновременно на ряд подложек осаждается один слой (например, только диэлектрик или нижние обкладки конденсаторов). Затем подложки вынимают и меняют маски, через которые осаждают следующий слой. Осаждение каждого слоя требует разгерметизации рабочего объема установки. Достоинством метода является высокая точность получения конфигурации элементов схемы, так как совмещение масок с подложками производится на воздухе. Однако при этом возможно загрязнение нанесенных слоев и увеличение продолжительности выполнения операции, так как для получения рабочего вакуума порядка 10-4 Па затрачивается 1,5...2 ч.
При многооперационном методе используют установки (рис. 15.15), в которых смонтированы испаритель и соответствующая маска. Каждая позиция защищена экраном. Подложки расположены на карусельном устройстве и могут перемещаться из одной позиции в другие, совмещаясь с неподвижными масками. Напыление осуществляется одновременно на всех позициях и за один технологический цикл откачки можно изготовить пассивную часть тонкопленочной микросхемы. В этом случае полностью исключается воздействие атмосферного воздуха. Однако многооперационный метод требует применения сложной и дорогостоящей технологической оснастки, работа которой в условиях высокого вакуума и высоких температур может быть не всегда надежна.
Перед нанесением пленок производится вакуумная очистка подложек. Эта операция осуществляется при помощи специального электрода, к которому подводится положительное напряжение тлеющего разряда.
В начале напыления желательно применять заслонку между источником, и подложкой, на которую осаждается первоначальная пленка, содержащая летучие элементы.
Контактные маски образуются непосредственно на поверхности подложки и предназначаются для однократного использования. В качестве материала контактной маски применяют фоторезист или другой материал, стойкий к химическим воздействиям (хром, медь и др.). Наиболее широко такие маски применяют для получения микросхем со сложным рисунком и из материалов, трудно поддающихся травлению.
Получение тонкопленочных структур с помощью контактной маски производят методом прямой или обратной (взрывной) фотолитографии.
При методе прямой фотолитографии (рис. 15.1, 6) на подложку 2 наносят сплошную пленку 1 материала будущего элемента схемы (рис. 15.16, а) и покрывают слоем фоторезиста 4 (рис. 15.16, 6). После экспонирования с фотошаблона 3 и проявления на поверхности подложки образуется фоторезистивная маска 5 (рис. 15.16, б), через окна в которой производится травление (рис. 15.16, г). Контактная маска удаляется в растворителе и получается требуемая схема 6 (рис. 15.16, д).
При методе обратной («взрывной») фотолитографии (рис. 15.17) на подложку 3 наносят слой фоторезиста 2, толщина которого больше толщины будущего элемента, и экспонируют с фотошаблона 1 (рис. 15.17, а). После проявления на поверхности подложки создается контактная фоторезистивная маска 4, представляющая негативное изображение схемы (рис. 15.17, 6). На открытые и закрытые участки подложки наносят пленку 5 из материала будущего элемента схемы (рис. 15.17, в) и подложку помещают в слабый травитель, не оказывающий действия на материал элемента схемы. Фоторезистивная маска под действием растворителя отрывается от подложки, увлекая за собой часть пленки, расположенной на маске. В результате образуется требуемая схема 6 (рис. 15.17, г).
Недостатками фоторезистнвной маски являются трудности, связанные с очисткой подложки через отверстия в фоторезисте, и температурные ограничения, связанные с необходимостью сохранения маски. Эти недостатки устраняет металлическая контактная маска. В качестве материала для таких масок применяют медь, хром и другие материалы. Они выдерживают высокую температуру при напылении и не требуют сильных травителей.
На рис. 15.18 представлены основные этапы типового технологического процесса изготовления резистивной матрицы методом селективного травления, которое применяется для получения сложного рисунка схемы с высокой точностью. На ситалловую подложку (рис. 15.18, а) напыляют четыре сплошных слоя: сплав МЛТ хром, золото и фоторезист. После экспонирования фоторезиста через фотошаблон (рис. 15.18, б) и проявления на поверхности золотой пленки образуется фоторезистивная маска (рис. 15.18, в). Затем производят селективное локальное травление пленки золота в смеси азотной и соляной кислоты (царская водка). Этот травитель не действует на слой хрома (рис. 15.18, г). Резистивную маску удаляют (15.18, д) и травят пленку хрома в соляной кислоте, которая не действует на золото и сплав МЛТ (рис. 15.18, е). Для получения нужной схемы вторично наносят слой фоторезиста (15.18, ж) и после экспонирования (15.18, з) и проявления (рис. 15.18, и) производится травление сплава МЛТ (рис. 15.18, к). Фоторезистивную маску удаляют и получают требуемую схему резистивной матрицы (рис. 15.18, л).
При изготовлении тонкопленочных структур применяют танталовую и электронно-лучевую технологии.
Рис. 15.18. Последовательность изготовления тонкопленочной резистивной
матрицы методом селективного травления:
1 - фоторезист; 2 - пленка золота; 3 - пленка хрома; 4 - сплав МЛТ; 5 - подложка
Танталовая технология позволяет использовать один материал для получения проводниковых, резистивных и диэлектрических пленок. Пленки тантала получают катодным распылением. Для получения резистивных пленок с большим диапазоном удельного сопротивления применяют катодное реактивное распыление, а диэлектрические слои получают анодированием пленок тантала.
Электронно-лучевая технология наиболее целесообразна для изготовления микросхем, содержащих только пленочные резисторы и проводники. При этом на подложку напыляют сплошные резистивный и проводящий слои.
Для получения требуемой конфигурации элементов производится обработка при помощи электронного луча по заданной программе.
ГЛАВА 17
ПОЛУПРОВОДНИКОВЫЕ ИНТЕГРАЛЬНЫЕ МИКРОСХЕМЫ
17.1. Элементы полупроводниковых микросхем
Полупроводниковыми интегральными микросхемами называют такие, у которых все элементы и межэлементные соединения выполнены в объеме и (или) на поверхности полупроводникового материала. Они могут быть построены на различных материалах. Однако наибольшее применение находит кремний вследствие широкого интервала рабочих температур и возможности получения на его поверхности стойкой пленки диоксида кремния SiO2. Эта пленка служит защитным покрытием при проведении ряда технологических операций, предохраняет схему от внешних воздействий и применяется для изоляции отдельных элементов.
Перспективным материалом является арсенид галлия. Он обладает высокой подвижностью электронов, прозрачен в инфракрасной области, имеет высокую теплопроводность и электрооптические свойства. Схемы, построенные на арсениде галлия, обладают по сравнению с кремниевым в 5 раз большим быстродействием, меньшей мощностью рассеяния и более значительной радиационной стойкостью. Арсенид галлия применяют в оптоэлектронных и других устройствах, где используются его специфические свойства. Широкое использование его ограничивается трудностями получения монокристаллов больших размеров и создания изолирующих слоев. Преодоление этих трудностей может сделать этот материал основным при изготовлении полупроводниковых интегральных схем.
Э
лементами полупроводниковых микросхем являются транзисторы, диоды, резисторы и конденсаторы. Транзисторы и диоды — основные элементы. Они имеют те же характеристики, что и в дискретном исполнении.
Транзисторы. В интегральных микросхемах используют биполярные и униполярные (полевые) транзисторы.
Биполярные транзисторы разделяются на планарные и планарно-эпитаксиальные (рис. 17.1).
Планарный транзистор (рис. 17.1, а) отличается тем, что все слои, соответствующие эмиттеру (Э), базе (Б) и коллектору (К), выходят на одну поверхность. Коллекторные токи при этом проходят протяженный горизонтальный участок под базой, прежде чем достигнут контакта. Повышенное сопротивление коллектора снижает быстродействие транзистора.
Планарно-эпитаксиальный транзистор имеет высоколегированный захороненный слой N+-типа с малым омическим сопротивлением (рис. 17.1,6), который уменьшает сопротивление коллектора. Транзисторы имеют форму прямоугольника шириной'50... 200 мкм и длиной 75...300 мкм. Глубина эмиттерной области составляет несколько микрометров, Большинство биполярных транзисторов изготовляют со структурой N-Р-N, что обеспечивает более высокое быстродействие по сравнению со структурой Р-Н-Р, так как подвижность электронов в 2...3 раза превышает подвижность дырок.
На рис. 17.1, в показана структура планарно-эпитаксиального транзистора с барьером Шотки. Она представляет собой транзистор N-P-N+-типа, в котором металлический, контакт базы расширен на коллекторную область. Такой контакт обладает выпрямляющими свойствами и работает как диод. Транзисторы с барьером Шотки характеризуются высоким быстродействием и большим коэффициентом усиления. Изготовление таких транзисторов не требует дополнительных операций, а площадь незначительно превышает площадь обычного транзистора.
Униполярный (полевой) транзистор имеет структуру “металл—оксид—полупроводник” (МОП) и может быть выполнен с индуцированным или встроенным каналом (рис. 17.2), который создается технологическим путем.
МОП-транзистор с индуцированным каналом (рис. 17.2, а) представляет собой конденсатор, верхней обкладкой которого является металлический затвор (3), нижней — полупроводник (кремний Р-типа), а диэлектриком — слой SiO2. Когда к затвору приложено положительное напряжение, на поверхности кремния между диффузионными областями N-типа индуцируется (наводится) канал проводимости N-типа от истока (И) к стоку (С).
С помощью напряжения на затворе можно менять в широких Пределах ток от истока к стоку (от 10 -9 до 10 -2 А).
Максимальное напряжение на затворе (10 В) ограничивается электрической прочностью изолятора. Малое расстояние между диффузионными областями (10 мкм) и тонкий оксидный слой (0,2 мкм) обеспечивают максимальное изменение проводимости от Истока к стоку.
Важнейшим свойством МОП-транзисторов является высокое годное сопротивление, что объясняется хорошей изоляцией забора слоем диоксида кремния. МОП-транзисторы имеют простую Структуру и малую по сравнению с обычными транзисторами паразитную емкость. Площадь МОП-транзистора примерно в 10 раз чаще, чем планарного
Диод. Диод образуется путем создания P-N -перехода между диффузионным слоем и монокристаллом полупроводника (рис. 17.3). Технология изготовления таких диодов идентична технологии изготовления транзисторов. На практике в качестве диодов используют транзисторные структуры, что значительно упрощает процесс их изготовления. Для получения диодов на основе транзисторных структур используют различные схемы диодного включения транзисторов.
Резисторы. По значимости они занимают следующее место после полупроводниковых приборов. Резисторы применяют двух типов: полупроводниковые и тонкопленочные.
Полупроводниковые резисторы получают методом диффузии (рис. 17.4, а). Они имеют малые размеры с номинальными значениями от 25 Ом до 25 кОм.
Такие резисторы отделяют от остальной части методом изолирующей
диффузии. Значение сопротивления зависит от размеров резистивного слоя.
Сопротивление диффузионной области может быть выражено в единицах поверхностного сопротивления материала ρк:
R = ρкL/b (17.1)
где L—длина резистора; b—ширина резистора.
Контактные площадки, расположенные на концах диффузионного резистора, вносят дополнительное сопротивление, которое учитывают поправочным коэффициентом. При R=4 кОм и ρк=200 Ом/?
L/b = R/ρк= 4000/20=20/1.
Из технологических соображений ширина резистора L принимается равной 25 мкм; следовательно, L = 500 мкм. Точность диффузионных резисторов составляет ± (10...20) %. Она зависит от равномерности распределения примесей и точности выполнения конфигурации резистивного слоя.
Максимальная допустимая мощность, рассеиваемая диффузионными резисторами, достаточно велика и определяется главным образом возможностями осуществления теплоотвода. Абсолютные значения сопротивлений имеют сравнительно большой разброс в разных образцах, но обеспечивают достаточно хорошее согласование сопротивлений в одной схеме.
Тонкопленочные резисторы (рис. 17.4, б) представляют собой пленку материала с большим сопротивлением, расположенную на пленке диоксида кремния. Наибольшее применение имеют резисторы из нихрома. Наличие хрома в составе резистора обеспечивает хорошее сцепление пленки со слоем диоксида кремния.
Типичные тонкопленочные резисторы имеют сопротивление от 15 до 800 Ом/□, а температурный коэффициент 5∙10-4 1/°С.
Преимущества тонкопленочных резисторов заключаются в возможности размещения их на меньшей площади и лучшей изоляции. Значение паразитных емкостей у них значительно меньше, чем у диффузионных. Такие резисторы можно выполнять с точностью до ±1%. Однако использование тонкопленочных резисторов требует введения дополнительных операций технологического Процесса, которые приводят к удорожанию схемы. Тонкопленочные резисторы обычно применяют в тех случаях, когда требуются стабильные и точные сопротивления больших номиналов.
Конденсаторы полупроводниковых микросхем. Они имеют следующие разновидности (рис. 17.5): диффузионные, металл-оксидно-полупроводниковые (МОП-конденсаторы) и тонкопленочные.
Диффузионные конденсаторы (рис. 17.5, а) образуется смещенным в обратном направлении p-N- переходом. Для данного материала емкость является функцией площади перехода, концентрации примесей и приложенного напряжения. Емкость p-N-перехода имеет линейную зависимость от напряжения. Точность диффузионных конденсаторов составляет ±20%. При использовании кремния можно получить конденсаторы емкостью до 1000 мФ и пробивным напряжением в 7 ... 10 В.
МОП-конденсаторы (рис. 17.5,6) обладают лучшими характеристиками. Они создаются непосредственно на полупроводниковой пластине. Диэлектриком здесь является слой диоксида кремния, образованный на полупроводнике. Одним из электродов является область кремния N+-типа, лежащая под оксидом, а другим — проводящая пленка алюминия, нанесенная на слой оксида. Такой конденсатор обладает хорошей линейностью, высоким пробивным напряжением (до 50 В), низким температурным коэффициентом. Удельная емкость МОП-конденсаторов составляет до 104 пФ/см2. Практически это значение ограничивается пределами 300... 1000 пФ. МОП-конденсаторы обладают высокой стабильностью, их емкость не зависит от напряжения. Температурный коэффициент может быть получен меньше 0,03%. Основным недостатком МОП-конденсаторов является большая паразитная емкость относительно подложки.
Тонкопленочные конденсаторы (рис. 17.5, в) получаются путем осаждения пленки диэлектрика между двумя проводящими пленками из алюминия, образующими пластины конденсатора. Одна из них наносится на слой диоксида кремния. В качестве диэлектрика применяют диоксид кремния SiO2 или оксид тантала Ta2O5. Благодаря хорошей изоляции от подложки слоем SiO2 конденсатор имеет высокое напряжение пробоя, достигающее сотен вольт. Емкость тонкопленочного конденсатора может достигать 900 пФ/мм2, когда в качестве диэлектрика применяется SiO2, и до 3500 пФ/мм2, .если диэлектриком является Ta2O5. Точность конденсатора составляет ±(5...10)%.
Г Л А В А 22
СБОРКА И КОНТРОЛЬ ЭВМ
22.1. Виды изделий и схемы сборки
Технологическим процессом сборки называется совокупность операций, в результате которых детали соединяются в сборочные единицы, а сборочные единицы — в изделие. Изделием называется любой предмет или набор предметов производства, подлежащих изготовлению на предприятии. Изделия основного производства предназначены для поставки, а вспомогательного прризводства — только для собственных нужд.
Виды изделий. Установлены следующие виды изделий: детали, сборочные единицы, комплексы и комплекты.
Деталь — изделие, изготовляемое из однородного по наименованию и марке материала, без применения сборочных операций (например, валик из одного куска металла, печатная плата, отрезок провода заданной длины). К этому виду изделий относятся также детали, подвергнутые покрытиям (защитным и декоративным) независимо от вида, толщины и назначения покрытия или изготовленные с применением местной сварки, пайки, склейки, сшивки и т. п. (например, хромированный винт, трубка, сваренная из одного куска листового материала).
Сборочная единица — изделие, составные части которого подлежат соединению между собой на предприятии-изготовителе помощью сборочных операций (свинчиванием, клепкой, сваркой и т. п.), например микромодуль, маховичок из пластмассы с металлической арматурой.
Комплекс — это два изделия и более, не соединенных на предприятии-изготовителе сборочными операциями, но предназначенных для выполнения взаимосвязанных эксплуатационных функций. Каждое из изделий, входящих в комплекс, выполняет одну или несколько основных функций, установленных для всего комплекса, например поточная линия станков, изделие, состоящее из метеорологической ракеты, пусковой установки и средств управления. В комплекс могут входить детали, сборочные единицы и комплекты, предназначенные для выполнения вспомогательных функций, например для монтажа комплекса на месте его эксплуатации, комплект запасных частей и др.
Комплект состоит из двух изделий и более, не соединенных на предприятии-изготовителе сборочными операциями и представляющих собой набор изделий, имеющих общее эксплуатационное назначение вспомогательного характера, например комплект измерительной аппаратуры, комплект запасных частей.
Изделия агрегатной системы средств вычислительной техники на основе микроэлектронных схем, предназначенные для построения и эксплуатации вычислительных комплексов, изготовляются следующих видов (ГОСТ 20397—82): субкомплексы, устройства, агрегатные модули, блоки элементов и др.
С
убкомплекс — часть комплекса, выделенная функционально, территориально или конструктивно.
Устройство — функционально законченное изделие, выполняющее определенную функцию получения, передачи, преобразования информации, не имеющие самостоятельного эксплуатационного назначения.
Агрегатный модуль предназначен для компоновки устройств, субкомплексов и комплексов. Он состоит из приборов, блоков и элементов, но представляет собой неделимое изделие для потребителя.
Блок элементов — первичная функциональная конструкторская единица, не имеющая самостоятельного эксплуатационного назначения и используемая для построения приборов.
Расчленение изделий на сборочные элементы производится путем построения схемы сборочного состава. схема сборки. Схема сборки (ГОСТ 23887—79) представляет собой графическое изображение в виде условных обозначений последовательности сборки изделия или
его составной части. Каждый элемент (деталь, сборочная единица) изображается на схеме прямоугольником, разделенным на три части, где указываются наименование элемента, индекс и число, входящее в данное соединение. Схемы сборки строятся с максимальным рас членением изделия на сборочные единицы независим от программы выпуска. Технологические схемы сборка облегчают разработку технологического процесса благодаря своей наглядности В практике используют схемы сборки с базовой деталью и «веерного» типа.
Схема сборки с базовой деталью (рис. 22.1) отражает последовательность процесса сборки. Базовой деталью является плата, панель или другая деталь, с которой начинается сборка. Направления движения деталей и узлов показаны стрелками.
Схема сборки «веерного» типа (рис. 22.2) показывает, из каких деталей образуется сборка. Достоинством такой схемы является ее простота и наглядность, но она не отражает последовательность сборки.
Схемами сборки пользуются при разработке технологического процесса наряду со сборочным чертежом и техническими условиями.
Различают стационарную и подвижную сборку.
Стационарная сборка выполняется на одном рабочем месте, к которому подаются все необходимые детали и' сборочные единицы. Она является наиболее распространенным видом сборки в условиях единичного и серийного производства.
Стационарная сборка может строиться по принципу концентрации и дифференциации. При концентрации весь сборочный процесс выполняется одним сборщиком, а при дифференциации разделяется на предварительную и окончательную. Предварительная сборка производится несколькими отдельными бригадами параллельно, а общая сборка — специальной бригадой или одним рабочим. Это обеспечивает специализацию рабочих и сокращает длительность сборки.
Стационарная сборка по принципу дифференциации целесообразна при
значительной трудоемкости сборочного процесса или большой программе по отдельным видам изделия.
Подвижная сборка выполняется при перемещении собираемого изделия от одного сборочного места к другому. На каждом рабочем месте выполняется одна повторяющаяся операция.
Эта форма сборки применяется в условиях поточного производства. Она может осуществляться двумя способами:
а) со свободным движением собираемых объектов, перемещаемых от одного рабочего места к другому вручную или при помощи механического транспортера;
б) с принудительным движением собираемых объектов, которые перемещаются посредством конвейера при строго рассчитанном такте.
Процесс сборки осуществляется непосредственно на конвейере. Поточная сборка является основной формой, применяемой в серийном и массовом производстве. Переход на поточные методы повышает производительность труда за счет технических и организационных мероприятий, а также сокращает длительность производственного цикла и размер незавершенного производства.
Различия в организационных формах поточного производства сводятся к различиям в поточных линиях (по степени специализации, степени ритмичности, способу поддержания ритма работы, оснащенности транспортными устройствами и др.).
22.2. Технологические процессы, применяемые при общей сборке ЭВМ
Основным видом соединений при общей сборке ЭВМ является монтаж с помощью проводов. Большинство монтажных проводов изготовляют из отдельных тонких проволок из чистой электротехнической меди, скручиваемых в жилу. Широко применяют провода с волокнистой, пленочной, полихлорвиниловой и волокнисто-хлорвиниловой изоляциями
В бортовой аппаратуре используют провода с изоляцией из полиэтилена и фторопласта-4. Изоляция из полиэтилена сохраняет свои свойства при низких (до —60 °С) и высоких температурах, а также в условиях глубокого вакуума. Недостатком такой изоляции является недопустимость даже кратковременных токовых перегрузок.
Фторопласт-4 обладает высокой теплостойкостью и допускает нагрев до 250 °С Однако он обладает токсичностью при высокой температуре и большой стоимостью вследствие сложности изготовления.
Технологический процесс монтажа электрических соединений при помощи монтажных проводов состоит из следующих этапов: подготовки провода к монтажу, механического закрепления монтажных проводов, пайки мест присоединений жил проводов, проверки правильности монтажа.
Подготовка к монтажу заключается в резке провода необходимой длины, зачистке концов, закреплении изоляции на конце.
Наиболее простая конструкция приспособления для резки монтажных проводов состоит из подвижного и неподвижного дисков, имеющих ряд отверстий, рассчитанных на резку проводов разного диаметра. Провод отрезается при повороте подвижного диска.
Более высокая производительность получается при резке на автоматизированных приспособлениях (рис. 22.3). Бухта 5 (или катушка) провода устанавливается на оси 8. Конец провода через поводок 7 и ролики 4, 6 подается роликами 3, 9 в направляющую втулку 2. Провод необходимой длины отрезается ножом 1. Снятие изоляции на длине от 7 до 50 мм осуществляется механическим путем (надрезкой) или обжигом.
Волокнистую изоляцию, не имеющую в своем составе асбеста и стекловолокна, удаляют обжигом.
В
практике достаточно широкое применение получили электроножи типа клещей. Они представляют собой две петли из нихромовой проволоки, закрепленные в контактодержателях. Для удаления изоляции провод помещают в нагретые нихромовые петли и при их сближении изоляция обжигается по периметру. При этом обжигаются края оставшейся изоляции, что является недостатком метода.
С тонких многожильных проводов вначале снимают оболочку, а покрытые эмалью тонкие жилы провода нагревают 4 ... 6 с в верхней области спиртовой горелки, а затем опускают в раствор 10 %-ного нашатырного спирта. После снятия изоляции жилы провода зачищают ножом или на специальном приспособлении до металлического блеска.
'Разлохмаченные концы изоляции нуждаются в заделке. Она производится проклеиванием концов нитроклеем, надеванием на них полихлорвиниловых и других трубок, наложением ниточного бандажа, опрессовкой концов в пластмассовые наконечники. Концы многожильных проводов должны быть скручены. Для этого применяют плоскогубцы со шлифованными губками или специальные приспособления.
В число обязательных операций электрического монтажа входит маркировка проводников в соответствии с принципиальной и монтажной схемой. Маркировка значительно упрощает проверку схемы и ускоряет нахождение неисправностей.
Провода маркируют при помощи липких лент или бирок, которые надевают на их концы. Бирки представляют изоляционные трубки из полихлорвинила с нанесенными на них номерами или другими обозначениями. Резка бирок производится на автоматизированных приспособлениях (рис. 22.4). Трубка 2 из бухты 1 через направляющие втулки 3 и 6 роликами 4 подается в зону резки и обрезается ножом 5. Длина бирок регулируется за счет изменения скорости подачи трубки. Производительность автомата составляет 10... 150 шт/мин. Точность резки при длине трубки до 25 мм составляет ±1 мм.
При надевании бирок с зазором их закрепляют на проводах клеем. Для маркировки проводов диаметром до 1 мм следует применять цветные бирки. Маркировку можно заменить применением монтажного провода с цветной изоляцией. На электромонтажных схемах в этом случае указывается цвет монтажных проводов сокращенными обозначениями или цифровыми шифрами.
П
ри монтаже вычислительных устройств применяют жгуты из проводов, связанных и уложенных в определенном порядке.
Раскладка жгутов производится на специальных шаблонах (плоских и пространственных). На рис. 22.5 показан жгут, изготовленный на плоском шаблоне. Последний представляет собой доску, на которой шпильками показано направление проводов. Конец провода заводят в отверстие шаблона и закрепляют шпилькой. Около каждой шпильки ставят номер провода. После этого провод прокладывают по контуру шаблона, загибая на угловых шпильках. Раскладка проводов заканчивается закреплением другого конца на конечной шпильке, имеющей тот же номер, что и начальная.
Провода, идущие по одной трассе, вяжут провощенными льняными нитками через каждые 15 ... 20 мм. Для предохранения жгутов от механических повреждений их обматывают лентами или заключают в шланги. При раскладке на обычном шаблоне много времени затрачивается на отыскание соединений в таблице и соответствующих шпилек на шаблоне, что снижает производительность труда и утомляет рабочего. Для облегчения этой работы применяют электрифицированные шаблоны, в которых при закреплении начала первого провода сигнальная лампочка гаснет и загорается сигнальная лампочка зажима, в котором надо закрепить конец первого провода. После этого загорается лампочка у третьего зажима для закрепления следующего провода и т. д.
Применение электрифицированных шаблонов гарантирует правильность укладки и исключает необходимость контроля.
Снизить трудоемкость монтажных работ и повысить надежность соединения по сравнению со жгутовым монтажом позволяет использование гибких печатных кабелей и ленточных проводов (спрессованных, плетеных, тканых). Плоские ленточные провода поступают на сборку в рулонах, которые разрезают на мерные отрезки и удаляют с обоих концов изоляционный слой.
Механическое крепление провода является основным видом заделки монтажных проводов с токоведущей деталью (лепестком, монтажной стойкой и др.) с последующей пайкой. Механическое крепление обеспечивает прочность соединения, а пайка — хорошую электропроводность. Соединение монтажных проводов сваркой обеспечивает более высокую по сравнению с пайкой прочность соединения, термическую стойкость и меньшую трудоемкость.
Несмотря на ряд преимуществ сварных соединений, пайка остается основным способом соединения монтажных проводов. Для электрического монтажа функциональных модулей второго и более высоких уровней наряду с пайкой используется накрутка. Монтаж накруткой заключается в соединении одножильного провода со штыревым выводом схемы путем накрутки с натягом определенного числа витков провода вокруг вывода, имеющего два острых края и более (рис. 22.6). Острые края вывода образуют точки высокого давления, которые приводят к появлению выемок как на проводе, так и на выводе. Соединение двух металлов с большим механическим натягом обеспечивает электрическую непрерывность и механическую стабильность.
Натяжение провода при накрутке достаточно велико для того, чтобы разрушить оксидную пленку на выводе и на навиваемом проводе, а также вдавить провод в грань вывода, на котором при этом образуются газонепроницаемые контактные поверхности.
Важным параметром, характеризующим качество соединения накруткой, является усилие стягивания, т. е. усилие, необходимое для снятия полного соединения вдоль оси вывода. Провода большого сечения обеспечивают большие усилия. Например, при диаметре провода 1,02 мм усилие стягивания составляет 48 Н, для провода 0,32 мм — всего около 20 -Н.
Монтаж накруткой имеет три вида соединений: обычное, модифицированное и бандажное (рис. 22.6, б, в, г).
О
бычное соединение получают путем навивки на вывод неизолированного участка одножильного провода.
Модифицированное соединение имеет 1 ... 2 витка изолированного провода. Изоляция снижает вероятность поломки первого витка неизолированного провода при механических воздействиях за счет уменьшения концентрации напряжения в точках контакта.
Бандажное соединение состоит из нескольких витков неизолированного провода, навитых на вывод навесного элемента, который должен прилегать к широкой поверхности вывода. Число витков при накрутке составляет 5 ... 8, а при бандажном соединении — не менее 8.
Для всех видов соединения накруткой необходимо плотное прилегание витков друг к другу. Накрутку выполняют с помощью специального инструмента (рис. 22.7), который представляет собой валик /, имеющий два отверстия. Центральное отверстие служит для размещения присоединительного штифта 3, а боковое 4 — для монтажного провода 2. На торце валика выполнены канавка для провода и накручивающая кромка 4. С провода снимают изоляцию и оголенный конец провода вставляют в отверстие валика и загибают. Затем насаживают накручивающий инструмент на присоединительный штифт. Процесс накрутки выполняют под легким давлением (до 30 Н) в осевом направлении.
Автоматизация электромонтажа методом накрутки осуществляется на установках с программным управлением. В процессе монтажа автоматически удаляется изоляция с определенного участка провода и производится его отрезка после получения соединения.
2
2.3. Сборка типовых элементов замены и общая сборка ЭВМ
Типовой элемент замены (ТЭЗ) является функциональным элементом (модулем) второго уровня, осуществляющим операции логического преобразования (рис. 22.8).Конструктивной основой ТЭЗ является двусторонняя или многослойная печатная плата. Для осуществления внешних соединений на плате предусматриваются ламели (рис. 22.8, а) или колодки соединителя (рис. 22.8, б). Печатные ламели под 48-контактный разъем выполняются преимущественно на двусторонней печатной плате, а ТЭЗ с гнездовой колодкой соединителя — на многослойной печатной плате.
На двусторонней печатной плате устанавливаются до 24 микросхем, на многослойной — до 72 микросхем.
Установка микросхем на плату должна обеспечить надежное механическое крепление и электрическое соединение ее выводов с контактными площадками печатной платы. Микросхемы устанавливают с шагом, кратным основному шагу координатной сетки, с формовкой и без формовки выводов.
Формовку применяют для увеличения расстояния между выводами, совмещения их с отверстиями координатной сетки, фиксации расстояния от корпуса микросхемы до платы.
Расстояние от основания корпуса микросхемы до изгиба должно быть минимальным. Радиус гибки при этом не должен нарушать форму сечения вывода и его покрытия.
И
нтегральные схемы со штыревыми выводами устанавливают только с одной стороны печатной платы на расстоянии 1 ... 1,5 мм от монтажной плоскости до корпуса платы (рис. 22.9). Этот зазор необходим для устранения перегрева микросхемы при пайке и для возможности нанесения защитного покрытия. Зазор может обеспечиваться за спет формовки или переменным сечением выводов. Для дополнительного механического крепления корпуса приклеивают к изоляционной прокладке. Интегральные схемы в корпусах с планарными выводами устанавливаются с одной или двух сторон платы (рис. 22.10). Они могут приклеиваться к печатной плате эпоксидным клеем или иметь равномерный зазор 0,3 ... 0,6 мм, который обеспечивается формовкой выводов. Если под корпусом микросхемы проходят проводники, то его устанавливают на прокладку из стеклоткани толщиной 0,2 ... 0,3 мм.
Все микросхемы имеют визуальные ключи, исключающие возможность неправильной установки. Они располагаются в зоне первого вывода с учетом возможности их осмотра после установки микросхемы на печатную плату. Конструктивное выполнение ключей не регламентируется. При необходимости предусматриваются установочные ключи в виде штыря, выступа на корпусе, несимметричного расположения выводов и т. п.
О
сновными этапами технологического процесса монтажа микросхем на печатной плате являются входной контроль печатных плат и микросхем, формовка, обрезка и лужение выводов, установка микросхем на печатные платы, пайка выводов микросхем к контактным площадкам печатной платы, контроль электрических параметров, покрытие лаком, окончательный контроль (табл. 22.1). Входной контроль микросхем заключается в визуальном осмотре при помощи лупы.
В случаях, предусмотренных техническими условиями, проверяются электрические параметры интегральных схем. Логические
интегральные схемы проверяют в статическом и динамическом режимах.
Печатную плату проверяют на отсутствие механических повреждений (сколов, трещин, отслаивания проводников и др.), а также оксидов и загрязнении на проводниках, подлежащих пайке. Формовка и обрезка выводов выполняются в различных приспособлениях.Н
а рис. 22.11, а показана рабочая часть штампа для формовки и обрезки планарных выводов. Микросхема помещается в углубление формовочной матрицы 1. При опускании верхней плиты прижим 2 закрепляет выводы, а пуансон 3 производит их формовку. Обрезание выводов производится внешней кромкой пуансона, которая сопрягается с матрицей. Пружина возвращает пуансон в исходное положение при подъеме верхней части штампа. При выполнении формовки выводы подвергаются растягивающему усилию. Если оно будет большим, то в месте их заделки могут возникать трещины, приводящие к нарушению герметичности
корпуса. Создание независимых усилий (рис. 22.11, б) прижатия Р2 формовки Р3 и обрезки Р4 обеспечивает оптимальное растягивающее усилие Р1, не приводящее к нарушению гальванического покрытия выводов и герметичности корпуса. Во всех случаях формовку следует производить с радиусом не менее двух толщин выводов.
Рис. 22.11. Рабочая часть штампа для формовки и обрезки планарных выводов
Рис. 22.12. Приспособление для обрезки и формовки выводов в корпусах второго типа
Приспособление для формовки выводов у микросхем с корпусами 2-го типа показано на рис. 22.12.
Н
ижняя часть приспособления закрепляется на столе пресса, а верхняя — при помощи хвостовика 13 в ползуне пресса. Центрирование верхней и нижней частей приспособления осуществляется направляющими колонками 3. Микросхема помещается в матрицу 6, которая закреплена на планке 8 Последняя может перемещаться в пазу платы 7. При опускании ползуна пресса микросхема закрепляется в матрице прижимом 5, установленным на направляющих винтах 12. Необходимое усилие прижима создают пружины 11.
Формовка выводов осуществляется роликами 10 при дальнейшем опускании ползуна. Ролики установлены в рамках 2 на осях 9. Рамки шарнирно связаны с верхней плитой 1 и прижимаются к матрице плоскими пружинами 4. Шарнирное закрепление рамок позволяет производить формовку на угол, меньший 90°, т. е. с учетом последующего упругого пружинения выводов.
Микросхемы могут устанавливаться без формовки выводов. В этом случае они нуждаются только в обрезке, которая осуществляется в специальных приспособлениях. Эти же приспособления применяют в тех случаях, когда обрезка выводов произво дится "независимо от формовки. Лужение выводов элементов обеспечивает высокое качество паяного соединения.
На рис. 22.13 показана схема горячего лужения штырьковых выводов микросхем с обеспечением заданного расстояния между зеркалом расплавленного припоя и корпусом микросхемы /. Последняя устанавливается в подвижной части установки 2, которая перемещается до погружения выводов в расплавленный припой. Глубина погружения определяется контактом 3 датчика с зеркалом припоя 4, находящегося в ванне 5.
Микросхемы устанавливают в металлизированные и облуженные отверстия печатных плат с ориентировкой по ключу и закрепляют при помощи приспособлений.
Приспособление для закрепления печатной платы при ручном монтаже электроэлементов на печатной плате показано на рис. 22 14.
На основании 1 установлены стойки 2 с осями 3. Печатную плату закрепляют на раме 5 прижимами 4. Ее положение определяется штифтами 6. Требуемое положение платы фиксируется делительным диском 7 и штифтом 8.
В мелкосерийном производстве целесообразно применять светомонтажные столы, обеспечивающие программирование ручной сборки элементов на печатной плате. Светомонтажный стол представляет собой сложное устройство, в котором могут применяться различные принципы подачи электрорадиоэлементов интегральных схем и указания места их размещения на печатной плате Места установки элементов обеспечиваются проецированием
посадочного места с кинопленки, подсветкой отверстий в печатных
платах снизу и другими способами. При пользовании светомонтажных столов производительность монтажника повышается на 20 % и более.
Рис. 22 14 Приспособление для закрепления печатной платы при монтаже
В условиях серийного и массового производства применяют сборочные автоматы. Они могут быть узкоспециализированными, рассчитанными на установку одного элемента, или универсальными, позволяющими устанавливать разнообразные элементы. Сборочные головки автоматов выполняют следующие операции, извлечение элементов из накопителей; формовку выводов; перенос элементов и установку их на печатной плате.
Высокое качество монтажной пайки обеспечивается правильным выбором режимов пайки. Групповые методы пайки обеспечивают автоматическое поддержание режимов. При пайке паяльником на рабочем месте устанавливают прибор универсальный монтажника (ПУМ), предназначенный для подключения паяльника, электроножа для снятия изоляции и п
робника. В приборе предусмотрена термопара для измерения температуры жала паяльника. Она состоит из двух металлов: хромеля и коиеля. Прикосновение к термопаре нагретого жала паяльника вызывает в спае двух материалов ЭДС, пропорциональную температуре нагрева.
Проверка монтажа заключается в контроле прочности механического соединения деталей и узлов, прочности пайки (сварки), электрической прочности изоляции и отсутствия замыканий. Прочность механических соединений и пайки (сварки) проверяют путем покачивания проводников около места соединения пинцетом, отверткой или на вибрационных стендах. Проверенные места пайки и сварки рекомендуется закрашивать цветным прозрачным лаком, что исключает возможность повторных осмотров.
Для функционального контроля ТЭЗ используют автоматизированные системы контроля (АСК). Принцип работы АС К основан на тестовом методе проверки схем, который заключается в подаче на входы проверяемого ТЭЗ последовательности входных и анализе выходных сигналов. По результатам анализа делается заключение об их исправности. Автоматизированная система контроля позволяет выявить неисправные ТЭЗ с указанием выходных контактов, на которых сигналы отличаются от требуемых. Поиск конкретных мест неисправности осуществляют с помощью системы диагностики. Она позволяет получить значения логических сигналов на выводах всех микросхем для каждого набора контролирующих тестов, а также перечень адресов по схеме ТЭЗ и последовательность их проверки в случае неправильного логического сигнала на выходе любой микросхемы.
Структурная схема АСК. представлена на рис. 22.15.
Сигналы управления и информации из ЭВМ подаются на преобразователь (Пр), где устанавливаются по амплитуде и уровню и поступают в регистр абонента и дешифратор. Регистр абонента (РгА) обеспечивает выборку подрегистров и используется для хранения управляющего слова во время операции обмена. Дешифратор осуществляет расшифровку состояния регистра абонента и выборку сигналов управления (установка «О», запись, считывание).
Регистр Рг1 используется для хранения информации, поступающей из ЭВМ на проверяемые ТЭЗ и из них в ЭВМ, регистр Рг2 является буферным между Рг1 и проверяемыми ТЭЗ. Регистр РгЗ программно делит контакты проверяемого ТЭЗ на входные и выходные. Каждый регистр имеет 132 разряда и состоит из четырех подрегистров.
Переключающие элементы позволяют распознавать входные и выходные сигналы для проверяемых ТЭЗ. В зависимости от состояния соответствующего разряда регистра РгЗ сигнал переключающего элемента (ПЭ) является выходным с проверяемого ТЭЗ и поступает на вход Рг1 или, наоборот, является входным для проверяемого ТЭЗ. Сдвигатель предназначен для согласования по разрядности ЭВМ и проверяемого ТЭЗ. Время проверки одного ТЭЗ составляет примерно 2 мин при числе проверяющих наборов контролирующего теста не более 100.
В настоящее время интенсивно развиваются методы поверхностного монтажа, которые обеспечивают повышение плотности монтажа и производительности оборудования. При этом предусматривается использование миниатюрных плоских компонентов, для монтажа которых не требуется наличия в печатных платах металлизированных отверстий. Плоские компоненты приклеиваются к печатной плате со стороны монтажа, а затем припаиваются. Использование плоских компонентов не исключает применения обычных, которые устанавливаются на противоположной стороне платы.
При общей сборке ЭВМ ТЭЗ монтируются в более крупные сборочные единицы, из которых образуются стойки. На рис. 22.16 показана установка ТЭЗ в панель, которая является промежуточным элементом конструкции между ТЭЗ и стойкой. Основными конструктивными частями панели являются основание, каркас, направляющие, ответные части разъемов, элементы коммутации панели.
Надежность разъемного соединения определяется материалом контактной пары и удельным давлением в месте контакта. В качестве материала для контактов обычно используют латунь, фосфористую или бериллиевую бронзу. Для повышения износоустойчивости и получения низкого переходного сопротивления контакты покрывают серебром, золотом, палладием. Контактное усилие должно обеспечивать надежный контакт. Большие усилия приводят к быстрому износу контактной пары, а малые — повышают переходное сопротивление и приводит к стабильности контакта.
Для получения разъемного соединения на каждую пару выводов устанавливается пружинящий элемент, обеспечивающий необходимое контактное усилие в паре. При необходимости место контакта подвергают пайке. Такие соединения позволяют производить многократную замену элементов в блоке. Стойка (шкаф) является типовым конструктивным элементом ЭВМ (рис. 22.17). В отличие от шкафа (рис. 22.17, а) стойка не имеет передних дверей (рис. 22.17, б), которые заменяют лицевые панели блоков. Конструкция шкафа предусматривает механический замок для удержания дверей в закрытом состоянии. Основными конструктивными элементами шкафа является подвижная и неподвижная рамы. Неподвижная рама жестко связана с каркасом стойки, а подвижная установлена на шарнирных петлях и может поворачиваться, чем обеспечивается доступ ко всем элементам и электрическим соединениям.
Нижняя часть шкафа (стойки) служит для размещения блоков питания, вентиляционной установки и дополнительных панелей. Электрический монтаж стойки осуществляется с помощью проводов или жгутов. Монтаж, осуществляемый при помощи проводов, должен обеспечить минимальную длину связей и надежный контакт (электрический и механический). Проводники прокладывают по кратчайшему расстоянию между соединяемыми точками. При таком монтаже будет наименьшее взаимное влияние электрических цепей.
Примерные схемы укладки жгутов изображены на рис. 22.18. Основной жгут имеет гибкие петлеобразные отводы на каждый из блоков. Это позволяет выдвигать, поворачивать и регулировать блоки в рабочем состоянии. Отводы представляют собой группы монтажных проводов, связанных прочными нитками.
Форма жгута в поперечном сечении может быть круглой или плоской. Ее выбирают в зависимости от вида деформации, которой он подвергается при выдвижении блока, и сечения жгута.
Большое взаимное влияние электрических цепей имеет место при организованном монтаже (жгутовом или струнном), когда провода укладываются в строго определенных направлениях и на заранее заданном расстоянии друг от друга.
При организованном струнном монтаже блоки, которые должны быть скоммутированы друг с другом, помещают в направляющие шасси. Монтажные провода соединяют соответствующие гнезда разъемов. Каждый проводник помещают в определенном отверстии монтажных колодок. Таким образом, провода на всем протяжении имеют опоры в виде монтажных колодок и не касаются друг друга. При этом монтажные провода, припаянные к контактам одного разъема, не должны проходить над контактами другого разъема. Длину провода берут без запаса на повторные пайки. Провод прокладывают через отверстия монтажных колодок кратчайшим путем, а изменение направления производится только под прямым углом. Провода не должны иметь натяжения, но и не допускается их провисание между контактными колодками. Применение для электрического монтажа гибких печатных кабелей (см. рис. 12.2, б) является более экономичным по сравнению с объемным жгутовым монтажом. При этом повышаются качество и надежность соединений, уменьшается трудоемкость за счет механизации и автоматизации изготовления ГПК. Монтаж можно вести в трех плоскостях, чему способствует гибкость кабеля.
СПИСОК ЛИТЕРАТУРЫ
1. Броудай И., Мерей Дж. Физические основы микротехнологии /Пер, с англ.; Под ред. А. В. Шальнова. — М.: Мир. 1985.
2. Дспьдобренко Б. П., Малика А. С. Автоматизация конструирования РЭА.— М.: Высшая школа, 1980.
3. Гаврилов А. Н. Технология авиационного приборостроения. — М.: Машиностроение, 1981.
4. Ефимов И. Е., Козырь И. Я., Горбунов Ю. И. Микроэлектроника. Физи-. ческие и технологические основы, надежность.— М.: Высшая школа, 1986.
5. Забора С. С., Савета Н. Н., Китнер А. Б. Внешние устройства ЭВМ.— Киев: Техника, 1985.
6. Заморин А. П., Мячев А. А., Селиванов Ю. П. Вычислительные машины, системы, комплексы. Справочник / Под ред. Б. Н. Наумова, В. В. Пржиялков-ского. — М.: Энергоатомиздат, 1985.
7. Иванов А. А. Гибкие производственные системы в приборостроении.— М.: Машиностроение, 1988.
8. Интегральные схемы и микроэлектронные устройства на сверхпроводниках/В. Н. Алфеев, П. А. Бахтин, А. А. Васенков и др.; Под ред. В. Н. Алфее-ва.— М.: Радио и связь, 1985.
9. Красов В. Г., Петраускас Г. Б., Чернозубов Ю. С. Толстопленочиая технология в СВЧ-микроэлектронике.— М.: Радио и связь, 1985.
10. Лунд П. К. Прецизионные печатные платы. Конструирование и производство/Пер, с англ.; Под ред. //. Б. Айзенберга.— М.: Энергоатомиздат, 1983.
11. Малышева И. А. Технология производства микроэлектронных устройств.— М.: Энергия, 1980.
12. Парфенов О. Д. Технология микросхем. — М.: Высшая школа, 1986.
13. Преснухин Л. Н., Шахнов В. А. Конструирование электронных вычислительных машин и систем.— М.: Высшая школа, 1986.
14. Пронин Е. Г., Шохат Е. Г. Проектирование технических средств ЭВА.— М.: Радио и связь, 1986.
15. Применение интегральных микросхем в электронной вычислительной технике. Справочник/Под ред. Б. И. Файзулаева, Б. В. Тарабина — М.: Радио и связь, 1986.
16. Технология ЭВА, оборудование и автоматизация / В. Г. Алексеев, В. Н. Гриднев, Ю. И. Нестеров и др. — М.: Высшая школа, 1984.
17. Толстопленочная микроэлектроника/3. Г. Гребенкина, В. С. Доброер и др.— Киев: Наукова Думка, 1983.
18. Тявловский М. Д., Хмыль А. А., Станишевский В. К. Технология деталей и периферийных устройств ЭВА.— Минск: Высшая школа, 1981.
19. Ушаков Н. Н. Оптимизация технологических процессов в приборостроении.— М.: Машиностроение, 1981.
20. Ушаков Н. Н. Технология и оборудование производства ЭВМ.— М.: Машиностроение, 1979.
21. Ушаков Н. Н. Технология элементов вычислительных машин. — М.: Высшая школа, 1976.
22. Федулова А. А., Котов Е. П., Явич Э. Р. Сеточно-химическая технология изготовления печатных плат/Под ред. Е. П. Котова. — М.: Радио и связь, 1984.
23. Черняев В. Н. Физико-химические процессы в технологии РЭА.— М.: Высшая школа, 1987,
24. Шпур Г., Краузе Ф. Л. Автоматизированное проектирование в машиностроении /Пер, с нем.; Под ред. Ю. М. Соломенцева, В. П. Диденко.— М.: Машиностроение, 1988.
25. ЭВМ в проектировании и производстве. Вып. 2.—Л.: Машиностроение, 1985.
26. Электронно-лучевая технология в изготовлении микроэлектронных приборов /Пер, с англ.; Под ред. Дж. Р. Брюэра.— М.: Радио и связь, 1984.
27. Яншин А. А Теоретические основы конструирования, технологии и надежности ЭВА.— М.: Радио и связь, 1983.
90>45>1>
















