Уточнение задания (561963), страница 2
Текст из файла (страница 2)
Таблица 2.4.
| Адрес | Разряды микрокоманд |
| 0000 | 00000000 100000 0000 |
| 0001 | 10000000 000000 0010 |
| 0010 | 00000000 010000 1100 |
| 0011 | 00000000 001000 1011 |
| 0100 | 00000000 000100 1000 |
| 0101 | 00000000 000010 0111 |
| 0110 | 01111000 000000 0010 |
| 0111 | 00111000 000000 0010 |
| 1000 | 00000000 000010 1010 |
| 1001 | 01101000 000000 0010 |
| 1010 | 00101000 000000 0010 |
| 1011 | 00001000 000000 0010 |
| 1100 | 00000000 000001 1110 |
| 1101 | 00000101 000000 0000 |
| 1110 | 00000011 000000 0000 |
Для естественной адресации имеется два формата микрокоманд.
| 0 | УЗП | УЗРГМ | УЗРГС | УЗТР | УСДВ | УЗМ | УЗС | УСЧИТ | - | - | - |
| 1 | ùP1 | P2 | ùP3 | ùP4 | ùP5 | P6 | A4 | A3 | A2 | A1 | A0 |
Первый разряд формата микрокоманды УА с естественной адресацией определяет признак микрокоманды: 0 - операционная микрокоманда, 1 - управляющая микрокоманда.
Кодовые выражения микропрограммы для УА с естественной адресацией ( табл. 2.4):
Таблица 2.5.
| Адрес | Разряды микрокоманд |
| 00000 | 1 100000 00000 |
| 00001 | 0 100000 00000 |
| 00010 | 1 010000 10001 |
| 00011 | 1 001000 01111 |
| 00100 | 1 000100 01010 |
| 00101 | 1 000010 01000 |
| 00110 | 0 011110 00000 |
| 00111 | 1 000000 00010 |
| 01000 | 0 001110 00000 |
| 01001 | 1 000000 00010 |
| 01010 | 1 000010 01101 |
| 01011 | 0 011010 00000 |
| 01100 | 1 000000 00010 |
| 01101 | 0 001010 00000 |
| 01110 | 1 000000 00010 |
| 01111 | 0 000010 00000 |
| 10000 | 1 000000 00010 |
| 10001 | 1 000001 10100 |
| 10010 | 0 000001 01000 |
| 10011 | 1 000000 00000 |
| 10100 | 0 000000 11000 |
| 10101 | 1 000000 00000 |
Из сравнения табл. 2.4 и 2.5 следует, что для хранения микропрограммы с естественной адресацией требуется 264 бит, а для УА с принудительной адресацией - 270 бит. Таким образом, реализация УА с естественной адресацией в нашем случае более желательна.
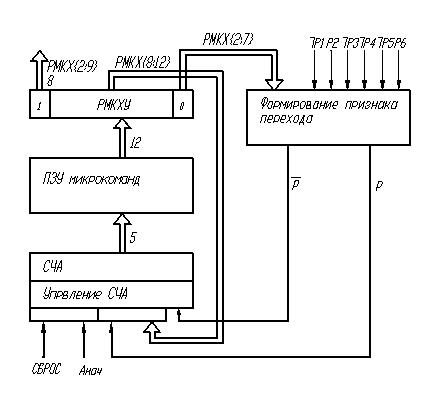
На рис. 2.6 изображена функциональная схема УА с принудительной адресацией. Управляющие сигналы формируются регистром микрокоманды (РМК), в который микрокоманда переписывается из ПЗУ микрокоманд по адресу, находящемуся в счетчике адреса (СЧА). Регистр РМК тактируется последовательностью 1, а счетчик адреса СЧА - последовательностью 2 : 1 & 2 = 0.
рис.2.6
Начальный адрес микропрограммы, равный 00000, устанавливается сигналом СБРОС, и УА ждет прихода сигнала СТРОБ для продолжения работы.
При построении принципиальной схемы выберем УА с жесткой логикой. поскольку он имеет более простую организацию, чем УА с программируемой логикой.
2.3.3.Построение принципиальной схемы.
Будем строить наше устройство на элементах серии K155 и К555, так как они обеспечивают устойчивую работу на заданной тактовой частоте 5 МГц. Принципиальные схемы устройства, построенные по функциональным схемам рис. 2.7 и 2.10, изображены на рис. 2.12 и 2.13. Регистр данных РГД строится на четырех микросхемах 8-разрядных сдвигающих регистров К155ИР13. Управляющие сигналы SE0, SE1 обеспечивают запись кода А в регистр (SE0=1, SE1=1) и сдвиг влево (SE0=0, SE1=1), хранения (SE0=0, SE1=0).
Их получаем из диаграмм Карно. Диаграммы Карно строятся для управляющих сигналов, воздействующих на регистр, в данном случае это сигналы: УЗП, УСДВ.
SE0=УЗП
SE1=УЗП+УСДВ=ùУЗП ↓ ùУСДВ
Здесь с учетом логических выражений и выбранной элементной базы
ùУЗП=P1/ù Q
ùУСДВ=Q
Сигнал возбуждения Д-триггера на микросхеме DD14 типа К155ТМ2, используемого для построения УА, на основании (*) запишется следующим образом:
D=ùP1Q + УСЧИТ=(ùP1/Q)/ ùУСЧИТ
Выражения для остальных сигналов:
УСЧИТ= P2ùQ= ùP2↓Q
УЗРГС= P3ùQ= ùP3↓Q
УЗТР= УЗРГС P4= ùУЗРГС ↓ ùP4
УЗРГМ= УЗРГС*P5= ùУЗРГС ↓ ùP5
УЗМ= УСЧИТ*ùP6= ùУСЧИТ ↓ P6
УЗС= УСЧИТ* P6= ùУСЧИТ ↓ ùP6
Счетчик собирается на микросхеме К555ИЕ79, включающей два 4-разрядных асинхронных счетчика с последовательным переносом и возможностью параллельного ввода слова. Для его работы сигнал УСДВ необходимо стробировать тактовыми импульсами ГИ:
Для регистра РГB должна обеспечиваться только запись кода в регистр.
Тогда SE0`=SE1`=УЗП.
Для регистра РГC должна обеспечиваться только запись кода в регистр.
Тогда SE0``=SE1``=УЗРГС.
Для регистра РГМ должна обеспечиваться только запись кода в регистр.
Тогда SE0```=SE1```=УЗРГМ.
Список используемых микросхем:
DD1-DD7 K155ИР13
DD8-DD9 K155ТМ2
DD10 KМ559СК1
DD11-DD12 K155ЛА3
DD13-DD16 K155ЛЕ5
DD17 К155ИЕ7
DD18-DD19 K155КП11
DD20 K155ЛЕ3
3.Список литературы.
1. Б.С. Мельников, А.В. Щеглов “Методические указания к курсовой работе по дисциплине "Вычислительные системы и микропроцессорная техника".
М.: Изд-во МАИ, 1991.















