Схемотехника ЭВМ0 (561016), страница 3
Текст из файла (страница 3)
Схема счетчика, формирующая выходной сигнал после поступле-
ния на его вход фиксированного числа сигналов, называется пере
счетной схемой. Число входных сигналов, определяющее появление
выходного сигнала, принято называть коэффициентом пересчета
схемы.
При наличии обратных связей n-разрядный двоичный счетчик
имеет емкость
; такие схемы называются счетчиками по модулю K.
Построение счетчика (или пересчетной схемы) с заданным числом
состояний К выполняется следующим образом.
-
Определяется количество разрядов n из условия:
-
Определяется число неиспользуемых состояний:
которое представляется n-разрядным двоичным кодом.
-
В зависимости от требований к кодированию внутренних состо-
яний схемы, используются три способа построения:
а) начальное состояние счетчика кодируется числом т, остальные –
,
В этом случае схема представляет собой суммирующий счетчик;
выходной сигнал со старшего разряда и сигнал установки начального
состояния подается на установочные входы всех разрядов схемы со-
гласно двоичному коду числа т; недостаток схемы — отсутствие ну-
левого состояния;
б) начальное состояние нулевое, остальные — 1,2,..., К-1. Схема
представляет суммирующий счетчик. Шина установки нулевого кода
управляется объединением сигнала установки начального состояния
и логического произведения входного сигнала с сигналами прямых
выходов тех триггеров, которым в двоичном коде числа m соответст-
вуют нули;
в) начальное состояние принимается нулевым; при организации
межразрядных переносов в разрядах, которым соответствует 1 в
двоичном коде числа т, используются инверсные выходы (разряды
работаю в режиме вычитания), а в разрядах которым соответствует 0 в двоичном коде числа m, используются прямые выхода (раз-
ряды работаю в режиме суммирования). Сигнал установки начального состояния и выходной сигнал со старшего разряда подаются
на установку всех разрядов схемы в нуль. Коды состояний не упорядочены, схему нельзя использовать в качестве счетчика. Пере
счетные схемы, в которых часть разрядов работает в режиме сум-
мирования, а часть — в режиме вычитания, называются схемами с
комбинированными связями.
При реализации счетчиков по модулю К по второму способу мож-
но использовать также сброс схемы в нулевое состояние без исполь-
зования входного сигнала, но в этом случае имеем дополнительное
неустойчивое состояние счетчика, соответствующее n-разрядному
двоичному коду числа К.
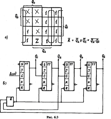
В качестве примера рассмотрим построение декадного (десяти-
чного) счетчика на базе триггеров j-k с установочным входом R. Не-
обходимо, чтобы после 10-гo входного сигнала состояние счетчика aавтоматически изменилось с кода 1010 на код 0000. Состояния схе-
мы, имеющие коды более 1010, являются неопределенными. Таким об-
разом, карта Вейча функции сброса счетчика в ноль по входам R (рис.
6.3, а) будет иметь значение 0 только на наборе 1010. Выразим через
функцию И-НЕ:
. Выход схемы И-НЕ требует дополнительной инверсии.
Схема декадного счетчика приведена на рис. 6.3, б.
При построении пересчетных схем целесообразно использовать
методы структурного синтеза автоматов.
В правой верхней сменной части макета установлен блок счетчи-
ков, включающий два 4-разрядных реверсивных двоичных счетчика
(СТ2) и один синхронный десятичный счетчик (СТ10).
Реверсивных двоичный счетчик может работать в режимах прямого и обратного счета. Сигналы счета подаются на вход С и счетчик
складывает (вычитает) их при наличии разрешающего сигнала счета
на входе ЕС (низкий уровень). Направление счета определяется потенциалом на входе реверса (E+1, Е-1) с одним входным гнездом (рис. 6.4, а).
Уровень логического нуля на этом входе определяет направление
прямого счета, а уровень логической единицы — направление обратного счета.
При счете в прямом направлении при достижении максимальной
емкости
вырабатывается сигнал переноса «CR», при счете в об-
ратном направлении — сигнал заема «BR ». В счетчике имеется воз-
можность установки начального состояния счета по входам
при
(Одновременная подача уровня логического
нуля на входы ЕС и EWR запрещена).
В качестве примера рассмотрим реализацию на данной схеме
декадного счетчика по первому способу построения. Начальное со стояние т = б записывается в счетчик по входам
при на-
личии сигнала синхронизации С и уровня логического нуля на входе
EWR.
Сигналы на входы
счетчика подаются с переключательных регистров
и контролируются индикаторами Л5 — Л8, что позво-
ляет видеть записываемый код числа; выходи счетчика подключаются
к индикаторам Л5 — Л8.
Сигнал переноса «CR» со счетчика подается на вход «D» одного
из триггеров типа D, прямой выход которого соединяется со входом
«ЕС», а инверсный — со входом «EWR» счетчика.
На вход реверса (Е + 1, Е – 1) счетчика подается сигнал нулевого
уровня (прямой счет).
Входы синхронизации «С » счетчика и триггера соединяются ли-
бо непосредственно с выходом генератора синхроимпульсов «СИ»,
(«СИ1», «СИ2») для изучения работы счетчика на экране осцилло-
графа, либо через схему «одиночного импульса», что позволяет осу-
ществлять работу счетчика от кнопки «ПУСК» и контролировать
изменение выходного кода счетчика на индикаторах Л1 — Л4.
При работе с осциллографом необходимо:
для обеспечения синхронизации соединить вход синхронизации
осциллографа со старшим разрядом выхода счетчика;
на вход 1-го канала осциллографа подать синхроимпульсы, поступающее на входы «С» счетчика и триггера;
вход 2-гo канала осциллографа соединить с выходом младшего
разряда счетчика.
Блок счетчиков включает синхронный декадный счетчик
СТ10 с возможностью синхронной установки в произвольное со-
стояние, асинхронным сбросом и дешифрирующим счетным вхо-
дом (рис. 6.4, 6).
Счетчик устанавливается в предварительное состояние при на-
личии на входе EWR уровня логического нуля. При этом состояние
входов «1, 2, 4, 8» записывается в счетчик по положительному пе-
репаду на входе синхронизации «С». На входы «1, 2, 4, 8» могут быть
записаны коды от 0 до 9. В режиме записи состояния входов EC1 и
ЕС2 могут быть любыми. Схема устанавливается в нулевое состоя-
ние подачей на вход «R » уровня логического нуля. Счет происходит
при наличии на входах ЕС1, ЕС2 и EWR уровня логической едини-
цы. Сигнал переноса положительной полярности вырабатывается
длительностью в один период сигнала синхронизации, на входе CR
устанавливается уровень логической единицы, после десятого –
уровень логического нуля.
Порядок выполнения работы
1. Собрать схему счетчика (пересчетную схему) в соответствии с
заданием при обесточенной лабораторной установке. При этом необ-
ходимо использовать следующие рекомендации:
первой закоммутировать цепь установки счетчика в нулевое со-
стояние по R-входам. Сигнал установки «0» необходимо подать на все
входы R с выхода одной из переключательных кнопок регистра, кото-
рый в свою очередь необходимо подключить на одну из лампочек ин-
дикации Л1 или Л5;
закоммутировать входы синхронизации С всех триггеров. Сигнал
синхронизации подается с выхода генератора одиночных импульсов
(ГОИ); вход генератора ГОИ подсоединить к выходу генератора син-
хроимпульсов СИ1 (СИ2);
в соответствии с заданием закоммутировать схему счетчика.
2. Исследовать работу схемы в режиме одиночного сигнала:
установить счетчик в нулевое состояние с помощью кнопки и переключить ее в исходное состояние (при этом должна загореться лам-
почка индикации);
проверить правильность функционирования схемы (по
лампочкам индикации) при последовательной подаче входных
сигналов с помощью кнопки генератора «Одиночный им-
пульс»;
измерить амплитуды выходных сигналов и построить по ним
потенциальные диаграммы работы схемы, используя вольтметр.
3. Исследовать работу схемы в автоматическом режиме:
отключить от исследуемой схемы цифровой вольтметр;
к входу схема счетчика С вместо генератора одиночных импуль-
сов подключить выход генератора синхроимпульсов (при этом лам-
почки индикации горят в полнакала);
включить цепь питания осциллографа (отжав кнопку «Пита-
ние»), переключить осциллограф в режим внешней синхрониза-
ции, на синхронизирующий вход осциллографа подать сигнал с
выхода старшего разряда счетчика Q4, подключить один вход ос-
циллографа к выходу генератора, а второй — к выходу 1-гo раз-
ряда схемы;
зарисовать осциллограммы с выходов всех разрядов схемы;
определить длительность сигнала, паузы и задержки (на уровне
0,5 амплитуды) на. одном разряде схемы и на всей схеме;
-
отключить питание и разобрать схему.
4. Собрать и исследовать по вышеприведенной методике следую-
щую схему счетчика или пересчетную схему.
Содержание отчета
-
Наименование работы
-
Цель работ.
-
Исследуемые схемы, (согласно заданию).
-
Перечень используемых приборов
-
Результаты измерений, потенциальные диаграммы, осциллограммы.
-
Анализ полученных результатов и выводы.
-
Подпись выполнявшего работу.
Контрольные вопросы
-
Определить понятие счетчика.
-
Как работает суммирующий, вычитающий и реверсивный счетчики?
-
Объясните виды организации переносов и их влияние на быстродействие схемы.
-
Определить понятие пересчетной схемы
Варианты заданий
| Вариант | Счетчики | Схема с коэффициентом | Декадный счетчик с предварительной установкой | ||
| Суммирующий | Вычитающий | Реверсивный | |||
| 1 | Последовательный на D | Параллельный на j-k | На j-k | 6 13 | 4 |
| 2 | Последовательный на j-k | Последовательный на D | На j-k | 5 12 | 3 |
| 3 | Параллельный на j-k | Последовательный на j-k | На j-k | 7 10 | 2 |
| 4 | Параллельный на j-k | Последовательный на D | На j-k | 11 14 | 3 |
| 5 | Последовательный на D | Параллельный на j-k | На j-k | 10 13 | 5 |
| 6 | Параллельный на j-k | Последовательный на j-k | На j-k | 7 11 | 5 |
| 7 | Последовательный на D | Параллельный на j-k | На j-k | 5 10 | 3 |
| 8 | Параллельный на j-k | Последовательный на D | На j-k | 6 12 | 4 |
| 9 | Последовательный на D | Параллельный на j-k | На j-k | 5 12 | 3 |
| 10 | Параллельный на j-k | Последовательный на D | На j-k | 7 10 | 2 |
| 11 | Параллельный на j-k | Последовательный на j-k | На j-k | 11 14 | 3 |
| 12 | Последовательный на D | Параллельный на j-k | На j-k | 10 13 | 5 |
| 13 | Последовательный на D | Параллельный на j-k | На j-k | 7 11 | 5 |
| 14 | Параллельный на j-k | Последовательный на j-k | На j-k | 5 10 | 3 |
| 15 | Последовательный на D | Параллельный на j-k | На j-k | 5 10 | 3 |
Работа №7. ИССЛЕДОВАНИЕ СХЕМ
РАСПРЕДЕЛЕНИЯ СЧЕТЧИКОВ
















