Афоня_курсач (559377)
Текст из файла
Московский Авиационный Институт
(государственный технический университет)
Факультет Экономики и Менеджмента
Кафедра Безопасности Жизнедеятельности
Курсовая работа по дисциплине: “Экономика природопользования ”
Тема: «Определение социально-экономической эффективности осуществления мероприятий по защите атмосферы, водных и земельных ресурсов от загрязнений цехом механической обработки металлов машиностроительного предприятия и оценка экономического ущерба, причиняемого данным загрязнением окружающей среде»
Выполнила студентка:
Группы: 05-512
Руководитель: Афонина О.А.
Москва,
2006 г.
Содержание:
1. Задание…………………………………………………………………...………………3
2. Введение………………………………………………………………………………….4
3. Проектируемое мероприятие……………………………………………………….7
4. Источники финансирования природоохранных мероприятий……………….10
5. Инвестиционные издержки (капиталовложения) в осуществление
природоохранных мероприятий……………………………………………………14
6. Текущие издержки по обслуживанию и эксплуатации природоохранных
средств…………………………………………………………………………………..16
7. Улучшение социальных, экологических, экономических показателей
при осуществлении проектируемого мероприятия……………………………17
8. Расчет предотвращенного экологического ущерба:
от загрязнения водных ресурсов………………………………………………19
от выбросов загрязняющих веществ в атмосферный воздух………….20
земельным ресурсам…………………………………………………………….22
9. Определение общей величины предотвращенного ущерба…………………..24
10. Расчет социально-эколого-экономического эффекта от внедрения
природоохранных мероприятий………………………………………………….25
11. Расчет социально-эколого-экономической эффективности
природоохранных мероприятий………………………………………………….26
12. Заключение…………………………………………………………………………...29
13. Литература………………………………………………………………………….30
Задание
Введение
Основные объекты созданной человеком техносферы – это промышленные предприятия. Создание и существование предприятий представляет опасность для живых организмов уже тем, что разрушаются их привычные места обитания обитания. В результате проведения различных технологических процессов природные ресурсы (или продукты их первичной обработки) превращаются в общественно полезную продукцию. Несовершенство техники и технологий приводит к тому, что одновременно с целевым продуктом образуются другие «ненужные» вещества – отходы производства в виде газообразных выбросов в атмосферу, загрязненных сточных вод, твердых веществ (материалов). Частично из отходов при помощи специальных технологий могут быть извлечены полезные компоненты, которые используются непосредственно в сфере потребления или поступают на какое-либо предприятие в виде ВМР – вторичных материальных ресурсов. Однако на современном уровне развития техники и технологий не удается избежать сброса отходов производства в биосферу. Попадая в атмосферу, гидросферу, литосферу, отходы производства и потребления изменяют естественный фоновый состав природной среды, т.е. являются загрязнениями биосферы.
По химической природе отходы – это смеси веществ сложного качественного и количественного состава, обладающие различными физическими, химическими, физико-химическими свойствами. При попадании в биосферу вещества, входящие в состав материальных отходов, накапливаются в природных средах или химически взаимодействуют с компонентами атмосферы, гидросферы, литосферы, живыми организмами. В результате накапливания и (или) взаимодействия компонент отходов с компонентами биосферы изменяется химический состав среды обитания живых организмов, что вызывает их адаптацию к новым условиям или гибель.
В течение длительного периода развития общества вопросы влияния промышленных предприятий на окружающую среду и возникновения связанных с этим экологических опасностей не ставились. И только повсеместное загрязнение атмосферы, почвы, водоемов токсичными химическими веществами, вымирание огромного числа видов живых организмов, потепление климата, «озоновые дыры», загрязнение пищевых продуктов пестицидами, болезни заставили человечество осознать необходимость экологизации техносферы. В настоящее время можно говорить о нескольких этапах и путях перехода к такой техносфере. Среди них наиболее значимые:
- создание систем управления воздействием промышленных предприятий на окружающую среду;
- совершенствование технологий очистки промышленных выбросов;
- совершенствование системы экологического нормирования загрязнений;
- создание малоотходных и безотходных технологий, производств, комплексов.
Поскольку практически невозможно в течение относительно короткого интервала времени заменить все технологические процессы, используемые в промышленности, на новые, не загрязняющие биосферу, то на начальном этапе экологизации техносферы актуальна задача управления воздействием промышленных предприятий на окружающую среду. Любая система управления воздействием на окружающую среду должна включать: механизмы регулирования – экономические, правовые, социальные; средства регулирования (контроля) - технические, технологические, организационные; информационно-аналитические системы, позволяющие: получать достоверную информацию о воздействии предприятия на окружающую среду, прогнозировать изменения в ее состоянии.
Экономические механизмы регулирования связаны с региональным планированием и материально-техническим обеспечением природоохранной деятельности; установлением лимитов использования природных ресурсов и лимитов выбросов в окружающую среду; установлением размеров платежей за использование природных ресурсов и загрязнение окружающей среды; введением системы экономического стимулирования и льгот за деятельность в области охраны окружающей среды и рационального природопользования.
Экономическими инструментами природопользования являются:
- плата за негативное воздействие на окружающую среду;
- возмещение вреда, нанесенного окружающей среде в результате ее загрязнения, истощения, порчи, уничтожения и других видов негативного воздействия определяется в соответствии с методиками оценки вреда окружающей среде, утвержденными Правительством Москвы;
- финансирование мероприятий, направленных на охрану окружающей среды и восстановление ее нарушенных компонентов.
Правовые механизмы регулирования связаны с введением региональных экологических нормативов качества окружающей среды, а также введением системы юридической ответственности за нарушение природоохранного законодательства. Разрабатывается соответствующее региональное природоохранное законодательство – система нормативных подзаконных актов, издаваемых органами местного самоуправления и местной администрацией для регулирования отношений в сфере охраны окружающей среды и рационального природопользования.
Социальные механизмы регулирования представляют собой мероприятия и средства, способствующие развитию принципов экологической этики, внедрению их в массовое сознание. В задачи социального регулирования входит экологическое образование и воспитание, формирование общественного мнения, информационное обеспечение в области регулирования качества окружающей среды.
Средства регулирования (контроля) - совокупность технических, технологических средств и организационных мероприятий, приводящих к уменьшению техногенного воздействия на окружающую среду. Сюда включаются системы мероприятий по предотвращению образования, уменьшению объемов и степени опасности вновь образующихся отходов, совершенствование систем очистки промышленных выбросов.
Информационно-аналитические системы основаны на мониторинге источников воздействия на окружающую среду, который является частью экологического мониторинга состояния окружающей среды. В ходе мониторинга источников воздействия осуществляется наблюдение за источниками воздействия, местами захоронения отходов как потенциальных источников загрязнения окружающей среды, проводится оценка воздействия отдельных источников на окружающую среду, определяется приоритетность факторов и источников воздействия, проводится оценка степени опасности источников и факторов воздействия. Задачей данного вида мониторинга является также прогнозирование и разработка стратегий предотвращения негативных последствий воздействия различных источников загрязнения на окружающую среду с учетом экономических, социальных и экологических аспектов.
Наиболее слабым звеном действующего механизма экономического управления природопользованием считается недостаточная заинтересованность предприятий – загрязнителей в более эффективном и бережном использовании природных ресурсов и охране окуружающей среды. Одна из причин этого явления кроется во все еще незначительном влиянии экономического ущерба от загрязнений и нерационального использования природных ресурсов и условий на конечные показатели деятельности, в первую очередь на прибыль хозяйственных организаций. Различные экономические методы призваны стимулировать не только уменьшение отрицательного воздействия на природные ресурсы и среду, но и внедрение различных инноваций (новых отношений, методов и технологий).
В данной курсовой работе мы обоснуем социальный, экологический и экономический эффект от внедрения проектируемого природоохранного мероприятия, докажем не только его экономическую эффективность, заключающуюся в снижении платы за загрязнение окуружающей среды, дополнительном доходе, получаемом в результате утилизации отходов или экономии первичного сырья, или окупаемости затрат на внедрение данного мероприятия через определенный промежуток времени, что является важнейшим мотивом для предприятия, но и экологическую и социальную, заключающиеся в улучшении как качества окружающей среды, так здоровья рабочих и населения.
Проектируемое мероприятие
1. Внедрение очистных сооружений для улавливания и обезвреживания вредных веществ из отходящих газов цеха механообработки металлов.
П
ри работе станков в цехе выделяются туманы эмульсола и масел, а также происходит выброс частичек пыли диаметром от 0,3 до 38 мкм. Как пример очищающих сооружений возьмем батарейный циклон, очищающий отходящие газы от пыли. Эффективность очистки = 95%.
Батарейный циклон (рис.1.2.4) – объединение большого числа малых циклонов (рис.6.4) в группу. Газовый поток вводится в циклон через патрубок 2 по касательной к внутренней поверхности корпуса 1 и совершает вращательно-поступательное движение вдоль корпуса к бункеру 4. Под действием центробежной силы частицы пыли образуют на стенке циклона пылевой
слой, который вместе с частью газа попадает в бункер.
Схема батарейного циклона
1 – корпус; 2 – распределительная камера; 3 – решетки; 4 – циклонный элемент.
Отделение частиц пыли от газа, попавшего в бункер, происходит при повороте газового потока в бункере на 180°. Освободившись от пыли, газовый поток образует вихрь и выходит из бункера, давая начало вихрю газа, покидающему циклон через выходную трубу 3. Для нормальной работы циклона необходима герметичность бункера. Если бункер негерметичен, то из-за подсоса наружного воздуха происходит вынос пыли с потоком через выходную трубу.
Входящая концентрация пыли составляет 5 мг/м3. Очищаем отходящие газы до ПДК = 0,05 мг/м3, используя 2 ступени очистки.
2. Внедрение очистных сооружений для улавливания и обезвреживания вредных веществ из сточных вод цеха механообработки металлов.
Как пример рассмотрим коагулятор-осветлитель для доочистки сточных вод от взвешенных частиц с dч = 2;10;60 мкм; краски 5 мкм и масел. Эффективность очистки составляет 90-92%.
Коагуляция - это процесс укрупнения дисперсных частиц в результате их взаимодействия и объединения в агрегаты. В очистке сточных вод ее применяют для ускорения процесса осаждение тонкодисперсных примесей и эмульгированных веществ.
Коагуляция наиболее эффективна для удаления из воды коллоидно-дисперсных частиц, т. е. частиц размером 1-100 мкм. В процессах очистки сточных вод коагуляция происходит под влиянием добавляемых к ним специальных веществ - коагулянтов. Коагулянты в воде образуют хлопья гидроксидов металлов, которые быстро оседают под действием силы тяжести.
Х
лопья обладают способностью улавливать коллоидные и взвешенные частицы и агрегировать их. Так как коллоидные частицы имеют слабый отрицательный заряд, а хлопья коагулянтов слабый положительный заряд, то между ними возникает взаимное притяжение.
Д
ля коллоидных частиц характерно образование на поверхности частиц двойного электрического слоя. Одна часть двойного слоя фиксирована на поверхности раздела фаз, а другая создает облако ионов, т. е. одна часть двойного слоя является неподвижной, а другая подвижной (диффузный слой). Малый размер коллоидных частиц загрязнений и отрицательный заряд, распределенный на поверхности этих частиц, обусловливает высокую стабильность коллоидной системы.
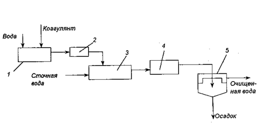
Сточная вода по трубе поступает в воздухоотделитель. Затем вода движется по центральной трубе к распределительным трубам, которые заканчиваются соплами для распределения и вращения воды в кольцевой зоне, куда вводят коагулянт. Хлопья коагулянта образуются в кольцевой зоне. Частицы масла с хлопьями оседают на дно и их удалят из аппарата. Осветленная вода через отверстие попадает в желоб, откуда ее направляют на использование.
При коагуляции происходит дестабилизация коллоидных частиц вследствие нейтрализации их электрического заряда. Эффект коагуляции зависит от валентности иона коагулянта, несущего заряд, противоположный знаку заряда частицы. Чем выше валентность, тем более эффективно коагулирующее действие.
Для начала коагуляции частицы должны приблизиться друг к другу на расстояние, при котором между ними действуют силы притяжения и химического сродства. Сближение частиц происходит в результате броуновского движения, а также при ламинарном или турбулентном движении потока воды. Коагулирующее действие солей есть результат гидролиза, который проходит вслед за растворением.
Схема установки для очистки вод коагуляцией.1-емкость для приготовления раствора; 2-дозатор; 3-смеситель; 4-камера хлопья образования; 5-отстойник.
Процесс гидролиза коагулянтов и образования хлопьев происходит по следующим стадиям:
Me3+ + HOH = Ме(ОН)2- + Н+
Me(OH)2- + НОН = Ме(ОН)2+ + Н+
М
е(ОН)2+ + HOH = Me(OН)3 + Н+
Me3+ + НОН = Ме(ОН)3 + 3Н+
В действительности процесс гидролиза протекает значительно сложнее. Ион металла образует ряд промежуточных соединений в результате реакций с гидроксид-ионами и полимеризации. Образующиеся соединения имеют положительный заряд и легко адсорбируются отрицательно заряженными коллоидными частицами.
Характеристики
Тип файла документ
Документы такого типа открываются такими программами, как Microsoft Office Word на компьютерах Windows, Apple Pages на компьютерах Mac, Open Office - бесплатная альтернатива на различных платформах, в том числе Linux. Наиболее простым и современным решением будут Google документы, так как открываются онлайн без скачивания прямо в браузере на любой платформе. Существуют российские качественные аналоги, например от Яндекса.
Будьте внимательны на мобильных устройствах, так как там используются упрощённый функционал даже в официальном приложении от Microsoft, поэтому для просмотра скачивайте PDF-версию. А если нужно редактировать файл, то используйте оригинальный файл.
Файлы такого типа обычно разбиты на страницы, а текст может быть форматированным (жирный, курсив, выбор шрифта, таблицы и т.п.), а также в него можно добавлять изображения. Формат идеально подходит для рефератов, докладов и РПЗ курсовых проектов, которые необходимо распечатать. Кстати перед печатью также сохраняйте файл в PDF, так как принтер может начудить со шрифтами.
















