ВСН 126-90 (558388), страница 5
Текст из файла (страница 5)
3.81. Для повышения эффективности контроля качества возводимых тоннельных конструкций рекомендуется использовать статистические методы выборочного контроля на любой стадии возведения сооружения.
При всех видах производственного контроля должна быть выполнена оценка качества.
4. АНКЕРНАЯ КРЕПЬ
Конструкции и материалы анкеров
4.1. По характеру восприятия и передачи нагрузок анкеры подразделяются на две группы: закрепленные в породе концами и омоноличенные по всей длине.
Анкеры первой группы, усилия закрепления которых сохраняются или увеличиваются по мере извлечения их из шпуров, следует рассматривать как разновидность податливой крепи нарастающего сопротивления. Конец стержня со вставленным в прорезь клином образует замок анкера. Из анкеров этой группы наибольшее распространение имеют клинощелевые (рис. 4).
Рис. 4. Конструкция клинощелевых анкеров:
а—сплошной; б—составной; 1—гайка; 2—опорная шайба; 3—стержень;
4— прорезь; 5—клин; 6—контактная сварка
Анкеры второй группы (омоноличиваемые) обладают высокой жесткостью: при возрастании нагрузки до предельной у них практически не наблюдается перемещений. Они подразделяются на набивные, нагнетаемые, анкеры типа “Перфо”, сталеполимерные и предварительно-напряженные. Наиболее просты по конструкции и технологии установки набивные железобетонные анкеры.
4.2. При выборе типа анкера необходимо руководствоваться следующим.
Клинощелевые анкеры просты по устройству и в грунтах с коэффициентом крепости более 4 (сопротивление одноосному сжатию более 40 МПа) обладают достаточной прочностью закрепления в грунте.
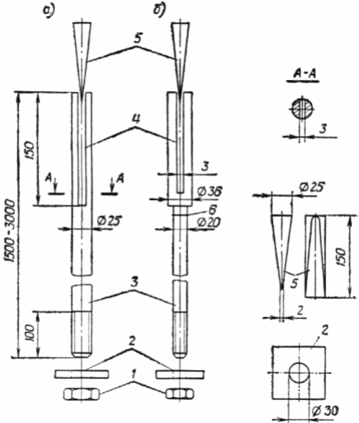
Распорные анкеры (первая группа, рис. 5) можно применять в грунтах с коэффициентом крепости не ниже 3. Однако их конструкция более сложна и они могут быть изготовлены только в заводских условиях. Прочность их закрепления в массиве сравнительно невелика.
Железобетонные и сталеполимерные анкеры (вторая группа) при достаточной длине замка обеспечивают высокую прочность закрепления во всех грунтах, где анкерное крепление применимо. Они могут воспринимать поперечные смещения грунтов, так как их армирующие стержни омоноличены со слоями пород по всей длине шпура. Недостатком этих анкеров является невозможность их нагружения омоноличивающим раствором до необходимой прочности.
4.3. Анкерную крепь можно использовать как в качестве самостоятельной конструкции (одиночные анкеры с опорными шайбами и анкеры с сеткой), так и в сочетании с подхватами, арками, армированным и неармированным набрызгбетонным покрытием.
Рис. 5. Конструкция распорного анкера СКШ:
1—распорная муфта из двух полугильз; 2— проволочное кольцо; 3—стержень; 4— установочная труба; 5—гайка
4.4. Анкеры рекомендуется применять также в качестве монтажных элементов при установке арок, подтяжки ограждающих и арматурных сеток и т. п.
4.5. Одиночные анкеры следует применять только в монолитных, слаботрещиноватых и весьма устойчивых грунтах.
4.6. Анкерами с опорными шайбами и армирующей сеткой размерами 50х50 мм (диаметр проволоки 3 мм) следует крепить выработки, заложенные в устойчивых грунтах, в которых возможны небольшие отслоения. Сетку разрешается устанавливать в зависимости от степени трещиноватости грунтов только по своду, либо по своду и стенам выработки.
4.7. Анкерами с подхватом, объединяющим один их ряд, следует крепить выработки в грунтах средней устойчивости, трещиноватых и слаботрещиноватых. В качестве подхватов в зависимости от величины ожидаемых отслоений между анкерами следует применять полосовую сталь или прокатные профили.
4.8. Анкеры следует устанавливать рядами, желательно в шахматном порядке. Расстояние между анкерами должно определяться расчетом (см. пп. 4.42; 4.43) и указываться в проекте (паспорте) крепления.
4.9. В местах возможных (вероятных) локальных вывалов в промежутках между проектными анкерами должна быть предусмотрена постановка по месту дополнительных анкеров, количество, диаметр и глубина которых назначается производителем работ.
4.10. В подземных выработках со сводчатой кровлей анкеры следует располагать радиально. В выработках с плоской кровлей крайние анкеры необходимо устанавливать под, углом 30° к вертикали, но с таким расчетом, чтобы конец анкера выходил за пределы пролета выработки не менее чем на 40 см; средние анкеры устанавливаются вертикально (рис. 6).
4.11. Анкеры следует устанавливать вкрест явно выраженным плоскостям напластования или трещинообразования. При множественных разноориентированных плоскостях нарушений и в массивах нетрещиноватых и слаботрещиноватых анкеры следует устанавливать перпендикулярно закрепляемой поверхности.
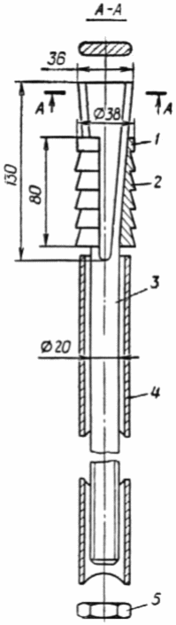
4.12. Комплект клинощелевого анкера (см. рис. 4) включает анкерный стержень с резьбой на наружном конце и прорезью для клина на заглубляемом конце (замке), клин, гайку и опорную шайбу. Диаметр замкового участка анкерного стержня для шпуров от 40 до 42 мм составляет 36 мм, для шпуров от 36 до 37 мм—30 мм.
4.13. Комплекты распорных анкеров включают замки различных конструкций, расклинивающихся в шпуре при натяжении или вращении анкерного стержня (см. рис. 5).
4.14. Металлические клиновые и распорные анкеры рекомендуется изготавливать в заводских условиях, так как отклонения в размерах элементов и грубое исполнение деталей анкера значительно снижают прочность закрепления замков.
Рис. 6. Схема расположения анкеров при слоистой кровле
4.15. При изготовлении металлических анкеров необходимо выполнять следующие условия:
а) стержень должен быть прямым, а торцы—перпендикулярными к его оси; стержень длиной до 2 м рекомендуется изготовлять из стали марки Ст.З, при большей длине—из стали с более высоким пределом текучести; диаметр стержня клинового анкера определяют расчетом, однако, из условия обеспечения необходимой жесткости, он должен быть не менее 20 мм при длине анкера до 1,8 м и 25 мм—при длине анкера от 1,8 м до 3,3 м.
Если расчетный диаметр стержня анкера меньше диаметра его замка, то анкер целесообразно делать составным. Соединение замка со стержнем необходимо осуществлять на резьбе или контактной сваркой встык;
б) резьба должна быть образована накаткой; нарезка резьбы допускается при условии, если при расчете анкеров учтено ослабление в результате нарезки сечения стержня;
в) поверхность прорези в замке анкера должна быть гладкой, без заусенцев и окалины. Прорезь при ширине 2—4 мм не должна отклоняться от оси анкера более 1 мм; кромки прорези в верхнем конце анкера должны быть округлены; режущие кромки в торце замка должны быть острыми;
г) клин, отлитый из чугуна или штампованный из стали марки Ст.З, должен быть очищен от заусенцев и окалины;
д) гайки должны соответствовать ГОСТ 5915—70;
е) стыки составных анкеров должны быть равнопрочными со стержнем; длина резьбовых соединений должна быть не менее 40 мм;
ж) опорные шайбы из стали Ст.З должны иметь размеры от 100 х 100 х 8 до 200 х 200 х 12 мм.
4.16. Применение клиновых и распорных анкеров рекомендуется в технологических крепях для подвески ограждающих сеток и закрепления отдельных вывалов или неустойчивых участков обнажения.
4.17. Цельноомоноличиваемый набивной железобетонный анкер представляет собой арматурный стержень периодического профиля с заостренным заглубляемым концом, омоноличенный по всей длине шпура песчано-цементным раствором (рис. 7).
При использовании анкеров для подвески ограждающей сетки или армирующих элементов обделки наружный конец анкерного стержня должен иметь отверстие для шплинта.
Рис. 7. Схема набивного железобетонного анкера:
1—арматурный стержень; 2— раствор
4.18. Железобетонные анкеры следует применять в слабообводненных или сухих выработках, расположенных в монолитных или слаботрещиноватых породах, т. е. в условиях, исключающих утечку или вымывание из шпура песчано-цементного раствора.
4.19. В комплект цельноомоноличиваемого анкера типа “Перфо” (рис. 8) входят арматурный стержень периодического профиля и перфоцилиндр с отверстиями диаметром от 4 до 6 мм, заполненный консистентным песчано-цементным, быстротвердеющим раствором.
Из приведенных на рис. 8 двух типов перфоцилиндров более удобным для снаряжения и установки анкера является щелевой.
4.20. Диаметры анкерных стержней и перфоцилиндров должны приниматься в зависимости от диаметра шпура в соответствии с данными табл. 7.
Рис. 8. Цельноомоноличенный анкер типа “Перфо”:
а—анкер в сборе при установке в шруп; б—анкер после установки;
в—перфоцилиндр разъемного типа; г—разрезной перфоцилиндр; 1—анкерный арматурный стержень; 2—деревянный клин; 3—кондуктор; 4—песчано-цементный раствор; 5— перфоцилиндр; 6—разрушаемое фибровое дно перфоцилиндра
Таблица 7
| Диаметры анкеров типа “Перфо”, мм | |||
| шпура | перфо- цилиндра | стержня- анкера “Перфо” | стержня сталеполимермого или железобетонного набивного и нагнетаемого анкера |
| 34 | 29 | 18—22 | 16—18 |
| 36 | 31 | 22—25 | 18—20 |
| 40 | 35 | 25—28 | 22—25 |
| 43 | 38 | 28—32 | 25—28 |
4.21. Анкеры “Перфо”, ввиду их более высокой стоимости и сложности изготовления, рекомендуется применять в постоянных и временных конструкциях в условиях, непригодных для набивных железобетонных анкеров.
Наиболее целесообразно использование таких анкеров в интенсивно деформируемых и разуплотняющихся сильнотрещиноватых и обводненных грунтах.
4.22. Применяемые для железобетонных анкеров растворы должны состоять из материалов, соответствующих требованиям государственных стандартов: портландцемент— ГОСТ 10178—85; глиноземистый цемент—ГОСТ 969—77; песок—ГОСТ 10268—80; хлористый кальций—ГОСТ 450—77; вода—ГОСТ 23732—79.
4.23. С целью удовлетворения требованиям технологичности (свободное прохождение раствора через растворонагнетатель, подводящие шланги и инъектор, а также исключение вытекания раствора из шпуров) на месте производства работ допускается корректировать величину водоцементного отношения.
4.24. В комплект сталеполимерного анкера входят заостренный анкерный стержень из стали периодического профиля и ампул-патроны, заполненные пластораствором на основе эпоксидной, полиэфирной или других синтетических смол с капсулой, заполненной отвердителем.
Омоноличивание анкера после достижения им в течение 5—10 мин расчетной несущей способности осуществляют путем разрушения оболочек ампул-патрона и капсулы и последующего перемешивания их содержимого при внедрении в шпур и вращении анкерного стержня.
4.25. Цельноомоноличиваемые сталеполимерные анкеры с соответствующими быстросхватывающимися составами рекомендуется использовать в сложных гидрогеологических условиях, в том числе при высокой степени трещиповатости пород.
4.26. Армирующие стержни омоноличиваемых анкеров следует изготовлять из горячекатаной стали периодического профиля (ГОСТ 5781—82). Корневой конец стрежня должен быть заострен, другой конец—расклепан с отверстием для шплинта.
Допускается использование иных конструктивных решений концов стержня, выступающего в выработку (резьба с гайкой, петля и т. д.). Корневые концы сталеполимерных анкеров должны быть кососрезанными для обеспечения внедрения в ампул-патрон и качественного перемешивания пласторастворов.
4.27. Перед применением анкеров необходимо проверять свойства закрепляющих составов (методика по ГОСТ 5802—86) и проводить испытания анкеров, установленных на этих растворах.
4.28. Для закрепления в слабоустойчивых грунтах на глубину более 5 м подземных выработок пролетом более 10 м сопряжении выработок, а также откосов котлованов при соответствующем технико-экономическом обосновании следует применять омоноличиваемые в скважине по всей длине или в замковой части предварительно напрягаемые анкеры прядевой или стержневой конструкции (приложение 17)
4.29. Во всех обделках, а также в крепях, устанавливаемых в агрессивных средах или со сроком службы крепей от 1 года и более, анкерные стержни должны иметь покрытие в виде консистентной смазки, резиновой или полиэтиленовой рубашки, песчано-цементного камня и пр., обеспечивающее необходимую антикоррозийную защиту.
Расчет анкеров и составление паспорта
4.30. Параметры анкерной крепи—тип, размеры замка длина анкеров, расстояние между ними, величина натяжения стержней—определяются строением горного массива механическими свойствами грунтов и размерами подземной выработки. Как правило, параметры анкерной крепи следует назначать с учетом опыта ее применения в аналогичных инженерно-геологических условиях.
4.31. Основной эффект от крепления выработок анкерами состоит в том, что окружающие выработку породы, имеющие склонность к расслоению и обрушению, прикрепляются к устойчивым областям горного массива, лежащим за пределами расчетного свода давления, при помощи анкеров. В отдельных случаях кровля выработки, закрепленная анкерами, может рассматриваться как несущая армокаменная конструкция, уменьшающая высоту свода давления грунта.
4.32. Анкеры, применяемые в качестве временной крепи подземных сооружений, рассчитывают по прочности закрепления замков и прочности стержней по аналогии с соответствующими требованиями глав строительных норм и правил на проектирование тоннелей и бетонных (железобетонных) конструкций.
Под прочностью закрепления замка анкера понимают максимальную нагрузку, при приложении которой к стержню установленного анкера осевое перемещение его конца не превышает 10 мм.
4.33. В расчете основных параметров анкерной крепи (рис. 9), исходя из гипотезы “подвешивания” зоны возможного обрушения к ненарушенным грунтам, согласно требованиям к временному креплению, расчет следует производить в следующем порядке:















