ГОСТ Р 50849-96 (2000) (558268), страница 3
Текст из файла (страница 3)
В состав партии должны входить пояса одной конструкции, изготовленные по одной технологии из материалов одного вида.
5.3 Периодические испытания проводит предприятие-изготовитель или специализированная лаборатория на образцах пояса одной конструкции, отобранных случайным порядком из партий, прошедших приемосдаточные испытания, не реже одного раза в год.
5.4 Типовые испытания проводит предприятие-изготовитель при изменении конструкции или технологии их изготовления, а также при замене материалов для изготовления несущих нагрузку деталей пояса.
При этом пояса проверяют по всем показателям технических требований настоящего стандарта и технических условий на пояса конкретных конструкций.
5.5 При получении неудовлетворительных результатов по одному из требований хотя бы на одном поясе, проводят повторные испытания удвоенного количества поясов, отобранных из той же партии.
Если при повторных испытаниях получены неудовлетворительные результаты, партию поясов бракуют.
5.6 Результаты приемки должны быть оформлены документом о качестве или клеймом.
6 МЕТОДЫ КОНТРОЛЯ
6.1 При приемосдаточных, периодических и типовых испытаниях в общем случае следует проводить:
— внешний осмотр;
— проверку основных размеров;
— проверку массы пояса;
— статические и динамические испытания пояса в полном соответствии с требованиями технических условий на пояса конкретных конструкций и требованиями настоящего стандарта.
При этом необходимо учесть нижеприведенные требования и правила.
6.1.1 При статических испытаниях скорость приложения усилия к испытываемому элементу должна быть не более 100 мм/мин, время испытания — не менее 1 мин.
6.1.2 Для проведения динамических испытаний пояса в качестве груза могут быть использованы: жесткий груз, мешки с сухим песком (для типов А и Б), манекены, имитирующие верхнюю часть туловища человека (для типов В и Г) или туловище человека (для типов Д и Е). Требования к конструкции и свойствам манекенов должны быть разработаны в нормативно-технической документации, утвержденной в установленном порядке.
Масса груза (мешка, манекена) должна быть (100 ± 1) кг.
6.1.3 При проведении контроля качества поясов должны применяться средства и методики измерений, обеспечивающие точность измерений контролируемых параметров с погрешностью ± 2 %.
6.1.4 Перед установкой на пояс строп из цепи должен быть испытан предприятием-изготовителем статическим усилием, равным 7 кН (700 кгс).
6.1.5 Испытания пояса на соответствие его требованиям 4.4; 4.5.1—4.5.4 должно проводить предприятие-изготовитель в процессе постановки пояса на производство. Для испытания пояса по 4.4 следует использовать климатические камеры или установки, обеспечивающие изменения температуры воздуха от минус 50 до плюс 50 °С.
Допускается проведение испытаний на открытой площадке в районах Российской Федерации, где температура воздуха достигает указанных величин.
6.1.6 Испытания пояса статической нагрузкой на соответствие 4.5.2 проводят путем испытания пояса в целом согласно рисунку 7, а испытания элементов пояса на соответствие 4.5.3 — согласно рисункам 8 и 8, а.
Пояс или элемент пояса считают выдержавшим испытания, если разрушение или разрыв одного из несущих нагрузку элементов произошло при усилиях не ниже приведенных в 4.5.2 и 4.5.3.
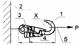
Карабин считают выдержавшим испытание, если после приложения нагрузки равной 500±1 кгс в течение не менее 2 мин., величины Х и l не увеличились более чем на 1,0 мм и после снятия проволоки рукоятка (поз. 3) заняла проектное положение.
(Измененная редакция, Изм. № 1)
Рисунок 7 — Схема испытания пояса в целом статической нагрузкой
1 — жесткая опора; 2 — измеритель усилия, 3 — цилиндр диаметром 300 мм;
4 — пояс; 5 — пряжка пояса; 6 — боковое кольцо пояса; 7 — строп;
8 — растягивающее усилие
Рисунок 8 — Схема испытания элементов пояса статической нагрузкой
1 — жесткая опора; 2 — измеритель усилия; 3 — строп или другой элемент
пояса; 4 — растягивающее усилие
Рисунок 8а - Схема испытания карабина статической нагрузкой
1 - основной крюк карабина; 2 - неподвижная опора; 3 - внутренняя рукоятка карабина;
4 - проволока диаметром 1 - 1,5 мм для закрепления рукоятки в указанном положении;
5 - растягивающее усилие (500±1 кгс); Х - расстояние между наружной поверхностью носка крюка карабина и наружной поверхностью тыльной стороны крюка карабина; L -длина карабина, измеренная по оси приложения нагрузки Р
(Введен дополнительно, Изм. № 1)
Рисунок 9 — Схема испытания безлямочных поясов типов А и Б динамической нагрузкой
1 — жесткая опора; 2 — сбрасыватель; 3 — соединительное устройство;
4 — пояс безлямочный; 5 — пряжка; 6 — боковое кольцо; 7 — манекен
(мешок с песком); 8 — штанга; 9 — строп; 10 ¾ серьга штанги;
L — максимальная длина стропа
Рисунок 10 — Схема испытания лямочных поясов типов В, Д и Е динамической нагрузкой
1 —жестки опора; 2 — сбрасыватель; 3 — соединительное устройство;
4 — манекен; 5 — пояс лямочный; 6 — строп; 7 — штанга; 8 — серьга штанги
L — максимальная длина стропа.
6.1.7 Испытания пояса динамической нагрузкой на соответствие требованиям 4.5.1 проводят согласно схеме на рисунках 9 и 10. При этом высота свободного падения манекена должна быть принята равной двум длинам стропа.
Пояс считают выдержавшим испытания, если ни одна из его деталей полностью не разрушилась (кроме тех, разрушение которых предусмотрено защитным действием пояса) и манекен не упал на землю или перекрытие, а остался висеть на опоре.
6.1.8 Испытания пояса на соответствие требованиям 4.5.4 осуществляют по методике, изложенной в 6.1.7. При этом величину динамического усилия (численно равного динамической нагрузке), возникающего в стропе, замеряют специальными датчиками и аппаратурой. Место и способы расположения и установки датчиков или аппаратуры устанавливают в технических условиях на пояса конкретных конструкций.
Высота падения манекена при испытаниях должна равняться одной длине стропа.
Пояс считают выдержавшим испытания, если величина усилия, зарегистрированная датчиком, не превышает значения, приведенного в 4.5.4.
7 ТРАНСПОРТИРОВАНИЕ И ХРАНЕНИЕ
7.1 Пояса должны транспортироваться в соответствии с правилами перевозки, действующими на транспорте.
7.2. При транспортировке поясов следует предусмотреть их защиту от воздействия атмосферных факторов (дождя, снега и т.п.), а также факторов, указанных в 7.4.
7.3 Пояса должны храниться в проветриваемых помещениях в подвешенном состоянии или разложенными на полках в один ряд. Помещение должно быть сухим (влажность не более 70 %) и защищенным от прямого попадания солнечных лучей.
7.4 Запрещается хранение поясов рядом с тепловыделяющими приборами, а также кислотами, щелочами, растворителями, бензином и маслами.
8 УКАЗАНИЯ ПО ЭКСПЛУАТАЦИИ
8.1 Пояс следует применять как средство обеспечения безопасности работ на высоте и предупреждения падения человека в случаях, когда для организации рабочего места установка средств подмащивания или ограждений невозможна, затруднена или нецелесообразна (работа выполняется в течение короткого промежутка времени до 30 мин).
8.2 В случаях, когда для страховки поясом длина стропа недостаточна, необходимо применять совместно с поясом дополнительные средства защиты, к которым относятся: удлинители стропа пояса, страховочные канаты, полуавтоматические верхолазные устройства, ловители, специальные приспособления, вводимые в элементы конструкций или средств подмащивания, разработанные в установленном порядке и удовлетворяющие требованиям действующих нормативных документов.
8.3 Для выполнения огневых работ следует применять пояса со стропом из цепи или стального каната.
8.4 На пояс должна быть разработана и согласована в установленном порядке инструкция по его безопасной эксплуатации. Инструкция должна быть написана простым и доходчивым языком и содержать методику испытания пояса конкретной конструкции с указанием схемы испытаний, необходимые правила, разъяснения, обеспечивающие правильность его эксплуатации.
8.5 В дополнение к специальным требованиям, разрабатываемым предприятием-изготовителем, инструкция должна содержать нижеприведенные обязательные требования.
8.5.1 Перед выдачей в эксплуатацию и через каждые 6 мес. в процессе эксплуатации потребителю следует испытать статической нагрузкой:
— строп пояса без амортизатора — грузом массой 700 кг;
— строп пояса с амортизатором — грузом массой 400 кг (при этом амортизатор испытанию не подвергается);
— пряжку с ремнем — грузом массой 300 кг.
8.5.2 Запрещается:
— закрепление карабином ниже уровня опирания ступней ног при выполнении рабочих операций в положении стоя;
— выполнение огневых работ, опираясь на строп пояса, т.е. в условиях его натяжения;
— сбивать остатки электродов из зева электродержателя путем удара о строп;
— внесение каких-либо изменений в конструкцию пояса без согласования с изготовителем;
— использование пояса не по назначению.
8.5.3 Способы закрепления стропом пояса должны быть такими, чтобы величина свободного падения человека с высоты не превышала одной максимальной длины стропа.
(Измененная редакция, Изм. № 1)
8.5.4 В процессе эксплуатации пояса на высоте не допускается производить закрепление карабином непосредственно за фал после обхвата им элементов конструкций или других опор. В этих случаях необходимо закрепляться за специальное приспособление в соответствии с 4.2.8.
8.5.5 При работе на высоте менее 3 м от земли или перекрытия точка закрепления карабином должна быть расположена не менее чем на 1,5 м выше уровня опирания ступней ног.
8.5.6 Опора, к которой закрепляют карабин пояса (или элементы выполняющие ее функцию), должна иметь прочность не менее 15 кН (1500 кгс).
9 ГАРАНТИИ ИЗГОТОВИТЕЛЯ
9.1 Предприятие-изготовитель должно гарантировать соответствие выпускаемого пояса требованиям настоящего стандарта при соблюдении потребителем условий эксплуатации и хранения, установленных в технических условиях или стандартах на пояса конкретных конструкций.
9.2 Гарантийный срок хранения и эксплуатации пояса — не менее двух лет со дня изготовления.
9.3 Условия и правила эксплуатации пояса после истечения гарантийного срока устанавливаются предприятием-изготовителем и должны быть указаны в инструкции по эксплуатации на пояс конкретной конструкции.
Ключевые слова: пояса предохранительные, классификация поясов, технические требования к поясам, методы испытаний, маркировки, упаковки
Содержание
1 Область применения
2 Определения
3 Классификация и назначение
4 Технические требования
5 Правила приемки
6 Методы контроля
7 Транспортирование и хранение
8 Указания по эксплуатации
9 Гарантии изготовителя
















