01Глава I (558139), страница 4
Текст из файла (страница 4)
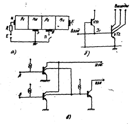
Рис. 4. Базовый элемент с инжекционным питанием:
а - конструкция; б – принципиальная схема;
в—логическая схема
Транзистор с инжекционным питанием представляет собой четырехслойную структуру p1 – n1 – p2 - n2 -типа (рис. 4,а), в которой можно выделить два транзистора n – p – n – и p – n – p –типа. Транзистор p – n – p - типа образован инжекторной p1 - областью, играющей роль эмиттера, частью эмиттерной n1 - области, служащей базой, и базовой p2- областью, выполняющей функции коллектора. Транзистор n – p – n -типа с вертикальным расположением электродов образован частью эмиттерной n1 -области, примыкающей к ней частью базовой p2 -области и коллекторной n2 – областью. Заметим, что в логических элементах данного типа не требуется ни изолирующих областей, ни резисторов, что позволяет достичь высокой плотности интеграции.
Рассмотрим более подробно работу базового элемента. Предположим, что эмиттер схемы заземлен; между этим электродом и инжектором включен внешний источник ЭДС, обеспечивающий прямое смещение инжекторного перехода, а цепи базы и коллектора разомкнуты.
Тогда из инжектора в эмиттер инжектируются дырки. В эмиттерной области у инжекторного перехода возникает избыточная концентрация дырок. Для нейтрализации заряда инжектированных дырок в змиттерную область через внешний вывод поступают электроны. Концентрация избыточных электронов приблизительно равна концентрации избыточных дырок. Вследствие появления градиента концентрации происходит диффузия электронов и дырок к эмиттерному переходу. Дойдя до эмиттерного перехода, избыточные электроны компенсируют часть объемного заряда перехода, обусловленного ионизированными донорами. Избыточные дырки захватываются полем перехода и, попадая в область перехода со стороны базы, компенсируют часть объемного заряда ионизированных. акцепторов. В результате эмиттерный переход сужается и потенциальный барьер его понижается, т. е. переход смещается в прямом направлении. Часть избыточных электронов и дырок из области эмиттера проходит в область базы. Переход электронов эквивалентен их инжекции из эмиттера в базу, а переход дырок обеспечивает электрическую нейтральность базы.
Избыточные электроны и дырки, диффундируя к коллекторному переходу, компенсируют часть объемного заряда перехода, и его потенциальный барьер понижается. В результате коллекторный переход смещается в прямом направлении, а транзистор оказывается в режиме насыщения. Напряжение между коллектором и эмиттером определяется как
где α1i - инверсный коэффициент усиления транзистора n – p – n.
Выходное сопротивление n – p – n -транзистора, находящегося в режиме насыщения, невелико, и его можно рассматривать как ключ в замкнутом состоянии. Если p2 -базу с помощью ключа соединить с эмиттером, то инжекция электронов в базу прекратится. Разность потенциалов, на эмиттерном переходе окажется равной нулю, и ток в цепи базы будет
где α2N — коэффициент усиления транзистора p – n – p ; IИ — ток инжектора.
В коллекторной цепи ток отсутствует, и транзистор переходит в активный режим на границе с режимом отсечки. Его выходное сопротивление при этом резко увеличивается, что соответствует разомкнутому ключу. Таким образом, даже при закороченной цепи эмиттер – база через базу n – p – n –транзистора протекает ток, величина которого определяется IИ. Это позволяет представить транзистор схемой замещения, содержащей генератор тока в цепи базы (рис. 4, б). Величина тока IГ = α2N IИ схемы замещения определяется количеством дырок, инжектируемых через прямосмещенный инжекторный переход и собираемых базой n – p – n –транзистора.
Для анализа возможности использования ИИЛ-элемекта в логических схемах рассчитывает некоторые его электрические характеристики.
Функция, обратная передаточной характеристике, т.е. зависимость
определяется из соотношения
где Sn — степень насыщения:
, BN - коэффициент усиления , N—нагрузочная способность схемы.
Величины выходных единичного и нулевого сигналов равны
Запас помехоустойчивости составляет:
для уровня логического нуля
Для уровня логической единицы
Помехоустойчивость и быстродействие схем ИЛИ возрастают с увеличением инжекторного тока. Однако одновременно повышается рассеиваемая мощность. Величина PD для логических элементов составляет I пДж. Для уменьшения значения PD используют разные конструктивные решения. Так, схема с трехсторонней конструкцией
инжектора И³Л позволяет снизить паразитную емкость боковых стенок n – p – n —транзистора, схема с боковым p – n – p -транзистором, получившая название логической схемы с перехватом тока (ПТЛ), собирает на коллекторе заряд, исходящий от эмиттера, и управляет током подложки.
В базовой схеме ИИЛ (рис. 4,в), собранной на основе двух транзисторов, сигнал логической единицы (отсутствие выходного тока) на выходе будет в том случае, если на оба входа А и В подан логический нуль. В этом случае ток инжектора VT1 и VT2 отводится от баз этих транзисторов на вход схемы, транзисторы закрыты, и элемент реализует логическую функцию штрих Шеффера.
Основное назначение ИИЛ—схемы –использование в матрицах БИС и микропроцессорах.
2.4. БАЗОВАЯ СХЯА ЛОГИКИ НА ПЕРКЛЮЧАТЕЛЯХ ТОКА
Базовый логический элемент (рис. 5), выполняющий функцию И/И-НЕ, состоит из трех электрических каскадов: токового переключателя на транзисторах VT2 и VT3, выходных змиттерных повторителей VT1 и VT4 источника опорного напряжения, собранного на транзисторе VT5, резисторах R4, R5, R6 и диодах VD1, VD2.
Рис. 5. Базовый элемент транзисторной логики
на переключателях тока
Токовый переключатель предназначен для выполнения логических функций (первая ступень логики), в том числе для образования парафазного сигнала (прямого и инверсного), формирования и усиления входного сигнала по напряжению и обеспечения заданной помехоустойчивости. Токовый переключатель представляет собой дифференциальный усилитель, работающий в ключевом режиме. В одной ветви диффе- ренциального усилителя расположены входные транзисторы VT2, в другой — транзистор VT3. Обе ветви связаны через резистор R2, так что VT3 открыт только в том случае, если на всех входах схемы имеются сигналы низкого уровня. При этом падение напряжения на R2 обеспечивает закрывание транзисторов VT2; транзистор VT4 открыт, и ток течет через R3, VT3, R2. Обычно R2 в несколько раз больше R1 и R3 , что позволяет получать ток постоянной величины в ветвях дифференциального усилителя при переключении его из одной ветви в другую в соответствии с сигналами управления.
Для наличия хотя бы на одном из входов схемы сигнала, с высоким уровнем напряжения один из транзисторов VT1 открывается , и возросшее падение напряжения на R2 , закрывает транзистор VT3 ток переключается в левую ветвь. Тем более, ток переключается при нескольких сигналах высокого уровня на входах схемы.
Сигналы с коллекторных нагрузок левой и правой ветвей дифференциального усилителя через эмиттерные повторители поступают на прямой и инверсный выходы схемы. Выходные эмиттерные повторители предназначены для выполнения логических функций (вторая ступень логики), усилении сигнала по мощности, работы на согласованные линии связи, а также для смещения выходных сигналов по напряжению в целях обеспечения совместной работы с другими злементами.
Источник опорного напряжения предназначен для получении напряжения, относительно которого происходит переключение тока в токовом переключателе, равного среднему уровню напряжения между выходными уровнями сигналов логического нуля и единицы.
При переключении тока в токовом переключателе входными управляющими сигналами выполняется функция И/И-НЕ для отрицательной логики и функция ИЛИ/ИЛИ-НЕ—для положительной.
Особенностью базовой схемы является подключение всех входов к шине питания через резистор Rвх , что исключает необходимость ориентации неиспользованных входов на определенный потенциал. Кроме того , в целях снижения потребляемой мощности и организации согласованных линий связи нагрузочные резисторы выходных эмиттерных повторителей вынесены за пределы схемы и размещены в отдельных корпусах.
Для расширения логических возможностей базовой схемы. и получения второй ступени логики используется объединение двух или нескольких выходов элементов на одном нагрузочном сопротивлении эмиттерного повторителя (эмиттерный ДОТ). При объединении прямых выходов получается двухступенчатая функция И , а при объединении инверсных выходов – функция И-ИЛИ-НЕ.
Если объединить несколько схем на одном коллекторном сопротивлении, то получим выполнение функции ИЛИ (коллекторный ДОТ). Для предотвращения режима насыщения транзистора прямого плеча схемы в случае протекания увеличенного тока через коллекторное сопротивление предусматривается включение дополнительной цепи подсечки на транзисторе и резисторе.
Для получения сложных логических функций при сохранении высокого быстродейст- вия применяются двухуровневый и трехуровневый принципы переключения схемы, когда эмиттерным током верхнего уровня переключения является коллекторный ток нижнего уровня, предварительно переключаемый входными сигналами по определенной функции. Для управления вторым и третьим уровнями переключения на входе базового элемента предусматривается включение эмиттерных повторителей, обеспечивающих смещение входных уровней сигналов. Для стабилизации переключаемого тока генератор в этих схемах строится на транзисторе и резисторе.
Высокое быстродействие схем на переключателях тока (ПТТЛ) , составляющее 0,5. . .1,0 нс, обусловлено как низким выходным импедансом, благодаря чему они могут работать на емкостную нагрузку, так и тем, что они используются в ненасыщеннном режиме. Перепад напряжений логических уровней этих схем составляет 800 мВ, что затрудняет их сопряжение с элементами других серий. Следует отметить, что ток, потребляемый этими схемами от источника питания, почти постоянен, если не принимать во внимание нагрузку. Он не зависит от состояния ПТТЛ, поскольку происходит коммутация тока внутри схемы, а следовательно, не образуются паразитные броски тока, имеющие место в ТТЛ-схемах. Выходные транзисторы обладают высоким коэффициентом усиления, и так как они включены по схеме с общим коллектором, то при низком выходном сопротивлении могут обеспечивать выходной ток порядка 50 мА. В результате такие схемы имеют высокий коэффициент разветвления по выходу (при RН = 100 Ом N = 30).
При анализе ПТТЛ ИС основным выражением является зависимость
















