Схемотехника ЭВМ0 (558136), страница 3
Текст из файла (страница 3)
Одним из основных параметров, характеризующих счетчик, является емкость счетчика.
Емкостью счетчика называется число его различных состоя-
ний. Двоичный n-разрядный счетчик имеет максимальную емкость
.
Для рассмотренных выше четырехразрядных двоичных счет-
чиков имеем
различных состояний: 0000, 1000, 0100, 1100,
..., 1111; порядок смены состояний при подаче входных сигналов
определяется режимом счета. Если выходной сигнал снимается
только со старшего разряда счетчика, то он будет указывать, что
на вход подано
сигналов.
Схема счетчика, формирующая выходной сигнал после поступле-
ния на его вход фиксированного числа сигналов, называется пере
счетной схемой. Число входных сигналов, определяющее появление
выходного сигнала, принято называть коэффициентом пересчета
схемы.
При наличии обратных связей n-разрядный двоичный счетчик
имеет емкость
; такие схемы называются счетчиками по модулю K.
Построение счетчика (или пересчетной схемы) с заданным числом
состояний К выполняется следующим образом.
-
Определяется количество разрядов n из условия:
-
Определяется число неиспользуемых состояний:
которое представляется n-разрядным двоичным кодом.
-
В зависимости от требований к кодированию внутренних состо-
яний схемы, используются три способа построения:
а) начальное состояние счетчика кодируется числом т, остальные –
,
В этом случае схема представляет собой суммирующий счетчик;
выходной сигнал со старшего разряда и сигнал установки начального
состояния подается на установочные входы всех разрядов схемы со-
гласно двоичному коду числа т; недостаток схемы — отсутствие ну-
левого состояния;
б) начальное состояние нулевое, остальные — 1,2,..., К-1. Схема
представляет суммирующий счетчик. Шина установки нулевого кода
управляется объединением сигнала установки начального состояния
и логического произведения входного сигнала с сигналами прямых
выходов тех триггеров, которым в двоичном коде числа m соответст-
вуют нули;
в) начальное состояние принимается нулевым; при организации
межразрядных переносов в разрядах, которым соответствует 1 в
двоичном коде числа т, используются инверсные выходы (разряды
работаю в режиме вычитания), а в разрядах которым соответствует 0 в двоичном коде числа m, используются прямые выхода (раз-
ряды работаю в режиме суммирования). Сигнал установки начального состояния и выходной сигнал со старшего разряда подаются
на установку всех разрядов схемы в нуль. Коды состояний не упорядочены, схему нельзя использовать в качестве счетчика. Пере
счетные схемы, в которых часть разрядов работает в режиме сум-
мирования, а часть — в режиме вычитания, называются схемами с
комбинированными связями.
При реализации счетчиков по модулю К по второму способу мож-
но использовать также сброс схемы в нулевое состояние без исполь-
зования входного сигнала, но в этом случае имеем дополнительное
неустойчивое состояние счетчика, соответствующее n-разрядному
двоичному коду числа К.
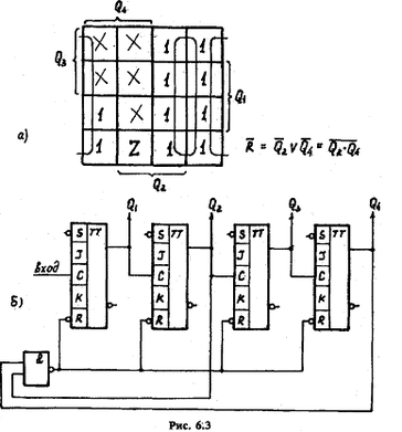
В качестве примера рассмотрим построение декадного (десяти-
чного) счетчика на базе триггеров j-k с установочным входом R. Не-
обходимо, чтобы после 10-гo входного сигнала состояние счетчика aавтоматически изменилось с кода 1010 на код 0000. Состояния схе-
мы, имеющие коды более 1010, являются неопределенными. Таким об-
разом, карта Вейча функции сброса счетчика в ноль по входам R (рис.
6.3, а) будет иметь значение 0 только на наборе 1010. Выразим через
функцию И-НЕ:
. Выход схемы И-НЕ требует дополнительной инверсии.
Схема декадного счетчика приведена на рис. 6.3, б.
При построении пересчетных схем целесообразно использовать
методы структурного синтеза автоматов.
В правой верхней сменной части макета установлен блок счетчи-
ков, включающий два 4-разрядных реверсивных двоичных счетчика
(СТ2) и один синхронный десятичный счетчик (СТ10).
Реверсивных двоичный счетчик может работать в режимах прямого и обратного счета. Сигналы счета подаются на вход С и счетчик
складывает (вычитает) их при наличии разрешающего сигнала счета
на входе ЕС (низкий уровень). Направление счета определяется потенциалом на входе реверса (E+1, Е-1) с одним входным гнездом (рис. 6.4, а).
Уровень логического нуля на этом входе определяет направление
прямого счета, а уровень логической единицы — направление обратного счета.
При счете в прямом направлении при достижении максимальной
емкости
вырабатывается сигнал переноса «CR», при счете в об-
ратном направлении — сигнал заема «BR ». В счетчике имеется воз-
можность установки начального состояния счета по входам
при
(Одновременная подача уровня логического
нуля на входы ЕС и EWR запрещена).
В качестве примера рассмотрим реализацию на данной схеме
декадного счетчика по первому способу построения. Начальное со стояние т = б записывается в счетчик по входам
при на-
личии сигнала синхронизации С и уровня логического нуля на входе
EWR.
Сигналы на входы
счетчика подаются с переключательных регистров
и контролируются индикаторами Л5 — Л8, что позво-
ляет видеть записываемый код числа; выходи счетчика подключаются
к индикаторам Л5 — Л8.
Сигнал переноса «CR» со счетчика подается на вход «D» одного
из триггеров типа D, прямой выход которого соединяется со входом
«ЕС», а инверсный — со входом «EWR» счетчика.
На вход реверса (Е + 1, Е – 1) счетчика подается сигнал нулевого
уровня (прямой счет).
Входы синхронизации «С » счетчика и триггера соединяются ли-
бо непосредственно с выходом генератора синхроимпульсов «СИ»,
(«СИ1», «СИ2») для изучения работы счетчика на экране осцилло-
графа, либо через схему «одиночного импульса», что позволяет осу-
ществлять работу счетчика от кнопки «ПУСК» и контролировать
изменение выходного кода счетчика на индикаторах Л1 — Л4.
При работе с осциллографом необходимо:
для обеспечения синхронизации соединить вход синхронизации
осциллографа со старшим разрядом выхода счетчика;
на вход 1-го канала осциллографа подать синхроимпульсы, поступающее на входы «С» счетчика и триггера;
вход 2-гo канала осциллографа соединить с выходом младшего
разряда счетчика.
Блок счетчиков включает синхронный декадный счетчик
СТ10 с возможностью синхронной установки в произвольное со-
стояние, асинхронным сбросом и дешифрирующим счетным вхо-
дом (рис. 6.4, 6).
Счетчик устанавливается в предварительное состояние при на-
личии на входе EWR уровня логического нуля. При этом состояние
входов «1, 2, 4, 8» записывается в счетчик по положительному пе-
репаду на входе синхронизации «С». На входы «1, 2, 4, 8» могут быть
записаны коды от 0 до 9. В режиме записи состояния входов EC1 и
ЕС2 могут быть любыми. Схема устанавливается в нулевое состоя-
ние подачей на вход «R » уровня логического нуля. Счет происходит
при наличии на входах ЕС1, ЕС2 и EWR уровня логической едини-
цы. Сигнал переноса положительной полярности вырабатывается
длительностью в один период сигнала синхронизации, на входе CR
устанавливается уровень логической единицы, после десятого –
уровень логического нуля.
Порядок выполнения работы
1. Собрать схему счетчика (пересчетную схему) в соответствии с
заданием при обесточенной лабораторной установке. При этом необ-
ходимо использовать следующие рекомендации:
первой закоммутировать цепь установки счетчика в нулевое со-
стояние по R-входам. Сигнал установки «0» необходимо подать на все
входы R с выхода одной из переключательных кнопок регистра, кото-
рый в свою очередь необходимо подключить на одну из лампочек ин-
дикации Л1 или Л5;
закоммутировать входы синхронизации С всех триггеров. Сигнал
синхронизации подается с выхода генератора одиночных импульсов
(ГОИ); вход генератора ГОИ подсоединить к выходу генератора син-
хроимпульсов СИ1 (СИ2);
в соответствии с заданием закоммутировать схему счетчика.
2. Исследовать работу схемы в режиме одиночного сигнала:
установить счетчик в нулевое состояние с помощью кнопки и переключить ее в исходное состояние (при этом должна загореться лам-
почка индикации);
проверить правильность функционирования схемы (по
лампочкам индикации) при последовательной подаче входных
сигналов с помощью кнопки генератора «Одиночный им-
пульс»;
измерить амплитуды выходных сигналов и построить по ним
потенциальные диаграммы работы схемы, используя вольтметр.
3. Исследовать работу схемы в автоматическом режиме:
отключить от исследуемой схемы цифровой вольтметр;
к входу схема счетчика С вместо генератора одиночных импуль-
сов подключить выход генератора синхроимпульсов (при этом лам-
почки индикации горят в полнакала);
включить цепь питания осциллографа (отжав кнопку «Пита-
ние»), переключить осциллограф в режим внешней синхрониза-
ции, на синхронизирующий вход осциллографа подать сигнал с
выхода старшего разряда счетчика Q4, подключить один вход ос-
циллографа к выходу генератора, а второй — к выходу 1-гo раз-
ряда схемы;
зарисовать осциллограммы с выходов всех разрядов схемы;
определить длительность сигнала, паузы и задержки (на уровне
0,5 амплитуды) на. одном разряде схемы и на всей схеме;
-
отключить питание и разобрать схему.















