Схемотехника ЭВМ0 (558136)
Текст из файла
ГОСУДАРСТВЕННЫЙ КОМИТЕТ РОССИЙСКОЙ ФЕДЕРАЦИИ
ПО ВЫСШЕМУ ОБРАЗОВАНИЮ
МОСКОВКИЙ АВИАЦИОННЫЙ ИНСТИТУТ
(государственный технический университет)
В.Ф. Нагорнова, Ю.В. Шаповалов, Ю.Б. Сотсков
СХЕМОТЕХНИКА ЭВМ
Лабораторные работы
Утверждено на заседании
редсовета 10 июня 1994г.
Москва 1995
Издательство МАИ
Нагорнова В.Ф., Шаповалов Ю.В., Сотсков Ю.Б. Схемотехника ЭВМ:
Лабораторные работы. – М.: Издательство МАИ, 1995. – 44 с.: ил.
Приведен цикл лабораторных работ по изучению основных операционных устройств вычислительной техники как комбинационного, так и последовательного принципа действия, которые должны выполнять студенты ряда специальностей при изучении курсов «Вычислительные машины и микропроцессорные устройства», «Схемотехника ЭВМ» и др.
Работы рассчитаны на самостоятельное выполнение студентами выданного задания.
Резеденты: В.В.Белынский, С.В. Яблонский
ПРЕДИСЛОВИЕ
Лабораторные работы выполняются на одном рабочем месте, оснащенном универсальным стендом, двухлучевым осциллографом и цифровым вольтметром.
Универсальный стенд представляет собой переносную настольную установку, содержащую постоянный набор интегральных элементов, сменных блоков узлов вычислительной техники и дополнительное оборудование. Входы и выходы всех элементов стенда выведены на наборное поле рис.П1. сборка исследуемых схем выполняется внешней коммутацией.
В левой части наборного поля расположены выходы генератора синхроимпульсов частотой 1мГц (СИ) и 500 кГц, вырабатывающего две сдвинутые на полпериода серии сигнала (СИ1 и СИ2); синхронизируемый генератор одиночных импульсов (ГОИ) и кнопкой пуска; формирователь узкого импульса, длительность которого регулируется изменением уровней преобразования входного сигнала; устройство задержки в диапазонах 0,02…0,1 мкс и 0,1…0,5 мкс.
В остальной части наборного поля расположены интегральные элементы.
Верхний ряд составляют два расширителя (схемы И с выходами К и Е), схемы И-ИЛИ-НЕ (одна расширяемая по входам К и Е), схемы И-НЕ, ИЛИ-НЕ и сменный блок счетчиков (СТ).
В среднем ряду расположены логические элементы И-НЕ, схемы сложения по модулю два (=1), схемы И, а также гнезда с нулевым потенциалом (_|_) и с напряжением +5В (+), соединенные между собой гнезда для коммутации и укрупненные гнезда для подключения осциллографа и цифрового вольтметра (включая синхронизацию и землю).
Ниже расположены синхронные триггеры типа J-K и типа D, имеющие установочные инверсные входы и встроенную индикацию на прямом выходе, схемы «повторителя» с тремя состояниями выхода с рабочим входом X и управляющим входом EZ (управляющий сигнал EZ=0) и схемы ИЛИ.
Самую нижнюю часть наборного поля занимают переключательные регистры (Т1-Т4 и Т5-Т8) с парафазным выходом по каждой кнопке (когда кнопка не нажата, на верхнем гнезде пары уровень единицы, а на а нижнем – уровень логического нуля, при нажатии кнопки уровни выходов меняются на противоположные) и лампочки индикации (Л1-Л8), которые зажигаются при подаче на вход логической единицы и гаснут при логическом нуле.
Рис. П1.
Работа №5. ИССЛЕДОВАНИЕ
СТРУКТУРНЫХ СХЕМ РЕГИСТРОВ
Цель работы: изучение структуры и исследование работы регистров.
Регистром называется быстродействующее запоминающее устройство, предназначенное для хранения, приема и выдачи двоичных слов.
Регистр представляет собой совокупность триггеров, число которых соответствует количеству разрядов в двоичном слове, и вспомогательных схем, позволяющих дополнительно реализовать следующие
функции регистров:
установку регистра в нуль (запись нулевого слова);
прием-передачу слова с поразрядной инверсией;
сдвиг слова вправо или влево на заданное число разрядов;
прием-передачу с преобразованием последовательного кода слова
в параллельный и наоборот. (При реализации последовательного кода
все разряды слова передаются во времени последовательно один за, другим по одной шине, при реализации параллельного кода все разряды слова передаются одновременно, каждый по своей шине).
На рис. 5.1 представлены схемы регистров на триггерах типа D и
типа J-K с приемом и выдачей параллельных кодов слов.
В этой схеме, использующей однофазный прием входного слова,
имеется шина установки нуля. Перед записью информации в регистр все
триггеры одновременно сбрасываются в ноль сигналом «Уст.0», затем
сигнал «Вход», поданный на входы синхронизации всех триггеров, одно-
временно пропускает по входам D соответствующие разряды слова.
Выдача информации с регистра может быть осуществлена в од-
нофазной форме: прямым кодом (с прямых выходов триггеров) или
обратным кодом (с инверсных выходов), а также и парафазной форме
(одновременно с обоих выходов каждого триггера, т.е. передачей од-
ного двоичного символа по двум шинам в прямой и инверсной форме.
В регистре на синхронных триггерах типа J-K можно реализовать
выполнение следующих поразрядных логических операций над преж-
ним содержание регистра и входным словом:
логического сложения (дизъюнкции)
логического умножения (конъюнкции)
сложения по модулю 2 (неравнозначности)
Здесь
– предыдущее содержимое i-го разряда регистра;
–
соответствующий разряд входного слова;
– новое содержимое i-го
разряда регистра.
Операция логического сложения выполняется передачей прямого
кода второго операнда на входы J-триггеров регистра без предвари-
тельного гашения первого операнда. Операция может быть использо-
вана для формирования в регистре n-разрядного кода из нескольких
малоразрядных кодов.
Операция логического умножения выполняется передачей обрат-
ного кода второго операнда на входы К-триггеров регистра без пред
варительного гашения первого операнда. Операция обычно использу-
ется для выделения части разряда кода.
Операция сложения по модулю 2 выполняется передачей прямого
кода второго операнда одновременно на оба входа J и К триггеров
регистра без предварительного гашения первого операнда. Операция
используется для сравнения операндов, признак совпадения — нуле
вой код результата.
Регистры, выполняющие операцию сдвига, называются сдвигающ-
ими регистрами.
По способу межразрядных связей сдвигающие регистры бывают с
однофазной передачей информации (на триггерах типа D) и с пара-
фазной передачей информации (на триггерах типа j-k).
Пo направлению сдвига регистры делятся на три типа: регистры,
сдвигающие вправо; регистры, сдвигающие влево; реверсивные сдви-
гающие регистры, которые в зависимости от управляющих сигналов сдвиг кодов или вправо, или влево. При наличии цепей
связей между младшим и старшим разрядами сдвигающие регистры
называются кольцевыми. Такие схемы удобны для исследования, об-
ладают свойством деления частоты входных сигналов и могут быть
использованы в качестве счетчиков.
На рис. 5.2, а представлена однофазная схема сдвигающего реги-
стра на D-триггерах, реализующая сдвиг кода влево. Шина «Уст. 0»,
на которую подается сигнал установки нулевого слова, связана со вхо-
дами R всех триггеров регистра.
Рассмотрим работу схемы в кольцевом режиме (выход триггера
старшего разряда регистра связан со входом триггера младшего раз-
ряда) при наличии в регистре двоичного кода 0001. С приходом сиг-
нала сдвига на входы синхронизации С всех D-триггеров происходит.
перезапись информации из каждого i-го разряда в (i – 1)-й разряд и
из 1-го в 4-й (за счет кольцевой связи). После поступления первого
сигнала сдвига содержимое регистра представляет код 0010., после
второго сигнала сдвига — 0100 и т.д. (см. временную диаграмму на
рис. 5.3, а). После поступления четырех сигналов сдвига восстанав-
ливается начальное содержание регистра 0001.
На рис. 5.2, б представлена парафазная схема сдвигающего регистра, выполненная на триггерах типа J-К и реализующая сдвиг вправо. Межразрядная связь осуществляется соединением выходов
и
триггеров (i – 1)-го разряда со входами J и K соответственно триггера i-го разряда. Временная диаграмма работы схемы указана на рис.5.3, б.
Схема реверсивного сдвигающего регистра на триггерах типа D
приведена на рис. 5.4, где каждый i-разряд схемы соединен с (i–1) -
разрядом и с (i+1)-разрядом посредством логических элементов «И--
ИЛИ-НЕ, единичный выход которых определяется наличием хотя бы од-
ного нуля на входе каждой из схем И (рекомендуем составить само-
стоятельно таблицу истинности функции данного элемента
=
).
Поэтому выбор режима осуществляется отключением одной
из схем И сигналом 0.
Так, при постоянном нулевом сигнале на шине управления ревер-
сом, соединенные с ней верхние элементы И — НЕ влияют на работу
схемы. Соединение нижних (работающих) элементов И обеспечивает
передачу информации для сдвига вправо, от (i-1)-го разряда к i-му.
При постоянном нулевом сигнале на шине «влево» управления ревер-
сом отключены нижние элементы И, а соединение верхних обеспечи-
вает сдвиг информации влево, от (i+1)-го разряда к i-му.
Включение шин управления реверсом должно быть раздельным. Применение элементов И-ИЛИ-НЕ в данной схеме определяет необходимость использования инверсных выходов триггеров.
Кольцевые сдвигающие регистры могут быть использованы при
построении счетчиков с постоянно взвешенными кодами, для ко-
торых число единиц и нулей в каждом устойчивом состоянии посто-
янно.
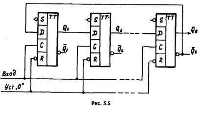
Простейшим счетчиком этого класса является счетчик Джонсона,
работающий в, коде Либау-Крейга:
| 00000 | 11111 |
| 10000 | 01111 |
| 11000 | 00111 |
| 11100 | 00011 |
| 11110 | 00001 |
Указанный код реализуется на сдвигающем регистре с одной ин-
версной связью между пятым и первым разрядом (рис. 5.5). Такие схе-
мы обладают 2-n устойчивым состояниями.
Порядок выполнения работы
Прежде чем приступить к выполнению работы, необходимо изу-
чить схему стенда, ознакомиться с расположением кнопок и гнезд на
нем и собрать исследуемую схему в соответствии с заданием.
Поразрядные логические операции в регистре
-
Соединить синхровходы С всех 4-х триггеров типа J-К с пря-
мым выходом кнопкой
, нажатие которой будет сигналом выпол-
нения операции. Соединить прямой выход кнопки
со входом J
первого триггера, прямой выход кнопки
со входом J второго триг-
гера и т.д. Содержимое триггеров является первым операндом опе-
рации, положение кнопок
–
со вторым операндом. Установить
код 0011 на регистре и код 0101 на переключателе. Выполнить опе-
рацию логического сложения нажатием кнопки
, составить таб-
лицу результатов. -
Изменить соединение регистра с переключателем, подав инвер-
сные выходы кнопок
–
со входами К соответствующих триггеров.
Установить те же коды на регистре (0011) и переключателе (0101),
выполнить операцию логического умножения, составить таблицу ре-
зультатов. -
Объединить на каждом триггере входы J и К, соединив их с прямым выходом соответствующей кнопки переключателя. Выполнить
при тех же исходных кодах операцию сложения по модулю 2, соста-
вить таблицу результатов.
Четырехразрядный сдвигающий регистр.
Характеристики
Тип файла документ
Документы такого типа открываются такими программами, как Microsoft Office Word на компьютерах Windows, Apple Pages на компьютерах Mac, Open Office - бесплатная альтернатива на различных платформах, в том числе Linux. Наиболее простым и современным решением будут Google документы, так как открываются онлайн без скачивания прямо в браузере на любой платформе. Существуют российские качественные аналоги, например от Яндекса.
Будьте внимательны на мобильных устройствах, так как там используются упрощённый функционал даже в официальном приложении от Microsoft, поэтому для просмотра скачивайте PDF-версию. А если нужно редактировать файл, то используйте оригинальный файл.
Файлы такого типа обычно разбиты на страницы, а текст может быть форматированным (жирный, курсив, выбор шрифта, таблицы и т.п.), а также в него можно добавлять изображения. Формат идеально подходит для рефератов, докладов и РПЗ курсовых проектов, которые необходимо распечатать. Кстати перед печатью также сохраняйте файл в PDF, так как принтер может начудить со шрифтами.















