книга1234_2 (558021), страница 2
Текст из файла (страница 2)
Конденсатор C21 устраняет в выходном каскаде отрицательную обратную связь по переменному току для предотвращения снижения коэффициента усиления каскада. Развязывающие фильтры (R10, C18 и R14, C20) ослабляют паразитную связь между каскадами модуляционного устройства через источника питания.
Питание радиопередатчика осуществляется от общего источника Б. Резисторы (R4, R5, R10, R16) на которых падает часть напряжения источника питания, позволяют осуществить требуемый режим питания каскадов радиопередатчика и защитить транзисторы в случаях резкого увеличения тока в их цепях от пробоя. Включается радиопередатчик выключателем В1.
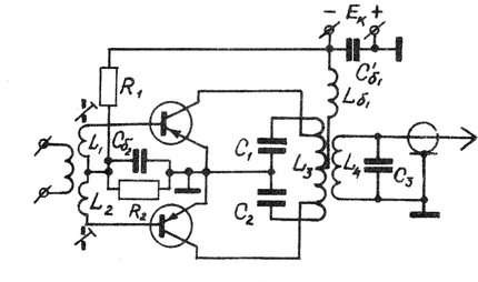
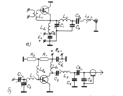
Принципиальная схема не перестраиваемого коротковолнового радиопередатчика с амплитудной коллекторной модуляцией, осуществляемой в выходном каскаде, приведена на рис.3.2. Радиопередатчик состоит из трех высокочастотных каскадов и модуляционного устройства.
Задающий генератор - автогенератор по схеме с автотрансформаторной обратной связью - собран на транзисторе Т1 по схеме с общим эмиттером. Частота колебаний задается колебательным контуром L1 , L2, L3, C4, C5. Первоначальная подстройка контура осуществляется изменением индуктивности катушки при помощи специального сердечника. Для повышения стабильности режима автогенератора стабилизировано питающее напряжение транзистора Т1 ( D1, R4, C1) и применена температурная стабилизация по схеме с тремя резисторами (R1, R2, R3) , осуществляющими подачу комбинированного смещения на базу.
Промежуточный усилитель собран на транзисторе T2 по схеме с общим эмиттером для получения большого усилителя. Колебательный контур усилителя L4, C8 настроен на частоту возбуждения и имеет неполное включение в коллекторную цепь для получения необходимого эквивалентного сопротивления коллекторной нагрузки. Смещение на базе и температурная стабилизация режима транзистора T2 осуществляется резисторами (R6, R7, R8) Связь усилителя с выходным каскадом - трансформаторная. Выходной каскад - мощный усилитель - собран на транзисторах Т3, Т4 по двухтактной схеме для увеличения выходной мощности. Смещение на базе транзисторов - нулевое. Для получения симметричной работы схемы во входной цепи каскада предусмотрена возможность регулировки амплитуды возбуждения каждого из транзисторов путем . изменения индуктивности катушек L5, L6 специальными сердечниками.
Колебательный контур L7, C10 усилителя настроен на рабочую частоту и не полностью включен в коллекторную цепь. Для осуществления качественной амплитудной модуляции добротность нагруженного коллекторного контура бывает невысокой, поэтому специальной подстройки частоты контура не предусмотрено. Коллекторная колебательная система построена по сложной схеме, состоящей из двух настроенных контуров: промежуточного ( L7, C10) и антенного, образованного катушками (L8, L9) конденсатором C12 и входным сопротивлением антенны Za . Связь между контурами - трансформаторная. Напряжение коллекторного питания транзисторов T3, T4 подводится к средней точке катушки L7 . Модулирующее напряжение подается в цепь коллекторного питания вторичной обмоткой трансформатора Tp2 выходного модуляционного устройства.
Модуляционное устройство состоит из трех каскадов : микрофонного усилителя, предварительного усилителя и усилителя мощности.
Микрофонный усилитель собран на транзисторе T5 по схеме с общим эмиттером. Электродинамический микрофон (Мк) подключен ко входу каскада через фильтр (Dp1, C13). Предварительный усилитель собран по трансформаторной схеме на транзисторе T6 . Смещение на базе транзисторов Т5 , Т6 и температурная стабилизация режима обеспечивается по схеме с тремя резисторами (R8, R9, R11, R13, R14, R15).
Выходной каскад - усилитель мощности - собран по двухтактной
схеме на транзисторах Т7,Т8, работающих в режиме В с утлом отсечки коллекторного тока, близким к 90°, для получения высокого К. П. Д. коллекторной цепи.
Отпирающее смещение на базе транзисторов Т7, Т8 подается от источника питания Б с помощью делителя из резисторов R17, R18. В коллекторной цепи каскада имеется трансформатор Тр2 , вторичная обмотка которого включена в коллекторную цепь выходного каскада радиопередатчика. Для коррекции частотной характеристики выходного каскада на высоких частотах используется отрицательная обратная связь по переменному напряжению, осуществляемая конденсаторами С19, С20, Для ослабления паразитной связи между каскадами модуляционного устройства через источник питания в схеме применены развязывающие фильтры (R12, C15, R16, C17).
Питание радиопередатчика осуществляется от общего источника Б, имеющего отвод Б1 к каскадам с более низким напряжением, чем напряжение общего источника. Включение радиопередатчика производится выключателем В1 и контролируется сигнальной лампой Л1.
§4. ПОРЯДОК ТЕХНИЧЕСКОГО РАСЧЕТА ВЫСОКОЧАСТОТНЫХ КАСКАДОВ РАДИОПЕРЕДАТЧИКА
После выбора блок-схемы и вида амплитудной модуляции радиопередатчика переходят к техническому расчету его высокочастотных каскадов. Порядок расчета всех каскадов может быть принят одинаковым :
1. Выбор типа и числа транзисторов.
2. Выбор принципиальной схемы каскада.
3. энергетический расчет режима транзистора.
4. Электрический расчет величин элементов колебательных цепей.
5. Расчет цепей питания и всех вспомогательных элементов схемы каскада. Расчет радиопередатчика обычно начинается с расчета выходного каскада, так как указанные в задании требования главным образом относятся к: выходному каскаду. Затем выполняются расчеты каскадов промежуточного усилителя и автогенератора. В конце каждого расчета необходимо определить все величины, которые будут служить исходными данными для последующих расчетов. По результатам расчетов составляется полная принципиальная схема высокочастотного тракта радиопередатчика.
§ 5. ОБЩИЕ ВОПРОСЫ РАСЧЕТА РЕЖИМА ТРАНЗИСТОРА НА ПОВЫШЕННЫХ ЧАСТОТАХ
Исходными данными для технического расчета режима транзистора являются: величина колебательной мощности*P , рабочая частота f (или диапазон частот), вид амплитудной модуляции и максимальный коэффициент модуляции M , интервал температур Tmin+Tmax окружающей среды, схема включения транзистора ( с общим эмиттером или с общей базой).
Точный расчет режима транзистора усилителей и автогенераторов при работе их с отсечкой коллекторного тока на высоких частотах представляет собой сложную задачу и в настоящее время недостаточно разработан. В данном руководстве использован упрощенный , основанный на ряде допущений метод расчета, приведенный в работе [1]. Предполагается также, что в высокочастотных каскадах используются транзисторы средней и малой мощности, а максимальная рабочая частота каскадов удовлетворяет условию f < 0,3 + 0,5fa**.Условимся также о положительных направлениях нормальных токов и напряжений для транзисторов типа n-p-n и типа p-n-p . Как известно , для транзисторов типа n-p-n направления нормальных токов и напряжений обратны тем, которые имеют место для транзисторов типа p-n-p. Чтобы не вводить в формулы и графики характеристик отрицательные величины, примем для транзисторов p-n-p за положительные направления токов и напряжений обратные тем, которые принимаются положительными в случае транзисторов
n-p-n . Положительные направления токов и напряжений для этих типов транзисторов показаны на рис. 5.1.-
В транзисторных усилительных каскадах, как правило, используется схема с общим эмиттером, которая дает наибольшее усиление по мощности. В автогенераторах используется как схема с общим эмиттером, так и схема с общей базой. При работе автогенератора на частотах f <<f чаще применяется схема с общим эмиттером, а на частотах, близких f , как правило, схема с общей базой.
В дальнейшем методика расчета будет рассматриваться применительно к транзисторным каскадам по схеме с общим эмиттером, как наиболее употребительной при работе транзистора на частотах f<
Технический расчет режима транзистора разделяется на два
этапа:
1) выбор типа транзистора;
2)Энергетический расчет режима транзистора.
___________________
*)Для случая амплитудной модуляции транзисторного каскада задается величина колебательной мощности в режиме несущих колебаний Р н.
**)Граничную частоту усиления по току в схеме с общей базой обозначают символом f, но допустимо и обозначение ccf ,которое будет использовано в данном руководстве.
Рис.5.1. Положительные направления токов и напряжений:
а – для транзистора n-p-n;
б - для транзистора p-n-p.
§ 6.ВЫБОР ТИПА ТРАНЗИСТОРА
Выбор типа транзистора производится исходя из возможности нормальной работы его в заданном диапазоне частот и по допустимой мощности рассеивания Ppдоп корпусом транзистора.
Обычно при выборе типа транзистора производится сравнение рабочей частоты f (или максимальной частоты рабочего диапазона)с частотой f. Желательно выбирать такой тип транзистора, у которого частота f удовлетворяла бы неравенству
F<(0,2-0,3)f (6.1)
В противном случае импульс тока коллектора из-за инерционных - явлений существенно расширяется во времени, вследствие чего к.п.д. и коэффициент усиления по мощности транзистора уменьшаются. В справочнике в ряде случаев частота f, отсутствует, но зато. указывается частота fт*).Частоты fт и f связаны приближенным соотношением [2]
f-1,2fт-для диффузионных (т.е. без дрейфовых),транзисторов
f=(1,6)fт -дпя дрейфовых транзисторов.
Выбор транзистора по допустимой мощности рассеивания Ppдоп производится из условия
Ppдоп>Pp
где Pp - мощность, рассеиваемая, корпусом транзистора в, выбранном режиме работы.
Обычно в справочнике приводится величина Ppдоп при температуре окружающей, среды 20 - 5 С или при некоторой номинальной, температуре tном , а также формула для определения Ppдоп при температуре, отличающейся от номинальной. Если работа транзисторного каскада происходит при температуре t (или в интервале температур) , отличающейся от tном, указанной в справочнике, то следует найти. величину. допустимой мощности рассеивания при заданной температуре (или при максимальной температуре интервала температур) по формуле, приведенной в справочнике (например, в: [5] ) либо соотношения
где Ppном - номинальная допустимая мощность рассеивания при температуре окружающей среды tном
, tдоп - допустимая температура переходов в транзисторе. Для кремниевых плоскостных транзисторов tдоп =150
, для германиевых tдоп = 85
. В связи с этим использование кремниевых транзисторов является предпочтительнее.
Мощность рассеяния Pp складывается из Мощности, -выделяемой на коллекторном переходе транзистора Pк , и мощности поступающей в транзистор - из базовой цепи Pб ,т. е.
Pp= Pк+ Pб [6,4]
измеренная на частоте f , то значение частоты fт можно определить по формуле fт =f.
** Допустимая мощность рассеивания Ppдоп ,в справочнике [5] имеет обозначение Pm , а в технических условиях на транзистор Pк.
Мощность Рк составляет существенную часть, рассеиваемой мощности обычно лишь в тех случаях, когда коэффициент усиления по мощности транзистора невысок (менее 5). Поэтому мощность Рр. с учетом мощности рассеивания в цепи" базы ориентировочно можно принять равной.
В свою очередь, мощность Рк может быть оценена по заданной величине колебательной мощности Рр и злектронному к.п.д.
При амплитудной модуляции мощность, рассеиваемая коллекторным переходом транзистора, оценивается в режиме, где она достигает наибольшей величины. Так при базовой модуляции смещением мощность Рк будет наибольшей в режиме несущих колебаний а при коллекторной - при наличии наиболее глубокой модуляции. Поэтому при базовой модуляции смещением
а при коллекторной модуляции
Где Ркн ,и Ркср - соответственно. мощности рассеивания на коллекторном переходе в режиме несущих колебаний и в среднем режиме модуляции.
Для предварительного определения мощности Рк по формуле (6.7), (6,8) Величиной электронного к.п.д. можно задаться, исходя из практических данных: при немодулированных колебаниях и - при коллекторной модуляции обычно составляет 0,6 - 0,7, а при базовой модуляции смещением (в режиме несущих колебаний) =0,3-0,4.
После подсчета мощности Рр по формуле (6.5) по справочным данным (например,[5] ) выбирается тип транзистора, для которого выполняются соотношения (6.1) и (6.2). Если транзистор удовлетворяет условию (6.1), но его мощность Ррдоп меньше Рр, то можно применить двухтактное или параллельное включение таких транзисторов. В некоторых случаях необходимого увеличения мощности Ррдоп можно достигнуть применением специального радиатора, присоединяемого к корпусу транзистора.
Параметры выбранного типа транзистора целесообразно свести в табл.1.
Таблица.1.
_____________________________
*fт- частота, при которой модуль коэффициента усиления по , току в схеме с общим эмиттером =1. Если в справочнике приводится величина
В этой таблице
0 - коэффициент усиления по току в схеме о общим Эмиттером на Низких частотах
Sб - крутизна линеаризованной статической характеристики
S0 - крутизна линеаризованной статической характеристики
Iк=fк(Uб)
Sгр.- крутизна линии граничных режимов характеристики
Iк=к(Uк)
Ррдоп - допустимая мощность, рассеиваемая корпусом транзистора
при температуре окружающей среды t С.
Еб - напряжение сдвига линеаризованной характеристики
Ir=fк(Uб)
Uкдоп, Uэбдоп - цепях коллектор-эмиттер и эмиттор - база. При работе с отсечкой коллекторного тока θ <l20º можно принять (см. [7]) Uкдоп = Uкбдоп , где Uкбдоп -обратно предельно допустимое напряжение в цепи коллектор-база при разомкнутой цепи эмиттера;
rб - сопротивление базового слоя между эмиттерным p-n переходом и внешним выводом базы;
Скб - емкость коллекторного перехода (т.е. перехода коллектор-база);
fвх - частота, при которой напряжение на эмиттерном . переходе вследствие возрастания тока уменьшается в 1,4 раз по сравнению со своей величиной на низких частотах (при f
Отметим, что нередко в справочных данных значения параметров βо, Sб, So, Sгр, rб, отсутствуют. В этом случае величина коэффициента βо определяется известным методом по характеристикам а , крутизна Sб - по характеристикам :
После этого крутизна So находится как
S0=Sб·β0
Крутизна Sгр линии граничных режимов определяется по характеристикам :
Величины rб И fвх ориентировочно находятся из соотношений [2] :
В формуле (6.9) к - постоянная времени цепи обратной связи транзистора, равная произведению Ска* и обычно приводимая в справочнике; А - отношение . Для транзисторов сплавно-диффузионного типа А=2 , а для многоэмиттерных А=3-4. Входящие в и А емкости Скб Ска связаны соотношением :
Скб=Ска+Скп
где Ска - емкость активной области перехода, расположенной непосредственно против эмиттера;
*В справочные данные на транзистор вносятся измеренное значение rбСка, а записывают его как rб Скб .
Скn - емкость пассивной области перехода, расположенной над коллекторной, в которую также входит паразитная емкость между выводами коллектора и базы.
Значения емкостей Ска и Скб , измеренные для некоторых типов транзисторов, приведены в табл.1 Приложения.
§ 7. ЭНЕРГЕТИЧЕСКИЙ РАСЧЕТ РЕЖИМА ТРАНЗИСТОРА
Энергетический расчет режима транзистора производится для граничного режима работы и для случая настроенной в резонанс с частотой возбуждения коллекторной колебательной системы, добротность которой в нагруженном состоянии предполагается большой по сравнению с единицей.
Обычно за исходные данные для расчета выбирают величины колебательной мощности Р и угла θ отсечки коллекторного тока. Но в иных случаях для расчёта задаются величинами других параметров, однако в данном руководстве эти случаи не рассматриваются.
В случае амплитудно - модудированных колебаний расчет выполняется для максимального режима, который должен быть граничным. Расчёт ведется на максимальную колебательную мощность
Р~макс=Р~н(1+m) (7,1)
где Рн- колебательная мощность в режиме несущих колебаний;
m - максимальный коэффициент модуляции
В тех случаях, когда применяется двухтактная или параллельная работа транзисторов в одном каскаде, расчёт выполняется на колебательную мощность @ одного транзистора с учетом запаса по мощности вызванного (неодинаковой работой транзисторов) примерно на 20%, а затем производится пересчёт на n транзисторов схемы.
ВЫБОР УГЛА ОТСЕЧКИ КОЛЛЕКТОРНОГО ТОКА θ
При выборе угла θ надо иметь в виду, что величина угла отсечки существенно влияет на величины электронного к.п.д. η и коэффициента усиления по мощности Kр , определяемых как
где
Р- колебательная мощность в коллекторной цепи транзистора;
Р0- мощность, потребляемая транзистором от источника питания коллекторной цепи
Рб0- мощность возбуждения, поступающая в базовую цепь транзистора.
С уменьшением угла отсечки величина η увеличивается, а Кр падает. Последнее приводит s увеличению мощности, требуемой от предыдущего каскада. Увеличение же угла отсечки приводит к увеличению коэффициента Кр, но к снижению к.п.д. и вследствие этого s увеличению мощности, рассеиваемой в транзисторе. Для получения одновременно достаточно высоких величин Кр и η можно рекомендовать выбор угла отсечки в пределах
Θ=60-90 (7,4)
Углам отсечки θ=70-85° соответствует режим работы транзистора при нулевом напряжении смещения на базе, который является выгодным как с энергетической стороны ( не требуется дополнительная мощность на питание цепи смещения), так и с конструктивной ( отсутствуют детали цепи смещения). Однако при амплитудной модуляции на базу принять нулевое смещение на ней в режиме несущих колебаний оказывается не всегда возможным, если необходимо в расчётном режиме получить угол отсечки θ более 85°. Следует также отметить, что режим с: нулевым смещением не является лучшим и сточки зрения величины мощности , рассеиваемой в транзисторе. В тех случаях, когда необходимо уменьшить мощность рассеивания, устанавливают режим транзистора с запирающим напряжением смещения и таким образом получают угол отсечки меньше 70°.
ВЫБОР ВЕЛИЧИНЫ ПОСТОЯННОГО КОЛЛЕКТОРНОГО НАПРЯЖЕНИЯ Ек
Важным решением вопроса при определении режима транзистора является выбор величины напряжения коллекторного питания.
При работе транзисторного каскада в режиме немодулированных колебаний максимальное значение напряжения между коллектором и Эмиттером в граничном режиме.
Uкмакс=Ек+Uк(1+гр) (7,5)
где
Ek - напряжение коллекторного питания;
Uk - амплитуда напряжения на сопротивлении коллекторной цепи;
гр - коэффициент использования коллекторного напряжения в граничном режиме.
Напряжение Uкмакс должно удовлетворять условию
Uкмакс < Uкдоп (7,6)
Отсюда, с учетом соотношения (7.5) допустимое значение напряжения коллекторного питания
ЕкUкдоп/(1+гр) (7,7)
Если принять гр=1, то
ЕкUкдоп/2 (7 , 8)
т.е. напряжение коллекторного питания должно быть существенно снижено по сравнению с допустимым
Для безотказной работы транзистора необходимо не только не превышать допустимое значение напряжения Uкдоп но и вводить определенный запас по сравнению с Uкдоп, т.е.
ЕкUкдоп/Кз(1+гр) (7,9)
где Кз- коэффициент запаса, который рекомендуется брать примерно равным 1,1-1,2
Указанное обстоятельство следует особо учитывать при выборе напряжения коллекторного питания транзисторов, используемых в аппаратуре, к которой предъявляются повышенные требования к надежности (.например, бортовой радиопередатчик летательного аппарата).
Существенное снижение напряжения Ек по сравнению с напряжением Uкдоп предпочтительно осуществлять также при неполном использовании транзистора по номинальной колебательной мощности, например, в задающем генераторе радиопередатчика. В случае применения в каскаде амплитудной базовой модуляции напряжение коллекторного питания транзистора выбирается из тех же соображений, что и для немодулированного каскада. В каскаде с амплитудной коллекторной модуляцией режим работы транзистора по коллекторному напряжению будет более легким, чем в немодулированном каскаде, поэтому коэффициент запаса Кз может быть снижен и принят
Кз=1,05 –1,1 (7,10)
При применении в каскаде коллекторной модуляции обычно выбирают величину напряжения коллекторного питания транзистора в режиме несущих колебаний Екн . Учитывая, что при этом виде модуляции в момент максимального режима напряжение на коллекторе увеличивается в (1+М) раз, напряжение Екн выбирается из соотношения
ЕкUкдоп / Кз(1+гр)(1+m) (7,11)
Сделаем еще одно замечание практического характера, желательно (но необязательно), чтобы величины напряжения Ек отдельных каскадов высокочастотного тракта радиопередатчика по возможности меньше отличались друг от друга, так как это позволит лучшим образом использовать мощность источника питания, т.е. избежать потерь мощности на резисторах, снижающих напряжение.
ПОРЯДОК РАСЧЕТА РЕЖИМА
Рассмотрим возможный порядок энергетического расчёта режима транзистора усилительного каскада по схеме с общим эмиттером на
заданную величину колебательной мощности Р при выбранных угле отсечки θ и напряжении коллекторного питания Ек .
Порядок расчета рассмотрим для трех случаев: режим немодулированных колебаний, режим амплитудной коллекторной модуляции и режим амплитудной модулями смещением на базу.
Перед расчётом для выбранного угла отсечки θ определяйся величины, необходимые для расчёта амплитуд гармонических составляющих коллекторного тока транзистора:
вх - параметр входной цепи транзистора, где
2f
-
рабочая частота, = 2fвх постоянная времени входной цепи транзистора
f / fвх (7,12)
0(,вх) и 1(,вх)-модули коэффициентов разложения импульса
коллекторного тока соответственно для
постоянной составляющей и первой гармоники;
вх(,вх) -угол запаздывания первой гармоники коллекторного тока просительно напряжения на входных зажимах транзистора;
(,вх) - угол прекращения импульса коллекторного тока;
экв - угол отсечки эквивалентного косинусоидального импульса коллекторного тока,
экв=`-вх
d1(экв) коэффициент первой гармоники эквивалентного косинусоидального импульса коллекторного тока
Величины θ’, вх ,0,1,находятся для известных величин θ и из табл.2.Приложения или по графикам, приведенным на рис.7.1-7.4. Коэффициент d1 (θэкв) для найденного значения θэкв. берется из табл.3.Приложения. Найденные величины целесообразно свести в табл.2.
Таблица 2
Рис 7.1Рис 7.2
Зависимость угла θ’от угла θ Зависимость от угла θ’
А. СЛУЧАЙ НЕМОДУЛИРОВАННЫХ КОЛЕБАНИЙ
Режим работы -граничный.
1.Находим величину коэффициента использования коллекторного напряжения в граничном режиме.
2.Амплитуда напряжения на коллекторной нагрузке
Uк=грЕк (7, 14)
З.Амплитуда первой гармоники коллекторного тока
Iк=2P/Uк (7,15)
4.Постоянная составляющая коллекторного тока
Iко= 0/1 Iк1 (7,16)
5.Мощность, потребляемая от источника коллекторного питания
P0=Iк0Ек (7,17)
6.Мощность рассеивания на коллекторе
Рк=Р0-Р (7,18)
7.Электронный к.п.д.
=Р /Р0 (7,19)
8. Требуемое сопротивление коллекторной цепи дяя первой гармоники коллекторного тока
Rк=Uк/Iк1 (7,20)
9.Амплитуда напряжения возбуждения в цепи базы
Uб=Iк1/S01 (7,21)
10.Налряжение смещения на базе
Eб= - Uбcos+Eб` (7,22)
Примечаниё. В этом пункте следует провести проверку на выполнение условия
Uбмин=Еб-UбUэбдоп (7,23)
Далее по характеристике iб=fб(Uб) убедиться, что рабочая точка при Uб=Eб+Uб находится на участке характеристики, где крутизна ее равна величине S принятой перед началом расчёта. Если рабочая точка лежит на участке с иным значением крутизны, то следует ввести новое значение крутизны в расчёт и вновь найти все величины, характеризующие режим транзистора. 11. Мощность возбуждения Pб~ Ввиду большой сложности точного определения мощности возбуждения, ее величину оценим приближенно, приняв, что большая часть напряжения возбуждения падает на сопротивление базы , тогда
Pб~Uб2/2rб (7,24)
точность такой оценки тем больше, чей ближе рабочая частота каскада к граничной частоте f. На более низких частотах, чей fрасчёт мощности возбуждения по формуле (7.24) дает завышенное значение.
Это завышение можно рассматривать при проектировании как некоторый запас по мощности возбуждения на случай разброса параметров транзистора. Для обеспечения на входе транзистора мощности возбуждения, необходимой для его работы в выбранном режиме, следует предусмотреть возможность регулировки связи его входной цепи с коллекторным контуром предыдущего каскада.
12.Ностоянная составляющая тока базы ( ориентировочно )
Iб0Iк0/0 (7,25)
13.Коэффициент усиления по мощности
Кр=Р/Рб (7,26)
14.Мощность рассеивания в транзисторе
Рр=Рк+Рб (7,27)
Здесь необходимо сделать проверку на выполнение условия
Рр<Ррдоп при tраб=tC (7,28)
где tраб - температура окружающей среды, заданная в технических условиях на радиопередатчик.
Если условие (7.28) не выполняется, то надо либо изменить режим работы транзистора, уменьшив угол отсечки θ , либо предусмотреть радиатор к корпусу транзистора. Если эти меры не приводят к выполнению соотношения (7.28), то следует выбрать другой тип транзистора , имеющий большую величину Ppдоп , и проделать расчёт заново.
А.СЛУЧАЙ КОЛЛЕКТОРНОЙ МОДУЛЯЦИИ
Вначале рассматривается максимальный режим работы транзистора на колебательную мощность
Рмакс=Рн(1+m) 2 (7,29)
Расчет ведется на коллекторное напряжение
Ек макс=Екн(1+m) (7,30)
и на граничный режим работы.
Порядок нахождения величин, определяющих режим работы транзистора такой же, как и в случае немодулированных колебаний (см. пункт а.) Все определяемые для максимального режима величины отмечаются индексом "макс".
Затем производится расчёт режима несущих колебаний. Данные этого режима рассчитываются, исходя из линейности модуляционной характеристики по известным соотношениям.
Величины ,, Еб, Uб, Rk Режиме несущих колебаний остаются такими же, как и в максимальном режиме.
Далее для среднего режима модуляции определяются
В этом режиме производится проверка
Рр=Ркср+Рб~срРрдоп при t=tрабС
где для оценки рассеиваемой мощности можно приближенно принять
Рб~ср Рб~макс
В. СЛУЧАЙ БАЗОВОЙ МОДУЛЯЦИИ СМЕЩЕНИЕМ
Рассчитывается максимальный режим работы на колебательную мощность
Р~макс= Р~н(1+m)2
Расчет ведется на выбранное коллекторное напряжение Eк, граничный режим работы.
Расчет выполняется в том же порядке, что и для случая немодулированных колебаний (см. пункт А).
Для дальнейших расчетов необходимо знать данные о минимальном режиме работы. Для упрощения примем, что минимальному режиму соответствует нулевая точка статической модуляционной характеристики при Eб.=Ебмах. (см. рис. 2.2). В этой точке происходит запирание транзистора, поэтому все токи и мощность в этом режиме
равны нулю. Для этой точки
Ебмин0=-Uб+Е`б
Данные режима несущих колебаний рассчитываются в предположении линейности статической модуляционной характеристики по соотношениям
Так как в режиме несущих колебаний мощность рассеивания
на транзисторе максимальна, то именно в этом режиме следует проверить допустимость величины этой мощности для выбранного транзистора
Рр=Ркн+Рб~срРрдоп при t=tрабС
При оценке Ро можно приближенно принять Рб=Рбмах *
Напряжения Ек и Uб в этом режиме такие же, как и максимальном режиме. Напряжение смещения Еб можно найти из соотношения, полученного при помощи пропорции из подобия треугольников на рис .2.2.,
Ебн=(Ебмакс+mЕбмин0)/(1+m)
*Практически мощность возбуждения в режиме несущих колебаний меньше по сравнению с мощностью максимального режима вследствие уменьшения тока базы.
Данные для среднего режима модуляции рассчитываются по формулам
§8. РАСЧЕТ ЭЛЕМЕНТОВ СХЕМЫ ПИТАНИЯ ТРАНЗИСТОРНОГО КАСКАДА
Для осуществления рассчитанного режима на коллектор и базу
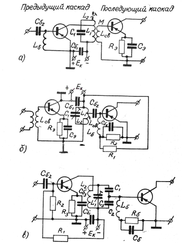
транзистора необходимо подать постоянные напряжения Ек и Еб ,величины которых получены при расчете. Для питания коллекторной базовой цепей транзистора может быть применена последовательная или параллельная система питания (рис.8.1 и 8.2), причем предпочтительной является последовательная система как более простая в конструктивном отношении. Выбор системы питания в базовой цепи усилительного каскада может в некоторых случаях зависеть от вида связи с предыдущим каскадом и от системы питания коллекторной цепи. этого каскада. Так, например, если система питания коллекторной цепи предыдущего каскада последовательная, а связь о этим каскадом автотрансформаторная (см. рис.8.2, б), то в базовой цепи необходимо применить параллельную систему питания.
В качестве внешнего источника питания в транзисторных радиопередатчиках малой и средней мощности преимущественно используются химические источники тока - сухая или аккумуляторная батарея [10] .
Смещение на базе транзистора может быть либо фиксированным, когда его величина задается внешним источником постоянного напряжения , либо автоматическим за счет протекания через резистор постоянной составляющей тока базы или тока эмиттера транзистора.
Рис.8.I. Системы последовательного (а.) и параллельного (6) питания в коллекторной цепи.
Рис.8.2. Системы последовательного (А) и параллельного (Б) питания в базовой цепи.
Прямое (отпирающее) напряжение смещения на базу транзистора обычно подается от источника коллекторного напряжения Ек с помощью делителя из резисторов R1 и R2 (см.рис.8.2,б) или заменяющего его потенциометра. Ток в делителе (или потенциометре) Iдел следует устанавливать большей величины, чем постоянная составляющая тока базы Iбс , но для уменьшения расхода энергии источника питания его желательно брать меньше постоянной составляющей коллекторного тока Iкэ (особенно это важно в мощных каскадах радиопередатчика), т.е. должно выполняться следующее неравенство:
Iбо<<Iдел<Iкз (8,1)
При выборе величины тока делителя можно рекомендовать исходить из величины постоянной составляющей тока коллектора Iк, транзистора и выбирать Iдел примерно в пределах, определяемых соотношением
Iдел=(0,1-0,5)Iко (8,2)
В этом соотношении меньшие величины коэффициента при Iдел относятся к более мощным каскадам радиопередатчика.
После выбора величины Iдел сопротивление резистора определится из соотношения
R1=(Ек-Еб)/Iдел (8,3)
Сопротивление резистора R2 можно найти по требуемой величине смещения
R2=Еб/Iдел (8,4)
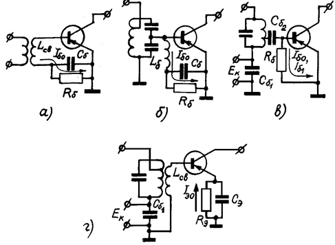
Обратное (запирающее) смещение на базе транзистора может быть получено включением внешнего источника фиксированного смещения (см. рис.8.2,а) или сопротивления автосмещения. На практике из этих двух способов чаще используется автосмещение за счет постоянной составляющей базового или эмиттерного тока транзистора (рис.8.3). Величины сопротивлений резисторов Rб (рис.8.3,а,б,в) и Rэ (рис.8.3,г) могут быть определены из соотношений
Rб= Еб/Iб0 (8,5)
Rэ=Еб/Iэ0= Еб/(Iко +Iбо)= Еб/Iко (8,6)
В случае осуществления смещения по схеме на рис .8.3 в величина сопротивления Rб должна удовлетворять условию
Rб<(10-20)Rвх (8,7)
где Rвх -входное сопротивление транзистора для первой гармоники базового тока.
Если это соотношение не удается выполнить, то резистор Rб, схеме на рис.8.3,в будет заметно шунтировать входную цепь транзистора. В этом случае следует отказаться от схемы на рис.8.3,в и использовать схемы на рис.8.3,а,б
Рис .8.3. Схемы осуществления автоматического смещения в базовой цепи: а - последовательное автосмещение за счет базового тока; б - параллельное автосмещение за счет базового тока; в - упрощенная схема параллельного авто-смещения за счет базового тока; г - автосмещение за счет эмитерного тока.
При построении схем питания транзисторных каскадов надо учитывать отличительную особенность транзисторов: резкую зависимости токов в цепях транзистора от температуры окружающей среды. При фиксированном напряжении смещения на базе небольшие изменения температуры (несколько градусов), как правило, вызывают большие изменения тока через транзистор, изменения токов вызывают изменения параметров транзистора и, как следствие, энергетических показателей транзисторного каскада. Поэтому режим с фиксированный смещением на базу в условиях изменяющейся температуры практически является непригодным. Сильному влиянию температуры подвержен обратный ток коллекторного перехода Iок*, который/протекая через имеющиеся в цепи базы внешние сопротивления, создает на них падение напряжения, приводящее к нерегулируемому изменению напряжения, а следовательно, и токов транзистора. Построение схемы питания транзисторного каскада должно быть осуществлено таким образом, чтобы резко ослабить зависимость постоянных токов всех электродов транзистора от температуры окружающей среды. Особенно это важно для радиопередатчиков, предназначенных для работы в широком интервале температур.
С целью ослабить зависимость тока транзистора от температуры окружающей среды на практике используются различные схемы стабилизации режима при изменении температуры (так называемые схемы термостабилизации). Эти схемы в большинстве своем основаны на применении отрицательной обратной связи или на использовании специальных термозависимых элементов, компенсирующих тепловые изменения токов транзистора. Однако схемы с термозависимыми элементами трудоемки при наладке, так как требуют более тщательной подгонки величин. элементов схемы, поэтому предпочтение во Многих случаях отдается схемам ( с отрицательной обратной связью. Наиболее эффективной из этих схем является схема с тремя резисторами R1,R2,R3 (рис.8.4, а, б). С помощью делителя из резисторов R1 и R2 на базу подается прямое напряжение смещения, а на резисторе R3 выделяется обратное напряжение смещения. Через резистор R3, при изменении тока коллектора (а следовательно, и тока эмиттера) создается отрицательная обратная связь по току, компенсирующая это изменение. Для устранения Отрицательной обратной связи по переменному току резистора шунтируется конденсатором большой емкости Сбэ . Схема с тремя резисторами удобна для использования в различных транзисторных каскадах, так как позволяет обеспечить смещение на базе как прямое, так и обратное, а также термостабнлизацию режима. Для Эффективной работы схемы сопротивление резистора R3 желательно выбирать большим, но в этом случае возрастают расход энергии источника питания и требуемое его напряжение так как
________________________
*Следует иметь в виду. что наиболее часты пробои транзисторов при
больших сопротивлениях постоянному току в цепи базы
_____________
**Обратный неуправляемый ток коллекторного перехода Iко обозначается здесь как Iок во избежание путаницы при расчете режима транзистора, в котором принято обозначение Iко для постоянной составлявляющей коллекторного тока.
Рис.8.4. Схема каскадов с температурной стабилизацией режима: а, б - с тремя резисторами; в — с термозависимым резистором в цепи базы. При выборе величины сопротивления резистора R3 можно задаться допустимым падением напряжения на нем, например, принять
Еэ0=Iэ0Rэ=0,2Ек (8,9)
откуда
R3=0.2Ек/Iэ0=0.2Ек/Iком (8,10)
Определение сопротивления резисторов R1 и R2 ведется из условия получения на базе транзистора требуемого напряжения смещения Еб . Учитывая, что смещение равно разности напряжений Еб0 и Еоэ (см.рис.8.4,б)т.е.
Еб=Еб0-Еэ0-IделR2-Iэ0R3 (8,11)
получаем
Еб0=IделR2=Еб+Еэ0 (8,12)
отсюда
R2=(Еб+Еэ0)/Iдел (8,13)
Сопротивление R1 определяется из соотношения
R1=(Ек0-Ебо) / Iдел = (Еко-Еб-Еэо)/Iдел (8,14)
При построении каскада по схеме , приведенной на рис.8.4,б следует проверить выполнение условия
R2(1020)Rвх
Если увеличение напряжения и расхода энергии внешнего источника питания крайне нежелательно, то можно применить схему стабилизации , в которой в качестве сопротивления R3 используется терморезистор*, зашунтированный обычным резистором (см.рис.8.4, в). Требуемая величина изменения сопротивления R2 от температуры окружающей среды определяется для выбранного типа транзистора по величине сдвига входных статических характеристик Iб=fb(Uб) при Uк = const от температуры.
Для нормальной работы каскада важно правильно выбрать величины блокировочных элементов - дросселей и конденсаторов. Наличие блокировочных элементов не должно влиять на работу каскада на его рабочей частоте. Однако практически устранить их влияние полностью не удается и поэтому приходится задавать дополнительные условия, учитывающие допустимое влияние блокировочных элементов на работу схемы, например, задать допустимые значения падения напряжения или потерь колебательной мощности в блокировочных элементах.
При выборе величины блокировочных элементов можно руководствоваться, например, следующими ориентировочными соотношениями.
Величина емкости блокировочного конденсатора Cб1 в коллекторной цепи (см.рис.8.1), полагая допустимое уменьшение сопротивления коллекторной цепи Rк, на 5-10% за счёт неполного подключения его к транзистору, оценивается соотношением
Cб<(10-20)Cвых (8,15)
Величина блокировочного дросселя Lб1 (см.рис.8.1,6) полагая допустимые потери колебательной мощности в дросселе менее 5% при соотношении добротностей контура Q0 и дросселя QL оценивается как
Lб1>>40Lk (8,16)
Емкость блокировочного конденсатора Сб1 (см.рис.8.1,6) может быть выбрана из условия отсутствия в рабочем диапазоне частот резонанса последовательного контура Lб1 ,Сб1 могущего привести к резкому шунтированию коллекторного колебательного контура. Это условие будет выполнено, если резонансная частота будет меньше минимальной рабочей частоты fmin. Допустим, что fmin>(3-5)fб тогда
Сб1(0,30,6)106/ f2минLб1 (8,17)
*Полупроводниковый терморезистор прямого подогрева, у которого изменение сопротивления термочувствительного элемента происходит за счет выделяющейся на нем мощности или вследствие изменения температуры окружающей среды [13] .
где Сб1 -в пф;
Lб1 - в мкгн;
fmin- в МГЦ
В цепи базы (см.рис.8.2) емкость блокировочного конденсатора может быть выбрана из тех же соображений, что и емкость Сб1 (см. формулу (8.I5))
Сб2(2040)Свх (8,18)
Величина индуктивности блокировочного дросселя Lб2 (см. рис.8.2,б) во избежание шунтирования входной цепи транзистора. (при условии протекания через дроссель примерно 5-10% тока) должна удовлетворять соотношению
Lб2(24)Rвх/f (8,19)
Где Lб2 - в мкгн;
f - в Мгц;
Rвх - входное сопротивление транзистора для первой гармоники базового тока в омах. Емкость блокировочного конденсатора Сб2 выбирается из тех же соображений, что и емкость Сб1 формула ( 8.17 )
Cб2` (0,30,6)106/f2минLб2 (8,20)
При автоматическом смещении (см.рис.8.3,а,б,г) емкости конденсаторов Сэ и Сб можно выбрать из условия допустимого падения напряжения на емкости при ее разряде. Задаваясь допустимым падением напряжения на 5%, подучим
Сб10×106/f×Rб (8,21)
Сэ10×106/f×Rэ (8,22)
где C - в пф;
f— в МГц;
R- в Омах.
В ряде практических случаев с целью уменьшения числа элементов схемы ограничиваются минимальным числом блокировочных элементов, мирясь с неизбежными потерями в колебательной мощности в питающих цепях. Например, можно упростить цепь питания базы при параллельной системе питания за счёт отказа от блокировочных элементов Lб2,Cб2. (см.рис.8.2,б).На рис. 8.3,в и 8.4,б показаны такие более простые схемы питания базовой цепи, в которых отсутствуют оба или один из этих блокировочных элементов.
Расчет цепи питания каскада состоит в определении величины потребляемой каскадом мощности Рпотр , которая складывается из мощностей Ро , расходуемой в коллекторной цепи, Рсм , потребляемой в базовой цепи, Рвсп , выделяемой во всех элементах схемы ( в делителях напряжений, гасящих резисторах и т.д.)
Рпотр=Р0+Рсм+Рвсп (8,23)
§ 9. РАСЧЁТ ВЫХОДНОГО КАСКАДА - МОЩНОГО УСИЛИТЕЛЯ
ВЫСОКОЙ ЧАСТОТЫ
Исходными данными для расчёта являются: полезная мощность Рпол в режиме несущих колебаний, рабочая частота f (длина волны ) или диапазон частот (длина волн), сопротивление нагрузки (активная составляющая rн и реактивная составляющая Хн ), вид амплитудной модуляции и максимальный коэффициент модуляции м , полоса частот ΔF спектра модулирующего колебания и максимальная частота модуляции Fмакс , интервал температур tmin+tmax окружающей среды,
Основным требованием Рпол, предъявляемым к выходному каскаду радиопередатчика, является обеспечение требуемой мощности ,выделяемой в сопротивлении нагрузки Rн на заданной частоте (или в заданном диапазоне частот) при высоком коэффициенте полезного действия каскада. В случае осуществления модуляции в выходном каскаде добавляется также требование обеспечения в этом каскаде полосы пропускания частот, определяемой требуемым частотным спектром амплитудно-модулированного колебания. Наиболее полно этим требованиям удовлетворяет сложная схема выходного каскада (рис. 9.1), когда коллекторная цепь транзистора связана с нагрузкой через промежуточный контур.
Рис. 9.1. Принципиальные схемы выходного каскада радиопередатчика с амплитудной модуляцией:
а - с базовой модуляцией смещением;
б - с коллекторной модуляцией.
Нагрузкой выходного каскада является входное сопротивление либо антенны, либо фидера, соединяющего выходной каскад с антенной. В транзисторных связных радиопередатчиках переносного типа выходной каскад во многих случаях работает непосредственно на антенну.
В качестве антенны коротковолновых транзисторных радиопередатчиков часто используется несимметричный (штыревой) вибратор, длина которого по конструктивным соображениям гораздо меньше длины волны радиопередатчика. Входное сопротивление такой антенны является комплексным и меняющимся в широких пределах в диапазоне волн. Для получения чисто активного входного сопротивления антенны, как правило, антенную цепь делают настроенной. Для настройки могут быть применены катушки с переменной индуктивностью (вариометры) и конденсаторы переменной емкости.
В качестве антенн маломощных радиопередатчиков в ряде случаев например, для радиопердатчиков, работающих вблизи водной поверхности, используются ферритовые антенны, которые могут работать в непосредственной близости к проводящей поверхности (морской воде или хорошо проводящей земле). Они просты в настройке и имеют небольшие размеры. Однако к.п.д. ферритовой антенны чрезвычайно низок (меньше десятых долей процента в диапазоне коротких волн) [14] . Входное сопротивление антенны можно представить как
Za=ra+jXa ( 9.1 )
где rа и Ха - соответственно активная и реактивная составляющая входного сопротивления антенны.
Входное сопротивление антенны при длине антенны много меньше длины волны (L<) характеризуется малым активным сопротивлением (единицы Ом) и большим реактивным (емкостным) сопротивлением (тысячи Ом). Это приводит к тому, что величина входного сопротивления сильно зависит от условий работы антенны, например, от расположения ее относительно соседних предметов, климатических условий и т.д., и будет изменяться при изменении этих условий.
Включение входного сопротивления антенн в коллекторную высокочастотную цепь транзистора может быть осуществлено либо непосредственно (так называемая простая схема каскада) (рис.9.2), либо Через промежуточный контур L , C ( так называемая сложная схема) (рис.9.3).
В этом случае составляющие входного сопротивления антенные, ra, Xa вместе с сопротивлениями элементов настройки Lв или Сп и связи Lсв или Cсв образует антенный контур
. Таким образом, в случае простой схемы высокочастотная коллекторная цепь транзистора состоит из антенного контура. а в случае сложной схемы из двух связанных контуров: промежуточного и антенного.
Рис 9,2 Простая схема выходного каскада
Коэффициент полезного действия антенного контура определяется как
ак=rа/ra+rпотр (9,2)
где rпот - сопротивление потерь в антенном контуре
При работе выходного каскада на антенну, длина которой l< , имеют место некоторые особенности.
а) Малая величина активной составляющей входного сопротивления антенны ra приводит к низкому к.п.д. антенного контура, так как в этом случае величина ra оказывается сравнимой с величиной сопротивления потерь в антенном контуре rпот, либо даже меньше её.
б) малая величина емкости антенн СA , сравнимая с паразитными емкостями схемы и к тому же меняющаяся при изменении внешних условий работы антенны, приводит к расстройке антенного контура, а следовательно, и к изменению режима работы транзистора. Для того чтобы относительные изменения общей емкости контура были бы малыми, параллельно антенне подсоединяют конденсатор. Практика показывает [14] , что величина емкости этого конденсатора должна превышать емкость примерно в 5 раз. Однако к.п.д. антенного контура при этом уменьшается примерно во столько же раз, так как в контуре происходит трансформация величины сопротивления ra в более низкую.
Рис9.3. Сложная схема выходного каскада: а— с настройкой антенного контура катушкой индуктивности Lв ; б - с настройкой антенного контура конденсатором Сп .
В радиостанциях с выносной антенной, связанной с выход радиопередатчика при помощи коаксиального кабеля, выходной каскад радиопередатчика будет нагружен на выходное сопротивление Rвх . коаксиального кабеля. Это сопротивление может быть активным, равным по величине волновому сопротивлению кабеля (в предположении, что в кабеле достигнут режим бегущей волны при к.б.в., близком к единице), либо комплексным , имеющим активную rвх и реактивную Хвх составляющие сопротивления (при к.б.в. <1), т.е. входное сопротивление коаксиального кабеля в общем случае
Технический расчет выходного каскада радиопередатчика ведется в порядке, изложенном. в §4 данного руководства.
ВЫБОР ТИПА ТРАНЗИСТОРА.
Выбор типа транзистора для выходного каскада производится по допустимой мощности рассеивания Ppдоп возможности его нормальной работы в заданном диапазоне частот, как это показано в § 6.
При определении мощности, рассеиваемой транзистором в режиме Амплитудно - модулированных колебаний [см. формулы 6.7 и 6.8 , исходят из величины колебательной мощности несущих колебаний P~н, , которая связана с величиной полезной мощности соотношением
Рн=Рпол/как (9,3)
где к, и ак - соответственно к.п.д. промежуточного и антенного контуров выходного каскада.
Для определения P~н следует задаться величиной к , которая для контура выходного каскада лежит в пределах 0,8-0,9, а величину ак , ориентировочно найти по формуле (9.2), приняв rд=rн и оценив сопротивление потерь как
RоптХн/Qо (9,4)
где Q0 - добротность антенного контура без учета активной составляющей rн сопротивления нагрузки.
Величина Q0 в диапазоне коротких волн составляет примерно 50 - 100, а в длинноволновой части диапазона у.к.в. - 100-120, Величины rн и Xн указаны в исходных данных для расчета выходного каскада.
Учитывая некоторую неточность расчетов и разброс параметров транзистора, величину мощности P~н , полученную по формуле (9.3), целесообразно увеличить на 20 - 30% и далее в расчете использовать эту величину мощности.
ВЫБОР СХЕМЫ ВЫХОДНОГО КАСКАДА
В практических схемах радиопередатчиков выходной каскад, как правило, выполняется по сложной схеме, которая по сравнению с простой схемой допускает точную и в более широких пределах регулировку величины сопротивления Rк в коллекторной цепи транзистора и позволяет уменьшить влияние изменения сопротивления нагрузки на режим работы выходного каскада.
Простая схема выходного каскада находит себе применение лишь в маломощных радиопередатчиках, в которых основными и решающими требованиями являются малые габариты, вес, простота управления и экономичность.
При выполнении выходного каскада по сложной схеме связь антенного контура с промежуточным может быть трансформаторной, автотрансформаторной иди емкостной.
При выборе вида связи учитывают величину активной составляющей сопротивления нагрузки и применяемый орган настройки промежуточного контура. Например, если настройка контура осуществляется конденсатором переменной емкости, наиболее целесообразной является трансформаторная или автотрансформаторная связь. Однако при этих видах затруднительно осуществить между контурами малую связь, требуемую в ряде практических схем. В этих случаях является целесообразным применение емкостной связи, которая позволяет менять величину коэффициента связи в широких пределах вплоть до очень малых значений.
Связь между промежуточным и антенным контурами может быть как регулируемой, так и нерегулируемой. В радиопередатчиках, работающих .на фиксированной частоте или в узком диапазоне частот, связь с антенным контуром во время эксплуатации обычно не регулируют, что значительно упрощает конструкцию выходного каскада
Промежуточный контур выходного каскада в диапазоне коротких волн представляет собой настроенный в резонанс параллельный колебательный контур. Особенностью .транзисторных каскадов является низкое сопротивление Rk коллекторной цепи току первой гармоники, обеспечивающее работу транзистора в выбранном режиме. Для получение требуемой величины сопротивления Rk можно или использовать неполное включение колебательного контура в коллекторную цепь транзистора или применить контур с низким характеристическим сопротивлением р . Низкое значение р достигается увеличением емкости контура и соответственно уменьшением его индуктивности. Однако последний способ нецелесообразен по конструктивным соображениям , особенно при работе на достаточно высоких частотах, так как затруднительно выполнить катушку с индуктивностью, величина которой становится сравнимо с величиной собственной индуктивности соединительных высокочастотных проводов, при навесном монтаже элементов схемы. Кроме того, малая величина индуктивности приводит к низкой добротности контура .
Учитывая сказанное, также то, что неполное включение колебательного контура в цепь коллектора ослабляет влияние выходного сопротивления транзистора на сопротивление контура, применение неполного включения контура является предпочтительным. Степень включения контура характеризуется коэффициентом включения.
p= Uk / Uконт (9,5)
где Uk - амплитуда коллекторного напряжения;
Uконт - амплитуда напряжения на контуре.
С учетом коэффициента включения р сопротивление коллекторной цепи
Rк=р2Q (9,6)
где Q - добротность контура в нагруженном состоянии. Настройка промежуточного контура в резонанс при. работе каскада на фиксированной частоте. или в узком диапазоне частот осуществляется при помощи подстроечного конденсатора или катушки с подстроечным сердечником. Последняя является в ряде случаев предпочтительней, так как подстроечный конденсатор имеет большие габариты и увеличивает минимальную емкость контура.
При работе радиопередатчика в нижней части, диапазона, .у.к.в. в высокочастотной цепи мощного выходного каскада наиболее целесообразным является использование П-образного фильтра нижних частот (рис.9.4), позволяющего удобно согласовывать нагрузки с малым активным сопротивлением и производить подавление высших гармонических составляющих коллекторного тока транзистора. Регулировку контура производят подстрочными конденсаторами C1 на схеме рис.9.4,а и C3 на схеме рис.9.4,6). Конденсатор контура со стороны выхода транзистора может отсутствовать (рис.9.4,б),так как его функцию выполняет выходная емкость транзистора.
Рис.9.4. Сложная схема выходного каскада с П-образным фильтром: а - с "заземленным", коллектором; б - с "заземленным" эмиттером.
При составлении схемы выходного каскада немаловажным является выбор электрода, который предполагается соединить с металлическим основанием (шасси) или корпусом устройства. Этот выбор в значительной степени определяется конструкцией транзистора. Обычно с основанием соединяют вывод эмиттера транзистора. Однако если с корпусом транзистора соединен вывод коллектора, то рекомендуется (3 основанием соединить коллектор (рис 9.4,а), так как это облегчает отвод тепла от? транзистора и его крепление на основании
Для увеличения мощности выходного каскада могут быть использованы двухтактная схема (рис9.5) или параллельное соединение транзисторов. Следует отметить, что параллельное соединение транзисторов при практическом выполнении встречает ряд трудностей, из которых основными являются необходимость идентичности транзисторов по входному сопротивлению и коэффициенту .усиления, склонность схем к паразитным колебаниям, уменьшение входного сопротивления и сопротивления коллекторной цепи. Как правило, увеличения мощности n параллельно соединенных транзисторов в n раз не удается получить из-за неравномерного распределения входной и выходной мощности транзисторов вследствие разброса их электрических параметров. При параллельном соединении транзисторов схема каскада должна содержать цепи, которые вводят изоляцию между транзисторами, т.е. в той или иной степени разделяют транзисторы друг от друга. Примеры схем с параллельным соединением транзисторов приведены на рис.9.6.
Рис.9.5. Двухтактная схема выходного каскада.
Двухтактные схемы для правильной работы также требуют идентичности параметров транзисторов. Учитывая что это требование на практике выполнить полностью не удается, в схеме должны быть предусмотрены элементы регулировки для получения симметричной работы транзисторов. Например, в схеме на рис.9.5 во входной цепи катушки связи L1 и L2 имеют отдельные подcтроечные сердечники для регулировки амплитуды входного напряжения каждого транзистора
Выбор схемы выходного каскада заканчивается выбором системы питания электродов транзистора и схемы осуществления модуляции. На основании требований к выходному каскаду составляется примерная принципиальная схема каскада.
Рио.9.6. Схема выходного каскада с параллельным соединением транзисторов: а - для верхней -части диапазон коротких волн; б - для нижней части диапазона коротких волн.
ЭНЕРГЕТИЧЕСКИЙ РАСЧЕТ РЕЖИМА ТРАНЗИСТОРА
Энергетический расчет режима транзистора выходного каскада при амплитудно-модулированных колебаниях ведется по методике, приведенной в § 7,п.Б.
Расчет модулированного каскада начинается с расчета максимального режима на колебательную мощность
Рмакс=Рн(1+m)2
Расчет принято выполнять для максимального коэффициента модуляции м, хотя при работе радиопередатчика средний статический коэффициент модуляции составляет примерно 0,3-0,4. Угол отсечки коллекторного тока для получения достаточно высокой величины колебательной мощности транзистора при одновременном обеспечении сравнительно высокого к.п.д. транзистора и хорошей линейности статической модуляционной характеристики выбирается равным: в случае базовой модуляции смещением =90-110° в случае коллекторной модуляции = 80-90°. Напряжение коллекторного питания выбирается из соотношений (7.9). (7.11).
ПОСТРОЕНИЕ СТАТИЧЕСКОЙ МОДУЛЯЦИОННОЙ ХАРАКТЕРИСТИКИ
Статическая модуляционная характеристика представляет собой зависимость амплитуды первой гармоники коллекторного тока от модулирующего напряжения (ом.рис.2.2, 2.3). Точный расчет статической модуляционной характеристики достаточно сложен и трудоемок. На практике для простоты часто реальную статическую модуляционную характеристику заменяют идеализированной характеристикой, имеющей вид прямой линии. Расчёт и построение такой характеристики производится по двум точкам. Первая точка соответствует максимальному режиму и определяется током Iкмакс и напряжением Екмакс или Ебмакс. Вторая точка определяется при модуляции на базу смещением координатами
Ik1=0 и напряжением запирания Eбмакс=-Uб+Еб, при модуляции на коллектор координатами Ik1=0 и Ek=0. В обоих случаях характеристика изображается прямой, соединяющей эти точки. Расчёт производится только для максимального режима, а величины, характеризующие режим несущих колебаний, определяются путем пересчёта, как это дано в § 7 п.Б, п.В.
РАСЧЁТ КОЛЛЕКТОРНОЙ КОЛЕБАТЕЛЬНОЙ СИСТЕМЫ
ВЫХОДНОГО КАСКАДА СЛОЖНОЙ СХЕМЫ , С НЕРЕГУЛИРУЕМОЙ СВЯЗЬЮ МЕЖДУ КОНТУРАМИ
Коллекторная колебательная система выходного каскада в диапазоне коротких волы обычно представляет собой два связанных между собой параллельных резонансных контура (см.рис.9.1 и 9.3). При расчёте такой системы предполагается известными: рабочая частота f (или диапазон частот), сопротивление нагрузки (rн, Хн)* сопротивление коллекторной цепи Rн , к.п.д. промежуточного контура к, к.п.д. антенного контура ак . Кроме того, выбрана схема выходного каскада.
Величина Rн бывает известна после расчёта режима транзистора, а величины к и ак были выбраны при, определении требуемой колебательной мощности выходного каскада (см.п.1). При расчете колебательной системы также должна быть известна выходная проводимость транзистора Увых , содержащая две составляющие, активную gвых реактивную Ввых , обычно имеющую емкостной характер. Выходная проводимость транзистора, усредненная по первой гармонике коллекторного тока, может быть записана {7) как
где
(9,8)
к=rбСка (9,9)
Rвых1- активная составляющая выходного сопротивления транзистора, усредненная по первой гармонике коллекторного тока. При работе транзистора на частотах f<<fвх в режиме коллебаний 2-рода (с отсечкой тока коллектора) с низким сопротивлением нагрузки активная составляющая gвых слабо влияет на режим работы каскада (так как ^. ^^ ==^ ^ ). Поэтому приближенно будем считать, что выходная проницаемость Транзистора
Увых= jCвых (9,10)
Расчет колебательной системы начинается с определения параметров промежуточного контура. Предполагается, что в расчётных формулах величины выражаются в следующих единицах: емкости- в.пф;
индуктивность - в мкгн; сопротивление - в омах; частота— в Мгц.
РАСЧЁТ ПАРАМЕТРОВ ПРОМЕЖУТОЧНОГО КОНТУРА
Предварительно задаемся величинами добротности Q0 ненагруженного контура характеристикой контура .Величина Q0 для контуров коротковолнового диапазона может быть выбрана ориентировочно в пределах 50-120. При выборе величины характеристики контура следует иметь в виду соображения, приведенные в п.2 данного параграфа. Кроме того, надо учесть, что высокое значение приводит к большой величине (при требовании величины добротности нагруженного контура Q>>1) резонансного сопротивления контура получения сравнительно низкого сопротивления коллекторами цепи необходимого для работы транзистора в выбранном режиме при высоком значении приходится существенно уменьшать коэффициент включения контура в коллекторную цепь транзистора, не всегда удобно в конструктивном отношении. Учитывая это, величину характеристики у можно рекомендовать выбирать в пределах 50-70 ом при этом емкость контура С=(7-10) Далее определяем резонансное сопротивление ненагруженного контура из условия получения требуемой величины к.п.д. контура
R0=Rк/(1-к) (9,11)
Находим коэффициент включения контура
Определяем емкость контура
С=159103/ f (9,13)
Емкость конденсатора, включенного в контур находится как
Ск=с-(См+р2Свых+С0) (9,14)
где См - емкость монтажа;
Свых - выходная емкость транзистора;
С0=С1С2/(C1+C2)- емкость делителя напряжения, если используется емкостная связь (рис.9.1,а);
р - коэффициент включения.
Так как не все емкости известны, то при расчёте ими можно задаваться ориентировочно :
См =3-10 пф; С0 =15 - 30 пф
При работе каскада на фиксированной частоте для начальной настройки контура может использоваться построечный конденсатор, среднее значение емкости которого выбирается примерно равным Сп 5-20 пф.
Величина индуктивности контура определяется из условия резонанса на рабочей частоте.
L=25300/f2C2 (9,15)
РАСЧЁТ ПАРАМЕТРОВ АНТЕННОГО КОНТУРА_
По известной величине реактивной составляющей сопротивления нагрузки, имеющей емкостной характер, заходим емкость
Cн=159103/fXн (9,16)
Полагая, что емкость Cн является емкостью антенного контура, определяем индуктивность контура из условия его резонанса на рабочей частоте
Lак=25300/f2Cн (9,17)
Активное сопротивление контура складывается из сопротивления нагрузки rн и сопротивления rпот см.формулу (9.4Л)]
rак=rн+rпот (9,18)
Определяем величину индуктивности катушки Lв, настройки антенного контура (си.рис.9.3, а).
При трансформаторной и автотрансформаторной (рис.9.3,а) связях.
Lв=Lak-Lсв (9,19)
Причем Lсв при трансформаторной связи можно принять
Lсв=(0,2-0,5)L (9,20)
При емкостной связи
Lв=Lак (9,21)
РАСЧЁТ СВЯЗИ МЕЖДУ КОНТУРАМИ
Связь между промежуточным и антенным контурами должна быть найдена из условия получения требуемой величины Rk . Для определения необходимой величины сопротивления Хсв связи воспользуемся соотношением ( 9.11 ) и подставим в него к.п.д. к промежуточного контура
=rвн /rвн+rк (9.22)
где
rвн - вносимое активное сопротивление ;
rак - активное сопротивление антенного контура;'
rк - сопротивление потерь. После преобразования соотношения (9.11) с учётом выражения (9.22)получаем
По известной величине Хсв получаем
при трансформаторной связи(см.рис.9,3б) М= 0,159Хсв/f
при автотрансформаторной связи (см.рис.9,3а) Lсв=0,159Хсв/f
при ёмкостной связи (см.рис.9,1а) C2=159103/fXсв
В заключении расчёта следует убедиться, что колебательная система обеспечит нормальное прохождение частот модуляции, т.е. выполняется условие
ff/Q (9,24)
где
f =2Fмакс-ширина полосы частот спектра при амплитудной модуляции;
Fмакс -максимальная частота модуляции;
f -рабочая частота;
Q=Q()(1-к)-добротность нагруженного промежуточного контура.
В колебательной системе выходного каскада, кроме параллельного. резонансного контура, может быть использован П-образный фильтр нижних частот (см.рис.9.4). Рекомендации по расчёту такого вида колебательной системы можно найти в литературе, например, в работе [2] .
ОПРЕДЕЛЕНИЕ ИСХОДНЫХ ДАННЫХ ДЛЯ РАСЧЁТА ВОЗБУЖДАЮЩЕГО КАСКАДА
Требования к возбуждающему (предыдущему) каскаду в основном сводятся к обеспечению величины мощности, необходимой для возбуждения модулируемого каскада. В случае базовой модуляции смещением предыдущий каскад должен обеспечить мощность возбуждения, найденную при расчёте максимального режима, т.е.
Pвозб=Р~макс (9,25)
Амплитуда напряжения возбуждения во время модуляции не меняется, поэтому величина амплитуды берется равной Uбмакс , полученной при расчёте максимального режима, т.е.
Uвозб=Uкмакс (9,26)
При коллекторной модуляции мощность возбуждения резко изменяется за период модуляции, достигая максимума в режиме запирания коллекторной цепи, когда ток базы достигает наибольшего значения. Ориентировочно можно считать, что наибольшее значение мощности возбуждения превышает мощность в максимальном режиме примерно в 3-4 раза [6] . Поэтому предыдущий каскад должен обеспечить мощность возбуждения
Рвозб=(3-4)Pбмакс (9,27)
Амплитуда напряжения возбуждения при работе модулированного каскада остается неизменной и ее принимаем равной Uбмакс
Величины активной и реактивной составляющих входного сопротивления определяются как
RвхUвых2/2Pвозб (9,28)
Хвх = 159103/fCвх (9,29)
где
Cвх =вх/б- входная емкость транзистора в открытом состоянии;
вх и б - постоянная времени входной цепи и сопротивление базы транзистора.
Следует также отметить , что из-за сильно меняющегося тока базы модулированного каскада существенно изменяется входное сопротивление этого каскада, а следственно, и сопротивление, вносимое зз контур предыдущего каскада. Отмеченную особенность надо иметь в виду при проектировании предыдущего каскада.
Заметим, что этот недостаток в значительно меньшей степени будет проявляться, если в процессе коллекторной модуляции напряжение смещения в цепи базы не остается постоянным (за период модуляции), а автоматически изменяется за счёт автосмещения в цепи базы. Однако этот метод модуляции относится уже к комбинированному истребует несколько иного расчёта режима модулированного каскада , так как если режимы в максимальных точках для этих методов модуляции будут одинаковы, то режимы несущих колебаний будут иметь существенное расхождение.
ОПРЕДЕЛЕНИЕ ИСХОДНЫХ ДАННЫХ ДЛЯ РАСЧЕТА МОДУЛЯТОРА
Для проектирования модулятора должны быть заданы величины амплитуды модулирующего напряжения Uмод и мощности Pмод,
отдаваемой модулятором, которые определяются на основе данных расчета режима модулированного каскада. Из-за трудностей достаточно точного расчета базового тока транзистора на повышенных частотах определить мощность Pмод для случая базовой модуляции смещением оказывается возможным лишь ориентировочно.
А.СЛУЧАЙ БАЗОВОЙ МОДУЛЯЦИИ
1.Амплитуда модулирующего напряжения
Uмод=Ебмакс-Ебн
2.Мощность отдаваемая модулятором
Рмод=UмодIмод/2
Б.СЛУЧАЙ КОЛЛЕКТОРНОЙ МОДУЛЯЦИИ
1.Амплитуда модулирующего напряжения
Uмод=mЕкн
2.Амплитуда тока нагрузки модулятора
Iмод=m Iкон
3.Мощность отдаваемая модулятором
Рмод=IмодUмод/2= IконЕкн m2/2=Ронm2/2
Для получения, требуемой мощности Рмод при высоком к.п.д. оконечный каскад модулятора радиопередатчика с коллекторной модуляцией, выполняется, как правило, по двухтактной схеме.
РАСЧЕТ ЭЛЕМЕНТОВ СХЕМЫ ПИТАНИЯ
При расчете элементов схемы питания выходного каскада .можно исходить из рекомендаций, данных в § 8.
В случае амплитудной модуляции в выходном каскаде на величины блокировочной емкости Сб1 при коллекторной модуляции (см. рис.9.1,6) и Сб2 при базовой модуляции (см.рис.9.1,а) накладываются дополнительные условия отсутствия недопустимых завалов частотной характеристики со стороны высоких частот модуляции, т.е.
1/2FмаксСбRмод (9,30)
или
Сб 10/2FмаксRмод (9,31)
где Rмод - сопротивление нагрузки модулятора
Сб1=Сб или Сб2=Сб в зависимости от какой цепи рассчитывается блокировочная ёмкость.
§ 10. РАСЧЕТ КАСКАДА ПРОМЕЖУТОЧНОГО УСИЛИТЕЛЯ ВЫСОКОЙ ЧАСТОТЫ
Исходными данным для расчета являются мощность возбуждения Рвозб , амплитуда напряжения возбуждения Uвозб , и составляющие
входного сопротивления Rвх, Хвх выходного каскада, рабочая f частота (или диапазон частот), интервал температур tmin+tmax
окружающей среды. Каскад работает в режиме немодулированных колебаний.
Как уже говорилось в § 2, промежуточный усилитель может состоять либо из одного, либо из нескольких каскадов. Возбудителем выходного каскада радиопередатчика является каскад помехоустойчивого усилителя, связанный с базовой цепью транзистора выходного каскада. Колебательная мощность P~пред этого каскада, будем называть его предыдущим каскадом, слагается из мощности Рвозб , идущей на возбуждение последующего, т.е. выходного каскада, и мощностей потерь в коллекторном контуре предыдущего каскада и в элементах связи с базой транзистора последующего каскада. Ввиду того, что базовый ток транзистора последующего каскада, а значит, и Рвозб существенно меняются при колебаниях режима этого каскада (особенно при осуществлении коллекторной модуляции в каскаде) для повышения устойчивости работы радиопередатчика обычно допускают потери в коллекторном контуре предыдущего каскада того же порядка, что и величина мощности возбуждения. Соответственно используют неполную связь коллекторного контура предыдущего каскада с входной цепью последующего каскада. Вследствие этого к.п.д. коллекторного контура промежуточного каскада бывает сравнительно невысоким 0,3-0,5 и снижается коэффициент усиления на каскад. Однако это не является серьезным недостатком, так как промежуточный каскад потребляет; от источника питания гораздо меньшую мощность, чем выходной и влияние его к.п.д. на общий к.п.д. радиопередатчика будет меньше, чем выходного. Эти же соображения следует иметь в виду и при расчете остальных каскадов промежуточного усилителя. При расчете каскада, связанного с задающим генератором, надо обратить внимание на ослабление влияния изменения режима во входной цепи этого каскада на режим работы задающего генератора. Для этого усилитель надо поставить - в режим, обеспечивающий по возможности малый базовый ток, т.е. каскад должен работать в недонапряжённом режиме. Если промежуточный усилитель имеет лишь один каскад, то можно рекомендовать граничный режим работы транзистора этого каскада и неполную связь его базовой цепи с коллекторным контуром задающего генератора.
Расчет каскада ведется в последовательности, данной в § 4.
ВЫБОР ТИПА ТРАНЗИСТОРА
Выбор типа транзистора производится по допустимой мощности рассеивания транзистора Ррдоп и возможности его нормальной работы в заданном диапазоне частот, как это указано в § 6 п.А. Предварительно, задавшись к.п.д. коллекторного контура каскада в пределах (0,3-0,5), определяют величину колебательной мощности
Р~пред=Рвозб/к (10,1)
Исходя из этой величины Р~пред и задавшись ориентировочно к.п.д. транзистора , находят по формуле (6.6) мощность рассеивания на коллекторе транзистора и по формуле (6.5) мощность рассеивания транзистора. Учитывая, что транзистор работает в граничном режиме и выполняется условие f<<f можно считать, что величина будет не хуже 0,6. Если режим транзистора выбирается недонапряженным, то к.п.д. принимается равным =0,3-0,5.
ВЫБОР СХЕМЫ ПРОМЕЖУТОЧНОГО КАСКАДА
На рис.10.1 показаны некоторые из возможных схем промежуточных каскадов. В качестве коллекторной колебательной системы промежуточного каскада в диапазоне коротких волн используется настроенный параллельный контур, нагруженный на входное сопротивление последующего
каскада. Входное сопротивление является комплексной величиной и может быть представлено как
1/Zвх=1/Rвх+j1/Xвх (10,2)
где Rвх и Хвх — активная и реактивная составляющие входного сопротивления последующего каскада.
Колебательный контур частично подключается к коллектору транзистора предыдущего каскада и базовой цепи транзистора последующего каскада. На рис.10.2 показана эквивалентная схема колебательной системы предыдущего каскада, где X1, Х2, X3, X4 означают реактивные сопротивления, образующие колебательные контур; Хвх - реактивная составляющая выходного сопротивления транзистора предыдущего каскада; Rвх и Хвх -активная и реактивная составляющие входного сопротивления транзистора последующего каскада.
Коэффициент включения контура (см.рис.10.2) со стороны коллектора транзистора предыдущего каскада
Рис.10.1. Принципиальные схемы промежуточных каскадов радиопередатчика с различными видами связи между предыдущими и последующими каскадами:
а - трансформаторная связь, р=С1/(С1+С2) , рб=М/L
б - автотрансформаторная связь р=L1/L, рб=Lсв/L
в - ёмкостная связь р=L1/L, рб= С1/(С1+С2), здесь р=Uк/Uконт
рб=Uб/Uк – коэффициент включения контура; L=L1+L2
Рис10,2 Эквивалентная схема межкаскадной связи
Р=Uк/Uконт (10,3)
и со стороны базы транзистора последующего каскада
Рб=Uб/Uконт (10,4)
где Uk и Uконт- соответственно амплитуды коллекторного напряжения и напряжения на коллекторном контуре предыдущего каскада; Uб - амплитуда напряжения возбуждения последующего каскада (Uб=Uвозб).
Для связи коллекторного контура промежуточного каскада с входной цепью последующего каскада на практике наиболее часто используются виды связей: трансформаторная (см.рис.10.1,а), автотрансформаторная (см.рис.10.1,6), емкостная (см.рис.10.1,в). При работе промежуточного каскада на фиксированной частоте или в узком диапазоне частот можно применить трансформаторную или автотрансформаторную связь, причем последняя позволяет упростить конструкцию каскада и его регулировку. Применение емкостной связи целесообразно в схемах, где настройка контура ведется вариометром. К достоинствам емкостной связи можно отнести возможность получения величины коэффициента включения (см.рис.10.1,в) вплоть до очень малых значений
р=С1/C1+C2 (10,5)
Системы питания в коллекторной и базовой цепях транзистора промежуточного каскада могут быть выбраны на основании рекомендаций, данных в § 8.
В заключение составляется примерная принципиальная схема каскада.
ЭНЕРГЕТИЧЕСКИЙ РАСЧЕТ РЕЖИМА ТРАНЗИСТОРА
Энергетический расчет режима транзистора каскада промежуточного усилителя ведется по методике, приведенной В §7, п.А на колебательную мощность Рпром.
Угол отсечки коллекторного тока для получения одновременно достаточно высокой величины коэффициента усиления Кр и к.п.д. выбирается равным 80 - 90°. Напряжение коллекторного питания выбирается согласно соотношению (7.9). Режим работы транзистора принимается граничным.
Если предполагается работа транзистора в недонапряженном режиме, то следует, предварительно определив величину коэффициента
использования коллекторного напряжения в граничном режиме гр по формуле (7.13), принять = (0,8-0,9)гр и далее использовать эту величину при расчете режима.
РАСЧЕТ КОЛЛЕКТОРНОЙ КОЛЕБАТЕЛЬНОЙ СИСТЕМЫ КАСКАДА ПРОМЕЖУТОЧНОГО УСИЛИТЕЛЯ, РАБОТАЩЕГО НА ФИКСИРОВАННОЙ ЧАСТОТЕ
При расчете считаются известными амплитуда напряжения возбуждения Uвозб и составляющие входного сопротивления Rвх , Хвх последующего каскада, амплитуда коллекторного напряжения Uк, сопротивление коллекторной цепи Rk , к.п.д. коллекторного контура k рассчитываемого каскада (после расчете транзистора каскада), рабочая частота f.
Величину выходной емкости Свых транзистора рассчитываемого каскада определяем по формуле (9.8).
Порядок электрического расчета элементов коллекторной колебательной цепи может быть следующим.
Предварительно задаемся величинами добротности Q0 ненагруженного коллекторного контура и его характеристикой . Добротность для коротковолнового контура выбирается в пределах 50-120, а характеристика , с учетом замечаний в п.п. 2 и 5, в пределах 50 - 70 ом.
При определении величин элементов схемы предполагается, что в расчетных формулах величины выражаются в единицах: емкость - в пф, индуктивность - мкгн, сопротивление - в омах. Частота колебаний в формулы подставляется в Мгц.
Резонансное сопротивление ненагруженного контура Ro, определяем условия получения ненагруженного контура Rк ,к.
R0=Rк/(1-к) (10,6)
С учетом выбранных величин и Qo необходимый коэффициент включения контура в цепь коллектора транзистора рассчитываемого каскада определится как
Коэффициент включения контура в цепь базы транзистора последующего каскада может быть найден из условия получения требуемой амплитуды возбуждения Uвозб .Используя формулы (10.3) и (10.4), получаем
Рб=рUвозб/Uк (10,8)
Емкость контура определяется по известной величине характеристики
С=152103/f (10,9)
Емкость контурного конденсатора можно найти как
Cк=С-(См+р2Свых+рб2Свх) (10,10)
где Свых - выходная емкость транзистора рассчитываемого каскада; Свх - входная емкость транзистора последующего каскада; См - монтажная емкость ( См = 3 - 10 пф).
Индуктивность контура определится из условия его резонанса на рабочей частоте
L=25300/f2C (10,11)
Определим величину Элемента связи контура с базовой цепью последующего каскада.
Полагая, что выполняется условие Rвх >Хcв . где Хсв - сопротивление связи, получим:
при трансформаторной связи (см. рис.10.1,а)
МрбL, Lсв(0,20,4)L
при автотрансформаторной связи (см. рис.10,1,б)
LсврбL
при емкостной связи (см. рис.. 10,1,в)
C1=C0/(1-рб); С2=(С0/Рб) – Свх; С0=(С1С2)/(С1+С2)
РАСЧЕТ ЭЛЕМЕНТОВ СХЕМЫ ПИТАНИЯ
Питание цепей транзистора промежуточного каскада целесообразно осуществлять от общего источника питания радиопередатчика. При расчете элементов схемы питания можно использовать рекомендации, данные в §8. Если коллекторное напряжение транзистора промежуточного каскада ниже напряжения источника питания, то следует предусмотреть включение в цепь питания транзистора дополнительного резистора для получения требуемой величины Ек .
ОПРЕДЕЛЕНИЕ ИСХОДНЫХ ДАННЫХ ДЛЯ РАСЧЕТА ВОЗБУЖДАЮЩЕГО КАСКАДА
Величина мощности, необходимой для возбуждения каскада, принимается равной Рб~ т.е.
Pвозб=Рб~ (10.12 )
Амплитуда напряжения возбуждения должна быть равной Uб , т.е.
Uвозб=Uб (10,13)
Величины активной и реактивной составляющих, входного сопротивления, являющегося нагрузкой возбуждающего каскада, соответственно
RвхU2возб/2Рвозб; Хвх=159103/fСвх (10,14)
где Свх=вх/rб
§ II. РАСЧЁТ ЗАДАЮЩЕГО ГЕНЕРАТОРА-АВТОГЕНЕРАТОРА
ВЫСОКОЙ ЧАСТОТЫ
Исходными данными для расчёта являются: величины мощности возбуждения Pвозб и амплитуды напряжения возбуждения Uвозб входное сопротивление последующего (возбуждаемого) каскада, рабочая частота f , интервал температур tmin-tmax окружающей среды, требования к стабильности частоты.
Задающие генераторы, как правило, работают при малых уровнях выходной мощности, величина которой доводится до требуемой последующим усилением в каскадах промежуточного и мощного усилителей. Расчёт автогенератора ведется из условия получения колебаний на заданной частоте при достаточно высокой стабильности частоты, что достигается соответствующим выбором типа транзистора, его режима, параметров колебательных цепей автогенератора. С целью повышения стабильности частоты в автогенераторе обеспечивается возможность работы с малым током базы и легкий тепловой режим чему способствует неполное использование транзистора по мощности, достигаемое снижением коллекторного напряжения и ограничением тока эмиттера за счет включения в его цепь резистора. С другой стороны, используется контур с высоким значением добротности и хорошими эталонными свойствами при малых коэффициентах их включения в коллекторную цепь транзистора.
Особенностью режима автогенератора является его работа с низкими к.п.д. =0,2-0,4 и к.п.д. коллекторного контура к=0,1-0,2 . Режим транзистора автогенератора выбирается граничным или недонапряжённым.
На энергетические показатели и стабильность частоты автогенератора заметное действие оказывает наличие существенного угла запаздывания по фазе первой гармоники коллекторного тока от напряжения базы-эммитер даже при сравнительно низких частотах. При частотах , приближающихся к fвх , угол запаздывания настолько увеличивается, что во избежание работы транзистора за резко расстроенную коллекторную цепь этот угол запаздывания должж компенсироваться за счёт создания равного и противоположного угла сдвига по фазе в цепи обратной связи. В связи с этим для автогенератора желательно выбирать транзистор, частота fвх, которого гораздо выше рабочей частоты.
Как известно, баланс фаз в автогенераторе представляется в виде уравнения
s +оs +конт =0 (11,11)
где s- угол запаздывания по фазе первой гармоники коллекторного тока относительно управляющего напряжения;
оs - угол запаздывания по фазе управляющего напряжения относительно коллекторного напряжения, взятого с обратным знаком;
конт - угол запаздывания по фазе напряжения на коллекторе, взятого с обратным знаком, относительно первой гармоники коллекторного тока.
Точное определение угла у затруднительно, так как он зависит от частоты и режима работы транзистора. Ориентировочно можно считать его равным вх который бывает известен из расчёта режима транзистора. Угол вх в автогенераторе определяется элементами обратной связи и входным сопротивлением транзистора, причём последнее существенно зависит от рабочей частоты , режима работы и дестабилизирующих факторов и трудно поддается расчёту из-за нелинейности входной характеристики транзистора. К тому же сильный разброс параметров транзистора от экземпляра к экземпляру также делает такой расчёт ориентировочным.
При изменении углов s и ос во время работы автогенератора генерируемая частота и угол конт изменяются, что приводит к уменьшению стабильности частоты, снижению мощности к.п.д. автогенератора. При проектировании цепи обратной связи следует стремиться для повышения стабильности, чтобы сдвиг фаз s+os был бы по возможности близок к нулю (тогда конт=0). В связи с этим приобретает интерес схема автогенератора (см.рис.11.3) с элементами компенсации фазы в цепи обратной связи для получения s+os=0 . Расчёт автогенератора ведется в том see порядке, что и предыдущих каскадов.
ВЫБОР ТИПА ТРАНЗИСТОРА
Выбор типа транзистора для автогенератора производится, исходя из допустимой мощности рассеивания транзистора и условия малой входной инерционности на рабочей частоте.
Предварительно, задавшись величинами (в пределах 0,2 - 0,4 )и к ( в пределах 0,1 - 0,2 ), определяем колебательную мощность транзистора
Р~=Рвозб/к ( 11,2 )
и мощность рассеивания транзистора
где N = 1,5-2: - коэффициент запаса по мощности рассеивания, необходимый для обеспечения легкого теплового режима транзистора.
Тип транзистора выбирается с учетом соотношений
Ррдоп>Pp и f<fвх
Если предполагается, что транзистор будет существенно недоиспользован по мощности, то для определения крутизны S0=0Sб значение Sб берётся на начальном участке характеристики iб=fб(Uб)
ВЫБОР СХЕМЫ АВТОГЕНЕРАТОРА
Одноконтурные автогенераторы выполняются по схемам с автотрансформаторной (рис.11.1,а), емкостной (рис.11,1,6,г) и трансформаторной (рис.11.I,в) обратной связью. Характерной особенностью транзисторных автогенераторов является подача комбинированного смещения на базу. Это объясняется тем, что транзисторы имеют "правую" характеристику коллекторного тока iк=fк(Uб)* и для получения режима мягкого самовозбуждения на базу транзистора необходимо подавать начальное отпирающее напряжение смещения Ебнач , при котором крутизна характеристики iк=fк(Uб) в точке покоя достаточна для самовозбуждения.
Рис .11.1. Схемы одноконтурных автогенераторов с различными видами обратной связи: а.-с автотрансформаторной; (б, г-с емкостной; в-с трансформаторной .
Это напряжение подается на базу транзистора от источника коллекторного питания с помощью делителя из резисторов R1 и R2,(см,рис.11.1). Для получения рабочего режима транзистора с отсечкой коллекторного тока < 90° используется автосмещение за счёт базового или эмиттерного тока. Включение в цепь эмиттера сопротивления автосмещения позволяет ослабить влияние изменения температуры на постоянную составляющую тока коллектора транзистора .
В схемах автогенераторов (см. рис.11.1,а,б,в) при равных условиях изменения параметров транзистора вызывают одинаковую нестабильность частоты. Изменение же состава высших гармоник коллекторного тока (например, вследствие изменения угла отсечки ) в схеме с емкостной связью сказывается слабее, чем в двух других. Поэтому при требовании повышенной стабильности частоты предпочтение отдается схеме с емкостной связью.
Схемы, приведенные на рис.11.1,6,г, являются модификациями схемы с емкостной обратной связью и применяются в тех случаях, когда в схеме с емкостной обратной связью не удается реализовать высокую добротность контура из-за малой величины индуктивности контура. Включение емкости С позволяет уменьшить коэффициент включения контура в коллекторную цепь транзистора и тем самым повысить его характеристику и индуктивность L так, чтобы увеличилась добротность контура.
На частотах, близких к fa , автогенераторы обычно строятся по схеме с общей базой. Пример такого автогенератора дан на рис.11.2. В этой схеме колебательный контур включён между коллектором и базой транзистора, а обратная связь осуществляется через емкость C3 . В качестве реактивного сопротивления в цепи база—эмиттер используется входная емкость транзистора. На рис.11.3 приведена схема автогенератора с: индуктивно-емкостной обратной связью, позволяющей компенсировать фазовый сдвиг . Элементом компенсации фазы в цепи обратной связи является цепочка, состоящая из C1 и сопротивления Rф=RRвх/(R+Rвх)
Для уменьшения влияния входного сопротивления Rвх на величину Rф сопротивление R выбирается в 3-5 раз меньше сопротивления Rвх .Применение шунтирующего сопротивления R приводит к потери высокочастотной мощности, но зато повышает стабильность частоты автогенератора.
Рис.11.2. Одноконтурный автогенератор по схеме с общей базой.
Угол ас, который обеспечивает компенсирующая фазу цепочка определяется по формуле
ас=arctg (1/ос) (11,4)
где ос=С1Rф постоянная времени цепи обратной связи автогенератора.
| Рис.11.3.Схема одноконтурного автогенератора с цепью коррекции фазы в цепи обратной связи | Рис.11.4.Эквивалентная схема автогенератора о цепью коррекции фазы в цепи обратной связи. |
Выбор системы питания базовой и коллекторной цепей зависит от схемы автогенератора. Так, в схеме автогенератора с емкостной обратной связью применяется параллельная система питания как в базовой, так и в коллекторной цепи. В схеме с автотрансформаторной обратной связью последовательная система питания может быть использована лишь в одной цепи либо в коллекторной, либо в базовой.
При повышенных требованиях к стабильности частоты необходимо особое внимание уделять стабилизации напряжения питания и в первую очередь , напряжения, подаваемого на базу. При питании транзистора автогенератора от общего источника питания радиопередатчика для повышения стабильности напряжения питания предусматривают включение стабилитрона в цепь питания автогенератора (см.рис.3.1, 3.2). В заключение составляется примерная принципиальная схема автогенератора
РАСЧЁТ РЕЖИМА ТРАНЗИСТОРА
Энергетический расчёт режима транзистора автогенератора ведется на заданную колебательную мощность P~ .
Режим работы транзистора выбирается граничным либо недонапряжённым. Предполагается, что резонансная частота контура автогенератора близка к частоте генерации, а добротность Q контура в нагруженном состоянии значительно больше единицы (Q>>1).
Величина постоянного напряжения на коллекторе выбирается из соотношения
Напряжение Ек нежелательно выбирать слишком малым, так как с уменьшением Ек резче проявляется зависимость выходной емкости Свых транзистора от напряжения Ек а значит, и влияние этой емкости на частоту автогенератора. Зная постоянную времени входной цепи
, определяем параметр вх
Величину угла отсечки коллекторного тока находим, исходя из работы автогенератора в стационарном режиме. Угол отсечки зависит от отношения средней крутизны Sср в стационарном режиме колебаний к крутизне S0 и связан с этим величинами соотношением
Sср/S0 (11,5)
где SсрIк1/Uб, =(,вх)
Обычно для автогенераторов величина отношения Sср/S0 лежит в пределах 0,25 - 0,4. Учитывая это, задаемся значением Sср/S0 и по известной величине j1 и вх находим по графику рис.7.3 угол отсечки . Для полученного угла определяем по таблицам 2 или по графикам рис.7.1, 7.2, 7.4 ’.
Коэффициент использования коллекторного напряжения в граничной режиме находится по формуле (7.13). При работе транзистора в недонапряжённом режиме выбирается равным
=(0,6-0,8)гр
Далее определяются
Uк=Ек; Р0= Iк0 Ек
Iк=2Р~/Uк Рк= Р0- Р~
Iк0=Iк10/ = Р~/ Р0
Rк= Uк/ Iк1 Uб= Iк1/S0
Еб=- Uбcos+ Еб`
Коэффициент обратной связи находится как
К=Uб/ Uк
РАСЧЕТ КОЛЕБАТЕЛЬНОЙ СИСТЕМЫ ОДНОКОНТУРНОГО АВТОГЕНЕРАТОРА
При расчете считаются заданными: амплитуда напряжения возбуждения Uвозб входное сопротивление последующего каскада (Rхв, Хвх) сопротивление коллекторной цепи Rк , амплитуда коллекторного напряжения Uк , коэффициент К обратной связи, угол сдвига фазы к.п.д., к контура автогенератора, частота f генерации. Выбрана схема автогенератора.
Электрический расчет параметров колебательной системы рассмотрим для случая, когда контур автогенератора будет настроен на частоту генерации и =0.
Требуемый угол сдвига фазы в цепи обратной связи определяем из условия баланса фаз (11.1)
ос=-s
Величину угла s принимаем равной величине вх. Тогда
освх (11,6)
Если вх >30 то в схеме автогенератора следует предусмотреть элементы компенсации фазы вх (например см.рис.11.3). При отсутствии корректирующей фазу цепи относительная расстройка контура может быть определена как
f/f0=tgконт/2 (11,7)
где =0(1-к) - добротность нагруженного контура;
0 - добротность ненагруженного контура;
f0 - резонансная частота контура
Предварительно перед расчетом задаемся добротностью 0 , контура и характеристикой , как это было показано в § 9 п.5. Далее определяем резонансное сопротивление ненагруженного контура, полагая конт=0
R0=Rк/(1-к) (11,8)
Коэффициент включения контура в цепь коллектора для получения требуемого R0 находится как
При этом надо учитывать, что в схемах автогенераторов с автотрансформаторной ч емкостной обратной связью наибольшее значение р определяется формулой
По известной величине определяются индуктивность L и емкость С контура, настроенного на частоту f ,
В этих формулах величины выражаются в единицах: R ,p-в Омах; L- мкгн; C - в пф; . f - в Мгц. Коэффициент включения контура в базовую цепь автогенератора найдется как
Рб=рК (11,13)
Коэффициент включения контура в базовую цепь транзистора последующего каскада определяется из условия получения заданной амплитуды напряжения Uвозб возбуждения этого каскада
Для осуществления коэффициентов включения в схемах рис.11.1,а и рис.11.3 приближенно имеем
Где L=L1+L2+L3
В схеме рис 11.1,в
При определении емкости конденсатора, включенного в контур, следует учитывать входную Cвх и выходную Свых емкости транзистора автогенератора, емкость монтажа и входную емкость Свх посл транзистора последующего каскада
Ск=С-(рСвых+рб2Свх+рбпосл2Свхпосл+См) (11,15)
Для схемы рис .11.1, г приближенно определяем
где С1’=С+Свых; С2’=С2+Свых
Ёмкостями См и Свхпосл пренебрегаем тогда
Расчет элементов С1, R цепи, корректирующей фазу, в схеме автогенератора на рис.11.3 произведем приближенно с учетом условия (11.6). Тогда
Сопротивление резистора R ориентировочно примем равным величине rб транзистора автогенератора, полагая, что Rвх>rб, тал как транзистор работает на частоте f < fвх . Сопротивление Rф оценим примерно как
Rф=(0,70,8)rб (11,17)
Тогда
Модуль коэффициента передачи корректирующей цепи
где Uб` - напряжение на базе, пересчитанное к зажимам контура (см.рис11.4).
Коэффициент включения контура в базовую цепь транзистора находится по формуле
где К’=К Кф
РАСЧЕТ ЭЛЕМЕНТОВ CXEMЫ ПИТАНИЯ
Расчет параметров цепи смещения транзистора ведется из условия получения выбранного режима работы транзистора и обеспечения ' условия самовозбуждения, которое при работе транзистора на частоте f S0`КRк1 (11.21 ) где S0’ - крутизна статической характеристики в начальной точке генерации. , При применении в базовой цепи транзистора комбинированного смещения, создаваемого делителем из резисторов R1, R2 и резистором R3 автосмещения (см.рис.11.1), расчет цепи смещения начинается с определения величины фиксированного напряжения Eб0 смешения, создаваемого на резисторе R2 при протекании через делитель R1, R2 тока от источника коллекторного питания. Это напряжение при автосмещении за счет эмиттерного тока определяется приближенно формулой Еб0=Еб - Iк0R3 ( 11.22 ) Сопротивление R3 выбирается с учетом соображений, приведенных в параграфе 8. При автосмещенни за счет базового тока Еб0=Еб+Iб0Rб ( 11.23 ) Сопротивление Rб желательно выбирать так, чтобы можно было обойтись без блокировочного дросселя в цепи базы (см.рис.11.1, а,б), т.е. RбХб (11.24) где Хб - сопротивление части контура между базой и коллектором. Зная величину Ебо и задаваясь величиной тока через делитель (см. § 8), определяем сопротивления где Ек0 - напряжение источника коллекторного питания. При проверке выполнения условия (11.21) требуется определить крутизну характеристики iк =fк(Uб) в начальной точке генерации. Для этого необходимо найти напряжение Ебнач, которое будет на базе в этой точке. Аналитический расчет этого напряжения затруднителен и удобнее определить его графически, как это предложено в работе [7] . Напряжение Ебнач найдется путем графического решения приближенного уравнения Левая часть уравнения (11.26) описывается характеристикой iк =fк(Uб) Графическое решение уравнения показано на рис .11.5. Найдя Ебнач и определив по характеристике iк=fк(Uб) крутизну S0, при Uб = Ебнач, проверяем выполнение условия (11.21). Напряжение источника питания в коллекторной цепи находится как Ек0Ек+Iк0R3 (11.27) Рис 11.5 Графическое определение параметра Ебнач Мощность потребляемая автогенератором от источника питания Рпотр+Р0+Рсм Iк0Ек0+Iдел2(R1+R2)+Iк02R3 (11,28) Блокировочные элементы в схеме питания определяются согласно условиям Параграфа 8 § 12. ДАЛЬНЕЙШИЙ ПОРЯДОК ПРОЕКТИРОВАНИЯ После того, как произведен технический расчет каскадов высокочастотного тракта радиопередатчика, определяется полная мощность, расходуемая на питание всех каскадов этого тракта радиопередатчика . Вычерчивается принципиальная схема высокочастотного тракта согласно ГОСТ 2.721-68 - ГОСТ 2.748-68, ГОСТ 2.750-68 и ГОСТ 2.751-68. Далее производится конструктивный расчет элементов радиопередатчика, в результате которого определяются геометрические размеры катушек индуктивности (длина катушки, диаметр обмотки и каркаса), дросселей, конденсаторов переменной ёмкости. Резисторы и конденсаторы постоянной емкости, выключатели и т.д. выбираются готовыми по каталогам и справочникам радиодеталей. Все расчеты, краткие пояснения к ним и описание конструкции представляются в виде пояснительной записки. Затем изготовляются чертежи конструкций отдельных блоков и всего радиопередатчика в цепом. Указания по составлению пояснительной записки и изготовлению чертежей даны в работе [12]. Параметры германиевых транзисторов при температуре окружающей среды +200С Тип Структура S0, а/в S, а/в Еб,в Uкб доп Uэб,доп,В Ррдоп, Вт rб,Ом Cкб, Ска, Пф П - 401 p - n - p 0.3 0.05 0.3 20 1 0.1 100 10; - 6 П - 402 p - n - p 0.3 0.05 0.3 20 1 0.1 100 10; - 8 П - 403 p - n - p 0.3 0.05 0.3 20 1 0.1 100 10; 5 12 П - 411 p - n - p 0.2 0.03 0.25. 10 0.5 0.09 50 5; 2.4 25 П - 416 p - n - p 0.12 0.05 0.2 15 3 0.1 100 8; 4 13 ГТ - 308 p - n - p 0.5 0.04 0.25 20 3 0.15 80 8; - 18 ГТ - 3112 p - n - p 0.5 0.05 0.3 12 2 0.15 60 2.0; 1 30 ГТ - 3133 p - n - p 0.3 0.04 0.3 15 3 0.1 40 2.0; 1 80 ГТ - 320 p - n - p 0.7 0.15 0.25 20 3 0.2 80 8; - 20 П - 602 p - n - p 1.5 0.33 0.2 30 0.8 1 11 170; - 1 П - 609 p - n - p 2.0 0.3 0.4 30 1.5 1.5 10 50; - 10 "_1 ••_•• i." ± ^-± J—L'—l 1—1 • ••_•• Значение/ в зависимости от'- yr'-ria ЁИТ-СВУ-^-Н-; .s: й- величины (значения 5. даны в градусах ) wtj в .0,5.0.75 1 .1.25- 1,5- .1.75- 2.Q. 2,25 2.5- 2.75. 3..0. X5. 4Л 4,5 5,0. 50 0.056 0.05. 0.045 0.041 0.037 0.034 0.031 0.029 0.027 0.025 0.024 0.021 0.019 0.018 0.016 55 0.075 0.068 0.061 0.056 0.052 0.047 0.044 0.041 0.038 0.036 0.034 0.03 0.027 0.025 0.023 60 0.097 0.089 0.081 0.074 0.068 0.063 0.059 0.055 0.052 0.048 0.046 0.041 0.037 0.034 0.032 65 0,123; 0,113; 0.1D4. 0,036 ода. 0.082 0,077 W2 0,068 0.064 0.06 0.055 0.05 0.046 0.042 70 №2 0.141 0.173 0.^ 0.160 0.121 0.149 0.112 0.139 0.^.0.5 0.130 W^ 0.123 0.092 0..087 0..082 0.103 0.078 0.098 0.070 0.089 0.064 0.082 0.059 0.075 0.0.55 75 0.185 0.115 0.109 0.07 . 80 0.221 0.207 0.194 0.181 0.169 0.159 0.15 0.142 0.134 0.127 0.121 0.11 0.102 0.094 0.087- 85 0.26 0,245 0.23 0.216 0,203 0.1.92 0.181 0.172 0.163 0.155 0.148 0.135 0.124 0.115 0.108 90 0.302 0.286 0.329 0.270 0.312 0.255 0.296 0.240 0.280 0.227 0.266 0.215 0.253 0.204 0.241 0.195 0.229 0.185 0.219 0.177 0.210 0.163 0.193' 0.150 0.179 0.139 0.167 0.131 95 0.345 0.157 100 0.392 0.376 0.3.57 Q.33& 0.323 0.307 0.293 0,279 0.2.67 0.257 0.24^ 0.228 0,212 0.195 0,Щ Таблица- '2,г Значения угла.: зависимости от угла отсечки 9-'и величина ( значения углов даны 'градуса.) 0) Тв, э 0,5 0,75 1'° 1,25 1,5 1,75 2, 0 2,25 2,5 2,75 3..0 3,5 4,0 4,5 5, 0 50 0.18 23 26 2S З.Е1. 31 3.2 -3.3 3.3 34 3-5 36 36 37 3-7 55 19 24 27 30 32 33 35 35 36 37 38 39 4 0 40 41 60 20 25 29 32 34 .36: 37 .3.8 3.9 4:0 41 42 43 44 44 65 20 26 30 33 36 38 39 41 42 43 44 45 46 47 48 70 0.21 27 32 35 38 4'0 32 43 45 4-6 47 49 50 51 5-2 75 22 28 33 37 40 42 44 46 47 49 50 52 53 55 56 80 22 29 34 3-8 42 44 а-7 49 5:0 52 53 5-5 57 58 6 85 ИЗ ,30 35 40 43 46- 39 S1 S3 5^ 5-6 59 61 62 64 90 23 31 37 41 45 48 51 54 5.6 59 59 62 6 4 66 68 95 23 31 36 43 47 •5G Ј3 S6- 58 61 62 66 68 71 •73 100 24 32 39 44 49 52 56 59 61 64 66 70 72 75 77 Таблица 2Д Q 0,5 0,75 1,0 1,25 1,5 1,75 2,0 2,25 2,5 2,75 3,0 3,5 4,0 4,5 5,0 50 1,82 1,81 1,79 1,78 1,78 1,77 1,77 1,77 1,76 1,76 1,76 1,76 1,75 1,75 1,75 55 1,79 1,77 l,76 1,75 1,74 1,73 1,73 1,72 1,72 1,72 1,71 1,71 1,70 1,70 1,70 60 1,75 1,73 1,72 1,70 1,69 1,69 1,68 1,68 1,67 1,66 1,66 1,66 1,65 1,65 1,64 65 1,72 1,69 1,68 1,66 1,65 1,54 1,63 1,62 1,62 1,61 1,61 1,60 1,60 1,59 1,59 70 1,68 1,65 1,63 1,62 1,6 1,59 1,58 1,57 1,57 1,56 1,55 1,55 1,54 1,53 1,53 75 1,64 1,61 1,59 1,57 1,55 1,54 1,53 1,52 1,51 1,50 1,5 1,4 1,45 1,47 1,46 80 1,60 1,57 1,54 1,52 1,50 1,49 1,47 1,46 1,45 1,14 1,43 1,42 1,41 1,40 1,39 85 1,56 1,53 1,49 1,47 1,45 1,43 1,41 1,4 1,39 1,38 1,37 1,35 1,34 1,32 1,31 90 1,52 1,48 1.45 1,42 1,39 1,38 1,36 1,34 1,35 1,31 1,3 1,28 1,26 1,25 1,23 95 1,47 1,44 1,40 1,37 1,34 1,32 1,30 1,27 1,26 1,25 1,23 1,20 1,18 1,16 1,14 100 1,43 1,39 1,35 1,32 1,28 1,26 1,24 1,21 1,29 1,17 1,15 1,12 1,10 1,08 1,06 Таблица №3 Коэффициенты косинусоидальных импульсов градусы 0 1 0 1 0/1 50 0,183 0,339 0,065 0,121 1,85 55 0,201 0,336 0,086 0,156 1,82 60 0,218 0,391 0,109 0,196 1,79 65 0,236 0,414 0,136 0,239 1,76 70 0,253 0,436 0,166 0,288 1,73 75 0,269 0,455 0,199 0,337 1,69 80 0,286 0,472 0,236 0,390 1,65 . 85 0,302 0,487 0,276 0,445 1,61 90 0,318 0,500 0,318 0,500 1,57 95 0,334' 0,510 0,363 0,554 1,53 100 0,350 0,520 0,411 0,611 1,49















