Лабораторная работа №1 (отчет) (546960)
Текст из файла
МОСКОВСКИЙ ЭНЕРГЕТИЧЕСКИЙ ИНСТИТУТ
(ТЕХНИЧЕСКИЙ УНИВЕРСИТЕТ)
Кафедра ЭИ
Лабораторная работа №1
ФЕРРОЗОНДОВЫЕ ПРЕОБРАЗОВАТЕЛИ В ПРИБОРАХ НЕРАЗРУШАЮЩЕГО КОНТРОЛЯ
Выполнили студенты
гр. А-15-0
.
Проверил преподаватель
Покровский А. Д.
200
1. Цель работы
Ознакомление с методикой снятия характеристики преобразования феррозонда-полимера и изучение серийных феррозондовых структуроскопов.
2. Содержание работы
2.1. Экспериментально снять характеристики преобразования феррозонда-полимера при двух значениях тока в его обмотке возбуждения.
2.2. Изучить работу структуроскопа ИМА-4 и определить твердость образцов из стали по шкале Бринелля с помощью этого структуроскопа.
2.3. Изучить работу структуроскопа КИФМ-1 и определить процентное содержание углерода в образцах с помощью этого структуроскопа.
3. Методика выполнения работы
3.1. Изобразите эскиз устройства феррозонда, эскиз расположения феррозонда в соленоиде, схему установки и опишите технику проведения эксперимента.
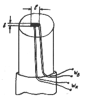
Феррозондовый преобразователь обладает следующими параметрами:
- диаметр сердечника d = 0,4 мм;
- длина сердечника l = 6,5 мм;
- число витков обмотки возбуждения (на полузонд) wв = 80;
- число витков измерительной обмотки (на полузонд) wи = 120;
- расстояние между осями полузондов (база зонда) b = 3 мм;
- ток возбуждения феррозонда не должен превышать значения Iв = 100 мА, частота возбуждения феррозонда fв = 5 кГц.
Рис. 3.1.1. Эскиз устройства феррозонда (расположенного в плексигласовом корпусе)
Для выявления характеристики преобразования феррозонда-полимера необходимо прежде всего создать внешнее равномерное постоянное магнитное поле Н_. В данной работе это поле создается в средней части соленоида. Испытуемый феррозонд (ФЗ) помещается внутрь соленоида в его центральной части. Равномерное магнитное поле, вектор напряженности которого Н_ совпадает по направлению с осью соленоида, как известно, создается током соленоида I_. Значение напряженности Н_ пропорционально значению тока.
Р
1 - феррозондовый преобразователь;
2 - генератор переменного напряжения питания обмотки возбуждения феррозонда;
3 - универсальный блок, с помощью которого осуществляется подключение феррозонда к генератору, измерение тока в обмотках возбуждения феррозонда и выделение полезного сигнала измерительных обмоток феррозонда;
4 - блок питания, подключенный к универсальному блоку и обеспечивающий работу избирательного усилителя, смонтированного в универсальном блоке;
5 - устройство для создания постоянного магнитного поля (соленоид);
6 - блок питания соленоида;
7 - амперметр для измерения тока соленоида.
V1 и V2 - вольтметры, используемые для измерения тока возбуждения феррозонда (с помощью вспомогательного резистора) и измерения выходного сигнала феррозонда.
ис. 3.1.2. Эскиз расположения феррозонда в соленоиде
Рис. 3.1.3. Схема установки
Техника проведения эксперимента:
1. Устанавливаем ток в обмотке возбуждения феррозонда.
2. Изменяя ток в соленоиде от 0 до 0.5А фиксируем значение ЭДС второй гармоники.
3. Меняем ток в обмотке возбуждения феррозонда и повторяем пункт 2.
Рис. 3.1.4. Примерный вид характеристики ФЗ
3.2. Изучите принцип действия и составьте структурную схему структуроскопа ИМА-4, используя описание этого прибора, приведенное в приложении к данному руководству. Изложите последовательность операций по определению твердости по шкале Бринелля образцов из ферромагнитных материалов. Приведите эскиз расположения объекта контроля (ОК), намагничивающего устройства и феррозонда структуроскопа при проведении измерений.
Рис. 3.2.1. Структурная схема структуроскопа ИМА-4
ГИ – генератор импульсного тока,
С – малогабаритный соленоид, через который проходит импульсный ток, осуществляющий намагничивание ОК,
ОК – объект контроля,
ФЗ – феррозонд-градиентометр, с помощью которого осуществляется измерение градиента остаточного магнитного поля,
ВП – выносной преобразователь, в котором расположены соленоид и феррозонд,
Ф – фильтр,
БУ – блок усиления,
И – индикатор, отклонение стрелки которого служит мерой градиента остаточного магнитного поля намагниченного ОК.
Последовательность операций по определению твердости по шкале Бринелля образцов из ферромагнитных материалов:
1. Установить преобразователь на исследуемую поверхность (прижать преобразователь к поверхности, при этом загорается желтая лампочка на передней панели прибора).
2. Через 5-10 секунд после успокоения стрелки снять показания по шкале прибора.
3. После трех-четырех замеров производить контроль «Калибровка».
Ось малогабаритного соленоида С, через который проходит импульсный ток, осуществляющий намагничивание, перпендикулярна к поверхности ОК. Измерение осуществляется с помощью феррозонда-градиентометра, ось которого совпадает с осью соленоида С, а полузонды расположены вдоль этой оси симметрично относительно намагничивающего соленоида.
Рис. 3.2.2. Эскиз расположения объекта контроля (ОК), намагничивающего устройства и феррозонда структуроскопа при проведении измерений
3.3. По описанию, приведенному в приложении к данному руководству, изучите принцип действия, структурную схему и работу структуроскопа КИФМ-1. Изложите последовательность операций по определению процентного содержания углерода в образцах из стали при помощи этого структуроскопа. Изобразите эскиз взаимного расположения объекта контроля (ОК), феррозонда и катушек, обеспечивающих намагничивание и размагничивание ОК.
Последовательность операций по определению процентного содержания углерода в образцах из стали при помощи структуроскопа КИФМ-1:
1. Установить преобразователь на поверхность образца контроля.
2. Включить тумблер в положение «Измерение». После намагничивания системы включится сигнальная лампочка и стрелка левого микроамперметра отклонится влево.
3. Путем регулировки тока размагничивания установить стрелку левого микроамперметра на нулевую отметку.
4. Определить по шкале правого миллиамперметра величину тока размагничивания.
5. Используя градуировочную кривую, делается вывод о процентном содержании углерода в материале.
Преобразователь представляет собой приставной электромагнит с П-образным магнитопроводом, на боковых сердечниках которого размещены обмотки, осуществляющие намагничивание и размагничивание системы. Возбуждающие обмотки феррозонда на рисунке не показаны.
Рис. 3.3.1. Эскиз взаимного расположения объекта контроля (ОК), феррозонда и катушек, обеспечивающих намагничивание и размагничивание ОК
3.4. По результатам эксперимента постройте в масштабе характеристики преобразования феррозонда, определите их рабочие диапазоны и значения коэффициентов преобразования. Запишите в отчете параметры контролируемых образцов, полученные с помощью структуроскопов.
Результаты определения твердости по шкале Бринелля образцов из ферромагнитных материалов при помощи структуроскопа ИМА-4:
Результаты определения процентного содержания углерода в образцах из стали при помощи структуроскопа К
ИФМ-1:
5
Характеристики
Тип файла документ
Документы такого типа открываются такими программами, как Microsoft Office Word на компьютерах Windows, Apple Pages на компьютерах Mac, Open Office - бесплатная альтернатива на различных платформах, в том числе Linux. Наиболее простым и современным решением будут Google документы, так как открываются онлайн без скачивания прямо в браузере на любой платформе. Существуют российские качественные аналоги, например от Яндекса.
Будьте внимательны на мобильных устройствах, так как там используются упрощённый функционал даже в официальном приложении от Microsoft, поэтому для просмотра скачивайте PDF-версию. А если нужно редактировать файл, то используйте оригинальный файл.
Файлы такого типа обычно разбиты на страницы, а текст может быть форматированным (жирный, курсив, выбор шрифта, таблицы и т.п.), а также в него можно добавлять изображения. Формат идеально подходит для рефератов, докладов и РПЗ курсовых проектов, которые необходимо распечатать. Кстати перед печатью также сохраняйте файл в PDF, так как принтер может начудить со шрифтами.
















