laba_5_titul (534538)
Текст из файла
Московский Энергетический Институт
(технический университет)
Кафедра Паровых и газовых турбин
Лабораторная работа №5
по курсу «Гидрогазодинамика»
ИССЛЕДОВАНИЕ СОПЛА ЛАВАЛЯ НА ПЕРЕМЕННЫХ РЕЖИМАХ
| Группа: | ТФ-06-04 |
| Студент: | ___________________ |
| Преподаватель: | ___________________ |
МОСКВА 2006
Цель работы: Изучение особенностей движения рабочей среды в проточной части сопла Лаваля на основе диаграммы его режимов.
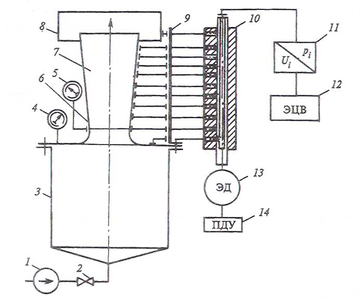
Схема установки и системы измерений
1 - нагнетатель
2 - задвижка
3 - бак-ресивер
4 - монометр
5 - монометр
6 - суж. часть сопла Лаваля
7 - расш. часть сопла Лаваля
8 - выходная камера
9 - распределительный щит
10 - коммутатор
11 - мановакуумметр
12 - вольтметр
13 - электродвигатель
14 - пульт дист. управления
Чертёж сопла Лаваля
Протокол испытания сопла Лаваля
| Режим | U0 | Uc | U1 | U2 | U3 | U4 | U5 | U6 | U7 | U8 | U9 | Uk |
| I | ||||||||||||
| II |
Характеристики
Тип файла документ
Документы такого типа открываются такими программами, как Microsoft Office Word на компьютерах Windows, Apple Pages на компьютерах Mac, Open Office - бесплатная альтернатива на различных платформах, в том числе Linux. Наиболее простым и современным решением будут Google документы, так как открываются онлайн без скачивания прямо в браузере на любой платформе. Существуют российские качественные аналоги, например от Яндекса.
Будьте внимательны на мобильных устройствах, так как там используются упрощённый функционал даже в официальном приложении от Microsoft, поэтому для просмотра скачивайте PDF-версию. А если нужно редактировать файл, то используйте оригинальный файл.
Файлы такого типа обычно разбиты на страницы, а текст может быть форматированным (жирный, курсив, выбор шрифта, таблицы и т.п.), а также в него можно добавлять изображения. Формат идеально подходит для рефератов, докладов и РПЗ курсовых проектов, которые необходимо распечатать. Кстати перед печатью также сохраняйте файл в PDF, так как принтер может начудить со шрифтами.
















