СНиП 2.06.06-85 (с изм. 1 1987) (524595), страница 2
Текст из файла (страница 2)
Марку бетона по водонепроницаемости следует принимать в соответствии с табл. 3.
Таблица 3
| Марка бетона по водонепроницаемости при градиенте напора | ||||
| до 5 | 5-10 | 10-15 | 15-20 | 20-30 |
| W2 | W4 | W6 | W8 | W10 |
2.5. Для частей и элементов плотин, периодически омываемых водой (зона II), марка бетона по водонепроницаемости принимается не ниже W4; при воздействии на бетон потока воды с влекомыми наносами, а также при предъявлении к бетону требований к стойкости против кавитации марка бетона по водонепроницаемости должна быть не ниже W8.
В агрессивной воде-среде марку бетона по водонепроницаемости следует устанавливать в соответствии со СНиП 2.03.11-85.
2.6. При наличии на низовой грани плотины железобетонной облицовки толщиной более 15 см морозостойкость бетона зоны I допускается принимать на марку ниже по сравнению с маркой для незащищенных наружных поверхностей. Морозостойкость бетона облицовки должна отвечать требованиям ГОСТ 10060-76. Конструкция стыков облицовки должна исключать прямое попадание влаги на бетон тела плотины.
2.7. Возраст (срок твердения) бетона, соответствующий его проектным классу по прочности на сжатие и марке по водонепроницаемости, следует назначать с учетом сроков возведения сооружения и наполнения водохранилища.
Для бетонных плотин высотой более 60 м и объемом бетона более 500 тыс. м3 указанный возраст следует принимать, как правило, равным одному году.
2.8. Число различных классов бетона в сооружении, как правило, надлежит принимать не более четырех, при этом увеличение числа классов бетона допускается при надлежащем обосновании.
2.9. Для плотин I и II классов допускается разрабатывать специальные технические условия на цемент, согласовывая и утверждая их в установленном порядке.
2.10. Для бетонных плотин объемом бетона более 1 млн. м3 следует наряду с установленными в СНиП II-56-77 нормативными сопротивлениями бетона на сжатие принимать также и промежуточные их значения.
3. ОБЩИЕ КОНСТРУКТИВНЫЕ ТРЕБОВАНИЯ
3.1. Ширину и конструкцию гребня глухой плотины следует принимать в зависимости от вида плотины, условий производства работ, использования гребня в эксплуатационный период для проезда, прохода или других целей, но не менее 2м.
3.2. Превышение гребня глухой плотины над уровнем воды в верхнем бьефе следует определять в соответствии со СНиП 2.06.05-84. При этом величину запаса возвышения гребня плотины а (с учетом парапета), м, следует принимать: для плотин I класса - 0,8; II - 0,6; III и IV - 0,4.
3.3. Размеры быков водосбросных плотин следует назначать в зависимости от типа и конструкции затворов, размеров водосбросных отверстий, эксплуатационных и аварийных выходов из продольных галерей, размеров и конструкции мостовых пролетных строений. При этом толщину пазового перешейка быка во всех случаях необходимо назначать не менее 0,8 м.
3.4. Отметку верха быков водосливной плотины со стороны верхнего бьефа следует назначать с учетом отметки гребня глухой плотины, типа затворов, условий маневрирования ими, подъемных и транспортных механизмов, наличия мостового перехода и его габаритов по высоте.
Отметку верха быков следует принимать наивысшей из определенных по каждому из перечисленных условий.
3.5. Очертание быков в плане со стороны верхнего бьефа должно обеспечивать плавный вход воды в водосбросное отверстие и минимальное сжатие потока.
В случае пропуска льда оголовок быка следует проектировать заостренной формы.
3.6. Очертание в плане и высоту быков со стороны нижнего бьефа следует определять общими конструктивными требованиями с учетом прочностных и гидравлических условий, расположения мостовых конструкций и других сооружений, а также незатопления верха быков.
3.7. Лицевую грань раздельных и береговых устоев в пределах водосброса следует конструировать аналогично граням быков.
3.8. При проектировании автомобильных или железнодорожных мостов по быкам и устоям плотин к быкам и устоям следует предъявлять дополнительно требования как к мостовым опорам.
3.9. При сопряжении отдельных частей плотины (водосбросной части с глухой) надлежит избегать выступов напорной грани одной части плотины по отношению к другой.
3.10. Вдоль верховой грани плотин следует предусматривать устройство дренажа в виде вертикальных скважин (дрен), имеющих выходы в продольные галереи, или горизонтальных дрен, приуроченных к ярусам бетонирования и имеющих выходы в смотровые шахты, расположенные в межсекционных швах плотины.
3.11. Диаметр вертикальных дренажных скважин следует принимать 10 - 30 см; расстояние между осями дрен - 2-3 м.
Горизонтальные дрены трапецеидального или прямоугольного сечения площадью 400 — 800 см2 следует располагать по высоте плотины через 2—3 м.
3.12. Расстояние от напорной грани плотины до оси дренажа adr, а также до верховой грани продольной галереи следует назначать не менее 2 м при соблюдении условия
где Hd — напор над расчетным сечением;
gn — коэффициент надежности по назначению сооружения, принимаемый в соответствии с п. 5.13.
Icr,m — критический средний градиент напора для бетона плотины;
Величину критического среднего градиента напора надлежит принимать:
для гравитационных и массивно-контрфорсных плотин - 25;
для арочных и арочно-гравитационных плотин и для арочных напорных перекрытий многоарочных плотин - 50.
3.13. В основании плотин при необходимости следует предусматривать устройство дренажа.
3.14. В теле плотины необходимо предусматривать продольные и поперечные галереи. По высоте плотины галереи следует располагать через 15 - 40 м.
Одну из продольных галерей следует проектировать выше максимального уровня нижнего бьефа для обеспечения самотечного отвода воды из всей вышележащей части плотины. Из нижележащих галерей необходимо предусматривать откачку воды. Выпуск воды в нижний бьеф во всех случаях должен осуществляться ниже минимального уровня.
3.15. Размеры галерей, устраиваемых для цементации основания и строительных швов плотины, создания и восстановления вертикального дренажа, следует принимать минимальными, обеспечивающими провоз и работу бурового, цементационного и другого оборудования, с учетом размещения трубопроводов для охлаждения бетона и кабельных коммуникаций.
Ширину галерей, предусмотренных для сбора и отвода воды, контроля за состоянием бетона плотины и уплотнения швов, размещения КИА и различного рода коммуникаций следует назначать не менее 1,2 м, высоту не менее - 2,0 м.
Пол галереи, предусмотренной для сбора и отвода воды, следует проектировать с уклоном не более 1:40 в сторону водосливного лотка.
3.16. В плотинах, имеющих несколько ярусов галерей, необходимо предусматривать сообщение между ними путем устройства маршевых лестниц или лифтов.
Каждый нижележащий ярус галерей должен иметь аварийные выходы в вышележащий. Каждая продольная галерея должна иметь не менее двух аварийных выходов, расположенных на расстоянии не более 300 м друг от друга.
3.17. В растянутой зоне на напорной грани бетонных, а при обосновании и железобетонных плотин, следует рассматривать целесообразность устройства гидроизоляции (асфальтовой штукатурной, литой асфальтовой, пропиточной битумной, штукатурной минеральной, окрасочной полимерной и полимербитумной).
3.18. При среднемесячной температуре наружного воздуха в наиболее холодном месяце года ниже минус 25 °С в зоне переменного уровня воды следует рассматривать целесообразность устройства по бетонным поверхностям (кроме водосливных) теплогидроизоляции из легкого асфальтобетона, эпоксидно-каменноугольных и поливинил-хлоридных пенопластов и других теплогидроизоляционных материалов.
3.19. Для плотин, возводимых в Северной строительно-климатической зоне, следует рассматривать целесообразность устройства постоянной теплоизоляции открытых поверхностей.
ДЕФОРМАЦИОННЫЕ ШВЫ ПЛОТИН И ИХ УПЛОТНЕНИЕ
3.20. При проектировании бетонных и железобетонных плотин следует предусматривать постоянные (межсекционные и вертикальные швы-надрезы) и временные (строительные) деформационные швы.
Размеры секций плотин и блоков бетонирования следует определять в зависимости от:
вида и высоты плотин, размера секции здания ГЭС, а также расположения в плотинах водопропускных отверстий, в том числе турбинных водоводов;
методов возведения плотины;
формы поперечного сечения русла, геологического строения и деформируемости основания плотины, климатических условий района строительства с учетом обеспечения монолитности бетона секций плотины между швами.
3.21. При выборе вида деформационных швов и расстояний между ними следует соблюдать требования СНиП II-56-77.
3.22. Ширину постоянного деформационного шва следует назначать на основе сопоставления расчетных данных по ожидаемым деформациям смежных секций плотин с учетом предусматриваемой проектом конструкции шва, деформативных свойств материала его заполнения и обеспечения независимости перемещения секций плотины относительно друг друга.
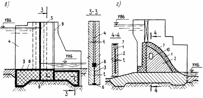
При предварительном назначении конструкций постоянных деформационных швов их ширину следует принимать (черт. 4):
температурных — 0,5 - 1 см на расстоянии не более 5 м от лицевых граней и гребня, а внутри тела плотины — 0,1 - 0,3 см;
температурно-осадочных — 1 - 2 см в пределах фундаментной плиты плотины и водобоя при любых нескальных и полускальных грунтах основания;
выше фундаментной плиты плотины на нескальных грунтах основания — не менее 5 см.
1-1
2-2
Черт. 4. Схемы расположения уплотнении в постоянных деформационных швах плотин на скальном (а, б) и нескальном (в, г) основаниях
1 - шов, t = 0,5 - 1 см; 2 - шов, t = 0,1 - 0,3 см; 3 - шов, t = 1 - 2 см; 4 - шов, t ³ 5 см; 5, 6, 7 - соответственно вертикальное, горизонтальное и контурное уплотнения; 8 - дренажное устройство; 9 - смотровая шахта: 10 - смотровая галерея
3.23. В конструкциях постоянных деформационных швов следует предусматривать:
уплотнение, обеспечивающее его водонепроницаемость;
дренажное устройство для отвода профильтровавшейся через уплотнение или в его обход воды;
устройство смотровых шахт и галерей для наблюдения за состоянием шва и ремонта уплотнения.
3.24. Уплотнения постоянных деформационных швов плотин следует подразделять:
по расположению в шве — на вертикальные, горизонтальные и контурные (см. черт. 4);
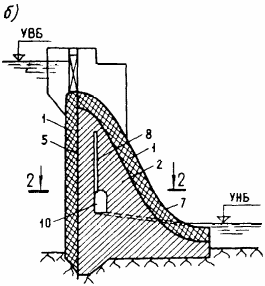
по конструкции и материалам — на диафрагмы из металла, резины и пластических масс (черт. 5. а), шпонки и прокладки из асфальтовых материалов (черт. 5. б), инъекционные (цементация и битуминизация) (черт. 5, в). брусья и плиты из бетона и железобетона (черт. 5, г).
Для плотин III и IV классов в зонах ниже уровня мертвого объема (УМО) допускается применять уплотнения из антисептированных деревянных элементов, изготовленных из древесины, устойчивой к воздействию воды.
Черт. 5 Схемы основных уплотнений деформационных швов бетонных и железобетонных плотин
а - диафрагмы из металла, резины и пластических масс; б - шпонки и прокладки из асфальтовых материалов; в - инъекционные (цементация и битумизация) уплотнения; г - брусья и плиты из бетона и железобетона; 1 - металлические листы; 2 - профилированная резина; 3 - асфальтовая мастика; 4 - железобетонная плита; 5 - скважины для цементации; 6 - цементационные клапаны; 7 - железобетонный брус; 8 - асфальтовая гидроизоляционная прокладка
3.25. При проектировании конструкций уплотнений деформационных швов плотин необходимо соблюдать следующие условия:
материал уплотнения должен непосредственно примыкать к бетону образующих шов секций;
величина напряжения на контакте асфальтового материала уплотнения с бетоном в рассматриваемом сечении должна быть не менее величины внешнего гидростатического давления воды в том же сечении;
















