СНиП 2.06.06-85 (с изм. 1 1987) (524595), страница 11
Текст из файла (страница 11)
при dt > 0,320 bd - армировать верховую грань сооружения, рассматривая сечение тела плотины как железобетонное и обеспечением прочности бетона сжатой зоны по условию gn glc |sз| £ gcd Rb.
Для плотин, рассчитываемых на сокращенный состав нагрузок и воздействий методами сопротивления материалов, максимальные главные сжимающие напряжения на низовой грани сооружения при выходе из работы бетона растянутой зоны допускается определять по формуле
Для облегчения напряженного состояния плотины при сейсмических воздействиях и уменьшения количества арматуры на верховой грани сооружения надлежит предусматривать конструктивные мероприятия, в том числе снижение массы оголовка плотины.
7.23. При выборе условия прочности из числа приведенных в табл. 11 и 12 наличие гидроизоляции верховой грани учитывается в том случае, если предусмотрена защита гидроизоляционного экрана от внешних механических повреждений или возможен его ремонт, а дренаж тела плотины предусмотрен непосредственно за экраном; наличие гидроизоляции контакта учитывается в том случае, если понур имеет длину не менее 0,166 h, а напорная грань плотины защищена противофильтрационным экраном, сопряженным с понуром, на высоту от подошвы не менее 0,166b и не менее 2a1 (см. черт. 10).
Таблица 12
| Во всех точках тела плотин всех видов при основных и всех особых сочетаниях нагрузок и воздействий: gn glc |sз| £ gcd Rb | |||
| У верховой грани сооружения | |||
| Конструктивные | Основные | Особые сочетания | |
| особенности плотин и расчетные сечения | сочетания нагрузок | не включающие сейсмические воздействия | включающие сейсмические воздействия |
| А. Плотины без расширенных швов Горизонтальные сечения тела плотины без гидроизоляционного экрана на верховой грани | dt £ 0,133bd | dt £ 0,286bd** | |
| То же, с гидроизоляционным экраном на верховой грани | dt £ 0,133bd | dt £ 0,167bd | dt £ 0,286bd** |
| Контактное сечение плотины без гидроизоляции контакта верховой грани плотины с основанием | dt £ 0,300a2*** | dt £ 0,200b | |
| То же, с гидроизоляцией контакта верховой грани плотины с основанием | dt £ 0,071b | dt £ 0,083b | dt £ 0,200b |
| Б. Плотины с расширенными швами Горизонтальные сечения тела плотины | dt £ 0,133hbd | dt £ 0,286hbd | |
| Контактное сечение | dt £ 0,300ha2 | dt £ 0,200hb | |
| * Если на некоторой части напорной грани плотины не выполняются данные условия прочности, то на этом участке верховой грани следует предусматривать дополнительные меры по гидроизоляции и предотвращению недопустимого раскрытия строительных швов. ** При невыполнении указанных условий прочности надлежит руководствоваться указаниями п. 7.22. *** В тех случаях, когда подземный профиль плотины не содержит цементационной завесы, вместо a2, принимается a3, для плотин без расширенных швов и bh для плотин с расширенными швами. | |||
7.24. Местные напряжения в теле плотины вокруг отверстий, проемов и полостей определяются расчетами методом теории упругости или по результатам экспериментальных исследований.
Концентрация напряжений во входящих углах проемов не учитывается при оценке прочности тела плотины и назначении количества арматуры.
7.25. При проектировании поверхностных и глубинных водосбросных отверстий плотин следует выполнять расчет прочности опорных конструкций затворов (пазов, консолей и т. п.). Расчеты прочности этих конструкций следует выполнять методами теории упругости с учетом совместной работы стальных опорных деталей и бетонного основания.
При интенсивности нагрузки на опорный рельс паза, превышающей 2500 кН/м, кроме расчетов прочности пазовых конструкций рекомендуется выполнять экспериментальные исследования на моделях этих конструкций.
7.26. Расчет устойчивости гравитационных плотин на сдвиг выполняется в соответствии со СНиП II-16-76. Следует рассматривать устойчивость плотины как по контакту сооружения с основанием, так и по другим возможным расчетным поверхностям сдвига, полностью или частично проходящим ниже подошвы плотины и определяемым наличием в основании слабых прослоек, полого падающих трещин, зон размыва, размещением в нижнем бьефе плотины каких-либо сооружений и т.д.
Наряду с расчетом устойчивости на сдвиг необходимо рассматривать устойчивость по схеме предельного поворота с разрушением основания в зоне низовой грани плотины.
Для сооружений из бетона с пониженными характеристиками прочности на сдвиг, в том числе для плотин, возводимых из укатанного бетона или без специальной обработки горизонтальных строительных швов, следует производить проверку устойчивости на сдвиг по строительным швам.
7.27. При проверке устойчивости плотины следует учитывать совместную с ней работу на сдвиг здания ГЭС или других массивных сооружений, непосредственно примыкающих к плотине со стороны нижнего бьефа. Доля общего сдвигающего усилия, приходящаяся на здание станции или другое сооружение, определяется расчетом напряженного состояния контакта плотины и примыкающего к ней сооружения.
В расчетной схеме по определению сдвигающего усилия для здания станции следует учитывать конструкцию сопряжения здания станции с низовой гранью плотины. Для сооружений I и II классов высотой более 60 м при сложных инженерно-геологических условиях в дополнение к расчету, как правило, надлежит проводить исследования на моделях.
7.28. Расчеты устойчивости неразрезных плотин следует выполнять как для всего сооружения в целом, так и для отдельных его частей, определяемых в зависимости от неоднородности геологического строения основания, особенностей конструкции и условий возведения плотины. В расчетах необходимо учитывать возможность сдвига совместно с сооружением и части скального основания, а также реакцию береговых упоров.
7.29. При расчете плотин на нагрузки и воздействия строительного периода во всех точках тела плотины должны выполняться условия прочности:
gn glc |sз| £ gcd Rb;
gn glc s1 £ gcd Rbt,
где gn, glc, gcd ‑ коэффициенты, определяемые согласно указаниям п. 5.13;
sз, Rb ‑ см. п. 7.18;
s1 — максимальное главное растягивающее напряжение, МПа;
Rbt — расчетное сопротивление бетона растяжению, МПа.
На всех этапах строительства должна быть обеспечена устойчивость на сдвиг и опрокидывание отдельных элементов (в частности, столбов) плотины.
При возведении плотины очередями ее прочность должна быть обеспечена, как правило, без омоноличивания строительных швов между очередями.
7.30. Расчет плотин всех классов по образованию трещин от температурных воздействий выполняется для всех бетонных поверхностей, подверженных температурным воздействиям наружного воздуха в эксплуатационный период, а также для блоков бетонирования на температурные воздействия строительного периода.
Расчеты трещиностойкости выполняются с применением методов механики хрупкого разрушения и с использованием характеристик бетона, полученных путем испытаний крупномасштабных образцов. Для плотин I и II классов на начальных стадиях проектирования, а для плотин III и IV классов — на всех стадиях проектирования оценку трещиностойкости бетонных конструкций при температурных воздействиях допускается производить в соответствии со СНиП II-56-77.
При определении глубины раскрытия швов на низовой грани плотины следует принимать в расчетах коэффициент линейного расширения для промороженного бетона.
8. КОНТРФОРСНЫЕ ПЛОТИНЫ НА СКАЛЬНЫХ ОСНОВАНИЯХ
КОНСТРУИРОВАНИЕ ПЛОТИН И ИХ ЭЛЕМЕНТОВ
8.1. Конструирование контрфорсных плотин и их элементов следует выполнять в соответствии с разд. 3 и указаниями настоящего раздела.
8.2. При выборе вида контрфорсной плотины предпочтение следует отдавать массивно-контрфорсным плотинам (черт. 11).
Черт. 11. Отдельные части и элементы массивно-контрфорсной плотины
1 — гребень; 2 — контрфорс; 3 — низовое перекрытие; 4 — противофильтрационные уплотнения; 5 — массивный оголовок; 6 — полости; 7 — низовой клин; 8 — перекрытия полостей; 9 — смотровые галереи; 10 ‑ дренажная галерея; 11 — дренаж основания; 12 — противофильтрационная (обычно цементационная) завеса; 13 ‑ цементационная галерея; 14 ‑ верховой клин; 15 ‑ дренаж плотины
Плотины с плоским перекрытием следует проектировать высотой не более 50 м.
8.3. Верховые оголовки массивно-контрфорсных плотин, как правило, необходимо проектировать с плоской напорной гранью; в теле оголовка должен предусматриваться дренаж.
Напорные перекрытия многоарочных плотин следует проектировать неразрезными в виде сводов, жестко соединенных с оголовком контрфорса.
Плоские напорные перекрытия, как правило, надлежит проектировать разрезными в виде плит, свободно опертых на оголовке контрфорсов.
Толщина напорного перекрытия контрфорсных плотин должна определяться из условий обеспечения прочности, ограничения градиента напора фильтрационного потока допустимым пределом, размещения противофильтрационных устройств. При этом толщину напорного перекрытия допускается принимать переменной по высоте с сохранением непрерывного очертания верховой грани.
8.4. В случаях, когда необходимо создание поверхностных водосливов или обеспечение в замкнутой полости между контрфорсами положительных температур, следует предусматривать устройство низового перекрытия.
Допускается использование низового перекрытия также для поддержания напорных водоводов гидроэлектростанции.
8.5. Толщину контрфорсов t1 следует назначать:
для массивно-контрфорсных плотин t1 = (0,25 ‑ 0,50) t, где t ‑ размер секции в направлении оси плотины;
для плотин с арочным или плоским перекрытием t1 = (0,15 ‑ 0,25) t, но не менее 0,06 аcd, где аcd ‑ расстояние расчетного сечения от гребня плотины.
При выполнении указанных требований расчет устойчивости контрфорсов на продольный изгиб допускается не производить.
8.6. Для контрфорсных плотин, располагаемых в сейсмических районах, в зависимости от местных условий следует предусматривать конструктивные решения, повышающие жесткость сооружения в направлении поперек потока: балки и ребра жесткости, попарное омоноличивание контрфорсов и т.д.
8.7. Цементационную завесу в основании контрфорсных плотин следует проектировать, если основание сложено породами со средним коэффициентом фильтрации К ³ 0,1 м/сут; если породы, слагающие основание, практически водонепроницаемы или слабоводопроницаемы (К < 0,1 м/сут), то устройство цементационной завесы допускается только при специальном обосновании.
В случае отказа от устройства цементационной завесы следует предусматривать цементацию контакта плотины с основанием в зоне верховой грани сооружения.
Включение в состав подземного контура контрфорсной плотины дренажа основания должно быть обосновано фильтрационными исследованиями.
8.8. В плотинах I и II классов для устройства противофильтрационной завесы следует предусматривать в нижней части напорного перекрытия цементационную галерею. Проектами плотин III и IV классов, а в отдельных случаях и плотин II класса должна предусматриваться возможность выполнения цементационной завесы без устройства цементационной галереи непосредственно из полостей между контрфорсами.
8.9. При проектировании разрезки контрфорсов плотины строительными швами надлежит рассматривать возможность применения как цементируемых, так и объемных бетонируемых швов.
8.10. Для контрфорсных плотин допускается проектирование водосбросов по схемам сопряжения бьефов для гравитационных плотин в соответствии с п. 7.9.
Для водосбросов, расположенных в пределах контрфорсов, следует предусматривать носки-трамплины для распределения струи по площади русла в нижнем бьефе.
Низовые перекрытия контрфорсных плотин, используемые для пропуска сбросных расходов, должны проектироваться с учетом кавитационных воздействий и пульсационных нагрузок от сливающейся струи.
8.11. Проектирование конструкции водобоев контрфорсных плотин следует выполнять в соответствии с п. 7.10.
8.12. В случае пропуска строительных расходов воды через полости между контрфорсами в зависимости от крепости скальных грунтов, слагающих основание, надлежит рассматривать необходимость крепления бетоном поверхности основания между контрфорсами. При этом в бетонном креплении следует предусматривать устройство дренажных колодцев.
РАСЧЕТЫ ПЛОТИН НА ПРОЧНОСТЬ И УСТОЙЧИВОСТЬ
8.13. Расчеты плотин и их элементов на прочность, устойчивость и трещиностойкость, а также железобетонных конструкций - на раскрытие трещин надлежит выполнять в соответствии с требованиями СНиП II-56-77, СНиП II-16-76, разд. 5 и указаниями настоящего раздела.
8.14. При проектировании контрфорсных плотин следует рассчитывать контрфорсы на общую прочность при их работе вдоль и поперек потока, а также напорные перекрытия.
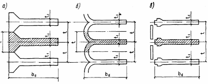
8.15. В расчетах контрфорсов на общую прочность в плоскости вдоль потока (черт. 12) следует рассматривать:
для массивно-контрфорсных плотин — отдельно стоящую секцию:
для плотин с неразрезным напорным перекрытием, монолитно соединенным с контрфорсом - контрфорс с примыкающей к нему частью напорного перекрытия в пределах половины пролета с каждой стороны контрфорса;
для плотин с разрезным напорным перекрытием — отдельно стоящий контрфорс.
Черт. 12. Схемы к расчету контрфорсов на прочность вдоль потока
а — для массивно-контрфорсных плотин; б — для плотин с неразрезным арочным напорным перекрытием; в — для плотин с разрезным напорным перекрытием; t1 — толщина контрфорса; t —длина секции; bd — ширина расчетного сечения
8.16. Расчеты общей прочности контрфорсов, как правило, выполняются на полный состав нагрузок и воздействий основного и особых сочетаний.
Допускается рассчитывать на сокращенный состав нагрузок и воздействий основного и особых сочетаний контрфорсы плотин высотой более 60 м на начальных стадиях проектирования и высотой менее 60 м - на всех стадиях проектирования.
8.17. Нагрузки и воздействия, учитываемые в расчетах по полному их составу, определяются в соответствии с пп. 4.2 — 4.5.
8.18. Расчет контрфорсов на полный состав нагрузок эксплуатационного периода следует выполнять в соответствии с пп. 7.16 и 7.17; условия прочности контрфорсов принимаются по табл. 13, где gn, glc, gcd, sз, Rb, dt, t, t1, bh, а2, ‑ см. п. 7.18;
,
,
‑ см. п. 7.20.
Таблица13
| Во всех точках тела контрфорса при основных и всех особых сочетаниях нагрузок и воздействий: gn glc |sз| £ gcd Rb* | |||
| У верховой грани сооружения | |||
| Конструктивные | Основные | Особые сочетания | |
| особенности плотин и расчетные сечении | сочетания нагрузок | не включающие сейсмические воздействия | включающие сейсмические воздействия |
| А. Массивно-контрфорсные плотины Горизонтальные сечения тела плотины | |||
| Контактное сечение | |||
| Б. Плотины с арочными и плоскими напорными перекрытиями Горизонтальные сечения тела плотины | |||
| Контактное сечение | |||
| * При проверке прочности у низовой грани допускается осреднять значение напряжения sз на участке расчетного горизонтального сечения шириной 4,0 м от низовой грани. ** В тех случаях, когда подземный контур платины не содержит цементационной завесы, вместо а2 принимается bh. | |||
8.19. Нагрузки и воздействия, учитываемые в расчетах по сокращенному их составу, определяются в соответствии с п.7.19. При этом следует учитывать уменьшение ширины расчетных горизонтальных сечений контрфорса или по его подошве при возведении плотин в районах с амплитудой сезонных колебаний температуры наружного воздуха более 17°С.
Плотины всех классов высотой до 60 м, возводимые в районах с амплитудой сезонных колебаний температуры наружного воздуха более 17°С, следует рассчитывать методами теории упругости на полный состав нагрузок и воздействий, обеспечивая выполнение условий прочности, приведенных в табл. 13.
8.20. В расчетах прочности контрфорса на сокращенный состав нагрузок и воздействий напряжения следует определять методами сопротивления материалов. При этом значения нормальных напряжений, МПа, в горизонтальных сечениях контрфорса на верховой и низовой гранях (см. черт. 10)
и
надлежит определять с учетом величин модуля упругости бетона в отдельных частях плотины по формулам:
где Ared, Ired — соответственно площадь, м2, и момент инерции, м4, приведенного горизонтального сечения контрфорса;
xu, xt — расстояния от центра тяжести приведенного сечения контрфорса соответственно до верховой и низовой граней, м:
Eb1, Eb2, Eb3, — модули упругости бетона соответственно контрфорса, верхового и низового оголовков, МПа, принимаемые в соответствии с пп. 5.17, 5.18;
N, М ‑ см. П.7.20.
Размеры приведенного сечения контрфорса (черт. 13) определяются из условий:
в направлении вдоль потока размеры приведенного и действительного сечения контрфорса равны;
в направлении поперек потока размеры приведенного сечения контрфорса ti,red, м, определяются по формуле
где ti и еb1 — соответственно толщина, м, и модуль упругости бетона, МПа, отдельных частей контрфорса.
Черт. 13. Схема к определению размеров приведенного сечения контрфорса
1 — контур приведенных сечений оголовков в случав приведения их модулей упругости бетона еb2 и еb3 к модулю упругости бетона контрфорса еb1 (при еb3 > еb2 > еb1)
В формулах (24) и (25) нормальные растягивающие силы и напряжения приняты со знаком „плюс", сжимающие — со знаком „минус"; изгибающий момент по часовой стрелке принят со знаком "плюс" против часовой стрелки — со знаком "минус".
8.21. Условия прочности контрфорсов плотин, рассчитываемых на сокращенный состав нагрузок и воздействий эксплуатационного периода, даны в табл. 14, где: gn, glc, gcd, sз, Rb ‑ см. п. 7.18;
,
,
, gw,
‑ см. п. 7.20.
Таблица 14
| Во ветх точках тела контрфорса при основных и всех особых сочетаниях нагрузок и воздействий: gn glc |sз| £ gcd Rb* | |||
| У верховой грани сооружений | |||
| Конструктивные | Основные | Особые сочетания | |
| особенности плотин и расчетные сечении | сочетания нагрузок | не включающие сейсмические воздействия | включающие сейсмические воздействия |
| А. Массивно-контрфорсные плотины Горизонтальные сечения тела плотины | |||
| Контактное сечение | |||
| Б. Плотины с арочными и плоскими напорными перекрытиями Горизонтальные сечения тела плотины | |||
| Контактное сечение | |||
| * Если на некоторой части напорной грани плотины не выполняются указанные условия прочности, то на этом участке верховой грани следует предусматривать дополнительные меры по гидроизоляции и предотвращению недопустимого раскрытия строительных швов. | |||
8.22. Расчет напорных перекрытий на прочность в зависимости от класса и высоты контрфорсной плотины следует выполнять на те же нагрузки и воздействия и их сочетания, что и расчет прочности контрфорсов.
При расчете верхового оголовка массивно-контрфорсной плотины на прочность методом сопротивления материалов принимается, что к оголовку на участке его примыкания к контрфорсу прикладываются равномерно распределенные нормальные силы, уравновешивающие внешнюю нагрузку на оголовок; при расчете методами теории упругости оголовок рассматривается как жестко защемленный в тело контрфорса.
В расчетах арочного напорного перекрытия на прочность методами сопротивления материалов рассматривается однопролетная арка, жестко заделанная в контрфорсы, а при расчете методами теории упругости — однопролетная цилиндрическая оболочка, заделанная в контрфорсы.
Плоские напорные перекрытия следует рассматривать при расчете методам и сопротивления материалов как однопролетную, свободно опертую на контрфорсы балку, а при расчете методами теории упругости — как однопролетную, свободно опертую плиту.
8.23. При расчетах оголовков массивно-контрфорсных плотин на прочность, независимо от высоты сооружения, во всех точках оголовка должны выполняться условия прочности:
при расчете на основное и особые сочетания нагрузок и воздействий, не включающие сейсмические воздействия:
gn glc sz £ 0,75gcd Rbt;
gn glc sz £ 0,75gcd Rbt;
при расчете на особые сочетания нагрузок и воздействий, включающие сейсмические воздействия:
gn glc sz £ gcd Rbt;
gn glc sz £ gcd Rb,
где sz — нормальные напряжения, МПа, действующие по вертикальным площадкам, перпендикулярным к продольной оси плотины;
gn, glc, gcd, Rb ‑ см. п. 7.18;
Rbt ‑ см. п. 7.29.
Условия прочности арочных и плоских напорных перекрытий следует принимать согласно указаниям СНиП II-56-77.
В зонах оголовка массивно-контрфорсной плотины, испытывающих растяжение в направлении оси плотины, следует предусматривать конструктивное армирование.
824. Расчет контрфорса на прочность в направлении поперек потока производится на сейсмические воздействия, направленные вдоль оси плотины, и на гидростатическую нагрузку, если между контрфорсами плотины располагаются водосбросы.
Контрфорсы плотин в расчетах на прочность при изгибе в направлении поперек потока рассматриваются как вертикальные треугольные плиты, защемленные в основание. При расчете контрфорса на основное и особые сочетания нагрузок и воздействий, не включающие сейсмические, верховая и низовая грани плиты принимаются свободными; при расчете на особое сочетание нагрузок, содержащее сейсмические воздействия, верховая грань, а при наличии низового перекрытия — и низовая грань плиты рассматриваются как свободно опертые. Жесткость плиты определяется с учетом верхового и низового оголовков.
При расчете контрфорсов на прочность в плоскости поперек потока независимо от высоты и класса сооружения для боковых граней контрфорсов следует соблюдать условия прочности:
при расчете на основные и особые сочетания нагрузок и воздействий, не включающие сейсмические воздействия,
sy £ 0;
при расчете на особое сочетание нагрузок и воздействий, включающее сейсмическое воздействие,
dt £ 0,2 t1
где sy — суммарные нормальные напряжения по горизонтальным площадкам, определенные расчетами прочности контрфорса в плоскости вдоль потока и в плоскости поперек потока:
dt — глубина зоны действия растягивающих напряжений у боковой грани контрфорса;
t1 — толщина контрфорса.
В схемах расчета контрфорсов на изгиб в плоскости поперек потока следует учитывать конструкцию водосбросных устройств и других элементов, повышающих жесткость сооружения в этом направлении.
8.25. Расчет элементов контрфорсной плотины на местную прочность следует производить на те же сочетания нагрузок и воздействий, что и расчет общей прочности плотины.
Расчет местной прочности водосливного носка, быков, конструкций водоприемных отверстий турбинных водоводов и элементов строительных и эксплуатационных водосбросов, определение местных напряжений вокруг отверстий и других проемов в контрфорсах должен выполняться в соответствии с п.7.24.
Расчет консольных выступов контрфорсов плотин с арочными и плоскими перекрытиями на местную прочность, а также расчет плит низового перекрытия надлежит производить согласно указаниям СНиП II-56-77.
8.26. Расчет устойчивости контрфорсных плотин надлежит производить в соответствии с пп. 7.26, 7.27.
Для массивно-контрфорсных плотин следует выполнять расчет устойчивости отдельно стоящих секций; для плотин с арочными и плоскими перекрытиями— отдельно стоящих контрфорсов.
8.27. Глубину заделки крупных разрывных нарушений в скальном основании следует определять по результатам расчета напряженного состояния плотины совместно со скальным основанием с учетом неоднородности основания, при этом должны выполняться условия прочности п. 8.18.
8.28. Расчет прочности контрфорсных плотин и их элементов в строительный период следует выполнять в соответствии с п. 7.29.
829. Бетонные конструкции контрфорсных плотин всех классов, независимо от высоты сооружений, следует рассчитывать по образованию трещин от температурных воздействий в соответствии с п. 7.30.
9. АРОЧНЫЕ ПЛОТИНЫ КОНСТРУИРОВАНИЕ ПЛОТИН И ИХ ЭЛЕМЕНТОВ
9.1. Конструирование арочных плотин и их элементов следует выполнять в соответствии с указаниями разд. 3 и настоящего раздела.
9.2. На начальных стадиях проектирования выбор конструкции и формы плотины следует проводить на основании приближенных методов расчета и аналогов.
9.3. Кривизна арочной плотины в вертикальном направлении определяется устойчивостью отдельно стоящих секций (столбов) в строительный период с учетом схемы возведения плотины, сроков замоноличивания швов, подъема уровня воды в верхнем бьефе.
9.4. Арочные плотины следует проектировать: при lch/h < 2 (где lch - длина хорды арки по гребню плотины, h — высота плотины) и треугольной форме ущелья — с арками кругового очертания постоянной толщины или с местными утолщениями у пят;
при 2 £ lch/h £ 3, при трапецеидальной или близкой к ней форме ущелья — двоякой кривизны с арками переменной толщины и кривизны;
при lch/h > 3 — арочные и арочно-гравитационные плотины, при этом кривизна в вертикальном направлении выбирается из условия получения оптимального напряженного состояния плотины;
в несимметричных створах и на неоднородных основаниях — с арками некругового очертания переменной толщины.
9.5. В конструкции арочной плотины следует предусматривать разрезку плотины на секции строительными швами, которые необходимо омоноличивать перед заполнением водохранилища. Строительные швы арочных плотин должны быть, как правило, вертикальными и иметь штрабы. Последовательность омоноличивания и температура замыкания швов должны определяться с учетом напряженного состояния плотины.
9.6. При сопряжении плотины с основанием в необходимых случаях следует предусматривать:
заделку разломов, сбросов, крупных трещин и пустот путем устройства бетонных или железобетонных решеток, пробок, шпонок или сплошных бетонных массивов, цементации;
устройство подземных железобетонных стенок, контрфорсов для передачи усилия от плотины в глубь скального массива с повышенными прочностными характеристиками;
применение предварительно напряженных или ненапряженных анкеров, подпорных стен или их сочетания.
9.7. Опирание плотины на основание следует принимать по поверхности, нормальной к осям арок плотины. При этом по контуру плотины при необходимости надлежит предусматривать устройство конструкций, улучшающих условия опирания (береговые устои, седло, пробка, незамоноличенные строительные швы в верхней части береговых секций плотины и др.). Допускается очертание пяты арки принимать криволинейным или полигональным.
Для уменьшения напряжений на контакте плотины с основанием следует рассматривать устройство местного утолщения плотины по опорному контуру. Арочную часть плотины необходимо отделять конструктивным швом от пробки, расположенной в наиболее узкой щелевидной части ущелья.
9.8. При проектировании сопряжения плотины с основанием в случае возникновения растягивающих напряжений на контакте плотины с основанием завесы следует предусматривать устройство:
шва-надреза, цементируемого при промежуточном уровне верхнего бьефа;
выносной цементационной завесы, короткого бетонного понура с гидроизоляцией. Сопряжение его с напорной гранью плотины следует выполнять в соответствии с требованиями п. 6.34.
9.9. Водосбросные устройства арочных и арочно-гравитационных плотин следует проектировать в соответствии с требованиями пп. 3.29 - 3.36, 5.28 - 5.31.
РАСЧЕТЫ ПЛОТИН НА ПРОЧНОСТЬ И УСТОЙЧИВОСТЬ
9.10. Расчеты арочных и арочно-гравитационных плотин следует производить в соответствии с разд. 4 и 5 и указаниями настоящего раздела.
9.11. Напряженно-деформированное состояние, величины и направление усилий, передающихся от плотины на основание, прочность и устойчивость плотины и основания определяются расчетами и экспериментальными исследованиями на моделях.
Для плотин I и II классов высотой более 60 м, а также для плотин всех классов высотой до 60 м в особо сложных инженерно-геологических условиях и при применении новых конструктивных решений, не испытанных в эксплуатации, проведение экспериментальных исследований является обязательным.
9.12. Расчет напряженно-деформированного состояния арочных и арочно-гравитационных плотин следует производить с учетом последовательности возведения плотины, смоноличивания швов и наполнения водохранилища, применяя: метод арок-консолей (метод пробных нагрузок) при сращивании перемещений арок и консолей не менее трех видов; метод конечных элементов в трехмерных условиях; метод суперэлементов и др.
Расчеты плотин III и IV классов, а также предварительные расчеты плотин всех классов допускается выполнять упрощенными методами (метод арки - центральной консоли, метод пробных нагрузок, по теории тонких оболочек и др.).
В необходимых случаях выполняются расчеты с учетом раскрытия строительных швов и трещин.
9.13. При расчете арочных плотин с учетом раскрытия строительных швов и трещин оценка прочности сооружения производится по прочности бетона сжатой зоны.
9.14. Расчеты прочности и устойчивости плотин на сейсмические воздействия следует производить в соответствии с пп. 7.15, 7.19 для наиболее неблагоприятного направления этих воздействий, при этом прочность плотины следует проверять согласно требованиям п.5.14 с введением в условие прочности коэффициента условий работ gcda, принимаемого по табл. 15.
Таблица 15
| Виды расчетов | Коэффициент условий работы gcda |
| 1. Расчеты общей прочности арочных и арочно-гравитационных плотин: | |
| по растяжению | gtcda,1 = 2,4 |
| по сжатию | gccda,1 = 0,9 |
| 2. Расчеты устойчивости береговых упоров плотин при учете нагрузок основного и особого сочетания без сейсмических воздействий | gcda,2 = 1,0 |
| 3. Расчеты общей устойчивости плотин в широких створах при учете нагрузок основного и особого сочетания без сейсмических воздействий | gcda,3 = 1,1 |
| 4. Расчеты устойчивости береговых упоров и обшей устойчивости плотин при учете сейсмических воздействий | gcda,4 = 1,1 |
| Примечание. При наличии нескольких факторов, действующих одновременно, в расчет вводится произведение соответствующих коэффициентов условий работы (например, при расчетах общей устойчивости плотин в широких створах с учетом сейсмических воздействий gcda = gcda,4, gcda,4. = 1,1×1,1 = 1,21. | |
При проектировании плотин на сейсмические воздействия следует выполнять расчеты прочности с учетом раскрытия строительных швов и трещин.
9.15. Для арочных плотин следует выполнять расчеты устойчивости береговых скальных упоров; для плотин в широких створах (при lch/h > 3), кроме того, надлежит также выполнять расчет общей устойчивости плотины совместно со скальным основанием.
9.16. При расчете устойчивости береговых упоров и напряженно-деформированного состояния основания плотин учитываются следующие нагрузки и воздействия: усилия, передающиеся от плотины, собственный вес скального блока, силовое воздействие воды и сейсмические воздействия.
9.17. Расчет устойчивости береговых упоров следует производить исходя из анализа предельного состояния отдельных скальных блоков, выделяемых с учетом геологических и топографических условий. Устойчивость берегового упора определяется по результатам расчета наименее устойчивого скального блока.
9.18. Расчет общей устойчивости арочной нарочно-гравитационной плотины следует производить исходя из наиболее вероятной кинематической схемы перемещения плотины совместно с основанием в предельном состоянии.
9.19. При расчетах прочности и устойчивости арочных и арочно-гравитационных плотин, кроме коэффициента условий работы gcd, приведенного в табл. 6, следует учитывать коэффициент условий работыgcda, приведенный в табл. 15.
9.20. При расчете плотины следует учитывать влияние на ее несущую способность водоприемных и водосбросных сооружений, расположенных в теле плотины.
При расчете арочной плотины на общую прочность без учета особенностей работы отдельных элементов (быки, гребень водослива, элементы водоприемника, напорные трубопроводы и др.) указанные элементы необходимо рассчитывать на местную прочность.
9.21. Расчеты напряженно-деформированного состояния и местной прочности основания арочных плотин I и II классов следует производить в соответствии со СНиП II-16-76. При этом учитывается возможность образования областей пластических деформаций в береговых примыканиях плотины. Если условия прочности для поверхностей ослабления скального массива не выполняются, следует предусматривать мероприятия согласно п. 9.6.
ПРИЛОЖЕНИЕ
Справочное
ОСНОВНЫЕ БУКВЕННЫЕ ОБОЗНАЧЕНИЯ
A — площадь подошвы секции плотины;
Ared ‑ площадь приведенного горизонтального
сечения контрфорса;
Аs — площадь сечения арматуры;
Eb — начальный модуль упругости бетона;
Ebd — расчетное значение модуля деформации бетонной кладки;
Еs — модуль упругости арматуры;
F — расчетное значение обобщенного силового воздействия;
Нu — напор со стороны верхнего бьефа;
Нt — напор со стороны нижнего бьефа;
Hd — напор над расчетным сечением;
Hdr — остаточный фильтрационный напор по оси дренажа;
Нas — остаточный фильтрационный напор по оси цементационной завесы;
Icr,m — критический средний градиент напора;
Iadm — допускаемый градиент напора;
Ired — момент инерции приведенного горизонтального сечения контрфорса;
М — момент силы, изгибающий момент;
N — нормальная сила;
Pws — давление наносов со стороны верхнего бьефа;
Q — сила сдвига;
R — расчетное значение обобщенной несущей способности;
рb — расчетное сопротивление бетона сжатию:
рbt — расчетное сопротивление бетона осевому растяжению;
Urot ‑ полное противодавление воды на подошву плотины;
Uf — фильтрационное противодавление на отдельных участках подземного контура плотины;
Uv — взвешивающее противодавление;
Wx, Wy ‑ моменты сопротивления сечения относительно осей х-х и у-у;
adr — расстояние от напорной грани плотины до оси дренажа;
b — ширина плотины по основанию;
d — ширина секции плотины;
dt — глубина зоны растяжения в горизонтальных сечениях тела плотины и контактном сечении;
dt,lim ‑ предельная глубина зоны растяжения у верховой грани плотины;
g — ускорение свободного падения;
h — высота плотины;
hws — высота наносов перед плотиной;
К — коэффициент фильтрации;
Кy — коэффициент постели грунтов при сжатии;
Кх — коэффициент постели грунтов при сдвиге;
lu ‑ расчетная длина действия давления воды со стороны верхнего бьефа;
lt — расчетная длина действия давления воды стороны нижнего бьефа;
mи, mt ‑ наклоны верховой и низовой граней плотины на уровне расчетного сечения;
a2 — коэффициент эффективной площади противодавления;
glc ‑ коэффициент сочетания нагрузок;
gn — коэффициент надежности по назначению сооружения;
gcd ‑ коэффициент условий работы плотин;
gcda ‑ коэффициент условий работы арочных плотин;
gws ‑ удельный вес грунта наносов во взвешенном состоянии;
rw ‑ плотность воды;
v ‑ коэффициент Пуассона грунта;
s ‑ нормальные напряжения;
t ‑ касательные напряжения.
Изменение СНиП 2.06.06—85
Постановлением Госстроя СССР от 28 апреля 1987 г. № 86 утверждено и с 1 июля 1987 г. введено в действие разработанное ВНИИГ им. Б. Е. Веденеева, институтом Гидропроект им. С. Я. Жука Минэнерго СССР, внесенное Минэнерго СССР и представленное Управлением стандартизации и технических норм в строительстве Госстроя СССР изменения № 1 СНиП 2.06.06‑85 "Плотины бетонные и железобетонные", утвержденного постановлением Госстроя СССР от 28 июня 1985 г. № 108.
1. Пункт 2.4. Абзац первый изложить в новой редакции: "Требования к бетону плотин по прочности на сжатие и осевое растяжение в эксплуатационный и строительный периоды, водонепроницаемости, морозостойкости и т.д. необходимо устанавливать дифференцировано, в соответствии с реальными условиями работы бетона различных зон."
2. Пункт 2.7 изложить в новой редакции:
"2.7. Возраст (срок твердения) бетона, соответствующий его проектным классу по прочности на сжатие и осевое растяжение и марке по водонепроницаемости, следует назначать с учетом сроков возведения сооружений и наполнения водохранилища.
Как правило, возраст монолитного бетона плотин, отвечающий его классу по прочности и марке по водонепроницаемости следует принимать равным 180 суткам, возраст по морозостойкости ‑ 28 суткам.
Для бетонных плотин высотой более 60 м и объемом бетона более 500 тыс. м3 указанный возраст по прочности и водонепроницаемости следует принимать равным одному году".
3. Пункт 2.8 дополнить текстом следующего содержания: "Расчетные сопротивления бетона для бетонных плотин следует определять с учетом фактического возраста бетона к времени нагружения конструкций эксплуатационными нагрузками:
где
,
‑ расчетные сопротивления на сжатие и растяжение бетона соответственно в возрасте 180 суток, принимаемые по СНиП 2.06.03—87 (
,
определяются по аналогичным формулам);
‑ коэффициенты, учитывающие влияние возраста бетона не его прочность при сжатии и растяжении соответственно, определяемые по табл. 3а;
Таблица 3а
— коэффициент, учитывающий различие в прочности бетона в контрольных образцах и сооружении и принимаемый: 1 — при механизированном изготовлении, транспортировке и подаче с распределением и уплотнением бетонной смеси ручными вибраторами;
1,1 — при автоматизированном приготовлении бетонной смеси полностью механизированных транспортировке, укладке и уплотнении бетонной смеси.
4. Пункт 5.13. Позицию 4 табл. 6 изложить в новой редакции:
"4. Расчеты общей и местной прочности бетонных плотин:
а) по растяжению:
для основного сочетания нагрузок и воздействий 0,9
для особых сочетаний нагрузок и воздействии
без учета сейсмических 1,0
то же, с учетом сейсмических 1,1
б) по сжатию:
для основного сочетания нагрузок и воздействий 1,0
для особых сочетаний нагрузок и воздействий 1,1
Расчеты общей и местной прочности железобетонных плотин и их элементов, когда определяющей является прочность бетона в конструкциях:
а) старая поз. 4б;
б) старая поз. 4â."
5. Пункт 7.6. Второе предложение абзаца первого изложить в новой редакции:
"При этом расстояние от напорной грани платины до оси цементационной завесы должно быть, как правило (0,05—0,1) В (где В — ширина подошвы плотины), если подземный контур плотины состоит только из цементационной завесы и дренажа."
6. Пункт 7.22. Формулу (23) записать в виде;
КЛАССИФИКАТОР СТРОИТЕЛЬНЫХ НОРМ И ПРАВИЛ
Настоящий Классификатор устанавливает разделение строительных норм и правил на 5 частей, каждая из которых делится на группы.
Классификатор предназначен для установления состава и обозначения (шифра) строительных норм и правил.
Шифр должен состоять из букв "СНиП", номера части (одна цифра), номера группы (две цифры) и номера документа (две цифры), отделенных друг от друга точками; две последние цифры, присоединяемые через тире, обозначают две последние цифры года утверждения документа. Например, "СНиП 2.03.05-82". Номера документам присваиваются в порядке регистрации сквозные в пределах каждой группы или в соответствии с разработанным перечнем документов данной группы.
1. Организация, управление, экономика
Группы
01 Система нормативных документов в строительстве
02 Организация, методология и экономика проектирования и инженерных изысканий
03 Организация строительства. Управление строительством
04 Нормы продолжительности проектирования и строительства
05 Экономика строительства
06 Положения об организациях и должностных лицах
2. Нормы проектирования
Группы
01 Общие нормы проектирования
02 Основания и фундаменты
03 Строительные конструкции
04 Инженерное оборудование зданий и сооружений. Внешние сети
05 Сооружения транспорта
06 Гидротехнические и энергетические сооружения, мелиоративные системы и сооружения
07 Планировка и застройка населенных пунктов
08 Жилые и общественные здания
09 Промышленные предприятия, производственные здания и сооружения, вспомогательные здания. Инвентарные здания
10 Сельскохозяйственные предприятия, здания и сооружения
11 Склады
12 Нормы отвода земель
3. Организация, производство и приемка работ
Группы
01 Общие правила строительного производства
02 Основания и фундаменты
03 Строительные конструкции
04 Защитные, изоляционные и отделочные покрытия
05 Инженерное и технологическое оборудование и сети
06 Сооружения транспорта
07 Гидротехнические и энергетические сооружения, мелиоративные системы и сооружения
08 Механизация строительного производства
09 Производство строительных конструкций, изделий и материалов
4. Сметные нормы
Состав и обозначение сметных норм и правил установлены постановлением Госстроя СССР от 18 июня 1982 г. №162.
5. Нормы затрат материальных и трудовых ресурсов
Группы
01 Нормы расхода материалов
02 Нормы потребности в строительном инвентаре, инструменте и механизмах
03 Нормирование и оплата проектно-изыскательских работ
04 Нормирование и оплата труда в строительстве
















