СНиП 2.03.03-85 (524563), страница 3
Текст из файла (страница 3)
Таблица 5
| Коэффициент сетчатого армирования сжатой зоны сечения | Коэффициент gm2 |
| Менее 0,015 0,015 - 0,025 | 1 0,75 |
2.21. Расчетное сопротивление сеток в элементах, подвергающихся воздействию многократно повторяющихся нагрузок, следует принимать с коэффициентом условий работы по СНиП 2.03.01-84 как для арматуры класса A-II.
2.22. Модуль упругости сеток Еm следует принимать равным 150000 МПа (1 500 000 кгс/см2), а модуль упругости стержневой и проволочной арматуры Es, согласно требованиям СНиП 2.03.01-84.
2.23. Длину зоны передачи напряжений lp для напрягаемой арматуры без анкеров следует определять согласно указаниям СНиП 2.03.01-84.
3. РАСЧЕТ АРМОЦЕМЕНТНЫХ КОНСТРУКЦИЙ ПО ПРЕДЕЛЬНЫМ СОСТОЯНИЯМ ПЕРВОЙ ГРУППЫ
3.1. Расчет элементов армоцементных конструкций по прочности должен производиться для сечений, нормальных к продольной оси, а также для наклонных к ней сечений наиболее опасного направления. Кроме того, необходимо выполнить расчет указанных элементов на местное действие нагрузки (смятие и продавливание).
Расчет элементов армоцементных конструкций на местное действие нагрузок следует производить в соответствии с требованиями СНиП 2.03.01-84.
3.2. Сетки, а также ненапрягаемую и напрягаемую стержневую или проволочную арматуру, если расстояние между стержнями арматуры не превышает 10t (где t - толщина рассматриваемого сечения), при расчете по прочности сечений армоцементных конструкций следует принимать равномерно распределенными по сечению элемента, с коэффициентом приведенного армирования, определяемым по формулам:
для растянутой зоны
для сжатой зоны (1)
где
,
‑ коэффициенты сетчатого армирования, равные
,
‑ коэффициенты армирования стержневой и проволочной арматурой, равные
,
‑ коэффициенты армирования преднапряженной арматурой
‑ площади сечения сеток на единицу длины соответственно в растянутой и сжатой зонах;
‑ площади сечения ненапрягаемой стержневой арматуры на данном участке поперечного сечения элемента соответственно в растянутой и сжатой зонах;
‑ расчетные сопротивления арматуры соответственно обычной и преднапряженной растяжению;
‑ площади сечений напрягаемой арматуры соответственно в растянутой и сжатой зонах;
‑ расчетные сопротивления арматуры соответственно обычной и преднапряженной сжатию;
А ‑ площадь поперечного сечения на данном участке;
t ‑ толщина элемента на рассматриваемом участке сечения.
На участках сечения, где расстояние между арматурными стержнями свыше 10t, усилия в стержневой и проволочной арматуре должны учитываться для каждого стержня раздельно.
РАСЧЕТ ПО ПРОЧНОСТИ СЕЧЕНИЙ, НОРМАЛЬНЫХ К ПРОДОЛЬНОЙ ОСИ ЭЛЕМЕНТА
3.3. Предельные усилия в сечении, нормальном к продольной оси элемента, определяются исходя из следующих предпосылок (черт.2):
сопротивление бетона растяжению принимается равным нулю;
сопротивление бетона сжатию выражается напряжениями, равными Rb, равномерно распределенными по сжатой зоне бетона;
напряжения в арматуре, расположенной в сжатой зоне бетона, принимаются постоянными и не более Rmc, Rsc, Rpc
растягивающие напряжения в арматуре принимаются постоянными по высоте растянутой зоны сечения и не более Rm, Rs, Rsp.
Черт. 2. Схема внутренних усилий и эпюра напряжений в сечении, нормальном к продольной оси элемента, при расчете по прочности
1 — сетки; 2 — стержневая или проволочная арматура, приведенная к равномерно распределенной по сечению элемента; 3 — сосредоточенная стержневая или проволочная арматура
3.4. Расчет сечений, нормальных к продольной оси элемента, когда внешняя сила действует в плоскости оси симметрии, должен производиться в зависимости от значения относительной высоты сжатой зоны бетона x = x/h, определяемого из условия равновесия и граничного значения относительной высоты сжатой зоны бетона xR, при котором предельное состояние элемента наступает одновременно с достижением в растянутых сетках и в стержневой или проволочной арматуре напряжении, равных расчетным сопротивлениям.
3.5. Значение xR определяется по формуле
где
‑ характеристика сжатой зоны бетона, определяемая для армоцементных конструкций из мелкозернистого бетона по формуле
Rb ‑ принимается в МПа;
‑ напряжение в арматуре, МПа, принимаемое равным: для сеток — Rm, для стержневой и проволочной арматуры классов: A-I, А-II, А-III, А-IIIв, Bp-I ‑ (Rs, -
); А-IV, A-V, A-VI, B-II, Bp-II, К-7 и К-19 ‑ (Rs + 400 -
- D
); В-II, Вр-II, К-7, К-19 -(Rs + 400 -
);
Rs ‑ расчетное сопротивление растяжению стержневой и проволочной арматуры с учетом соответствующих коэффициентов условий работы арматуры gsi принимается по СНиП 2.03.01-84;
‑ определяется при коэффициенте gp < 1 согласно указаниям СНиП 2.03.01-84.
D
и
‑ принимаются по СНиП 2.03.01-84.
3.6. Для напрягаемой арматуры, имеющей сцепление с бетоном и расположенной в зоне, сжатой от действия внешних усилий, расчетное сопротивление арматуры сжатию Rsc должно быть заменено напряжением
согласно СНиП 2.03.01-84.
Изгибаемые элементы прямоугольного, таврового, двутаврового и кольцевого сечений
3.7. Расчет прямоугольных сечений с арматурой, приведенной к равномерно распределенной по сечению элемента (см. п. 3.2), когда внешняя сила действует в плоскости оси симметрии сечения (черт. 3) при x = x/h £ xR должен производиться из условия
при этом высота сжатой зоны х определяется по формуле
где Аt = (h - х) b,
‑ принимается согласно п. 3.2.
Черт. 3. Схема усилий и эпюра напряжений изгибаемых элементах прямоугольного сечения
а — при b > h; б — при b < h, 1 - сетки; 2 — стержневая или проволочная арматура, приведенная к равномерно распределенной по сечению элемента
3.8. Расчет прямоугольных сечений, в которых наряду с арматурой, приведенной к равномерно распределенной (см. п. 3.2), имеется стержневая и проволочная арматура, сосредоточенная у растянутой и сжатой граней сечения (черт. 4), при x = x/h £ xR должен производиться из условия
(7)
где A = xb,
при этом высота сжатой зоны бетона определяется по формуле
Аt = (h - x)b,
‑ принимается согласно п. 3.2.
Черт.4. Схема усилий и эпюра напряжений в изгибаемых элементах прямоугольного сечения с сосредоточенной стержневой и проволочной арматурой
1 — сетки; 2 — стержневая или проволочная арматура, приведенная к равномерно распределенной по сечению элемента; 3 ‑ сосредоточенная стержневая или проволочная арматура
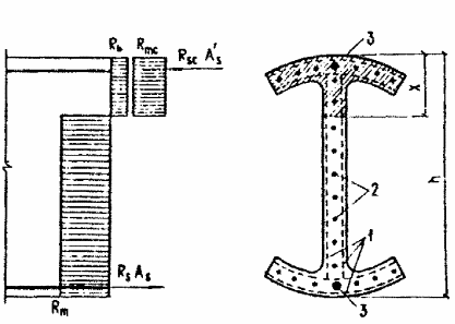
3.9. Расчет двутавровых сечений с арматурой, приведенной к равномерно распределенной (см. п. 3.2), имеющих полку в сжатой зоне, при x = x/h £ xR должен производиться в зависимости от положения границы сжатой зоны бетона:
а) если граница сжатой зоны проходит в полке (черт. 5), т.е. соблюдается условие
расчет должен производиться по формуле
б) если граница сжатой зоны проходит в ребре (черт. 6), т.е. условие (9) не соблюдается, расчет выполняется по формуле
(11)
высота сжатой зоны х определяется из условия
В формулах (9) - (12):
Коэффициенты приведенного армирования стенки
, сжатой полки
и растянутой полки
принимаются в соответствии с п. 3.2.
Черт. 5. Схема усилий и эпюра напряжений в изгибаемых элементах двутаврового сечения при х £ t¢f
1 — сетки; 2 — стержневая или проволочная арматура, приведенная к равномерно распределенной по сечению
Черт. 6. Схема усилий и эпюра напряжений в изгибаемых элементах двутаврового сечения при х > t¢f
1 — тонкие сетки; 2 — стержневая или проволочная арматура, приведенная к равномерно распределенной по сечению
3.10. Расчет тавровых сечений с полкой в сжатой зоне или приведенных к тавровым сечениям, в которых наряду с арматурой, приведенной к равномерно распределенной (см. п. 3.2), имеется стержневая или проволочная арматура в растянутой зоне, при x = x/h £ xR следует выполнять в зависимости от высоты сжатой зоны бетона:
а) если сжатая зона находится в пределах полки (черт. 7), т.е. соблюдается условие
прочность сечения определяется из условия
Черт. 7. Схема усилий и эпюра напряжений в изгибаемых элементах таврового сечения с полкой в сжатой зоне при х £ t¢f
1 — тонкие сетки; 2 — стержневая или проволочная арматура, приведенная к равномерно распределённой по сечению элемента; 3 — сосредоточенная стержневая или проволочная арматура
б) если граница сжатой зоны выходит за пределы полки (черт. 8), т.е. условие (13) не выполняется, прочность сечения определяется из условия
при этом высота сжатой зоны х определяется из условия
В формулах (13) - (16):
Коэффициенты приведенного армирования
,
и
, принимаются согласно п. 3.2.
Черт.8. Схема усилий и эпюра напряжений в изгибаемых элементах таврового сечения с полкой в сжатой зоне при х > t¢f
1 — тонкие сетки; 2 — стержневая или проволочная арматура, приведенная к равномерно распределенной по сечению элемента; 3 — сосредоточенная стержневая или проволочная арматура
3.11. Ширина сжатой полки b'f тавровых и двутавровых сечений, вводимая в расчет в соответствии с пп. 3.9 и 3.10, принимается из условия, что ширина свободного свеса в каждую сторону от ребра должна быть не более 1/6 пролета элемента и не более:
а) 1/2 расстояния в свету между продольными ребрами при наличии поперечных ребер;
б) t'f — при отсутствии поперечных ребер или при расстоянии между ними большим, чем расстояние между продольными ребрами, при t'f £ 0,1h;
в) 6t'f при t'f ³ 0,1h;
3t'f при 0,05tf
3.12. Расчет кольцевых сечений (черт. 9) должен производиться: а) при
из условия
‑ радиус срединной поверхности стенки кольцевого элемента, равный
‑ радиусы соответственно наружной и внутренней граней кольцевого сечения;
‑ коэффициент приведенного армирования кольцевого сечения, определяемый в соответствии с п. 3.2.
Черт. 9. Схема кольцевого сечения, принимаемая в расчете по прочности армоцементных элементов
3.13. При расчете по прочности изгибаемых элементов армоцементных конструкций рекомендуется соблюдать условие х £ xR h. В случае, когда площадь сечения растянутой арматуры по конструктивным соображениям или из расчета по предельным состояниям второй группы принята большей, чем это требуется для соблюдения условия х £ xR h, расчет следует производить по формулам (4), (7), (10), (11), (14), (15), принимая х = xR h.
Внецентренно сжатые элементы прямоугольного, таврового, двутаврового и кольцевого сечений
3.14. При расчете внецентренно сжатых элементов необходимо учитывать случайный начальный эксцентриситет согласно указаниям п. 1.16, а также влияние прогиба на их несущую способность в соответствии с требованиями СНиП 2.03.01-84.
3.15. Расчет внецентренно сжатых элементов прямоугольного сечения с арматурой, приведенной к равномерно распределенной (см. п. 3.2, черт. 4), следует выполнять:
а) при x = x/h £ xR из условия
при этом высота сжатой зоны х определяется по формуле
В формулах (24) и (25) :
et ‑ расстояние от точки приложения продольной силы до растянутой грани сечения;
Ас, Аt ‑ площади сечений соответственно сжатой и растянутой зон сечения;
S¢b ‑ статический момент площади сжатой зоны бетона относительно точки приложения продольной силы N;
S¢m1 ‑ статический момент площади сжатой приведенной арматуры (см. п. 3.2) относительно той же точки;
Sm1 ‑ статический момент площади растянутой приведенной арматуры относительно той же точки;
б) при x = x/h > xR из условия
Nc ‑ несущая способность центрально-сжатого элемента, определяемого по формуле
Nin‑ несущая способность сечения, в котором высота сжатой зоны бетона принимается равной х = xR h и определяется из выражения
ec ‑ эксцентриситет продольной силы относительно центра тяжести приведенного сечения, равный ec = M/N;
ein ‑ эксцентриситет продольной расчетной силы Nin, определяемый по формуле
3.16. Расчет внецентренно сжатых элементов таврового и двутаврового сечений с арматурой, приведенной к равномерно распределенной (см. п. 3.2), следует производить:
а) при x = x/h £ xR
если х £ t'f (черт. 10) - из условия
высота сжатой зоны бетона определяется по формуле (25);
Черт. 10. Схема усилий и эпюра напряжений во внецентренно сжатых элементах двутаврового сечения при х £ t¢f
1 - тонкие сетки; 2 - стержневая или проволочная арматура, приведенная к равномерно распределенной по сечению элемента
Черт. 11. Схема усилий и эпюра напряжений во внецентренно сжатых элементах двутаврового сечения при х > t¢f
1 - тонкие сетки; 2 - стержневая или проволочная арматура, приведенная к равномерно распределенной по сечению элемента
если х > t¢f (черт. 11) - из условия
где высота сжатой зоны х определяется по формуле (25);
б) при x = x/h > xR по формуле (26),
при х < t¢f
при х > t¢f
















