gost_r_21_1703_2000 (523637), страница 4
Текст из файла (страница 4)
1 В таблице приняты следующие условные обозначения:
- чертеж, наличие которого обязательно в составе основного комплекта рабочих чертежей
0 - чертеж, необходимость выполнения которого определяют в зависимости от характера сооружения и местных условий.
2 Рабочие чертежи переходов через судоходные реки и водохранилища, строительство которых осуществляют специализированные подводно-технические (водолазные) организации с применением средств гидромеханизации и водолазного труда, оформляют отдельными основными комплектами рабочих чертежей.
ПРИЛОЖЕНИЕ В
(справочное)
Пример выполнения ситуационного плана трассы кабельной линии передачи на загородном участке
Саратовская область
ПРИЛОЖЕНИЕ Г
(справочное)
Пример выполнения ситуационного плана трассы кабельной линии передачи на городском участке
ПРИЛОЖЕНИЕ Д
(справочное)
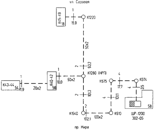
Пример выполнения плана трассы кабельной линии передачи на загородном участке
ПРИЛОЖЕНИЕ Е
(справочное)
Примеры выполнения плана и продольного профиля кабельной канализации
ПРИЛОЖЕНИЕ Ж
(справочное)
Пример выполнения плана и продольного профиля кабельного перехода через автодорогу
ПРИЛОЖЕНИЕ И
(справочное)
Пример выполнения плана и продольного профиля кабельного перехода через несудоходную реку
ПРИЛОЖЕНИЕ К
(справочное)
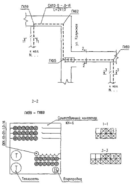
Пример выполнения плана трасс кабелей и заземляющего устройства на площадке НРП
ПРИЛОЖЕНИЕ Л
(справочное)
Пример выполнения схемы расположения кабелей связи в коллекторе
ПРИЛОЖЕНИЕ М
(справочное)
Пример выполнения схемы расположения кабелей связи в кабельной канализации
ПРИЛОЖЕНИЕ Н
(справочное)
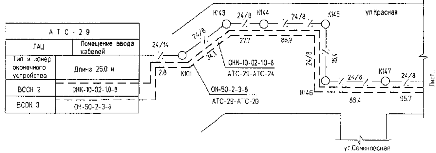
Пример выполнения схемы расположения магистральных участков абонентской сети АТС
1 Проложить кабель типа ТППэп с диаметром жил 0,32 мм указанных емкостей.
ПРИЛОЖЕНИЕ П
(справочное)
Пример выполнения схемы расположения распределительных участков абонентской сети
1 Проложить кабель типа ТППэп с диаметром жил 0,32 мм указанных емкостей.
ПРИЛОЖЕНИЕ Р
(справочное)
Пример выполнения схемы расположения распределительной сети в здании
1 Проложить кабель типа ТППг с диаметром жил 0,32 мм указанных емкостей
ПРИЛОЖЕНИЕ С
(справочное)
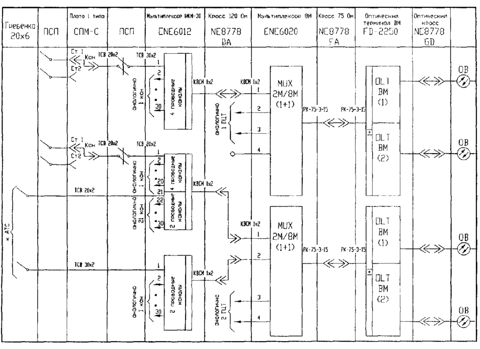
Пример выполнения схемы организации связи в ЛАЦ
ПРИЛОЖЕНИЕ Т
(справочное)
Пример выполнения схемы прохождения трактов и каналов в ЛАЦ
ПРИЛОЖЕНИЕ У
(справочное)
Пример выполнения плана расположения оборудования ЛАЦ на 3 этаже
ПРИЛОЖЕНИЕ Ф
(справочное)
Пример выполнения таблицы кабельных соединений линейной проводки телеграфной станции
ПРИЛОЖЕНИЕ X
(справочное)
Пример выполнения структурной схемы электронной АТС с функциями УСС и УВС
Примечание - ОКСN - общеканальная сигнализация N 7
MFC - многочастотная сигнализация "импортный челнок"
DEC - декадная сигнализация
ПРИЛОЖЕНИЕ Ц
(справочное)
Примеры выполнения схем подключения
ПРИЛОЖЕНИЕ Ш
(справочное)
Пример выполнения схемы размещения комплектов на стойке СКУ-01
| Номер рабочего места | СКУ-01 № 1 |
| 1 | R-712 |
| 2 | ОЛТ-020 (КЛТ-220 № 1, 2) |
| 3 | ОВГ-25 |
| 4 | УСО-01 |
| 5 | |
| 6 | |
| 7 | |
| 8 | |
| 9 | |
| 10 | |
| 11 |
| Номер рабочего места | СКУ-01 № 2 |
| 1 | ОПМ-14№ 1 |
| 2 | ОПМ-14 № 2 |
| 3 | ОПМ-14 № 3 |
| 4 | ОПМ-14 № 4 |
| 5 | ОКС-01 № 5(ОИ) (2 Мбит/с) |
| 6 | ОПМ-14 № 5 |
| 7 | ОПМ-14 № 6 |
| 8 | ОПМ-14 № 7 |
| 9 | ОПМ-14 № 11 |
| 10 | |
| 11 |
Приложение Щ
(справочное)
Пример выполнения схемы кроссировочных соединений для АТС (фрагмент)
Приложение Э
(справочное)
Пример выполнения таблицы кроссировочных соединений для АТС
| Номер стойки, системы, канала | Номер рамки и группы штифтов | ||
| ПЩ ЛАЦ на стороне | ПЩ1 ГИ | ||
| поля | приборов | приборов | |
| 1/1/1 | 121/1 | 151/1 | 141/1 |
| 1/1/2 | 121/2 | 151/2 | 141/2 |
| 1/1/3 | 121/3 | 151/3 | 141/3 |
| 1/1/4 | 121/4 | 151/4 | 141/4 |
| 1/1/5 | 121/5 | 151/5 | 141/5 |
| 1/1/6 | 121/6 | 151/6 | 141/6 |
| 1/1/7 | 121/7 | 151/7 | 141/7 |
| 1/1/8 | 121/8 | 151/8 | 141/8 |
| 1/1/9 | 121/9 | 151/9 | 141/9 |
| 1/1/10 | 121/10 | 151/10 | 141/10 |
| 1/1/11 | 121/11 | 151/11 | 141/11 |
| 1/1/12 | 121/12 | 151/12 | 141/12 |
| 1/1/13 | 121/13 | 151/13 | 141/13 |
| 1/1/14 | 121/14 | 151/14 | 141/14 |
| 1/1/15 | 121/15 | 151/15 | 141/15 |
| 1/1/16 | 121/16 | 151/16 | 141/16 |
| 1/1/17 | 121/17 | 151/17 | 141/17 |
| 1/1/18 | 121/18 | 151/18 | 141/18 |
| 1/1/19 | 121/19 | 151/19 | 141/19 |
| 1/1/20 | 121/20 | 151/20 | 141/20 |
ПРИЛОЖЕНИЕ Ю
(справочное)
Пример выполнения плана каналов скрытой проводки и абонентских устройств
1 Розетки установить у выводов труб на высоте 0,15 м от ур. пола
2 У изображения телефонных аппаратов указаны номера коробок и боксов, к которым они должны быть подключены
Ключевые слова: проводные средства связи, рабочие чертежи, линейные сооружения, станционные сооружения, проводные средства связи в зданиях, ситуационный план, план, продольный профиль, поперечный профиль.
Внимание!!! Настоящий нормативный документ не является официальным изданием!
Справочно-информационная система по строительству НОУ-ХАУС http://www.know-house.ru/














