ГОСТ 23740-79 (с попр. 1980) (523217), страница 2
Текст из файла (страница 2)
Кипячение раствора следует продолжать 5 мин (без выделения пара из воронки); оно должно быть еле заметным, т. е. выделение пузырьков углекислоты, образующихся от окисления органических веществ грунта, должно быть обильным, при этом пузырьки должны быть немного больше макового зерна. Отсчет времени кипячения производят с момента появления первого относительно крупного пузырька газа.
В процессе кипячения окраска раствора должна изменяться из оранжевой в буровато-коричневую. Если появляется зеленая окраска, что говорит о полном израсходовании хромовой кислоты и возможном недостатке ее на окисление гумуса, опыт следует повторить, уменьшив навеску грунта.
По окончании кипячения колбу следует снять с плитки (бани) или вынуть из термостата, обмыть воронку небольшим количеством воды, дать колбе охладиться до комнатной температуры и провести титрование.
3.4.5. Титрование избытка хромовой смеси следует проводить в присутствии фенилантраниловой кислоты. Перед титрованием необходимо обмыть горло колбы из промывалки дистиллированной водой (количество воды не должно превышать 20 мл), прибавить 5—6 капель 0,2%-ного раствора фенилантраниловой кислоты и титровать раствором соли Мора (0,2 н.) до перехода окраски в зеленую. Раствор соли Мора под конец титрования следует приливать по каплям, все время перемешивая раствор энергичным взбалтыванием.
________________
* Кипячение допускается проводить в термостате в течение 30 мин при температуре 150°С.
3.4.6. Перед началом или в конце испытания надлежит провести опыт без грунта для установления соотношения между растворами хромовой смеси и соли Мора в условиях, аналогичных п. 3.4.4. В две конические колбы емкостью 100 мл следует налить 10 мл хромовой смеси, для равномерности кипения прибавить на кончике тонкого шпателя примерно 0,2 гс растертой в порошок прокаленной пемзы (использовать для этой цели песок не допускается) и содержимое в колбах кипятить 5 мин, как указано в п. 3.4.4.
После охлаждения прокипяченую хромовую смесь следует титровать 0,2 н раствором соли Мора в соответствии с п. 3.4.5 и определить среднее из двух опытов количество соли Мора, израсходованное на титрование 10 мл хромовой смеси.
3.4.7. Определение органического углерода следует проводить в двух параллельных испытаниях. Целесообразно сначала провести одно определение органического углерода для серии навесок грунтов, затем подсчитать результаты и провести повторное определение для тех же образцов, но с уточненными навесками.
3.5. Обработка результатов
Количество органического углерода Сорг в процентах на сухую навеску грунта следует вычислить по формуле
где а — количество раствора соли Мора, израсходованное на титрование 10 мл хромовой смеси в «опыте с пемзой», мл;
Ь — количество соли Мора, израсходованное на титрование
избытка хромовой смеси в опыте с грунтом, мл;
н — нормальность раствора соли Мора, устана вливаемая по
ее титрованию раствором перманганата (0,1 н.);
0,003 — величина 1 мгс.-экв. углерода*;
г — навеска сухого грунта, гс.
Для пересчета воздушной сухой навески на сухую применяют коэффициент
, где Wr — гигроскопическая влажность грунта.
При наличии в грунте хлоридов для пересчета Сорг применяют коэффициент К1 (п. 3.3.3).
___________
* Грамм — эквивалент углерода
, где 1 мгс — экв. углерода
будет равен 0,003 гс.
-
МЕТОД СУХОГО СЖИГАНИЯ
4.1. Окисление углерода бескарбонатной навески грунта следует производить сжиганием этой навески в потоке кислорода при температуре 950—1000°С до прекращения выделения углекислого газа, учитываемого газообъемным методом, с последующим пересчетом на углерод.
4.2. Аппаратура и материалы
4.2.1. Аппаратура Автотрансформатор ЛАТР-1 М.
Баня песчаная или баня водяная.
Баллон кислородный с редуктором по ГОСТ 13861—68.
Барометр-анероид.
Весы лабораторные по ГОСТ 19491—74 с гирями по ГОСТ 7328—73.
Газоанализатор ГОУ-1 по ГОСТ 10713—75.
Газометр стеклянный по ГОСТ 11582—75.
Воронки стеклянные диаметром 10—14 см по ГОСТ 8613—75.
Калиаппарат по ГОСТ 17784—72 или оклянка с насадкой СН
(Дрекселя) по ГОСТ 10378—73.
Колонки для сушки газов, 2 шт.
Краны двухходовые по ГОСТ 7995—68.
Крючок из прочной низкоуглеродистой проволоки.
Лодочки фарфоровые по ГОСТ 6675—73.
Печь электрическая трубчатая горизонтальная, обеспечивающая нагрев до 1000°С, типа СУОЛ-025 1/12-М1.
Плитка с закрытой спиралью.
Пробки резиновые по ГОСТ 7852—76.
Сетка медная.
Склянки промывные по ГОСТ 10378—73, 3 шт.
Тигли емкостью 50 см3 по ГОСТ 9147—73.
Трубка U-образная по ГОСТ 17784—72.
Трубка кварцевая пли фарфоровая длиной 750 мм и внутренним диаметром 18—20 мм по ГОСТ 8680—73.
Трубка резиновая внутренним диаметром 3—4 мм.
Чашки фарфоровые по ГОСТ 9147—73, 2 шт.
Шкаф сушильный по ГОСТ 7365—55.
Эксикатор по ГОСТ 6371—73 с кальцием хлористым 2-водным по ГОСТ 4161—77.
4.2.2. Материалы
Ангидрид хромовый по ГОСТ 3776—78.
Аскарит с размером зерен 3—5 мм или известь натронная.
Вата стеклянная.
Вода дистиллированная по ГОСТ 6709—72.
Индикаторная универсальная бумага или лакмус.
Калия гидрат окиси (кали едкое).
Калий двухромовокислый (бихромат) по ГОСТ 2652—78.
Кальций хлористый безводный по ГОСТ 4460—77.
Кислород газообразный по ГОСТ 5583—78, полученный методом глубокого охлаждения воздуха.
Кислота серная по ГОСТ 4204—77.
Кислота соляная по ГОСТ 3118—77.
Метиловый оранжевый.
Натрия гидроокись (натр едкий) по ГОСТ 4328—77.
Кварцевая пудра.
Фильтры.
4.3. Подготовка установки к испытанию
4.3.1. Для подготовки установки (см. чертеж) к испытанию надлежит сосуд 17 и калиаппарат 2 наполнить 40%-ным раствором калия, гидрата окиси. В уравнительную склянку 16 налить 450 мл дистиллированной воды, добавить несколько капель серной кислоты и 2—3 капли метилоранжа (окрашенная жидкость). В рубашку газоизмерительной бюретки 14 и рубашку холодильника 10 следует налить дистиллированную воду.
4.3.2. Газометр 1 надлежит наполнить кислородом, колонку для сушки газов 3 — натронной известью или аскаритом, колонку для сушки газов 4 — безводным хлористым кальцием. В U-образную трубку 7 следует поместить стеклянную вату, а в фарфоровую трубку 6 — медную сетку со стороны, обращенной к U-образной трубке. В сосуд 8 надлежит налить раствор хромового ангидрида в серной кислоте (см. приложение 5, п. 3), а в сосуд 9 — раствор двухромовокислого калия в серной кислоте (см. приложение 5, п. 2).
4.3.3. Установку следует проверить на герметичность. Установка герметична, если уровни растворов в сосуде 17 и измерительной бюретке 14 остаются без изменения в течение 10—15 мин. Если установка негерметична, ее следует разобрать, протереть все краны мягкой тканью, смазать вазелином, собрать и снова проверить на герметичность.
4.3.4. Фарфоровую трубку 6 и лодочки для сжигания надлежит прокалить в токе кислорода при температуре 1000°С. Лодочки следует хранить в эксикаторе.
Шлиф крышки эксикатора не следует покрывать смазывающими веществами, так как кислород взрывоопасен при попадании масел.
4.3.5. При герметичности через установку следует пропустить кислород в течение 15—20 мин при температуре печи 1000°С, после чего провести опыт без лодочки. Опыт без лодочки надлежит проводить так же, как и сжигание (см. п. 4.4), но при этом показание шкалы 15 после поглощения газов кали едким должно быть нулевым. Если уровень жидкости в бюретке 14 после обработки газов кали едким стал выше нуля, опыт без лодочки следует повторить.
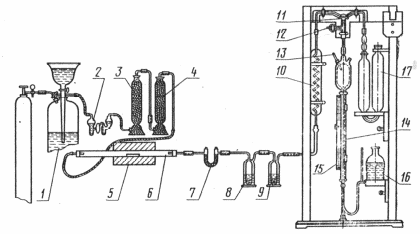
Установка для определения углерода органических соединений сухим сжиганием
1—газометр с кислородом; 2—калиаппарат с кали едким; 3—колонка для сушки газов с аскаритом или натронной известью; 4—колонка для сушки газов с хлористым кальцием; 5— печь электрическая трубчатая горизонтальная; 6—трубка фарфоровая или кварцевая; 7—трубка U-образная со стеклянной ватой для удерживания механических примесей: 8—сосуд поглотительный с раствором хромового ангидрида в серной кислоте для удержания окислов серы; 9— сосуд поглотительный с раствором двухромовокислого калия в серной кислоте, для удержания окислов азота: 10—холодильник; 11—кран трехходовой; 12— кран для соединения газоизмерительной бюретки с атмосферой; 13—термометр; 14—газоизмерительная бюретка № 2; 15—подвижная шкала га-зоизмерительной бюретки; 16—склянка уравнительная: 17—сосуд, наполненный раствором едкого кали для поглощения углекислого газа
4.4. Подготовка пробы к испытанию
4.4.1. Перед сжиганием грунта надлежит проверить его на карбонатность: для этого из подготовленного к испытанию образца грунта способом квадратов следует взять среднюю пробу (1 гс) в фарфоровую чашку и прибавить 2—3 капли 10%-ной соляной кислоты. Если вскипание отсутствует, карбонатов нет, вскипание сильное и продолжительное — карбонатов меньше 10% вскипание бурное н продолжительное — карбонатов больше 10%. Карбонаты должны быть удалены способом, исключающим разложение органического вещества.
4.4.2. Для разрушения карбонатов следует применять раствор 5%-ной серной кислоты.
В фарфоровый тигель емкостью 50 мл необходимо взять способом квадратов среднюю пробу грунта весом 3 гс, налить 3— 4 мл дистиллированной воды, перемешивая грунт стекляннной палочкой. Затем в тигель из бюретки или делительной воронки налить раствор 5%-ной серной кислоты. Во избежание бурного вскипания и разбрызгивания суспензии кислоту следует лить небольшими порциями, все время перемешивая грунт. При прекращении выделения пузырьков газа, образующихся при реакции, необходимо проверить рН суспензии по индикаторной универсальной бумаге (рН 1—10). Доводя реакцию суспензии до кислой (рН 5,5—5,0), добавляют еще 0,5 мл раствора 5%-ной серной кислоты. После тщательного перемешивания вынимают стеклянную палочку из тигля и осторожно смывают ее дистиллированной водой из промывалки. Переносят тигель на плитку с закрытой спиралью, кипятят суспензию в течение 5 мин при слабом нагреве и проверяют реакцию жидкости с помощью индикаторной бумаги.
Если рН суспензии сохраняется кислым, то разрушение карбонатов закончено.
При наличии щелочной реакции (рН>7) добавляют еще немного серной кислоты и вновь кипятят суспензию 5 мин.
После окончания разрушения карбонатов тигель снимают с плитки. Нейтрализуют суспензию и определяют реакцию по индикаторной бумаге, добавляя по каплям 2%-ный раствор натра едкого до рН 6,5.
Тигель надлежит перенести на песчаную баню, выпарить содержимое, а затем высушить в сушильном шкафу в течение 5 ч.
После охлаждения в эксикаторе тигли с осадками следует взвесить с погрешностью ± 0,0002 гс.
4.4.3. Для расчета углерода необходимо установить соотношение между первоначальным весом взятого грунта и его весом после разрушения карбонатов
где m1— вес воздушно-сухой пробы до разрушения карбонатов, гс;
m2 — вес высушенной пробы после разрушения карбонатов, гс.
Примечания:
1. В процессе кислотной обработки происходят разрушение карбонатных минералов и образование сернокислых солей. При этом вес пробы грунта, как правило, увеличивается;
2. До определения углерода высушенную пробу следует хранить в эксикаторе.
4.4.4. Из некарбонатного растертого грунта надлежит взять навеску с погрешностью ± 0,0002 гс для определения углерода органических соединений.
Величина навески определяется предполагаемым содержанием гумуса:
для песков . . ............... 1 гс
для глин . . . .............. 0,5 гс
для грунтов с содержанием гумуса больше 10% . 0,01—0,03 гс
4.5. Проведение испытания
4.5.1. Определение углерода органических соединений следует проводить с помощью установки (см. чертеж).
4.5.2. Газоизмерительную бюретку 14 следует заполнить доверху окрашенной жидкостью из уравнительной склянки 16, для чего открыть кран 12 и поднять уравнительную склянку в верхнее положение, затем кран 12 закрыть.
4.5.3. Навеску грунта следует поместить в предварительную прокаленную лодочку, присыпать сверху кварцевой пудрой для предотвращения вспышки и при помощи крючка ввести лодочку в центральную часть фарфоровой трубки 5, предварительно нагретой до 950—ЮОО0С, затем быстро закрыть трубку 6 пробкой, через отверстие в которой подается кислород для сжигания, для чего следует открыть кран газометра 1 и пустить кислород со скоростью 3—4 пузырька в секунду. Счет пузырьков ведется в калиаппарате 2.
4.5.4. Кран 11, соединяющий фарфоровую трубку 6 с измерительной бюреткой 14, некоторое время (»30 с) следует держать закрытым, чтобы начало сжигания проходило под давлением. Затем кран 11 следует открыть, соединяя фарфоровую трубку 6 с измерительной бюреткой 14. Газовая смесь (кислород и углекислый газ) из фарфоровой трубки 6, пройдя сосуды 7,8,911 холодильник 10, поступает в измерительную бюретку 14, вытесняя окрашенную жидкость. Заполнение бюретки газом продолжается около 3 мин. Затем надлежит прекратить подачу кислорода, закрыть кран газометра 1 и для герметизации измерительной бюретки закрыть кран 11.














