Устройство (521697), страница 3
Текст из файла (страница 3)
«Регулировка карбюратора К88АМ (К89АЕ) на минимальную частоту
вращения коленчатого вала двигателя ЗиЛ-131»
Время: 2 часа.
Вид занятия: практическое.
Место: класс ГРД.
Инструмент и приспособления:
-
ключи гаечные 12, 14, и 17 мм;
-
отвертка;
-
специальный шаблон для проверки высоты иглы запорного клапана.
-
Проверка уровня топлива в поплавковой камере.
1.1.Влияние технического состояния карбюратора на работу двигателя.
Техническое состояние приборов системы питания карбюраторных двигателей оказывает существенные влияния на мощностные и экономические показатели работы двигателя, на изнашивание деталей цилиндро-поршневой группы, легкость пуска и приемистость двигателя. Эти показатели зависят от состава, количества и качества горючей смеси, приготовляемой карбюратором, и от соответствия её режиму работы двигателя. Основной и наиболее сложный прибор системы питания – карбюратор. Его неисправности составляют около 60% всех неисправностей системы питания. Неисправности карбюратора выражаются в нарушении его регулировок и, как следствие, в образовании переобогащенной или переобедненной горючей смеси. Причинами указанных неисправностей являются: изменения уровня топлива в поплавковой камере из-за нарушения герметичности клапана подачи топлива, изменения проходного сечения жиклеров в следствии его засорения и осмоления, засорения и осмоления воздушных каналов, топливопроводов и фильтров, износ сопряжений. По данным исследования, опубликованных в печати, интенсивность изнашивания двигателя при его работе на обогащенной горючей смеси (=0,8…0,85) будет в 1,5…2 раза больше, чем при работе на нормальной или обедненной смеси (=1,0…1,2).
Обслуживание карбюраторов заключается в периодической проверке их крепления, состояния приводов управления дроссельной и воздушной заслонками, отсутствия подтеканий топлива, проверке регулировки малых оборотов холостого хода и уровня топлива в поплавковой камере.
1.2. Последовательность выполнения операции.
-
Установить автомобиль в горизонтальное положение.
-
Заполнить поплавковую камеру карбюратора топливом с помощью рычага ручной подкачки бензонасоса.
Рис. 10 Проверка уровня топлива в поплавковой камере карбюратора К88-АМ
по контрольному отверстию.
3. Вывернуть пробку контрольного отверстия в поплавковой камере. При нормальном уровне, топливо должно находиться у нижней кромки контрольного отверстия и не должно вытекать из поплавковой камеры наружу. В случае соответствия уровня топлива норме пустить двигатель. При работе двигателя на минимальной частоте вращения коленчатого вала (450-500об/мин) топливо не должно вытекать из отверстия. Если топливо вытекает из отверстия, необходимо выполнить регулировку.
1.3. Регулировка уровня топлива в поплавковой камере карбюратора (К89АЕ).
-
Снять воздухоочиститель с карбюратора совместно патрубком.
-
Отсоединить от карбюратора трос ручного управления воздушной заслонкой, топливопровод и трубку ограничителя максимальной частоты вращения коленчатого вала двигателя
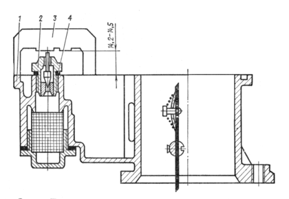
Рис.11 Проверка установки узла игольчатого клапана карбюратора:
1-корпус воздушной горловины карбюратора; 2- корпус игольчатого клапана;
3-шаблон; 4-регулировочные прокладки.
-
Проверить специальным шаблоном 3 высоту иглы запорного клапана подачи топлива (Рис.11). Расстояние между тыльной частью иглы клапана и плоскостью разъема карбюратора должно находиться в пределах 14,2-14,5 мм. Регулировка осуществляется путем снятия прокладок 4 под корпусом 2 клапана при малом уровне топлива и или добавлении прокладок в случае большого уровня. Допускается подгибания кронштейна поплавка.
-
Собрать карбюратор, присоединить топливопровод, трубку ограничителя максимальной частоты вращения коленчатого вала двигателя и трос ручного управления воздушной заслонкой.
-
Заполнить поплавковую камеру топливом с помощью рычага ручной подкачки бензонасоса и пустить двигатель.
-
Проверить уровень топлива в поплавковой камере по контрольному отверстию( Рис 12).
Рис.12 Проверка уровня топлива в поплавковой камере карбюратора К88-АМ.
-
Установить и закрепить воздухоочиститель с патрубком и шлангами.
-
Регулировка карбюратора К88АМ (К89АЕ) на минимальную частоту
вращения коленчатого вала двигателя.
2.1. ТУ на выполнение операции.
Регулировка карбюратора проводится на прогретом двигателе при правильно установленном зажигании, отрегулированном клапанном механизме и соответствии уровня топлива в поплавковой камере.
Рис.13 Расположение винтов системы холостого хода карбюратора:
1 - регулировочные винты холостого хода;
2 – винт упорный (винт частоты вращения коленчатого вала)
-
Завернуть на неработающем двигателе оба регулировочных винта 1 холостого хода
(рис. 13) до отказа и отвернуть каждый на три оборота.
-
Пустить двигатель.
-
Установить упорным винтом 2 наименьшее открытие дроссельной заслонки, обеспечив устойчивую работу двигателя.
-
Завернуть один из регулировочных винтов 1 холостого хода до получения работы двигателя с перебоями, а затем отвернуть его на ½ оборота, несколько обогатив рабочую смесь.
-
Провести аналогичную регулировку второй системы холостого хода другим регулировочным винтом 1.
-
Уменьшить частоту вращения на холостом ходу, медленно отвертывая упорный винт 2 дроссельной заслонки.
-
Обеднить вторично горючую смесь с помощью регулировочных винтов 1 в обеих камерах до получения минимальной частоты вращения коленчатого вала двигателя, равной 450-500 об/мин.
-
Проверить правильность выполнения работы, для чего резко открыть и закрыть дроссельную заслонку. Двигатель не должен глохнуть. В случае остановки двигателя необходимо насколько увеличить частоту вращения коленчатого вала путем ввертывания упорного винта 2 дроссельной заслоноки. Окончательную проверку регулировки холостого хода карбюратора необходимо выполнить с помощью газоанализатора по содержанию окиси углерода в отработавших газах и с помощью тахометра по частоте вращения вращения коленчатого вала. При невозможности обеспечения минимальной частоты вращения коленчатого вала регулировкой системы холостого хода, карбюратор необходимо снять с двигателя и отремонтировать.
ЗАНЯТИЕ №4.
«Проверка и установка угла опережения впрыска топлива
двигателя КамАз-740.»
Время: 2 часа.
Вид занятия: практическое.
Место: класс ГРД.
Инструмент и принадлежности:
1. ключи гаечные 10, 13, 14, 17 и 19 мм.
2. ломик для поворота коленчатого вала.
3. отвертка.
-
Проверка и установка угла опережения впрыска топлива двигателя КамАЗ-740.
1.1.Необходимость угла опережения впрыска топлива двигателя КамАЗ-740.
Особенностью двигателей с самовоспламенением от сжатия, или, как их принято называть, дизелей (по имени изобретателя Р. Дизеля), является приготовление горючей смеси топлива с воздухом внутри цилиндров. В дизелях топливо поступает от насоса высокого давления и посредством форсунки впрыскивается в цилиндры под давлением, в несколько раз превышающим давление воздуха в конце такта сжатия. Смесеобразование начинается с момента поступления топлива в цилиндр. При этом в результате трения о воздух струя топлива распыляется на мельчайшие частицы, которые образуют топливный факел конусообразной формы. Чем меньше распылено топлива и чем равномернее распределено оно в воздухе, тем полнее сгорают его частицы. Испарение и воспламенение топлива осуществляются за счет высокой температуры и давления сжатого воздуха (к концу такта сжатия температура воздуха составляет 550-700С, а давление – 3,5-5,5 МПа). Следует отметить, что после начала горения смеси температура и давление в камере сгорания резко возрастают, что ускоряет процессы испарения и воспламенения остальных частиц распыленного факела топлива. Чтобы обеспечить наилучшие мощностные и экономические показатели работы дизеля, необходимо впрыскивать топливо в его цилиндры до прихода поршня в в.м.т. Угол, на который кривошип коленчатого вала не доходит до в.м.т. в момент начала впрыскивания топлива, называют углом опережения впрыска топлива.
Для изменения угла начала впрыска топлива в цилиндры дизельного двигателя в зависимости от частоты вращения коленчатого вала служит муфта опережения впрыска топлива. Применение муфты обеспечивает оптимальное, для рабочего процесса, начало подачи топлива по всему диапазону скоростных режимов. Этим обеспечивается экономичность и приемлемая жесткость процесса при различных скоростных режимах работы двигателя. Муфта опережения впрыска топлива автоматическая, центробежного типа, с установочным опережением впрыска топлива 18о и возможностью его изменения на 10-14о по углу поворота коленчатого вала.
1.2.Содержание работ.
-
Снять с двигателя воздушный фильтр и соединительный патрубок впускных трубопроводов.
Рис. 14 Фиксатор маховика.
-
Оттянуть рукоятку фиксатора (Рис. 14), смонтированного картере маховика, повернуть на 90 и отпустить.
-
Снять крышку люка в нижней части картера сцепления.
-
Провернуть ломиком коленчатый вал в такое положение, при котором фиксатор войдет в паз маховика, а метки на фланце ведомой полумуфты будут находиться вверху.
5. Проверить, совпадают ли метки А (Рис. 15) на корпусе ТНВД и Б на муфте опережения впрыска топлива. Если метки совместились, то угол опережения впрыска топлива установлен правильно. Если метки не совместились, необходимо провести установку угла опережения впрыска топлива.
-
Оттянуть рукоятку фиксатора, повернуть на 90 и отпустить в мелкий паз.
2. Установка угла опережения впрыска топлива двигателя КамАз-740.
2.1. Содержание работ.
1. Ослабить верхний болт 4 (Рис. 15), провернуть коленчатый вал на
один оборот и ослабить болт 2 ведомой полумуфты привода.
-
Развернуть автоматическую муфту 1(рис. 15) опережения впрыска в направлении, обратном ее вращении, до упора болтов 4 (рис.15) в стенки пазов (вращение муфты правое, если смотреть со стороны привода).
-
Оттянуть рукоятку фиксатора, повернуть на 90 и отпустить в глубокий паз.
-
Провернуть ломиком коленчатый вал по ходу часовой стрелки (если смотреть со стороны вентилятора), пока метка В на заднем фланце 5 (рис.15) ведущей полумуфты привода топливного насоса не окажется в верхнем положении. При этом фиксатор должен войти в отверстие на маховике.
-
Провернуть автоматическую муфту 1 (рис.15) опережения впрыска за фланец 3 (рис.15) ведомой полумуфты привода в направлении вращения привода топливного насоса до совмещения А и Б на корпусе топливного насоса и муфте опережения впрыска.
-
Затянуть верхний стяжной болт 4 ведомой полумуфты привода.
-
Оттянуть рукоятку фиксатора, повернуть на 90 и ввести в мелкий паз.
-
Провернуть ломиком коленчатый вал по ходу вращения и затянуть второй болт 4 (рис.15) ведомой полумуфты привода.
-
Проверить правильность установки угла опережения впрыска топлива согласно пп.1-6 п1 настоящего занятия.
-
Пустить двигатель, проверить и при необходимости отрегулировать минимальную частоту вращения коленчатого вала на холостом ходу (см. п 3.2 настоящего занятия).
-
Установить на двигатель соединительный патрубок впускных трубопроводов и воздушный фильтр.
-
Закрыть крышкой люк картера сцепления.
3.Проверка и регулировка минимальную частоту вращения коленчатого вала двигателя КамАз-740.
3.1. Проверка минимальной частоты вращения коленчатого вала двигателя КамАз-740.
-
Пустить и прогреть двигатель до температуры охлаждающей жидкости 80-90С.
-
Проверить минимальную частоту вращения коленчатого вала на холостом ходу работы двигателя по тахометру на щитке приборов. При отпущенной педали управления подачи топлива и крайнем переднем положении рукоятки ручного управления двигателем, частота вращения должна быть не более 600 об/мин. В случае несоответствии минимальной частоты вращения коленчатого вала указанной величине необходимо выполнить регулировку.
3.2.Регулировка регулятора частоты вращения.
1. Снять с двигателя воздушный фильтр.
2. Отсоединить тягу рычага 2 (рис. 16) управления регулятором.
















