laboratory5 (521629)
Текст из файла
Лабораторная работа №5
ТРЕХФАЗНАЯ ЭЛЕКТРИЧЕСКАЯ ЦЕПЬ ПРИ СОЕДИНЕНИИ ПРИЕМНИКА ЭЛЕКТРОЭНЕРГИИ ЗВЕЗДОЙ
Цель работы: Исследование режимов работы трехфазной цепи при соединении приемника электроэнергии звездой.
Основные теоретические положения
Под трехфазной электрической цепью понимается цепь, в которой действуют три синусоидальные э.д.с. одной и той же частоты, сдвинутые между собой по фазе и созданные общим источником электроэнергии.
Совокупность трех синусоидальных э.д.с., действующих в трехфазной цепи, называется трехфазной системой э.д.с.. Если амплитуды э.д.с. трехфазной системы равны друг другу, а их фазные углы друг относительно друга сдвинуты на угол 2/3·π, то трехфазная система э.д.с. называется симметричной.
Отдельная цепь трехфазной системы называется фазой. Фазой также называется одна из трех обмоток трехфазного электромашиного генератора. Фазы трехфазного генератора могут быть соединены по схеме «звезда» или «треуголыик», Соединение фаз трехфазного источника по схеме «звезда», при котором концы x.y,z фазных обмоток A-х,В-у,С-z соединяются в общий узел N , показано на рис. 1. Узел N называется нейтралью источника.
Начала фазных обмоток А,В,С присоединяются к приемнику электрической энергии.
На рис. 2 представлена векторная диаграмма э.д.с. комплексных амплитуд трехфазного источника, создающего симметричную систему э.д.с.. Их мгновенные значения определяются следующими выражениями:
где EmA,ψeA;EmB,ψeB;EmC,ψeC - параметры-амплитуды и начальные фазы соответствующих э.д.с. В выражениях (1) принято ψeA = 0.
Осциллограммы э.д.с. еА,еB,еC, соответствующие выражениям (1) и векторной диаграмме рис. 2, приведены на рис. 3.
При соединении фаз источника по схеме «звезда» (рис. 1) образуются два уровня напряжения источника: фазных и линейных.
Комплексы действующих значений напряжений между зажимами А,B,С и нейтралью N:
называются фазными напряжениями источника. В выражениях (2): φ(с точкой)A>φ(с точкой)B>φ(с точкой)C - комплексные потенциалы зажимов
А,В,С, соответственно: φ(с точкой)N - комплексный потенциал нейтрали N, который, заземлив, полагают равным нулю.
Напряжения между началами обмоток генератора А,В,С (попарно):
называются линейными напряжениями источника. У симметричного трехфазного источника, т.е. источника, создающего симметричные системы фазных и линейных напряжений
Если источник электроэнергии идеальный, т.е. такой, который не имеет внутренних потерь энергии, то
Условно положительные направления э.д.с. идеального симметричного трехфазного источника считают направленными от концов к началу обмоток и показаны на рис. 4. Векторная (топографическая) диаграмма напряжений источника при φN = 0,ψeA = 0 изображена на рис. 5.
Из векторной диаграммы следует, что у симметричного трехфазного источника
причем второе векторное уравнение (6) справедливо и для несимметричного источника, т.е. даже тогда, когда не выполняется первое векторное уравнение (6).
На рис. 6 приведена схема трехфазной цепи при соединении приемника электроэнергии звездой. Трехфазный источник на схеме представлен зажимами A,B,C,N и соответствующими напряжениями между ними; трехфазный приемник - комплексными сопротивлениями ZA,ZB ,ZC.
Общую точку «n » приемника (рис. 6) называют нейтралью нагрузки. Провода, соединяющие зажимы A,В,С источника с трехфазным приемником,
называются линейными проводами. Провод, соединяющий нейтрали источника и потребителя, называют нейтральным (нулевым) проводом. При наличии нейтрального провода, сопротивление которого ZN ≠ ∞, трехфазная цепь будет четырехпроводной. При его отсутствии (ZN=∞) - трехпроводной. Токи ỈA, ỈB, ỈC, текущие по линейным проводам, называют линейными токами; токи, текущие по фазам нагрузки, т.е. в ZA, ZB, ZC - фазными токами. Из рис. 6 видео, что фазные и линейные токи при соединении нагрузки звездой совпадают. Ток ỈN, протекающий по нейтральному проводу, называют нулевым. Натяжение ỦnN между нейтральными точками п, N, по определению равное
называют напряжением смещения нейтрали.
Расчет трехфазной цепи при соединении приемника звездой осуществляется в следующей последовательности:
1. Определяется напряжение смещения ỦnN. Согласно методу узловых напряжений
где
- комплексные проводимости
соответствующих фаз нагрузки;
YN - комплексная проводимость нейтрального провода, которая полагается равной нулю при отсутствии нейтрального привода н YN = ∞ - при его наличии.
2. Определяются напряжения на фазах нагрузки ỦAn, ỦBn, ỦCn . Согласно второму закону Кирхгофа в комплексной форме
3. Определяются токи в фазах нагрузки (линейные токи) ỈA,ỈB,ỈC. Согласно закону Ома в комплексной форме
Рассмотрим возможные режимы работы трехфазной цепи при соединении приемника звездой.
Четырехпроводная трехфазная цепь (YN = ∞)
Т.к. YN = ∞, ỦnN = 0. Напряжения на фазах нагрузки равны соответствующим фазным напряжениям источника и образуют симметричную систему напряжений при любой нагрузке, которая может быть как симметричной
(ZA=ZB=ZC=Z=Zejφ), так и несимметричной (ZA ≠ ZB ≠ ZC), включая и аварийные режимы.
При симметричной нагрузке выражения (10) перепишутся в виде:
где ψiA,ψiB,ψiC - начальные фазы комплексов линейных токов.
Таким образом, при симметричной нагрузке токи в фазах нагрузки образуют симметричную систему токов, т.к.
При несимметричной нагрузке согласно формулам (10) фазные (линейные) токи образуют несимметричную систему токов. Ток в нейтральном проводе для этого режима
Примеры векторных диаграмм четырехпроводной трехфазной цепи для случаев симметричной (а) и несимметричной (б) активной нагрузки приведены на рис. 7,а,б.
Трехпроводная трехфазная цепь ( ZN = ∞)
В этом случае нулевой провод отсутствует. При симметричной нагрузке ỦnN = 0, напряжения на фазах нагрузки и токи в фазах нагрузки образуют симметричные системы напряжений и токов соответственно. Векторная диаграмма для данного режима работы трехпроводной трехфазной цепи аналогична диаграмме, приведенной на рис. 7,а.
При несимметричной нагрузке, включая аварийные режимы (обрыв или короткое замыканне фазы нагрузки), UnN ≠ 0, напряженна на фазах нагрузки, а следовательно, токи в фазах образуют несимметричные системы напряжений и токов, соответственно.
На рис. 8,а,б приведены примеры векторных диаграмм трехпроводной трехфазной цепи:
-
на рис. 8,а - для случая несимметрии активной нагрузки в фазах;
-
на рис. 8,6 - для случая «аварийное» несимметрии активной нагрузки в
фазах при ZА = 0 и ZB = ZC = R. (короткое замыкание фазы А
нагрузки).
Активная (реактивная) мощность трехфазного приемника электроэнергии определяется суммой активных (реактивных) мощностей всех его фаз.
Для режимов симметричной нагрузки формулы (12) упрощаются:
Задание по работе
-
Исследовать симметричный, несимметричный режимы работы трехфазной
цепи при соединении фаз приемника звездой с нулевым проводом. -
Исследовать симметричный, несимметричный (включая обрыв и короткое
замыкание одной фазы) режимы работы трехпроводной трехфазной цепи при
соединении приемника электроэнергии звездой. -
Построить векторные диаграммы трехфазных цепей для исследованных
режимов.
Методические указания по выполнению работы
-
Установить измерительный прибор к-505. -
Соединить проводами клеммы A,B,C,N трехфазного источника стенда с
входными клеммами A↓,B↓,C↓,N↓ прибора к-505. -
Соединить проводами выходные клеммы A↑,B↑,C↑,N↑ прибора к-505 с
клеммами A,B,C,N стенда «Трехфазные цепи». -
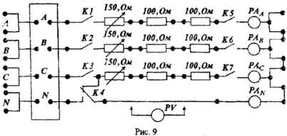
Собрать трехфазную цепь, изображенную на рис. 9, используя приборы
стенда «Трехфазные цепи». -
Установить на приборе к-505 диапазон измерения вольтметра 300V ,
амперметра - 1А. Определить (по таблице на панели прибора к-505) цены
делений приборов: вольтметра, амперметра и ваттметра.
-
Измерить фазные н линейные напряжения источника с помощью
цифрового вольтметра. Заполнить табл. №1. -
Подключить нейтральный провод. Для этого К4 (см. рис. 9) утопить.
-
Изменяя положение регуляторов переменных сопротивлений, установить
одинаковые токи в фазах нагрузки в пределах 0,5÷0,6 А. Измерить токи и
мощности фаз приемника с помощью измерительного прибора к-505.
Измерить напряжения на фазах нагрузки UAn,UBn,UCn с помощью
цифрового вольтметра, поочередно подключая его к точкам
A-п,В-п,С-п, соответственно. Заполнить строку 1 табл. №2. -
С помощью переменных сопротивлений фаз нагрузки установить
произвольный несимметричный режим работы трехфазной цепи
(IA ≠ IB ≠IC). Измерить токи, мощности фаз, напряжения на фазах
нагрузки , ток в нейтральном проводе. Показания прибора занести во
вторую строку табл. №2.
-
Отключить нейтральный провод. Для этого непосредственно удалите его
из цепи. -
Измерить токи, мощности фаз, напряжения на фазах нагрузки и
напряжение смешения для симметричного и несимметричного режимов
работы трехпроводной трехфазной цепи. Действия осуществлять в
соответствии с пунктами 8,9. Показания приборов завести в табл. №3 (1,2
строки).
12. Отключить фазу «С» приемника, предварительно установив симметричный режим работы трехфазной цепи. Измерить токи, мощности фаз, напряжения на фазах нагрузки, напряжение смещения. Заполнять третью строку табл. №3.
13. Собрать схему для режима короткого замыкания фазы «С». Для этого,
вначале подключить нулевой провод и установить симметричный режим
работы трехфазной цепи Далее с помощью перевода кнопки К 4 в
исходное состояние, показанное на рис. 9, осуществить короткое
замыкание фазы «С» через нулевой провод. Измерить токи, мошности фаз,
напряжения на фазах нагрузки. Показания приборов занести в четвертую
строку табл. №3.
Внимание! Для измерения тока IС, протекающего в режиме короткого замыкания по нулевому проводу, использовать амперметр с диапазоном измерения не менее 2А или цифровой вольтметр, подключенный в нулевой провод через шунт на 2 А.
Характеристики
Тип файла документ
Документы такого типа открываются такими программами, как Microsoft Office Word на компьютерах Windows, Apple Pages на компьютерах Mac, Open Office - бесплатная альтернатива на различных платформах, в том числе Linux. Наиболее простым и современным решением будут Google документы, так как открываются онлайн без скачивания прямо в браузере на любой платформе. Существуют российские качественные аналоги, например от Яндекса.
Будьте внимательны на мобильных устройствах, так как там используются упрощённый функционал даже в официальном приложении от Microsoft, поэтому для просмотра скачивайте PDF-версию. А если нужно редактировать файл, то используйте оригинальный файл.
Файлы такого типа обычно разбиты на страницы, а текст может быть форматированным (жирный, курсив, выбор шрифта, таблицы и т.п.), а также в него можно добавлять изображения. Формат идеально подходит для рефератов, докладов и РПЗ курсовых проектов, которые необходимо распечатать. Кстати перед печатью также сохраняйте файл в PDF, так как принтер может начудить со шрифтами.
















