Для студентов МГТУ им. Н.Э.Баумана по предмету Теория механизмов и машин (ТММ)Проектирование и исследование механизмов привода конвейераПроектирование и исследование механизмов привода конвейера
3,0054
2024-02-232024-02-23СтудИзба
Курсовая работа 60: Проектирование и исследование механизмов привода конвейера вариант А
Описание
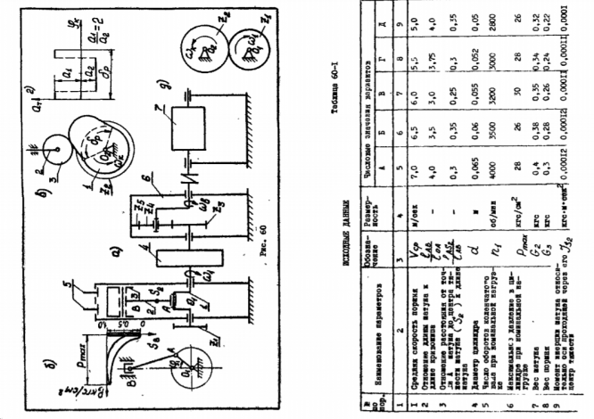
Полностью выполненная курсовая работа 60А
Работа сделана в Маткад и Компас, состоит из 4 листов + РПЗ
Для успешной сдачи нужно просто прочитать расчетную пояснительную записку
Написано все понятным языком, пользуйтесь)
![]()
Работа сделана в Маткад и Компас, состоит из 4 листов + РПЗ
Для успешной сдачи нужно просто прочитать расчетную пояснительную записку
Написано все понятным языком, пользуйтесь)

Характеристики курсовой работы
Учебное заведение
Семестр
Номер задания
Вариант
Теги
Просмотров
37
Качество
Идеальное компьютерное
Размер
2,09 Mb
Список файлов
archive
1лист.cdw
1лист.cdw.bak
2 лист.cdw
2 лист.cdw.bak
3 лист печать.cdw
3 лист печать.cdw.bak
Лист 4 печать.cdw
Лист 4 печать.cdw.bak
РПЗ.docx
зубчатка.xmcd
расчет.xmcd
Отзывы
Отзыв
Не подошло
МГТУ им. Н.Э.Баумана



















